|
|
(21), (22) Заявка: 2004123874/12, 05.08.2004
(24) Дата начала отсчета срока действия патента:
05.08.2004
(45) Опубликовано: 20.03.2006
(56) Список документов, цитированных в отчете о поиске:
ПАСПОРТ на РАСПЫЛИТЕЛЬ СОРБЕНТА 002.001.00.000 , 2003. SU 1613185 A1, 15.12.1990. SU 1785744 A1, 07.01.1993. US 5302412 A, 12.04.1994.
Адрес для переписки:
125373, Москва, ул. Василия Петушкова, 19, кв.4, И.А.Мерициди
|
(72) Автор(ы):
Мерициди Ираклий Аврамович (RU), Мерициди Харлампи Аврамович (RU), Хомутинников Георгий Николаевич (RU), Лебедева Любовь Дмитриевна (RU), Бороденко Дмитрий Васильевич (RU), Цыганков Сергей Александрович (RU), Соколинский Алексей Николаевич (RU)
(73) Патентообладатель(и):
Мерициди Ираклий Аврамович (RU)
|
(54) УСТРОЙСТВО ДЛЯ РАСПЫЛЕНИЯ МЕЛКОДИСПЕРСНЫХ ТВЕРДЫХ МАТЕРИАЛОВ
(57) Реферат:
Изобретение относится к устройствам для распыления мелкодисперсных твердых материалов и может быть использовано для распыления сорбента при ликвидации разливов нефти. Устройство для распыления мелкодисперсных твердых материалов содержит полый корпус с основным дном, с входным отверстием для подачи в полость корпуса воздуха под давлением и выходным отверстием. Для подачи в полость корпуса воздуха под давлением служит вентилятор, неподвижно соединенный с основным дном корпуса. Устройство содержит наклонную перегородку (рассекатель) со сквозными отверстиями, расположенную над входным отверстием и имеющую по меньшей мере один, первый участок, наклоненный в сторону выходного отверстия, и козырек, неподвижно закрепленный в корпусе над выходным отверстием. Наклонная перегородка имеет второй наклонный участок, имеющий наклон в сторону от выходного отверстия. Таким образом, наклонная перегородка (рассекатель) состоит из двух плоских участков, имеющих наклоны в противоположные стороны. В основании первого наклонного участка наклонной перегородки выполнено поперечное отверстие. По бокам участка, в его основании, выполнены два продольных отверстия (вырезы). Наклонная перегородка снабжена двумя направленными вверх выступами (щитками), расположенными между продольными отверстиями, вдоль каждого отверстия по выступу. Входное и выходное отверстия выполнены в основном дне корпуса. Корпус снабжен дополнительным дном, неподвижно соединенным с наклонной перегородкой (рассекателем) и козырьком. Дополнительное дно снабжено сквозными отверстиями, расположенными напротив входного и выходного отверстий основного дна корпуса и установленным с возможностью съема и перемещения за пределы корпуса. Дополнительное дно выполнено с возможностью взаимодействия с торцом открытого отверстия картонной коробки с материалом для распыления – сорбентом (сорбент после его изготовления обычно фасуют в такие коробки), предназначенной для размещения в полости корпуса. Дополнительное дно снабжено гибкими элементами из упругого материала (резиновые жгуты), известным образом неподвижно соединенными своими концами с дополнительным дном и выполненными с возможностью охвата коробки и взаимодействия с ее боковыми стенками и дном. Использование предлагаемого устройства позволит повысить удобство эксплуатации и эргономичность устройств для распыления сорбента и других мелкодисперсных твердых материалов за счет исключения уноса ветром значительного количества распыливаемого вещества при загрузке устройств в полевых условиях в ветреную погоду, так как при этом в корпус устройства помещают коробку с распыливаемым материалом, накрытую съемным дополнительным дном корпуса. 2 з.п. ф-лы, 5 ил. 
Изобретение относится к устройствам для распыления мелкодисперсных твердых материалов и может быть использовано для распыления сорбента при ликвидации разливов нефти.
Известно устройство для распыления мелкодисперсных твердых материалов, содержащее полый корпус с дном, с входным отверстием для подачи в полость корпуса газа под давлением и выходным отверстием, и перегородку со сквозными отверстиями, расположенную над входным отверстием (см. авторское свидетельство СССР № 1613185, кл. В 05 В 7/14, 1990 г.).
Недостатком известного устройства является то, что для его использования необходимы значительные энергозатраты при подаче газа под давлением в корпус устройства, поскольку выходное отверстие корпуса находится над входным, на значительном расстоянии от него, почти равном высоте корпуса. Поэтому устройство должно иметь мощный, массивный, имеющий значительные размеры источник газа под давлением, что не позволит выполнить устройство переносным, в частности в виде распылителя рюкзачного типа.
Наиболее близким к заявленному изобретению по совокупности существенных признаков, по технической сущности и достигаемому результату является устройство для распыления мелкодисперсных твердых материалов, содержащее полый корпус с основным дном, с входным отверстием для подачи в полость корпуса газа под давлением и выходным отверстием, наклонную перегородку со сквозными отверстиями, расположенную над входным отверстием и имеющую по меньшей мере один, первый участок, наклоненный в сторону выходного отверстия, и козырек, закрепленный в корпусе над выходным отверстием (см. прилагаемый к материалам заявки паспорт распылителя сорбента PC.002.001 00.000, Российская Федерация, 2003 г.).
Недостатком указанного известного устройства является его недостаточное удобство в эксплуатации. Указанный недостаток обусловлен тем, что при загрузке устройства сорбентом в ветреную погоду сорбент разносится ветром на значительные площади, попадает на одежду, в глаза, в дыхательные пути людей, вызывая кашель. Кроме того, устройство недостаточно эргономично, поскольку выступающие сбоку детали устройства, в частности вентилятор, при движении оператора могут задевать за окружающие предметы. Недостатком известного устройства является и то, что образующиеся над козырьком и в верхней части наклонной перегородки застойные зоны спрессованного сорбента не позволяют полностью разгрузить корпус (бункер), устройства. На полноту загрузки отрицательно влияет и то, что в корпусе (в бункере с сорбентом) известного устройства расположен аккумулятор.
Изобретение направлено на достижение технического результата, заключающегося в повышении удобства эксплуатации и эргономичности устройства за счет исключения уноса ветром значительного количества распыливаемого вещества – сорбента при загрузке устройства в полевых условиях в ветреную погоду.
Указанный технический результат достигается тем, что в устройстве для распыления мелкодисперсных твердых материалов, содержащем полый корпус с основным дном, с входным отверстием для подачи в полость корпуса газа под давлением и выходным отверстием, наклонную перегородку со сквозными отверстиями, расположенную над входным отверстием и имеющую по меньшей мере один, первый участок, наклоненный в сторону выходного отверстия, и козырек, закрепленный в корпусе над выходным отверстием, наклонная перегородка имеет второй наклонный участок, имеющий наклон в сторону от выходного отверстия, в основании первого наклонного участка наклонной перегородки выполнено поперечное отверстие, а по бокам указанного участка, в его основании, выполнены два продольных отверстия, причем наклонная перегородка снабжена двумя направленными вверх выступами, расположенными между продольными отверстиями, вдоль каждого отверстия по выступу, входное и выходное отверстия выполнены в основном дне корпуса, корпус снабжен дополнительным дном, неподвижно соединенным с наклонной перегородкой, снабженным сквозными отверстиями, расположенными напротив входного и выходного отверстий основного дна корпуса и установленным с возможностью съема и перемещения за пределы корпуса, а дополнительное дно выполнено с возможностью взаимодействия с торцом открытого отверстия коробки с материалом для распыления, предназначенной для размещения в полости корпуса, и снабжено по меньшей мере одним гибким элементом из упругого материала, соединенным своими концами с дополнительным дном и выполненным с возможностью охвата указанной коробки и взаимодействия с ее боковыми стенками и дном.
Благодаря такому выполнению устройства при загрузке устройства сорбент не выдувается в значительном количестве из коробки, в которой он хранился, поскольку становится возможным ее сразу же после ее открытия накрыть дополнительным дном и поместить в корпус. Поскольку входное отверстие выполнено в дне корпуса, становится возможным разместить вентилятор (источник газа под давлением) под указанным дном, исключив выступающие вбок относительно корпуса узлы устройства, и повысить эргономичность устройства.
Кроме того, благодаря тому, что в предлагаемом устройстве по краям дополнительного дна корпуса, по всему его периметру расположены направленные вверх выступы, выполненные с возможностью взаимодействия с наружной поверхностью боковых стенок упомянутой коробки, повышается герметичность соединения коробки с дополнительным дном, уменьшается вероятность выдувания ветром сорбента из коробки и исключается нежелательный выход воздуха с сорбентом из коробки при работе устройства.
Кроме того, благодаря тому, что в предлагаемом устройстве на дополнительном дне корпуса по всему периметру выполненных в нем упомянутых отверстий выполнены направленные вниз выступы, контактирующие с основным дном корпуса, исключается частичное перекрытие входного и выходного отверстий просыпанным на дно корпуса при загрузке устройства сорбентом.
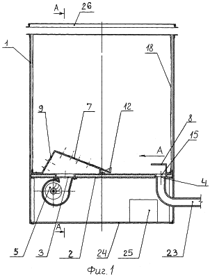
На фиг.1 изображен общий вид устройства; на фиг.2 – то же (разрез А-А на фиг.1, увеличено); на фиг.3 изображена открытая коробка для хранения сорбента (аксонометрическая проекция); на фиг.4 схематически изображены соединенные между собой гибкими элементами коробка с сорбентом и дополнительное дно предлагаемого устройства (аксонометрическая проекция); на фиг.5 – то же (перед установкой в корпус устройства, увеличено, стенки коробки условно показаны прозрачными).
Устройство для распыления мелкодисперсных твердых материалов содержит полый корпус 1 с основным дном 2, с входным отверстием 3 для подачи в полость корпуса воздуха под давлением и выходным отверстием 4. Для подачи в полость корпуса воздуха под давлением служит вентилятор 5, неподвижно соединенный с основным дном 2 корпуса 1. Устройство содержит наклонную перегородку (рассекатель) со сквозными отверстиями 6, расположенную над входным отверстием 3 и имеющую по меньшей мере один, первый участок 7, наклоненный в сторону выходного отверстия 4, и козырек 8, неподвижно закрепленный в корпусе над выходным отверстием 4. Наклонная перегородка имеет второй наклонный участок 9, имеющий наклон в сторону от выходного отверстия 4. Таким образом, наклонная перегородка (рассекатель) состоит из двух участков 7 и 9, имеющих наклоны в противоположные стороны. В основании первого наклонного участка 7 наклонной перегородки выполнено поперечное отверстие 10. По бокам участка 7, в его основании, выполнены два продольных отверстия 11 (вырезы). Наклонная перегородка снабжена двумя направленными вверх выступами 12 (щитками), расположенными между продольными отверстиями 11, вдоль каждого отверстия по выступу (фиг.1, 2, 5). Входное 3 и выходное 4 отверстия выполнены в основном дне 2 корпуса. Корпус 1 снабжен дополнительным дном 13, неподвижно соединенным с наклонной перегородкой (рассекателем) и козырьком 8. Дополнительное дно снабжено сквозными отверстиями 14, 15, расположенными напротив входного 3 и выходного 4 отверстий основного дна 2 корпуса 1, и установлено с возможностью съема и перемещения за пределы корпуса 1. Дополнительное дно выполнено с возможностью взаимодействия с торцом 16 открытого отверстия 17 картонной коробки 18 (фиг.3) с материалом для распыления – сорбентом, предназначенной для размещения в полости корпуса 1. Дополнительное дно 13 снабжено гибкими элементами 19 из упругого материала (резиновые жгуты), известным образом неподвижно соединенными своими концами с дополнительным дном и выполненными с возможностью охвата коробки 18 и взаимодействия с ее боковыми стенками и дном.
По краям дополнительного дна 13 корпуса 1, по всему его периметру расположены направленные вверх выступы 20 (отбортовки), выполненные с возможностью взаимодействия с наружной поверхностью боковых стенок коробки 18.
На дополнительном дне 13 корпуса 1 по всему периметру выполненных в нем отверстий 14, 15 выполнены направленные вниз выступы 21, 22, контактирующие с основным дном 2 корпуса 1
На основном дне 2, концентрично отверстию 4 неподвижно закреплен выпускной патрубок 23, на котором известным образом закреплен гибкий рукав (не показано).
На полке 24, неподвижно соединенной с корпусом 1, неподвижно закреплен аккумулятор 25, предназначенный для электропитания электродвигателя вентилятора 5 и известным образом соединенный с указанным электродвигателем (не показано).
Корпус 1 снабжен крышкой 26, соединенной с ним при помощи известного разъемного соединения (не показано). Корпус 1 может быть снабжен известными плечевыми лямками (рюкзачными лямками), закрепленными на нем своими концами и предназначенными для крепления устройства на плечах оператора (не показаны).
Устройство для распыления мелкодисперсных твердых материалов работает следующим образом.
Перед использованием устройства открывают крышку 26 корпуса 1 и открывают картонную коробку 18, заполненную сорбентом (фиг.3). Дополнительное дно 13 вместе с закрепленной на нем наклонной перегородкой (рассекателем) извлекают из корпуса 1, поворачивают на 180° и надевают на картонную коробку, заполненную сорбентом, фиксируя дно 13 на коробке 18 при помощи гибких элементов 19 – резиновых жгутов (фиг.4). При этом торцы коробки входят во взаимодействие с дном 13, а выступы 20 дополнительного дна 13 обжимают боковые стенки коробки 18, герметизируя ее. Резиновые жгуты охватывают коробку с сорбентом, обжимают ее боковые стенки и дно. При этом резиновые жгуты прижимают клапаны 27 коробки 18 к ее боковым стенкам. Затем коробку 18 с дополнительным дном переворачивают (из положения на фиг.4 в положение на фиг.5) и помещают в корпус 1 (фиг.1). При этом небольшое количество сорбента, просыпавшегося на основное дно 2, оказывается в полости, ограниченной выступами 21, 22, стенками корпуса, основным 2 и дополнительным дном 13. При этом указанный просыпавшийся сорбент не входит в отверстия 3, 4, то есть не препятствует прохождению через них воздуха (а также сорбента через отверстие 4).
Затем устанавливают крышку 26 корпуса и включают вентилятор 5, в результате чего воздух через входное отверстие 3 подается внутрь коробки 18, коробка раздувается, ее боковые стенки и резиновые жгуты растягиваются. При выключении вентилятора 5 под действием сил упругости стенки коробки и резиновые жгуты возвращаются в первоначальное положение, в результате чего происходит встряхивание слежавшегося при хранении сорбента, его разрыхление, что способствует обеспечению полноты разгрузки сорбента из коробки. При этом исключается необходимая при использовании известного устройства трудоемкая операция – встряхивание устройства вручную. При повторном включении вентилятора воздух под давлением проходит через отверстия 6 в наклонной перегородке, разрыхляет сорбент и увлекает его в выходное отверстие 4. Через рукав и закрепленное на нем сопло сорбент наносится оператором на загрязненные нефтепродуктами участки местности. При работе устройства воздух через отверстия второго участка 9 наклонной перегородки отражается от ближайшей к этому участку стенки коробки, от закрепленной на корпусе крышки 26, чем обеспечивается отсутствие застойных зон сорбента вблизи указанной стенки коробки и над козырьком 8 и обеспечивается полнота разгрузки сорбента из устройства. Сорбент под действием веса сползает с наклонной перегородки к выходному отверстию 4 и выдувается через него в выпускной патрубок 23 воздухом, поступающим через поперечное отверстие 10. Воздух, поступающий через продольные боковые отверстия 11 (вырезы) наклонной перегородки, сдувает в выпускной патрубок сорбент, находящийся у прилегающих к ним стенок коробки 18. Выступы 12 препятствуют спрессовыванию сорбента, находящегося в центральной части коробки, боковыми потоками воздуха.
Коробка с сорбентом (дополнительная емкость) используется при ветреной погоде. При отсутствии ветра сорбент высыпают из коробки в полость корпуса 1, не вынимая дополнительное дно с наклонной перегородкой (рассекателем). Устройство при этом работает так же, как описано выше.
Таким образом использование предлагаемого устройства позволит повысить удобство эксплуатации и эргономичность устройств для распыления сорбента и других мелкодисперсных твердых материалов за счет исключения уноса ветром значительного количества распыливаемого материала при загрузке устройств в полевых условиях в ветреную погоду, а также обеспечить полноту их разгрузки.
Формула изобретения
1. Устройство для распыления мелкодисперсных твердых материалов, содержащее полый корпус с основным дном, с входным отверстием для подачи в полость корпуса газа под давлением и выходным отверстием, наклонную перегородку со сквозными отверстиями, расположенную над входным отверстием и имеющую по меньшей мере один первый участок, наклоненный в сторону выходного отверстия, и козырек, закрепленный в корпусе над выходным отверстием, отличающееся тем, что наклонная перегородка имеет второй наклонный участок, имеющий наклон в сторону от выходного отверстия, в основании первого наклонного участка наклонной перегородки выполнено поперечное отверстие, а по бокам указанного участка, в его основании, выполнены два продольных отверстия, причем наклонная перегородка снабжена двумя направленными вверх выступами, расположенными между продольными отверстиями, вдоль каждого отверстия по выступу, входное и выходное отверстия выполнены в основном дне корпуса, корпус снабжен дополнительным дном, неподвижно соединенным с наклонной перегородкой, снабженным сквозными отверстиями, расположенными напротив входного и выходного отверстий основного дна корпуса, и установленным с возможностью съема и перемещения за пределы корпуса, а дополнительное дно выполнено с возможностью взаимодействия с торцом открытого отверстия коробки с материалом для распыления, предназначенной для размещения в полости корпуса, и снабжено по меньшей мере одним гибким элементом из упругого материала, соединенным своими концами с дополнительным дном и выполненным с возможностью охвата указанной коробки и взаимодействия с ее боковыми стенками и дном.
2. Устройство по п.1, отличающееся тем, что по краям дополнительного дна корпуса, по всему его периметру расположены направленные вверх выступы, выполненные с возможностью взаимодействия с наружной поверхностью боковых стенок упомянутой коробки.
3. Устройство по п.1, отличающееся тем, что на дополнительном дне корпуса по всему периметру выполненных в нем упомянутых отверстий выполнены направленные вниз выступы, контактирующие с основным дном корпуса.
РИСУНКИ
MM4A – Досрочное прекращение действия патента СССР или патента Российской Федерации на изобретение из-за неуплаты в установленный срок пошлины за поддержание патента в силе
Дата прекращения действия патента: 06.08.2006
Извещение опубликовано: 27.07.2007 БИ: 21/2007
NF4A Восстановление действия патента СССР или патента Российской Федерации на изобретение
Дата, с которой действие патента восстановлено: 27.07.2007
Извещение опубликовано: 27.07.2007 БИ: 21/2007
|
|