|
|
(21), (22) Заявка: 2004119943/12, 29.06.2004
(24) Дата начала отсчета срока действия патента:
29.06.2004
(45) Опубликовано: 20.03.2006
(56) Список документов, цитированных в отчете о поиске:
ПАЖИ Д.Г. и др. Распылители жидкостей. Москва, «Химия», 1979, с.68-69. SU 1118420 A, 15.10.1984. JP 04-063154 A, 28.02.1992.
Адрес для переписки:
450062, г.Уфа, ул. Космонавтов, 1, ГОУ ВПО “Уфимский государственный нефтяной технический университет”, патентный отдел
|
(72) Автор(ы):
Ибрагимов Ильдус Гамирович (RU), Туманова Елена Юрьевна (RU)
(73) Патентообладатель(и):
Государственное образовательное учреждение высшего профессионального образования “Уфимский государственный нефтяной технический университет” (ГОУ ВПО УГНТУ) (RU)
|
(54) ЦЕНТРОБЕЖНО-СТРУЙНАЯ ФОРСУНКА
(57) Реферат:
Изобретение относится к области распыливания, в частности к устройствам для распыливания жидкости, и может быть использовано в химической, нефтехимической, нефтеперерабатывающей и других отраслях промышленности. Форсунка содержит корпус с выходным отверстием, концентрично установленную в корпусе камеру завихрения, связанную с полостью корпуса тангенциальными каналами в боковой стенке и отверстием в ее крышке, выполненным соосно с выходным отверстием корпуса, и установленную в отверстии крышки с возможностью аксиального перемещения относительно камеры завихрения подпружиненную втулку. Для повышения эффективности распыливания жидкости путем образования непрерывно вращающегося кольцевого потока и получения равномерно заполненного факела распыленной жидкости при различных параметрах подводимой жидкости тангенциальные каналы в боковой стенке камеры завихрения снабжены соосно установленными патрубками. 2 ил. 
Изобретение относится к области распыливания, в частности к устройствам для распыливания жидкости, и может быть использовано в химической, нефтехимической, нефтеперерабатывающей и других отраслях промышленности.
Известна центробежно-струйная форсунка, содержащая корпус, внутри которого расположена камера закручивания, имеющая крышку с осевым отверстием для ввода центральной струи жидкости, выходное сопло и тангенциальные каналы для ввода кольцевого потока жидкости [Пажи Д.Г., Галустов B.C. Распылители жидкостей. М., “Химия”, 1979, с.68-69].
Недостаток этой форсунки заключается в том, что она обеспечивает равномерное заполнение конического факела распыленной жидкости лишь при постоянных параметрах подводимой жидкости (при постоянном расходе и давлении) вследствие того, что каждая конструкция форсунки рассчитывается для определенных параметров.
При уменьшении расхода и давления распыливаемой жидкости степень взаимодействия центральной сплошной струи с вращающимся кольцевым потоком снижается, в результате чего не обеспечивается равномерное заполнение факела распыленной жидкости и регулирование распыливания жидкости. При увеличении же расхода и давления подводимой жидкости за счет повышения турбулентности степень взаимодействия центральной сплошной струи с вращающимся кольцевым потоком возрастает, что также не обеспечивает требуемое качество факела из-за образования мелкого распыла, способствующего уносу жидкости.
Наиболее близкой к заявляемому объекту по технической сущности и достигаемому эффекту является центробежно-струйная форсунка, содержащая корпус с выходным отверстием, концентрично установленную в корпусе камеру завихрения, связанную с полостью корпуса тангенциальными каналами в боковой стенке и отверстием в ее крышке, и установленную с возможностью аксиального перемещения относительно камеры завихрения подпружиненную втулку [Авторское свидетельство СССР № 1118420, кл. В 05 В 1/30; В 05 В 1/34 1984 г.].
В данной форсунке камера закручивания имеет наружную и внутреннюю поверхности цилиндрической формы, что делает длину тангенциальных каналов много меньше их диаметра, что приводит к срыву жидкости на острых кромках отверстий и не обеспечивает направленного вдоль стенки камеры завихрения движения жидкости. В результате форсунка имеет низкую эффективность работы.
Изобретение направлено на повышение эффективности работы форсунки.
Это достигается тем, что в центробежно-струйной форсунке, содержащей корпус с выходным отверстием, концентрично установленную в корпусе камеру завихрения, связанную с полостью корпуса тангенциальными каналами в боковой стенке и отверстием в ее крышке, выполненным соосно с выходным отверстием корпуса, и установленную в отверстии крышки с возможностью аксиального перемещения относительно камеры завихрения подпружиненную втулку, согласно изобретению тангенциальные каналы в боковой стенке камеры завихрения снабжены соосно установленными патрубками.
При таком конструктивном выполнении тангенциальных каналов длина последних становится, по меньшей мере, в 1,5 раза больше их диаметра, что позволит обеспечить направленное движение тангенциальных потоков жидкости вдоль внутренней стенки камеры завихрения.
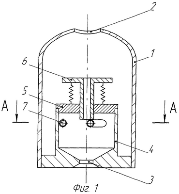
На фиг.1 изображена центробежно-струйная форсунка, продольный разрез; на фиг.2 – разрез А-А на фиг.1.
Центробежно-струйная форсунка содержит корпус 1 с отверстием для подвода жидкости 2, выходным отверстием 3, концентрично установленную в корпусе камеру 4 завихрения с крышкой 5 и установленную в отверстии крышки с возможностью аксиального перемещения относительно камеры завихрения подпружиненную втулку 6, причем указанное отверстие выполнено соосно с выходным отверстием 3 корпуса. Камера 4 завихрения соединена с полостью корпуса 1 при помощи тангенциальных патрубков 7, установленных в тангенциальных каналах, выполненных в боковой стенке камеры 4, и отверстием во втулке 6.
Форсунка работает следующим образом.
Жидкость для распыления поступает через отверстие 2 в полости корпуса 1, затем по тангенциальным патрубкам 7 и втулке 6 – в камеру 4 завихрения. Тангенциальные патрубки 7 направляют струи жидкости вдоль камеры 4 завихрения, образуя вращающийся равномерный кольцевой поток жидкости, который взаимодействует с центральной сплошной струей. При этом создается равномерно заполненный факел распыленной жидкости.
При снижении параметров подводимой жидкости (расхода и давления) усилие на подпружиненную втулку 6 уменьшается, при этом втулка 6 поднимается, а расстояние от верхней кромки втулки 6 до выходного отверстия 3 увеличивается, повышая степень взаимодействия центральной сплошной струи с вращающимся кольцевым потоком за счет увеличения продолжительности взаимодействия. В результате этого дисперсность распыленной жидкости становится равной первоначальной дисперсности.
При увеличении же параметров подводимой жидкости усилие на втулку 6 увеличивается. При этом расстояние от нижней кромки втулки 6 до выходного отверстия 3 уменьшается, что снижает степень взаимодействия центральной сплошной струи с вращающимся кольцевым потоком за счет уменьшения продолжительности взаимодействия. В итоге дисперсность распыленной жидкости также становится равной первоначальной дисперсности.
Таким образом, использование предлагаемой форсунки позволит по сравнению с прототипом повысить эффективность распыливания жидкости за счет образования вращающегося равномерного кольцевого потока и получения заполненного факела распыленной жидкости, что становится возможным путем направления тангенциальных потоков распыливаемой жидкости вдоль стенки камеры завихрения. В прототипе же жидкость поступает в камеру завихрения через тангенциальные каналы, при этом струи жидкости направляются к центру камеры, а не вдоль внутренней стенки камеры как это требуется для создания вращающегося кольцевого потока.
Формула изобретения
Центробежно-струйная форсунка, содержащая корпус с выходным отверстием, концентрично установленную в корпусе камеру завихрения, связанную с полостью корпуса тангенциальными каналами в боковой стенке и отверстием в ее крышке, выполненным соосно с выходным отверстием корпуса, и установленную в отверстии крышки с возможностью аксиального перемещения относительно камеры завихрения подпружиненную втулку, отличающаяся тем, что тангенциальные каналы в боковой стенке камеры завихрения снабжены соосно установленными патрубками.
РИСУНКИ
MM4A – Досрочное прекращение действия патента СССР или патента Российской Федерации на изобретение из-за неуплаты в установленный срок пошлины за поддержание патента в силе
Дата прекращения действия патента: 30.06.2006
Извещение опубликовано: 20.08.2007 БИ: 23/2007
|
|