|
| На основании пункта 3 статьи 13 Патентного закона Российской Федерации от 23 сентября 1992 г. № 3517-I патентообладатель обязуется передать исключительное право на изобретение (уступить патент) на условиях, соответствующих установившейся практике, лицу, первому изъявившему такое желание и уведомившему об этом патентообладателя и федеральный орган исполнительной власти по интеллектуальной собственности, – гражданину РФ или российскому юридическому лицу. |
|
(21), (22) Заявка: 2003130016/03, 09.10.2003
(24) Дата начала отсчета срока действия патента:
09.10.2003
(43) Дата публикации заявки: 10.04.2005
(45) Опубликовано: 20.03.2006
(56) Список документов, цитированных в отчете о поиске:
RU 2001118532 А, 10.06.2003. SU 895515 A1, 07.01.1982. SU 561573 А1, 15.06.1977. SU 655432 A1, 05.10.1979. RU 2116137 C1, 27.07.1998.
Адрес для переписки:
300903, г.Тула, п. Косая Гора, ул. Горшкова, 20, кв.5, Е.Ф.Лингарту
|
(72) Автор(ы):
Лингарт Евгений Фёдорович (RU)
(73) Патентообладатель(и):
Лингарт Евгений Фёдорович (RU)
|
(54) ПЫЛЕУЛОВИТЕЛЬ
(57) Реферат:
Изобретение относится к черной металлургии, а именно к очистке колошникового газа доменных печей. Позволяет повысить эффективность пылеулавливания. Пылеуловитель включает цилиндроконический корпус с патрубками для поступления пылегазовой смеси, вывода газа и выпуска пыли, электромагнитную систему улавливания пыли с магнитопроводами, ячеистый сердечник из ферромагнитного материала. Он дополнительно снабжен упорными ребрами для монтажа электромагнитной системы улавливания пыли с магнитопроводами и ячеистого сердечника и фиксации их положения в пространстве, а патрубок для поступления пылегазовой смеси выполнен с диффузором из неферромагнитного металла, нижняя часть которого расположена на уровне низа ячеистого сердечника. 3 ил. 
Изобретение относится к черной металлургии, а именно к очистке колошникового газа доменных печей.
Известен пылеуловитель сухой очистки в виде вертикального резервуара с коническими торцами, патрубками для поступления пылегазовой смеси, вывода газа для тонкой очистки и выпуска пыли (1). Осаждение пыли обеспечивается снижением скорости газа ниже скорости осаждения пыли заданного размера. Эффективность осаждения пыли в этом пылеуловителе 50-80%, что является его недостатком.
Наиболее близким по технической сущности к предлагаемому изобретению является циклонный электромагнитный сепаратор, который по сути является пылеуловителем, включающий цилиндроконический корпус с патрубками для поступления пылегазовой смеси, вывода газа и выпуска пыли, расположенную снаружи электромагнитную систему бегущего магнитного поля с магнитопроводами, размещенную на разгрузочном патрубке внутри корпуса спиральную направляющую движение среды, установленный в нижней части корпуса запирающий стакан, ячеистый сердечник из ферромагнитного металла, установленный между внутренней поверхностью, которая выполнена гофрированной или плоской, и спиральной направляющей. При этом электромагнитная система может быть выполнена в виде электромагнитной катушки (2).
Недостатком этого пылеуловителя является невозможность изготовления крупных промышленных пылеуловителей, какими являются доменные пылеуловители, с гофрированной поверхностью. При исполнении внутренней поверхности плоской и использовании мощных электромагнитных полей будет происходить изменение положения в пространстве ячеистого сердечника, что снижает эффективность пылеулавливания.
Технической задачей предлагаемого изобретения является повышение эффективности пылеулавливания.
Поставленная цель достигается тем, что известный пылеулавливатель, включающий электромагнитную систему улавливания пыли с магнитопроводами, укрытую защитным экраном от истирания пылью, ячеистым сердечником из ферромагнитного металла, магнитопровод-крышку, дополнительно снабжен упорными ребрами, которые являются опорной конструкцией для монтажа электромагнитной системы улавливания пыли, ячеистого сердечника и фиксации их положения в пространстве, а патрубок для поступления пылегазовой смеси выполнен с диффузором из неферромагнитного металла, нижняя часть которого расположена на уровне низа ячеистого сердечника. Причем, во-первых, электромагнитная система улавливания пыли может быть выполнена как система бегущего магнитного поля или в виде электромагнитной катушки, во-вторых, электромагнитная система может быть расположена как внутри пылеуловителя, так и снаружи. В этом случае корпус в зоне действия электромагнитного поля выполняется из неферромагнитного металла. Патрубок для поступления пылегазовой смеси выполняется с диффузором из неферромагнитного металла, нижняя часть которого расположена на уровне низа ячеистого сердечника для того, чтобы направить частично очищенную смесь в зону действия электромагнитного поля между защитным экраном и ячеистым сердечником.
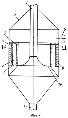
Предлагаемое устройство показано на фиг.1 и фиг.2 и состоит из цилиндроконического корпуса 2 с патрубком для поступления пылегазовой смеси 1 с диффузором 10, патрубком для выпуска пыли 7 и патрубком для отвода очищенного газа 9, электромагнитной системы улавливания пыли 8 с магнитопроводами, защитного экрана 4, изготовленного из неферромагнитного материала, магнитопровода-крышки 3, ячеистого сердечника 6 и упорных ребер 5.
Предлагаемое устройство действует следующим образом. Пылегазовая смесь поступает в патрубок 1, выходит через диффузор 10 и направляется в зазор между ячеистым сердечником 6 и защитным экраном 4 электромагнитной системы улавливания пыли 8. Пыль осаждается, во-первых, при снижении скорости потока на выходе из диффузора и перемещении его по корпусу, как в устройстве (1) и, во-вторых, электромагнитной системой улавливания пыли 8 в зазоре между защитным экраном 4 и ячеистым сердечником 6.
Очищенный газ через ячеистый сердечник перемещается к патрубку отвода очищенного газа 9.
Уловленная пыль осаждается в нижнем коническом торце и периодически выпускается через патрубок 7.
Использование электромагнитной системы улавливания пыли и ячеистого сердечника, установленных на упорных ребрах, позволит повысить степень очистки газа и получить сухую пыль, пригодную для немедленного использования.
Источники информации
1. Справочник «Доменное производство» под ред. И.П.Бардина, Москва, 1963 г, т.2, стр. 218.
2. Заявка RU № 2001118532, кл В 03 С 1/24, опубликована 10.06.2003 г.
Формула изобретения
Пылеуловитель, включающий цилиндроконический корпус с патрубками для поступления пылегазовой смеси, вывода газа и выпуска пыли, электромагнитную систему улавливания пыли с магнитопроводами, ячеистый сердечник из ферромагнитного материала, отличающийся тем, что он дополнительно снабжен упорными ребрами для монтажа электромагнитной системы улавливания пыли с магнитопроводами, ячеистого сердечника и фиксации их положения в пространстве, а патрубок для поступления пылегазовой смеси выполнен с диффузором из неферромагнитного металла, нижняя часть которого расположена на уровне низа ячеистого сердечника.
РИСУНКИ
(73) Патентообладатель:
Лингарт Евгений Фёдорович (RU)
Адрес для переписки:
300903, г.Тула, п.Косая Гора, ул.Горшкова, 20, кв.5, Е.Ф.Лингарту
Извещение опубликовано: 20.01.2010 БИ: 02/2010
|
|