|
|
(21), (22) Заявка: 99124189/04, 17.11.1999
(24) Дата начала отсчета срока действия патента:
17.11.1999
(30) Конвенционный приоритет:
18.11.1998 US 60/109,111
(45) Опубликовано: 20.03.2006
(56) Список документов, цитированных в отчете о поиске:
SU 1754205 A1, 15.08.1992. US 4822766 A1, 18.04.1989. US 4039292 A1, 02.07.1977.
Адрес для переписки:
103064, Москва, ул. Казакова,16, НИИР Канцелярия “Патентные поверенные Квашнин, Сапельников и партнеры”, Квашнину В.П.
|
(72) Автор(ы):
КРИСТЕНСЕН Питер С. (DK), ХАНСЕН Томми (DK), ХАНСЕН Вигго Л. (DK), АНДЕРСЕН Ларс Е. (DK)
(73) Патентообладатель(и):
ХАЛЬДОР ТОПСЕЭ А/С (DK)
|
(54) СПОСОБ ПОЛУЧЕНИЯ ИМЕЮЩЕГО КАТАЛИЗАТОР ТВЕРДОГО ИЗДЕЛИЯ И УСТРОЙСТВО ДЛЯ НАНЕСЕНИЯ ПОДДЕРЖИВАЮЩЕГО ПОРИСТОГО МАТЕРИАЛА НА ВНУТРЕННЮЮ ИЛИ ВНЕШНЮЮ МЕТАЛЛИЧЕСКУЮ ПОВЕРХНОСТЬ ПОЛОГО ТЕЛА
(57) Реферат:
Изобретение относится к катализаторам на носителе. Описан способ получения имеющего катализатор твердого изделия, включающий стадии нанесения керамического носителя на металлическую поверхность и нанесения каталитически активного материала на керамический носитель, в котором перед нанесением керамического материала на металлическую поверхность наносят поддерживающий пористый металлический материал, а нанесение керамического носителя осуществляют на и/или в поддерживающий пористый металлический материал. Описано также устройство, используемое в способе получения имеющего катализатор твердого изделия, для нанесения поддерживающего пористого металлического материала на внутреннюю или внешнюю металлическую поверхность полого тела. Технический результат: получен катализатор, отличающийся повышенной устойчивостью. 2 н. и 5 з.п. ф-лы, 2 ил. 
Настоящее изобретение относится к катализаторам на носителе, в частности к способу получения имеющего катализатор твердого изделия и устройству для нанесения поддерживающего пористого металлического материала на внутреннюю или внешнюю металлическую поверхность полого тела.
Термин имеющее катализатор твердое изделие, как он используется в рамках данной заявки, относится к каталитически активным изделиям, имеющим катализатор, нанесенный на металлическую поверхность. Катализаторы, нанесенные на металлическую поверхность, полезны в ряде областей применения.
Нанесение покрытия каталитически активного материала на металлическую поверхность является хорошо известным процессом, обычно называемым как мокрый способ, раскрытый, например, в публикации «Structured catalysts and reactors (“Структурированные катализаторы и реакторы» “), авторы: Cybulski, A и Moulijn, J.A., издательство Marcel Dekker, Inc., Нью-Йорк, 1998, Chapter 3 и ссылки в ней.
Согласно известным способам подходящий металлический материал, предпочтительно ферритовую сталь, содержащую хром и/или алюминий, нагревают до температуры обычно выше 800°С, чтобы получить поверхностный слой оксида хрома и/или алюминия. Этот слой способствует надлежащей адгезии керамического материала к поверхности стали. Тонкий слой суспензии, содержащей предшественник керамического материала, наносят на эту поверхность известными приемами, например распылением, намазыванием или окунанием. После нанесения покрытия суспензию высушивают и прокаливают при температуре, обычно, между 350 и 700°С. Наконец, керамический слой пропитывают каталитически активным материалом. Существует и другой путь, когда каталитически активный материал наносят одновременно с предшественником керамики.
С нанесением катализатора на металлическую поверхность известными способами связаны определенные недостатки. Может быть использовано только определенное сочетание катализатора и металла, так как должна быть получена адгезия керамического материала к металлической поверхности. Более того, даже если адгезия получена, все равно покрытие катализатора может отслаиваться, если сила адгезии уменьшается вследствие условий, воздействию которых подвергается катализатор. Деструкция каталитического покрытия может быть вызвана термическим напряжением, пылью и другими факторами.
В основу настоящего изобретения положена задача создания способа получения имеющего катализатор твердого изделия, которое не проявляло бы вышеуказанные недостатки.
Поставленная задача решается предложенным способом получения имеющего катализатор твердого изделия, включающим стадии нанесения керамического носителя на металлическую поверхность и нанесения каталитически активного материала на керамический носитель, который заключается в том, что перед нанесением керамического материала на металлическую поверхность наносят поддерживающий пористый металлический материал, а нанесение керамического носителя осуществляют на и/или в поддерживающий пористый металлический материал.
Поддерживающий пористый металлический материал, имеющий более высокую прочность по сравнению с керамическим материалом, предпочтительно наносят на металлическую поверхность. Поддерживающий пористый металлический материал предпочтительно представляет собой металлическую пену, металлическую сетку, вспученный металл, спеченный металл, металлическую сетчатую ткань и т.д. Поддерживающий пористый металлический материал наносят на металлическую поверхность, например, методом пайки или способом диффузионного связывания. После этого предшественник керамики в виде суспензии вносят в пористую структуру поддерживающего пористого металлического материала известным способом, например распылением, намазыванием или окунанием. Суспензию затем высушивают и прокаливают. И в завершение, слой керамики пропитывают каталитически активным материалом в соответствии с известными способами. Существует и другой путь, когда каталитически активный материал осаждают одновременно с предшественником керамики. Нанесение поддерживающего пористого металлического материала на металлическую поверхность можно также осуществлять в подвижной зоне нагревания, в которой к нему можно применять механическое давление.
Настоящее изобретение также относится к устройству для нанесения поддерживающего пористого металлического материала на внутреннюю или внешнюю металлическую поверхность полого тела, например, трубки, содержащему индукционную печь с зоной нагревания, приспособленную для секционного нагревания металлической поверхности, и поршень, расположенный внутри зоны нагревания и прижимающий поддерживающий пористый металлический материал к металлической поверхности.
Поддерживающий пористый металлический материал, после подходящей предварительной обработки данного материала и трубки, устанавливают в трубке посредством припоя. Трубку помещают в индукционную печь таким образом, чтобы часть трубки нагревалась выше температуры пайки. Используют поршень в форме оправки или сферы (шара), чтобы прижать поддерживающий пористый металлический материал к стенке трубки в зоне пайки, чтобы обеспечить контакт между поддерживающим пористым металлическим материалом и стенкой трубки.
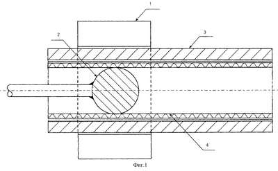
Вариант воплощения предложенного устройства схеатически показан на Фиг.1.
Зону нагревания 1 и оправку 2 продвигают вдоль трубки 3, чтобы обеспечить припаивание поддерживающего пористого металлического материала 4 вдоль всей длины трубки. Кроме того, изобретение применимо и для иной геометрии, отличной от геометрии круглых трубок, при использовании оправки соответствующей формы. Индукционная печь может также быть использована для высушивания и прокаливания катализатора.
Фиг.2 показывает еще один вариант осуществления изобретения для нанесения поддерживающего пористого металлического материала на внешнюю стенку трубки. Как видно на Фиг.2, кольцеобразная оправка 5 служит для прижима поддерживающего пористого металлического материала 4 к наружной стенке трубки способом, сходным с уже описанным способом.
Изобретение иллюстрируется следующим примером.
Пример
Прямоугольный кусок никелевой пены скатывают с образованием цилиндра и по наружной поверхности никелевой пены раскатывают пластинчатый припой типа MBF 51 (фольга на основе никеля). Полученный компаунд вводят в трубку с внутренним диаметром 45 мм, выполненную из сплава 800, представляющего собой сплав на основе железа, никеля и хрома. Ширину компаунда выбирают с учетом внутреннего периметра трубки. Открытые концы трубки закрывают путем неплотного размещения затвора, в котором выполнено отверстие.
Через отверстие одного затвора (конец 1) пропускают содержащий водород и аргон газ, который выходит на другом конце (конец 2). Через отверстие другого затвора (конец 2) размещают поршень с размещенной на конце оправкой. Индукционную катушку размещают вокруг трубки в том же месте, где внутри трубки находится оправка. Индукционная катушка отдает тепло, и трубку перемещают вдоль катушки при сохранении положения зафиксированной оправки. Оправка является немного длиннее, чем зона, подвергаемая нагреву. В этой зоне припой плавится с прессованием никелевой пены к стенке трубки. Вне подвергаемой нагреву зоны оправка все еще прессует никелевую пену к стенке трубки до тех пор, пока температура не будет достаточно низкой для обеспечения затвердевания припоя. При перемещении трубки через индукционную катушку слой никелевой пены прочно связывается с внутренней стенкой трубки по всей ее длине за исключением конца 1, соответствующего ширине индукционной катушки. Поэтому индукционная катушка не может проходить затвор на конце 1. После нанесения указанного компаунда последовательно наносят керамический носитель и каталитически активный материал известными способами.
Формула изобретения
1. Способ получения имеющего катализатор твердого изделия, включающий стадии нанесения керамического носителя на металлическую поверхность и нанесения каталитически активного материала на керамический носитель, отличающийся тем, что перед нанесением керамического материала на металлическую поверхность наносят поддерживающий пористый металлический материал, а нанесение керамического носителя осуществляют на и/или в поддерживающий пористый металлический материал.
2. Способ по п.1, отличающийся тем, что поддерживающий пористый металлический материал наносят на металлическую поверхность посредством припаивания или диффузионного связывания.
3. Способ по п.1, отличающийся тем, что поддерживающий пористый металлический материал наносят на металлическую поверхность посредством применения механического давления.
4. Способ по п.1, отличающийся тем, что поддерживающий пористый металлический материал наносят на металлическую поверхность в подвижной зоне нагревания.
5. Способ по п.1, отличающийся тем, что поддерживающий пористый металлический материал наносят на металлическую поверхность посредством размещения металлической поверхности в подвижной зоне нагревания и применения к нему в зоне нагревания механического давления.
6. Способ по любому из пп.1-5, отличающийся тем, что поддерживающий пористый металлический материал наносят на поверхность трубки.
7. Устройство, используемое в способе получения имеющего катализатор твердого изделия по пп.1-6, для нанесения поддерживающего пористого металлического материала на внутреннюю или внешнюю металлическую поверхность полого тела, отличающееся тем, что оно содержит индукционную печь с зоной нагревания, приспособленной для секционного нагрева металлической поверхности, и поршень, расположенный внутри зоны нагрева, для прижима поддерживающего пористого металлического материала к металлической поверхности.
РИСУНКИ
|
|