|
(21), (22) Заявка: 2004115788/15, 24.05.2004
(24) Дата начала отсчета срока действия патента:
24.05.2004
(43) Дата публикации заявки: 01.01.2000
(45) Опубликовано: 20.03.2006
(56) Список документов, цитированных в отчете о поиске:
ЕР 0820798 А2, 28.01.1998. SU 1212434 A, 23.02.1986. SU 1393475 A1, 07.05.1988. SU 1544465 A1, 23.02.1990. RU 2146165 C1, 10.03.2000. US 4997465 A, 05.03.1991. US 5232479 А, 03.08.1993.
Адрес для переписки:
392680, г.Тамбов, Моршанское ш., 19, ФГУП “ТамбовНИХИ”
|
(72) Автор(ы):
Балабанов Павел Владимирович (RU), Матвеев Сергей Витальевич (RU), Путин Сергей Борисович (RU), Усов Владимир Николаевич (RU)
(73) Патентообладатель(и):
Федеральное государственное унитарное предприятие “Тамбовский научно-исследовательский химический институт” (ФГУП “ТамбовНИХИ”) (RU)
|
(54) УСТРОЙСТВО ДЛЯ РАЗДЕЛЕНИЯ ГАЗОВ АДСОРБЦИЕЙ
(57) Реферат:
Изобретение относится к устройствам для разделения газов адсорбцией. Устройство содержит корпус с размещенным в нем слоем сорбента, средство поджатия слоя сорбента, кольцо и жесткий сетчатый фильтр. Средство поджатия выполнено в виде эластичной камеры и установлено на кольце. Кольцо опирается на фильтр, размещенный на слое сорбента. Изобретение позволяет обеспечить качественное поджатие слоя сорбента в корпусе адсорбера в процессе работы, транспортирования и хранения. 5 ил. 
Изобретение относится к устройствам для разделения газов адсорбцией.
Известно устройство для разделения газов адсорбцией, содержащее корпус, размещенный в корпусе слой гранулированного цеолита и систему поджатая слоя цеолита (патент США №4997465, МПК B 01 D 53/04, 1991 г.).
Система поджатия слоя цеолита содержит растягиваемый в радиальном направлении элемент, обеспечивающий сжатие слоя цеолита между этим элементом и продольной стенкой корпуса.
Растягиваемый элемент представляет собой резиновый или другой эластомерный мешок, или рукав, закрепленный на полой трубке, проходящей по центру корпуса или слоя цеолита. Давление в растягиваемый элемент передается через отверстия в трубке. Величина этого давления определяется давлением газообразной среды.
Растягиваемый элемент может быть выполнен в виде сферического мешка, размещенного в центральной части слоя цеолита. В этом случае силы сжатия слоя распределяются в трех измерениях.
Конструктивное выполнение устройства позволяет ограничить подвижность и флюидизацию частиц цеолита в слое и, тем самым, исключить разрушение частиц в слое.
К недостаткам указанного устройства относятся следующие:
– предложенное устройство не обеспечивает необходимое поджатие слоя сорбента в адсорберах большого диаметра;
– в сечении, находящемся на уровне мест крепления растягиваемого элемента, поджатие не обеспечено;
– в процессе эксплуатации поверхность растягиваемого элемента может принимать любую сложную форму, что может привести к образованию неработающих зон сорбента, непредсказуемым изменениям линейных скоростей газа по высоте адсорбера и, как следствие, ухудшению качества процесса сорбции.
Известно устройство для разделения газов адсорбцией, содержащее корпус, размещенный в корпусе между перфорированными стенками кольцевой слой адсорбента и систему поджатия слоя адсорбента (заявка ЕПВ №0820798, МПК В 01 D 53/047, 1998 г.). Система поджатия слоя адсорбента включает гибкий мешок, расположенный в верхней части слоя адсорбента и загерметизованный по краям зажимными приспособлениями. Мешок находится под давлением, возникающим в верхней полости устройства под крышкой и превышающим максимальное давление цикла. На верхней части слоя адсорбента размещен сжимаемый губчатый материал. Сжатие этого материала находящимся под давлением мешком обеспечивает ограничение слоя сорбента в верхних углах.
Система поджатия слоя сорбента обеспечивает поджим слоя при всех условиях процесса и предотвращает флюидизацию сорбента.
К недостаткам данного устройства относятся следующие:
– представленное устройство функционирует только в процессе эксплуатации адсорбера и не обеспечивает поджатие слоя сорбента при хранении и транспортировании;
– невозможно управлять в ходе эксплуатации разностью давлений в системе поджатия и в слое сорбента, что может привести к недостаточному усилию поджатия или, наоборот, раздавливанию частиц сорбента в верхнем слое.
Техническим результатом изобретения является обеспечение качественного поджатия слоя сорбента в корпусе адсорбера в процессе работы, транспортирования и хранения.
Технический результат достигается тем, что устройство для разделения газов адсорбцией, содержащее корпус с размещенным в нем слоем сорбента и средство поджатия слоя, дополнительно содержит кольцо и жесткий сетчатый фильтр, причем средство поджатия выполнено в виде эластичной камеры и установлено на кольце, а кольцо опирается на фильтр, размещенный на слое сорбента.
Такое конструктивное выполнение обеспечивает необходимое усилие поджатия слоя сорбента, которое может регулироваться изменением давления в эластичной камере как в процессе эксплуатации, так и в ходе транспортирования и хранения.
Возможность размещения средства поджатия в различных по высоте адсорбера сечениях позволяет применять его в адсорберах с любой высотой слоя сорбента. Размещение эластичной камеры на кольце, которое, в свою очередь, опирается на жесткий фильтр, позволяет равномерно распределять усилие поджатия по всей площади поверхности слоя сорбента.
Изобретение поясняется чертежами, на которых показано:
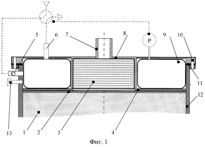
фигура 1 – конструкция адсорбера;
фигура 2 – расположение средства поджатия вверху адсорбера;
фигура 3 – расположение средства поджатия внизу адсорбера;
фигура 4 – одновременное расположение средства поджатия вверху и внизу адсорбера;
фигура 5 – расположение средства поджатия по высоте адсорбера.
Устройство для разделения газов содержит корпус 12, верхнюю и нижнюю крышки (фланцы) 8, прикрепляемые к корпусу при помощи крепежных деталей в крепежных местах 10. Для герметизации между крышками адсорбера и корпусом предусмотрены резиновые прокладки 11. Крышки адсорбера 8 имеют штуцеры 7 для входа (выхода) рабочего газа. В корпусе адсорбера установлен штуцер с обратным клапаном 5. В различных вариантах исполнения в корпусе и крышках адсорбера могут быть установлены штуцеры 6 и клапан избыточного давления 13.
В корпусе адсорбера расположен слой сорбента 1, антифлюидизация которого осуществляется за счет средства поджатая. Средство поджатия состоит из (см. фиг.1) эластичной камеры 9, установленной на площадке 4, выполненной в виде кольца. Кольцо 4 опирается на жесткий сетчатый фильтр 2, который контактирует со слоем сорбента. В центральную часть эластичной камеры помещается патрубок крышки с системой фильтров 3.
Средство поджатия может быть установлено внизу или вверху адсорбера, одновременно в верхней и нижней частях адсорбера или в любом другом месте по высоте адсорбера (см. фиг.2-5). В случае расположения средства поджатия по высоте адсорбера кольцо 4 и жесткий сетчатый фильтр 2 устанавливаются с обеих сторон эластичной камеры 9.
Способ расположения средства поджатия может выбираться исходя из:
– удобства снаряжения адсорбера сорбентом;
– исключения образования так называемых “мостов напряжения” в сыпучих веществах при давлении на них;
– достаточного усилия поджатия при различных высотах слоя сорбента.
Связь эластичной камеры 9 с источником воздушного питания (не показан) осуществляется через штуцер с обратным клапаном 5, установленным в корпус адсорбера 12.
Различные способы создания давления в эластичной камере 9 (от внешнего источника питания, от компрессора, питающего адсорбер, с регулируемым клапаном избыточного давления) независимо от давления в адсорбере позволяют создать необходимое усилие поджатие, которое является достаточным для исключения флюидизации слоя сорбента, с одной стороны, и компенсировать объемное расширение и сжатие сорбента при его работе.
Необходимость качественного поджатия слоя сорбента обусловлена возможными перемещениями частиц сорбента в ходе эксплуатации, хранения и транспортирования адсорбера. Трение частиц друг о друга приводит к механическому разрушению сорбента, образованию пыли и выходу адсорбера из строя. Перемещения частиц сорбента вызывают:
– перепады давления на стадии сорбции и десорбции газа;
– вибрационные нагрузки и т.п.
Кроме того, после снаряжения адсорбера возможно изменение высоты слоя сорбента (усадка) за счет температурного воздействия и вибраций.
Выполнение устройства поджатия в виде эластичной камеры позволяет регулировать величину усилия поджатия, исключая взаимное перемещение частиц сорбента, с одной стороны, и обеспечивая необходимое изменение объема слоя сорбента на стадиях сорбции и десорбции, с другой.
Воздух, создающий давление в эластичной камере 9, поступает от любого источника сжатого воздуха (не показан) через клапан 5, при этом качество воздуха может быть любым, так как объем камеры 9 с пространством адсорбера не сопрягается. Расширяясь под давлением воздуха, камера 9 передает усилие кольцу 4 и, далее, жесткому сетчатому фильтру 2. Фильтр 2 равномерно распределяет усилие от камеры 9 по всему слою сорбента 1. При этом фильтр 2 исключает возможность попадания частиц сорбента в средство поджатия.
При изменении условий эксплуатации и хранения адсорбера излишек воздуха из камеры 9 может быть удален через штуцер 6. Процесс поддержания в камере 9 необходимого давления воздуха может быть автоматизирован за счет введения регулируемого по показаниям манометра клапана (фиг.1, пунктирная линия).
В целях увеличения безопасности эксплуатации и хранения адсорбера в устройстве поджатия предусмотрен клапан избыточного давления 13, лимитирующий максимальное давление в камере 9.
Формула изобретения
Устройство для разделения газов адсорбцией, содержащее корпус с размещенным в нем слоем сорбента и средство поджатия слоя сорбента, отличающееся тем, что содержит кольцо и жесткий сетчатый фильтр, причем средство поджатия выполнено в виде эластичной камеры и установлено на кольце, а кольцо опирается на фильтр, размещенный на слое сорбента.
РИСУНКИ
PD4A – Изменение наименования обладателя патента Российской Федерации на изобретение
(73) Новое наименование патентообладателя:
Открытое акционерное общество “Корпорация “Росхимзащита” (RU)
Извещение опубликовано: 27.08.2006 БИ: 24/2006
|