|
(21), (22) Заявка: 2001111216/15, 26.04.2001
(24) Дата начала отсчета срока действия патента:
26.04.2001
(30) Конвенционный приоритет:
02.05.2000 (пп.1-15) FR 0005580
(43) Дата публикации заявки: 20.03.2003
(45) Опубликовано: 20.03.2006
(56) Список документов, цитированных в отчете о поиске:
SU 35097 А, 28.02.1934. SU 13067 А, 31.03.1930. SU 1386243 А1, 07.04.1988. SU 510132 А, 04.10.1976. SU 1301455 А1, 07.04.1987. GB 20445 А, 09.06.1910. US 5470472 A, 28.11.1995.
Адрес для переписки:
191186, Санкт-Петербург, а/я 230, “АРС-ПАТЕНТ”, пат.пов. В.М.Рыбакову, рег. № 90
|
(72) Автор(ы):
БЕРТОЛОТТИ Жерар (FR), ЛЕБИЗ Ив (FR)
(73) Патентообладатель(и):
Компани Женераль дю Матье Нюклер (FR)
|
(54) БАРАБАННЫЙ ФИЛЬТР НЕПРЕРЫВНОГО ДЕЙСТВИЯ ДЛЯ ФИЛЬТРАЦИИ ЖИДКОСТИ, ТАКОЙ, КАК РАСТВОР, СОДЕРЖАЩИЙ ОСАДОК
(57) Реферат:
Изобретение предназначено для фильтрации и относится к ротационному барабанному фильтру непрерывного действия для фильтрации жидкости, такой как раствор, содержащий осадок (суспензия). Устройство содержит цилиндрический барабан (16) с горизонтальной осью, приводимый во вращение системой (22) привода, множество фильтрующих элементов (60), каждый из которых ориентирован в осевом направлении и образует по меньшей мере часть цилиндрической стенки барабана (16), при этом каждый из фильтрующих элементов сообщается с отводным каналом (62), систему подачи подлежащей фильтрации жидкости, подведенную внутрь барабана, систему (36) отвода осадка, систему отвода фильтрата, проходящего через указанные отводные каналы (62), и блок подачи текучих сред, содержащий линию импульсной подачи сжатого воздуха и средства принудительного побуждения указанной жидкости к проходу через фильтрующие элементы (60). Блок подачи текучих сред выполнен с возможностью сообщения с указанными отводными каналами посредством соединительной системы, которая позволяет осуществить угловое распределение выполняемых фильтром операций, включая по меньшей мере фильтрацию жидкости и снятие осадка с указанных фильтрующих элементов посредством отдува. Технический результат: компактность, облегчение и удобство технического обслуживания. 14 з.п. ф-лы, 8 ил. 
Область техники, к которой относится изобретение
Настоящее изобретение относится к ротационному барабанному фильтру непрерывного действия для фильтрации жидкости, такой как раствор, содержащий осадок.
Уровень техники
Во многих случаях возникает необходимость производить фильтрацию раствора или для того, чтобы отделить твердые материалы от жидких.
Известно множество различных фильтрующих устройств, предназначенных для такого разделения, в частности устройств непрерывного действия. В этих устройствах подлежащая фильтрации среда в виде смеси жидких и твердых материалов, поступающая на вход, подается внутрь устройства и разделяется на фракции, которые подаются на выход устройства.
Так, известны барабанные фильтрующие устройства, содержащие цилиндрический барабан с горизонтальной осью вращения, приводимый во вращение системой привода. Такой барабан имеет прямоугольное продольное сечение с вертикальной стенкой, цилиндрической стенкой и осевым отверстием, которое ограничивается кольцевым бортом, продолжающим цилиндрическую стенку. На барабане установлено множество фильтрующих элементов, которые ориентированы в осевом направлении и образуют по меньшей мере часть цилиндрической стенки барабана, причем каждый фильтрующий элемент сообщается с отводным каналом.
Такие устройства содержат также систему подачи подлежащей фильтрации жидкости, подведенную через указанное отверстие внутрь барабана, систему отвода осадка (частиц твердого материала), систему отвода фильтрата, проходящего через указанные отводные каналы, и блок подачи текучих сред, содержащий линию импульсной подачи сжатого воздуха и средства принудительного побуждения указанной жидкости к проходу через фильтрующие элементы, причем указанный блок подачи текучих сред выполнен с возможностью сообщения с указанными отводными каналами посредством соединительной системы, позволяющей осуществить угловое распределение зон выполнения фильтром различных операций, включая по меньшей мере фильтрацию жидкости и снятие осадка с указанных фильтрующих элементов посредством отдува.
Данные фильтрующие устройства имеют множество недостатков. В частности, известные фильтры непрерывного действия имеют сложную конструкцию, и их техническое обслуживание затруднено.
Сущность изобретения
Задача, на решение которой направлено настоящее изобретение, заключается в создании барабанного фильтра непрерывного действия, в котором устранены недостатки известных устройств и который обладает компактной конструкцией, легок и удобен в техническом обслуживании за счет упрощения доступа к элементам, подлежащим контролю или замене.
В соответствии с изобретением решение поставленной задачи достигается за счет создания фильтрующего устройства указанного типа, характеризующегося тем, что
указанная система привода содержит приводной вал, соосный барабану, жестко соединенный с ним на уровне указанной вертикальной стенки и расположенный со стороны барабана, противоположной указанному отверстию;
указанные средства принудительного побуждения указанной жидкости к проходу через фильтрующие элементы содержат всасывающий трубопровод фильтрации, который сообщается с указанной системой отвода фильтрата и создает разрежение за указанными фильтрующими элементами по отношению к внутренней полости барабана,
указанная система отвода осадка выполнена самотечной в виде сборника, расположенного внутри барабана по существу под его самой верхней частью и сообщающегося с желобом, выступающим за пределы барабана через указанное отверстие,
указанные отводные каналы проходят внутри указанной вертикальной стенки барабана и имеют с одной стороны первый конец, сообщающийся с фильтрующим элементом, и с другой стороны второй конец, выходящий на вертикальную наружную поверхность указанной вертикальной стенки,
а указанная соединительная система содержит первый диск (зеркало), жестко соединенный с барабаном вокруг приводного вала и перфорированный несколькими соединительными окнами, каждое из которых сообщается со вторым концом одного из указанных отводных каналов, и второй неподвижный диск, установленный соосно рядом с указанным первым диском и снабженный угловыми каналами, взаимодействующими с указанным блоком подачи текучих сред и расположенными радиально напротив указанных соединительных окон, при этом угловой канал фильтрации расположен по меньшей мере частично в нижней части второго диска и сообщается с указанным всасывающим трубопроводом фильтрации, а угловой канал сбора осадка расположен по существу в наивысшем угловом секторе второго диска и сообщается с указанным трубопроводом подачи сжатого воздуха для снятия осадка с каждого фильтрующего элемента.
Таким образом, понятно, что фильтрация жидкости происходит из внутренней полости барабана при ее движении к внешней периферии барабана через фильтрующие элементы за счет разрежения в линии фильтрации, создающего разрежение за фильтрующими элементами по отношению к внутренней полости барабана, что позволяет сократить путь фильтрации и гарантирует проход жидкости через фильтрующие элементы. Кроме того, за счет применения соединительной системы с первым вращающимся диском, или зеркалом, и вторым диском, или контрзеркалом, достигается надежное угловое распределение различных операций устройства при его компактной компоновке.
Для облегчения технического обслуживания фильтра по изобретению в нем предусмотрены следующие конструктивные особенности:
– цилиндрическая стенка барабана снабжена опорами, каждая из которых ориентирована в осевом направлении и которые разнесены по окружности с равномерным шагом, при этом каждый фильтрующий элемент неподвижно установлен на указанных опорах таким образом, чтобы покрывать всю цилиндрическую стенку,
– каждый фильтрующий элемент установлен с возможностью скольжения в осевом направлении относительно указанных опор и содержит основание, или башмак, определяющий сливную полость, которая в радиальном внутреннем направлении закрыта фильтрующим полотном, при этом дно указанной полости выполнено наклонным в направлении выпускного отверстия, сообщающегося с указанным первым концом отводного канала,
– барабан содержит освобождаемые средства блокировки каждого фильтрующего элемента относительно опор,
– средства блокировки выполнены с возможностью радиального прижима указанных фильтрующих элементов к указанным опорам вдоль горизонтальной оси.
Далее, предусмотрено, что система подачи жидкости содержит распределитель, который обеспечивает по существу равномерное распределение подлежащей фильтрации жидкости по всей длине фильтрующих элементов параллельно оси барабана.
Очевидно, что при этом можно осуществлять техническое обслуживание каждого фильтрующего элемента индивидуально, включая их очистку или замену.
Согласно другим особенностям указанный блок подачи текучих сред содержит также:
– всасывающий трубопровод обезвлаживания, который создает разрежение, более высокое по сравнению с разрежением, создаваемым указанным всасывающим трубопроводом фильтрации, и сообщается с системой отвода фильтрата, а указанный второй диск дополнительно содержит угловой канал обезвлаживания, расположенный между угловым каналом фильтрации и угловым каналом сбора осадка и сообщающийся с указанным всасывающим трубопроводом обезвлаживания,
– линию подачи раствора для промывки осадка, подведенную через указанное отверстие в барабан на уровне промывочной насадки, предназначенной для направления струи в направлении по меньшей мере одного фильтрующего элемента, расположенного радиально напротив указанного углового канала обезвлаживания,
– трубопровод подачи раствора для промывки фильтрующих элементов, сообщающийся с промывочным угловым каналом второго диска, причем указанный промывочный угловой канал расположен между угловым каналом сбора осадка и угловым каналом фильтрации для того, чтобы вне периодов фильтрации обеспечивать выполнение очистки фильтрующих элементов посредством прохода указанного промывочного раствора от отводных каналов через промывочный угловой канал в направлении соответствующих фильтрующих элементов, при этом данная циркуляция жидкости происходит в противоположном направлении относительно циркуляции на этапе фильтрации.
Согласно другим отличительным особенностям фильтр по изобретению дополнительно содержит:
– систему прижима указанного второго диска к первому диску,
– уплотнительный диск, установленный соосно вплотную ко второму диску со стороны, противоположной первому диску, причем уплотнительный диск продолжен в осевом направлении центрирующей втулкой, расположенной между указанным приводным валом и вторым диском, а указанный второй диск опирается на свободный конец центрирующей втулки, который образует сферическую цапфу и выполнен в виде кольцевого участка сферы, при этом уплотнения помещены между уплотнительным диском и приводным валом.
Фильтр по изобретению предназначен в особенности для фильтрации жидкости с соблюдением мер безопасности в отношении того, что устраняет контакт оператора с жидкостью, например с опасной жидкостью, в частности, в ядерной промышленности.
Для этого предусмотрено, что барабан помещен в окружающий его картер, который собирает и отводит жидкость, случайно переливающуюся из указанного барабана через указанное отверстие, в направлении сливного трубопровода этого картера. Предпочтительно картер установлен в окружающей его перчаточной камере, допускающей доступ к фильтрующим элементам для целей их замены. Предпочтительно фильтр дополнительно содержит средства перемещения барабана, позволяющие вне периодов фильтрации устанавливать по меньшей мере некоторые из фильтрующих элементов напротив по меньшей мере одной перчатки указанной перчаточной камеры.
Таким образом, фильтр по изобретению в особенности пригоден для обработки жидкостей и твердых материалов, являющихся выходными продуктами ядерной промышленности. В особенности он предназначен для фильтрации осадка оксалата плутония в кислотном растворе, при этом геометрия фильтра соблюдается ниже критической. В данном случае раствор для промывки осадка предпочтительно представляет собой азотную кислоту.
Перечень чертежей
Пример осуществления настоящего изобретения, его дополнительные особенности и преимущества будут подробнее описаны ниже со ссылками на прилагаемые чертежи, на которых:
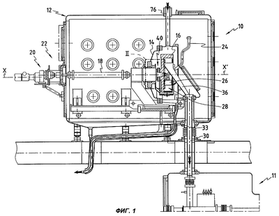
фиг.1 изображает фильтр по изобретению в продольном разрезе,
фиг.2 изображает в увеличенном масштабе узел II на фиг.1 в разрезе по горизонтальной оси фильтра,
фиг.3 схематично изображает принципиальную конструкцию фильтра в продольном разрезе по линии III-III на фиг.4,
фиг.4 изображает фильтр в поперечном разрезе по линии IV-IV на фиг.3,
фиг.5 изображает в поперечном виде первый диск соединительной системы,
фиг.6 изображает в поперечном виде второй диск соединительной системы,
фиг.7 изображает установленный на барабане фильтрующий элемент в частичном продольном разрезе по линии VII-VII на фиг.8,
фиг.8 изображает фильтрующий элемент, установленный на барабане между двумя опорами, в поперечном разрезе по линии VIII-VIII на фиг.7.
Сведения, подтверждающие возможность осуществления изобретения
На фиг.1 представлен барабанный фильтр 10 в соответствии с изобретением, предназначенный для непрерывной фильтрации, промывки и вакуумной сушки осадка (осажденной фазы) оксалата плутония. Данный фильтр является частью производственной линии обработки продуктов ядерной промышленности. Соответственно, фильтр 10 расположен на выходе осадителя оксалата, который генерирует “насыщенную суспензию”, или концентрированную массу осадка, поступающую на вход фильтра и содержащую плутоний в кислой среде, образующей маточный водный раствор.
Фильтр расположен перед сушильной и обжиговой печью 11, предназначенной для обработки осадка, то есть твердого продукта, который получают в фильтре при разделении суспензии на маточный водный раствор (или фильтрат) и твердый осадок, состоящий из пульпы оксалата плутония. Геометрия фильтра выбрана таким образом, чтобы эффективный коэффициент размножения нейтронов в нем был менее 1, т.е. выбор геометрии фильтра ниже критической указывает на то, что в нем не может возникнуть самоподдерживающаяся ядерная реакция.
Разумеется, фильтр имеет геометрию ниже критической для обеспечения безопасности всей установки.
Фильтр 10 по существу заключен в защитную перчаточную камеру 12, которая изолирует его от внешней среды.
Из этой защитной камеры 12 выведены только трубопроводы блока подачи и отвода различных продуктов, связанных с процессом фильтрации, а также элементы привода фильтра.
Для завершения герметизации и изоляции, обеспечиваемой перчаточной камерой, барабан 16, в котором осуществляется фильтрация, помещен в картер 14. Благодаря этому обеспечивается двойное ограждение фильтра.
Барабан 16 установлен с возможностью вращения вокруг горизонтальной оси X-X’ посредством приводного вала 18, который вместе с приводом 20 образует систему 22 привода.
Упомянутые выше питающие трубопроводы блока подачи текучих сред проходят через картер 14. В частности, на фиг.1 видны:
– питающий трубопровод 24 для подачи осадка оксалата плутония, образующий вместе с распределительным устройством 26 систему 28 подачи подлежащей фильтрации жидкости;
– отводящий канал (трубопровод) 30 для отвода осадка гравитационным образом (самотеком), расположенный под сборником 36 для осадка и связанный с сушильной и обжиговой печью 11, помещенной под перчаточной камерой 12,
– сливной трубопровод 32 для опорожнения картера 14, показанный также на фиг.4.
Разумеется, предусмотрен также предохранительный переливной трубопровод 33 для разгрузки картера 14 при его переполнении. Отверстие предохранительного переливного трубопровода 33 расположено на более высоком уровне, чем отверстие сливного трубопровода 32 для использования трубопровода 33 при забивании сливного трубопровода 32.
Внутри картера 14 размещены барабан 16, указанная питающая система 28, сборник 36 сбора осадка и указанный распределитель 26, причем эти два устройства сообщаются с внутренним пространством барабана 16. В картере имеется также гидравлическая соединительная система 40, которая обеспечивает циркуляцию различных текучих сред и газа, необходимых для реализации различных функций фильтра 10, как это будет описано далее.
Как показано на фиг.1 и 3, барабан 16 имеет С-образную форму в продольном сечении по оси и образован вертикальной стенкой 16а, которая примыкает к системе 22 привода, цилиндрической стенкой 16b и вертикальным кольцевым бортом 16с, который ограничивает осевое отверстие 16е.
Через это осевое отверстие 16е во внутреннюю полость барабана 16 проходят питающий трубопровод 24 для подачи оксалата плутония и сборник 36 осадка.
Необходимо пояснить, что фильтр в соответствии с изобретением позволяет осуществлять различные функции, а именно:
– собственно фильтрацию, то есть разделение между собой маточного водного раствора и твердой фазы, образующей осадок,
– обезвлаживание (предварительную осушку) осадка,
– снятие осадка с фильтрующей части и передачу твердого материала, а именно осадка, к отводящему трубопроводу 30 для отвода к сушильной и обжиговой печи 11.
Фиг.2 иллюстрирует механическую установку приводного вала 18 на барабане 16, а также соединительную систему 40. В вертикальной стенке 16а барабана 16 имеется центральное отверстие, в которое входит конец приводного вала 18. Жесткое соединение между приводным валом 18 и барабаном 16 обеспечивается шпонкой 42, которая не допускает их относительного смещения.
Конец приводного вала 18 установлен в вертикальной стенке 16а барабана на уровне его конусного хвостовика, оснащенного гайкой 43.
Снаружи от вертикальной стенки 16а вокруг приводного вала 18 размещена соединительная система 40, образованная первым диском 44, который называется также зеркалом и установлен с возможностью вращения, и вторым неподвижным диском 46, который называется также контр-зеркалом.
Первый диск 44 расположен снаружи от барабана 16 и непосредственно примыкает к задней стороне его вертикальной стенки 16а. При этом первый диск 44 зажат по типу сэндвича между вертикальной стенкой 16а и вторым диском 46. Диски 44 и 46 установлены соосно и центрированы на приводном валу 18.
Первый диск 44 жестко связан с барабаном 16 посредством комплекта шпонок 45 и имеет возможность поворота вокруг оси приводного вала 18 (фиг.2).
Второй диск 46 является неподвижным и установлен на центрирующей втулке 47 несущего уплотнительного диска 48.
Несущий уплотнительный диск 48 выполнен с кольцевыми выемками 48а по длине своей внутренней радиальной поверхности контакта с приводным валом 18, при этом в каждой выемке 48а установлено кольцевое уплотнение 50, обеспечивающее уплотнение соединительной системы 40.
Единая деталь, образованная несущим уплотнительным диском 48 и центрирующей втулкой 47, также является неподвижной. Второй диск 46 установлен на свободном конце центрирующей втулки 47, наружная поверхность которой выполнена в виде сферического кольцевого участка 47а и образует сферическую цапфу, позволяющую воспринимать любые угловые деформации.
Предусмотрена также прижимная система 52 для прижима второго диска 46 к первому диску 44. Эта прижимная система 52 (фиг.2) содержит четыре пальца 54, которые передают прижимное усилие на заднюю поверхность второго диска 46. Пальцы 54 прижимаются ко второму диску 46 пружинами сжатия 56.
В предпочтительном варианте второй диск 46 изготовлен из нержавеющей стали, а первый диск 44, образующий подверженную износу часть, изготовлен из политетрафторэтилена (“Тефлона”). Прижимная система 52 размещена внутри опоры 58, охватывающей приводной вал 18 вблизи барабана 16.
Подшипники 59, показанные на фиг.3, обеспечивают вращение приводного вала в опоре 58 с соответствующим центрированием и восприятием усилий.
Роль и функции соединительной системы 40, образованной первым диском 44 и вторым диском 46, будут описаны далее со ссылкой на фиг.3.
Проход различных текучих сред и газа между внутренней полостью барабана 16 и его окружением осуществляется через систему, которая показана на фиг.3. Данная система содержит фильтрующий элемент 60, сообщающийся с внутренней полостью барабана 16; отводной канал 62, который проходит радиально через вертикальную стенку 16а барабана и затем проходит в осевом направлении в сторону первого диска 44; соединительное окно 44а в первом диске 44, ориентированное в осевом направлении; угловой канал 46а фильтрации, который с одной стороны выходит на обращенную к первому диску поверхность второго диска 46 и может устанавливаться напротив указанного соединительного окна 44а, а с другой стороны выходит радиально на наружную периферию второго диска 46 на уровне одного из питающих трубопроводов системы подачи текучих сред.
В показанном примере выполнения цилиндрическая стенка 16b барабана 16 снабжена шестнадцатью фильтрующими элементами 60, каждый из которых сообщается с отводным каналом 62. При этом первый конец 62а каждого отводного канала 62 сообщается с фильтрующим элементом 60, а его второй конец 62b выходит на заднюю поверхность вертикальной стенки 16а барабана напротив первого диска 44. Как показано на фиг.5, первый диск 44 образует по существу кольцо, снабженное шестнадцатью соединительными окнами 44а, которые расположены с равномерным угловым шагом и проходят первый диск 44 насквозь в осевом направлении. Эти соединительные окна 44а имеют в поперечном сечении овальную или вытянутую форму.
Первый диск 44 имеет возможность вращения вокруг оси приводного вала 18 и жестко соединен с барабаном 16. Практически каждое из соединительных окон 44а образует продолжение второго конца 62b одного из отводных каналов 62.
Как показано на фиг.6, второй диск 46 представляет собой кольцо, оснащенное четырьмя угловыми каналами 46а, 46b, 46с, 46d, которые расположены на радиальном расстоянии от центра второго диска 46, равном радиальному расстоянию соединительных окон 44а от центра первого диска 44.
Четыре угловых канала 46а, 46b, 46с, 46d сообщаются с блоком подачи текучих сред, содержащим четыре передающих трубопровода 64, 65, 66, 67 (см. фиг.4). Каждый из этих трубопроводов предназначен для подачи или отвода текучей среды к фильтрующему элементу 60 или от него, при этом сообщение осуществляется через первый диск 44.
Так, угловой канал 46а фильтрации, расположенный в нижней части второго диска 46 (см. фиг.6), сообщается с всасывающим (находящимся под пониженным давлением) трубопроводом 65 фильтрации, который, в сущности совпадает с трубопроводом 34 отвода фильтрата (давление разрежения составляет по отношению к атмосферному давлению величину, например, Р=-4 м водяного столба или Р=-4×104 Па). Этот угловой канал 46а фильтрации лежит в секторе, составляющем примерно 60° в нижней части второго диска 46 и смещен влево на чертеже по фиг.6.
Угловой канал 46b обезвлаживания отстоит примерно на 15° по часовой стрелке от углового канала 46а фильтрации и лежит в секторе, составляющем примерно 80°. Этот угловой канал 46b обезвлаживания сообщается с всасывающим трубопроводом 66 обезвлаживания. Разрежение обезвлаживания по своей абсолютной величине выше разрежения фильтрации. Так, в качестве примера, давление обезвлаживания составляет по отношению к атмосферному давлению величину Р=-6,5 м водяного столба или Р=-6,5×104 Па. Кроме того, всасывающий трубопровод обезвлаживания связан с системой отвода фильтрата трубопроводом 34.
Для завершения обработки осадка оксалата на уровне углового канала 46b обезвлаживания предусмотрено также выполнение промывки осадка по существу на уровне этого углового канала 46b обезвлаживания. Для этой цели устройство снабжено линией 68 подачи раствора для промывки осадка (фиг.3), которая проходит в барабан 16 через осевое отверстие 16е и заканчивается промывочной насадкой 70, развернутой в направлении углового сектора цилиндрической стенки, который соответствует угловому сектору углового канала 46b обезвлаживания.
Далее, второй диск 46 снабжен также угловым каналом 46с сбора осадка, который отстоит от углового канала 46b обезвлаживания примерно на 20° по часовой стрелке (фиг.6). Этот угловой канал 46с сбора осадка расположен в верхнем угловом секторе второго диска 46.
Данный угловой канал 46с сбора осадка имеет размеры, по существу, сходные с размерами соединительных окон 44а. Далее, канал 46с сообщается с трубопроводом 64 подачи сжатого воздуха, который обеспечивает импульсную подачу сжатого воздуха в направлении фильтрующего элемента 60, находящегося в верхнем угловом секторе барабана 16, для того, чтобы снять осадок, осажденный на этом фильтрующем элементе 60.
Как показано на фиг.3, осадок, снятый с верхнего фильтрующего элемента 60, собирается в сборнике 36 и поступает самотеком в отводящий трубопровод 30, который сообщается с обжиговой печью 11, где производится окончательная обработка осадка.
Фильтр 10 оснащен также оборудованием, которое позволяет обслуживать его в ходе рабочего процесса или в промежутках между рабочими циклами. Так, телевизионная камера 72 (фиг.3) расположена внутри картера 14 и дает возможность наблюдать за отверстием 16е барабана 16, в частности, определять повышение уровня материала в барабане выше уровня кольцевого борта 16с.
Кроме того, должна быть обеспечена возможность очистки барабана 16 и в особенности фильтрующих элементов 60, а также картера 14 в периоды между рабочими циклами устройства 10. Для этой цели второй диск 46 содержит угловой промывочный канал 46d, размеры которого сходны с размерами соединительного окна 44а. Промывочный канал 46d расположен между угловым каналом 46с сбора осадка и угловым каналом 46а фильтрации примерно на одинаковом расстоянии от каждого из них и находится в правой угловой зоне диска 46 (фиг.6). Этот промывочный угловой канал 46d, видный также на фиг.4, сообщается с трубопроводом 67 подачи промывочного раствора для промывки фильтрующих элементов, представляющего собой азотную кислоту.
Кроме того, для очистки картера 14 с обеих сторон от барабана 16 в картер примерно на уровне половины его высоты подведены промывочные трубопроводы 74 (фиг.4).
В процессе очистки картера 14 промывочная жидкость подается по трубопроводам 74 и растекается по всему картеру, а затем отводится через сливной трубопровод 32. Предохранительный переливной трубопровод 33 позволяет отводить жидкости при переполнении картера 14 в случае забивания или переполнения сливного трубопровода 32.
Картер 14, во внутренней полости которого создается небольшое разрежение, связан с системой вентиляции на уровне трубопровода 76, который образует вентиляционный канал, допускающий проход воздуха. Этот подвод воздуха позволяет компенсировать разрежение, создаваемое в барабане 16 всасывающими трубопроводами 65 и 66, путем подачи газового потока, создаваемого посредством данного разрежения. Другая возможность состоит в рециркуляции отработанного воздуха установки.
Далее со ссылками на фиг.7 и 8 будут описаны фильтрующие элементы 60, которые расположены по всей длине цилиндрической стенки 16b барабана 16 и представляют важную особенность изобретения.
В данном примере выполнения фильтр содержит шестнадцать фильтрующих элементов 60. Они расположены вдоль оси на цилиндрической стенке 16b барабана и по существу образуют ее внутреннюю поверхность. Для образования такой поверхности фильтрующие элементы 60 установлены подобно задвижкам, которые могут смещаться скольжением вдоль оси барабана 16. Подобная установка обеспечивает неподвижное положение фильтрующих элементов 60 и возможность их легкой замены.
Фиг.8 изображает фильтрующий элемент в поперечном разрезе по линии VIII-VIII на фиг.7. Как показано на чертеже, цилиндрическая стенка 16b барабана содержит опоры 80, которые ориентированы своей длиной вдоль оси. В поперечном сечении опоры 80 выступают радиально и имеют форму двух Т-образных выступов, которые продолжают друг друга и имеют примыкающие друг к другу свободные концы оснований.
Фильтрующий элемент 60 установлен с возможностью скольжения в двух опорах 80 и прижат к первой полке 80а опор 80, как будет пояснено далее.
Для прижима фильтрующего элемента 60, имеющего по существу форму параллелепипеда, к первой полке 80а предусмотрены средства блокировки, которые позволяют передавать опорное усилие прижима фильтрующего элемента 60 к опоре 80.
Как показано на фиг.8, эти средства блокировки содержат скобу 82, расположенную в осевом направлении между двумя опорами 80 и в радиальном направлении снаружи от фильтрующего элемента 60. Поперечные бортики 82а скобы входят с возможностью радиального смещения в осевые выемки 80b опор 80. Таким образом, монтажные осевые выемки 80b образуют направляющие, которые допускают скольжение поперечных бортиков 82а скобы и в то же время радиально удерживают скобу 82 и фильтрующий элемент 60, смонтированный с ней в один узел.
В поперечном сечении скоба 82 имеет U-образную форму, при этом две боковины скобы расположены по обе стороны задней части фильтрующего элемента, образованной осевым выступом 60а с радиально ориентированной проточкой 60b.
В основании U-образной скобы 82 выполнено радиальное отверстие 82b с резьбой, которое может быть расположено в продолжение проточки 60b фильтрующего элемента 60. Винт 84 блокировки с головкой в форме гайки 86 проходит через резьбовое отверстие 82b и входит в проточку 60b. На теле винта вблизи головки 86 выполнена резьба для взаимодействия с резьбовым отверстием 82b.
Радиальный упор свободного конца винта в дно проточки 60b (которое снабжено упорным элементом, представленным на фиг.7 и 8) и взаимодействие резьбы винта 84 и резьбового отверстия 82b позволяет производить блокировку фильтрующего элемента.
Эта блокировка осуществляется путем вращения головки 86 винта 84, что вызывает отход фильтрующего элемента 60 от скобы 82 по мере заглубления винта 84 в резьбовое отверстие 82b до тех пор, пока поперечные бортики 82 скобы не прижмутся радиально к радиально внешней опорной поверхности монтажных осевых выемок 80b.
Фиксирующее кольцо 87, которое входит в кольцевую канавку в проточке 60b и во вторую кольцевую канавку на гладком участке тела винта 84, обеспечивает фиксацию винта 84 в основании 602.
Таким образом, в положении блокировки фильтрующий элемент 60 прижат к упомянутой первой полке 80а, а поперечные бортики 82а скобы 82 радиально прижаты к радиально внешней опорной поверхности монтажных осевых выемок 80b.
Фильтрующий элемент 60 содержит основание 602, которое образует его радиально внешнюю часть и содержит упомянутый осевой выступ 60а.
Один из осевых концов основания 602 связан с ручкой 603 (фиг.7), которая позволяет вытянуть фильтрующий элемент 60 из опор 80 после того, как будет отпущен винт 84.
На радиально внутренней стороне в основании 602 имеется полость 602а прямоугольного контура на большей части радиально внутренней поверхности основания 602. Когда фильтрующий элемент 60 находится в нижней части барабана 16, как это показано на фиг.8, эта полость 602а имеет наклон в направлении к выпускному отверстию 602b, которое сообщается с первым концом отводного канала 62. Выпускная полость 602а закрыта решеткой 604, которая поддерживает фильтрующее полотно 606. Это фильтрующее полотно 606 зажато между решеткой 604 и рамкой 608, которая образована прямоугольной окантовкой и центральной поперечной перемычкой. Таким образом, рамка 608 ограничивает две прямоугольные зоны в осевом направлении.
Фильтрующее полотно 606 обладает пропускной способностью в соответствии с подлежащим фильтрации продуктом и изготовлено из нержавеющей стали. Полотно 606 приварено (припаяно) между рамкой 608 и решеткой 604 с обеспечением уплотнения между этими элементами.
Цилиндрическая втулка 88 (фиг.7), толщина которой равна суммарной толщине рамки 608 и решетки 604, образует продолжение отводного канала 62 и устанавливает его сообщение с выпускным отверстием 602b основания 602 (фиг.7) через отводящий канал 602с.
Уплотнение обеспечивается двумя уплотнительными кольцами 609 торического профиля, которые установлены в кольцевых выемках на торцевых поверхностях втулки 88 и прижимаются с одной стороны к вертикальной стенке 16а барабана и с другой стороны к основанию 602, окружая отводной канал 62.
Две уплотнительные прокладки 610 круглого профиля и прямоугольного контура обеспечивают уплотнение фильтрующего элемента 60. Одна из них установлена между рамкой 608 и барабаном 16 (его вертикальной стенкой 16а, кольцевым бортом 16с и первой полкой 80а опор 80 – фиг.7 и 8), а другая между решеткой 604 и основанием 602.
Устройство работает следующим образом.
При непрерывном вращении барабана 16 каждый из фильтрующих элементов 60 посредством отводного канала 62 и соединительных окон 44а первого диска 44 последовательно сообщается с угловым каналом 46а фильтрации, угловым каналом 46b обезвлаживания и угловым каналом 46с сбора осадка.
Во время этапа сообщения фильтрующего элемента 60 с угловым каналом 46а фильтрации оксалат плутония, подаваемый питающим трубопроводом 24, поступает на уровень фильтрующего элемента 60, через который при посредстве всасывающего трубопровода 65 фильтрации производится отсасывание маточного водного раствора, в то время как твердые элементы задерживаются на уровне фильтрующего полотна 606.
Далее, на этапе прохождения фильтрующего элемента 60 на уровне углового канала 46b обезвлаживания посредством всасывающего трубопровода 66 обезвлаживания производится дополнительное обезвлаживание твердого осадка на фильтрующем полотне 606, в то время как посредством подачи промывочного раствора по линии 68 производится промывка этого твердого осадка.
И наконец, на этапе прохождения фильтрующего элемента 60 на уровне углового канала 46с сбора осадка импульсная подача сжатого воздуха по трубопроводу 64 обеспечивает снятие (отдув) осадка с фильтрующего полотна 606 и его отвод через сборник 36.
Таким образом, к конструктивным особенностям фильтра по изобретению относятся система подачи подлежащей фильтрации жидкости во внутреннюю полость барабана 16, система подвода трубопроводов к стенкам барабана 16, соединительная система 40, образованная первым и вторым дисками 44 и 46, а также установка фильтрующих элементов 60 в цилиндрической стенке 16b барабана 16. Эти конструктивные особенности обеспечивают создание компактного фильтра меньших размеров с соблюдением ограничений по условиям безопасности, которые установлены для обработки продуктов ядерной промышленности.
Для дальнейшего облегчения обслуживания фильтра 10 предусмотрена возможность осевого смещения приводного вала 18, жестко соединенного с барабаном. Для этого приводной вал 18 выполнен из двух отделяемых друг от друга частей.
Далее направляющие позволяют произвести осевое смещение картера 14 вместе с барабаном 16, и этот узел может быть развернут на 90° вокруг вертикальной оси с помощью средств привода поворота для того, чтобы установить ось барабана 16 в поперечном направлении перчаточной камеры. После этого разворота обеспечивается доступ через перчатки к ручкам 603 фильтрующих элементов 60 для их замены. Для этой цели картер на своей обратной стороне по отношению к приводному валу 18 снабжен люком для доступа.
Предусмотрена также оптическая система контроля углового положения, которая в каждый момент рабочего процесса обеспечивает контроль положения барабана 16 и, соответственно, положения каждого из фильтрующих элементов 60 относительно угловых каналов 46a-46d. Система позволяет осуществлять контроль операций процесса, производимых каждым из фильтрующих элементов.
Формула изобретения
1. Барабанный фильтр (10) непрерывного действия для фильтрации жидкости, такой, как содержащий осадок раствор, содержащий цилиндрический барабан (16) с горизонтальной осью, приводимый во вращение системой (22) привода, причем указанный барабан (16) имеет продольное сечение прямоугольной формы с вертикальной стенкой (16а), цилиндрической стенкой (16b) и осевым отверстием (16е), ограниченным кольцевым бортом (16с), который продолжает цилиндрическую стенку, множество фильтрующих элементов (60), каждый из которых ориентирован в осевом направлении и образует, по меньшей мере, часть цилиндрической стенки (16b) барабана (16), при этом каждый из фильтрующих элементов (60) сообщается с отводным каналом (62), систему (28) подачи подлежащей фильтрации жидкости, подведенную через указанное отверстие (16е) внутрь барабана (16), систему (30, 36) отвода осадка, систему (34) отвода фильтрата, проходящего через указанные отводные каналы (62), и блок подачи текучих сред, содержащий трубопровод (64) импульсной подачи сжатого воздуха и средства (65, 66) принудительного побуждения указанной жидкости к проходу через фильтрующие элементы (60), причем указанный блок подачи текучих сред выполнен с возможностью сообщения с указанными отводными каналами посредством соединительной системы (40), позволяющей осуществить угловое распределение выполняемых фильтром операций, включая, по меньшей мере, фильтрацию жидкости и снятие осадка с указанных фильтрующих элементов посредством отдува, при этом указанная система (22) привода содержит приводной вал (18), концентричный барабану (16), жестко соединенный с ним на уровне указанной вертикальной стенки (16а) и расположенный со стороны барабана (16), противоположной указанному отверстию (16е), указанные средства принудительного побуждения указанной жидкости к проходу через фильтрующие элементы содержат всасывающий трубопровод (65) фильтрации, который сообщается с указанной системой (34) отвода фильтрата и создает разрежение за указанными фильтрующими элементами (60) по отношению к внутренней полости барабана (16), указанная система отвода осадка выполнена самотечной в виде сборника (36), расположенного внутри барабана (16), по существу, под его самой верхней частью и сообщающегося с отводящим каналом, выступающим за пределы барабана (16) через указанное отверстие, указанные отводные каналы (62) проходят внутри указанной вертикальной стенки (16а) барабана (16) и имеют первый конец (62а), сообщающийся с фильтрующим элементом (60), и второй конец (62b), выходящий на вертикальную наружную поверхность указанной вертикальной стенки (16а), указанная соединительная система (40) содержит первый диск (44), жестко соединенный с барабаном (16) вокруг приводного вала (18) и снабженный несколькими соединительными окнами (44а), каждое из которых сообщается со вторым концом (62b) одного из указанных отводных каналов (62), и второй, неподвижный, диск (46), установленный соосно рядом с указанным первым диском (44) и снабженный угловыми каналами (46a-46d), взаимодействующими с указанным блоком подачи текучих сред и расположенными радиально напротив указанных соединительных окон (44а), при этом угловой канал (46а) фильтрации расположен, по меньшей мере, частично в нижней части второго диска (46) и сообщается с указанным всасывающим трубопроводом (65) фильтрации, а угловой канал (46с) сбора осадка расположен, по существу, в наивысшем угловом секторе второго диска (46) и сообщается с указанным трубопроводом (64) подачи сжатого воздуха для снятия осадка с каждого фильтрующего элемента (60), цилиндрическая стенка (16b) указанного барабана (16) снабжена опорами (80), каждая из которых ориентирована в осевом направлении и которые разнесены по окружности с равномерным шагом, каждый фильтрующий элемент (60) расположен на указанных опорах (80) таким образом, чтобы покрывать всю цилиндрическую стенку (16b), при этом каждый фильтрующий элемент (60) установлен съемно с возможностью скольжения в осевом направлении относительно указанных опор (80).
2. Фильтр по п.1, отличающийся тем, что каждый фильтрующий элемент (60) установлен и содержит основание (602), определяющее сливную полость (602а), которая с внутренней в радиальном направлении стороны закрыта фильтрующим полотном (606), при этом дно указанной полости (602а) выполнено наклонным в направлении выпускного отверстия (602b), сообщающегося с указанным первым концом (62а) указанного отводного канала (62).
3. Фильтр по п.1, отличающийся тем, что указанный барабан (16) содержит освобождаемые средства блокировки каждого фильтрующего элемента (60) относительно указанных опор (80).
4. Фильтр по п.3, отличающийся тем, что указанные средства блокировки выполнены с возможностью радиального прижима указанных фильтрующих элементов (60) к указанным опорам вдоль горизонтальной оси.
5. Фильтр по п.1, отличающийся тем, что указанная система подачи жидкости содержит распределитель (26), который обеспечивает, по существу, равномерное распределение подлежащей фильтрации жидкости по всей длине фильтрующих элементов (60).
6. Фильтр по п.1, отличающийся тем, что указанный блок подачи текучих сред дополнительно содержит всасывающий трубопровод (66) обезвлаживания, который создает разрежение, более высокое по сравнению с разрежением, создаваемым указанным всасывающим трубопроводом (65) фильтрации, и сообщается с системой (34) отвода фильтрата, а указанный второй диск (46) дополнительно содержит угловой канал (46b) обезвлаживания, расположенный между угловым каналом (46а) фильтрации и угловым каналом (46с) сбора осадка и сообщающийся с указанным всасывающим трубопроводом (66) обезвлаживания.
7. Фильтр по п.6, отличающийся тем, что указанный питающий блок подачи текучих сред дополнительно содержит линию (68) подачи раствора для промывки осадка, которая подведена через указанное отверстие (16е) в барабан (16) на уровне промывочной насадки (70), предназначенной для направления струи в направлении, по меньшей мере, одного фильтрующего элемента (60), расположенного радиалъно напротив указанного углового канала (46b) обезвлаживания.
8. Фильтр по п.1, отличающийся тем, что указанный блок подачи текучих сред дополнительно содержит трубопровод (67) подачи раствора для промывки фильтрующих элементов (60), сообщающийся с промывочным угловым каналом (46d) второго диска (46), причем указанный промывочный угловой канал (46d) расположен между угловым каналом (46с) сбора осадка и угловым каналом (46а) фильтрации для того, чтобы вне периодов фильтрации обеспечивать выполнение очистки фильтрующих элементов (60) посредством прохода указанного промывочного раствора от указанных отводных каналов (62) через указанный промывочный угловой канал (46d) в направлении соответствующих фильтрующих элементов (60).
9. Фильтр по п.1, отличающийся тем, что дополнительно содержит систему (52) прижима указанного второго диска (46) к указанному первому диску (44).
10. Фильтр по п.9, отличающийся тем, что он дополнительно содержит уплотнительный диск (48), установленный соосно вплотную к указанному второму диску (46) со стороны, противоположной указанному первому диску (44), причем указанный уплотнительный диск (48) продолжен в осевом направлении центрирующей втулкой (47), расположенной между указанным приводным валом (18) и указанным вторым диском (46), а указанный второй диск (46) опирается на свободный конец (47а) указанной центрирующей втулки (47), который образует сферическую цапфу и выполнен в виде кольцевого участка сферы, при этом уплотнения (50) помещены между указанным уплотнительным диском (48) и указанным приводным валом (18).
11. Фильтр по п.1, отличающийся тем, что указанный барабан (16) помещен в окружающий его картер (14), который собирает и отводит жидкость, случайно переливающуюся из указанного барабана (16) через указанное отверстие (16е), в направлении сливного трубопровода (32) этого картера.
12. Фильтр по п.11, отличающийся тем, что указанный картер установлен в окружающей его защитной камере (12), обеспечивающей возможность доступа к фильтрующим элементам (60) для целей их замены.
13. Фильтр по п.12, отличающийся тем, что дополнительно содержит средства перемещения барабана (16), позволяющие вне периодов фильтрации устанавливать, по меньшей мере, некоторые из фильтрующих элементов (60) напротив, по меньшей мере, одной перчатки указанной защитной камеры (12).
14. Фильтр по любому из предыдущих пунктов, отличающийся тем, что предназначен для фильтрации осадка оксалата плутония в кислотном растворе при геометрии фильтра ниже критической.
15. Фильтр по п.14, отличающийся тем, что указанный раствор для промывки осадка представляет собой азотную кислоту.
РИСУНКИ
|