|
|
(21), (22) Заявка: 2003101700/15, 22.06.2001
(24) Дата начала отсчета срока действия патента:
22.06.2001
(30) Конвенционный приоритет:
22.06.2000 (пп.1-12) NL 1015502
(43) Дата публикации заявки: 27.05.2004
(45) Опубликовано: 20.03.2006
(56) Список документов, цитированных в отчете о поиске:
NL 8303016 A, 18.03.1985. SU 1319891 A1, 30.06.1987. SU 50159 A, 31.08.1936. SU 1724317 A1, 07.04.1992. SU 1491545 A1, 07.07.1989. US 4285815 A, 25.08.1981.
(85) Дата перевода заявки PCT на национальную фазу:
22.01.2003
(86) Заявка PCT:
NL 01/00469 (22.06.2001)
(87) Публикация PCT:
WO 01/97948 (27.12.2001)
Адрес для переписки:
129010, Москва, ул. Б.Спасская, 25, стр.3, ООО “Юридическая фирма Городисский и Партнеры”, пат.пов. С.А.Дорофееву
|
(72) Автор(ы):
МАРХАЛ Ян Маринус (NL)
(73) Патентообладатель(и):
ПАННЕВИС Б.В. (NL)
|
(54) СПОСОБ И УСТРОЙСТВО ДЛЯ ОТДЕЛЕНИЯ ЖИДКОСТЕЙ ОТ ТВЕРДЫХ ВЕЩЕСТВ, СНАБЖЕННОЕ СРЕДСТВАМИ ДЛЯ ОТБОРА ЖИДКОСТИ СНИЗУ И ПО БОКАМ СКВОЗЬ ТРАНСПОРТЕРНУЮ ЛЕНТУ
(57) Реферат:
Изобретение предназначено для разделения жидкости и твердого вещества фильтрованием. Устройство содержит фильтровальное полотно, пропускающее жидкость и удерживающее твердое вещество, транспортерную ленту для поддержания фильтровального полотна с, по меньшей мере, одним отверстием, несущую конструкцию для поддержания транспортерной ленты, подвижной относительно несущей конструкции, по меньшей мере одну вакуум-камеру, установленную под несущей конструкцией и/или с боковой стороны транспортерной ленты и соединенную с выполненным, по меньшей мере, одним отверстием в транспортерной ленте для отбора жидкости из смеси, при этом лента имеет ребристый профиль, между ребрами которого проходят каналы к боковым краям ленты, лента изготовлена из пластика или резины и имеет фигурную утолщенную часть. По меньшей мере одно отверстие выполнено в фигурной части. Вакуум-камеры снабжены патрубками для отвода летучих компонентов из смеси. В устройстве обеспечивается хорошая герметизация транспортерной ленты относительно вакуум-камеры. 2 н. и 10 з.п. ф-лы, 3 ил. 
Много лет автор настоящей заявки был занят в реализации установок для отделения жидкостей от твердых веществ. Первый вариант выполнения такой установки был снабжен вакуум-камерой, которую перемещали вместе с фильтровальным полотном, и ей сообщали возвратно-поступательное движение.
В другом варианте выполнения вблизи бокового края транспортерной ленты, несущей фильтровальное полотно, были расположены боковые камеры, а жидкости отсасывали по каналам в транспортерной ленте в вакуум-камеры. Этот последний вариант выполнения обладал преимуществом в сравнении с упомянутым ранее первым вариантом выполнения, заключавшемся в том, что вакуум-камеры могли иметь достаточно простую конструкцию, так как они были установлены стационарно. Благодаря расположению вблизи боковых краев вакуум-камеры были легко доступны для наблюдения за ними, для чистки и технического обслуживания.
В этом известном втором варианте выполнения проблемой являлось уплотнение транспортерной ленты относительно вакуум-камеры. Возможные решения этой проблемы являлись дорогостоящими и/или требовали частого технического обслуживания.
Согласно настоящему изобретению создано устройство для выделения жидкости от твердого вещества из смеси, содержащее:
– фильтровальное полотно, пропускающее сквозь себя жидкость и удерживающее твердое вещество;
– транспортерную ленту, предназначенную для поддержания фильтровального полотна со смесью на нем, причем транспортерная лента по выбору снабжена одним (или более) отверстием, расположенным вблизи по меньшей мере одного из боковых краев или по меньшей мере смещенным от ее середины;
– несущую конструкцию для поддержания транспортерной ленты, подвижной относительно этой конструкции; и
– вакуум-камеру, установленную под несущей конструкцией и/или сбоку транспортерной ленты и сообщенную с выполненными по выбору отверстиями в транспортерной ленте для отбора жидкости из смеси. Транспортерная лента имеет ребристый профиль, между ребрами которого проходят каналы к боковым краям ленты.
В предпочтительном варианте выполнения транспортерная лента выполнена из пластика, рекомендуемого для конкретных химических соединений, так как он не окрашивает отделенную жидкость и/или твердое вещество.
В другом предпочтительном варианте выполнения транспортерная лента изготовлена из резины, так как резина обладает чрезвычайно высокой износостойкостью и продолжительным сроком службы.
В случае использования определенных транспортерных лент рекомендуется располагать вакуум-камеру только с одной боковой их стороны, что, конечно, является предпочтительным с точки зрения технического обслуживания, наблюдения и т.п.
Дополнительные преимущества, обличительные особенности и подробности настоящего изобретения пояснены в последующем описании предпочтительного варианта его выполнения со ссылками на прилагаемые чертежи, на которых:
Фиг.1 – вид в перспективе предпочтительного варианта выполнения устройства согласно настоящему изобретению;
Фиг.2 – поперечное сечение предпочтительного варианта выполнения, представленного на фиг.1;
Фиг.3 – поперечное сечение еще одного предпочтительного варианта выполнения устройства согласно настоящему изобретению.
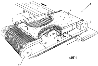
В устройстве 1 (см. фиг.1, 2) фильтровальное полотно 2 и резиновая транспортерная лента 3, расположенная под фильтровальным полотном и снабженная каналами 4, огибают валы 5, 6, по меньшей мере один из которых является приводным. Под транспортерной лентой 3 вдоль ее краев расположены стационарные вакуум-камеры 7, 8, снабженные отводящими патрубками 9 и 10 соответственно для отбора жидкости, отсасываемой через фильтровальное полотно 2, причем вакуум-камеры снабжены в верхней своей части патрубками 11, 12 соответственно для отсоса, посредством которых производят дополнительное отделение летучих компонентов жидкости от менее летучих ее компонентов в вакуум-камерах 7, 8.
Жидкость отсасывают из смеси М в направление стрелок А, В и С в вакуум-камеры через отверстия 13 в транспортерной ленте 3, причем между транспортерной лентой 3 и вакуум-камерами 7, 8 соответственно расположены уплотнения 14, 15 соответственно из износостойкого материала, производство которого является относительно простым.
Как, в частности, показано на фиг.2, транспортерная лента снабжена с обоих краев фигурными утолщенными частями 16, 17 соответственно для того, чтобы обеспечивать сток жидкости в отверстия 13 в направлении стрелок. Транспортерная лента с верхней стороны уплотнена относительно стационарной конструкции 20 посредством уплотнений 18, 19 соответственно.
В еще одном предпочтительном варианте выполнения, как показано на фиг.3, вакуум-камеры 37, 38 установлены стационарно по краям транспортерной ленты 3, где вакуум-камеры опять-таки снабжены с нижней стороны отводящими патрубками 39, 40 для отбора жидкости, отсасываемой сквозь фильтровальное полотно 2, причем упомянутые вакуум-камеры снабжены с верхней стороны патрубками 41, 42, соответственно, посредством которых производят отделение летучих компонентов жидкости от ее менее летучих компонентов, выделяющихся в вакуум-камерах 37, 38. Транспортерная лента лежит своими краями на уплотнениях 45, 45′ из износостойкого материала, например из тефлона, которые располагают на опорах 46, 47, прикрепленных к вакуум-камерам 37, 38. Для отбора жидкости, отсасываемой сквозь фильтровальное полотно 2, в наружных краях транспортерной ленты и/или в фигурных утолщенных частях 16, 17 выполнены каналы 43, 44, причем каналы соединены с продолговатыми отверстиями 50, 51 в боковых сторонах вакуум-камер 37, 38. На наклонных верхних частях вакуум-камер расположены прокладки 48, 49 соответственно из износостойкого материала с низким коэффициентом трения, например из тефлона, на которых лежат края фильтровального полотна 2 и вдоль которых это полотно перемещают.
В другом варианте выполнения (не показан) настоящего изобретения вакуум-камеры установлены стационарно под и выше боковых краев транспортерной ленты. Этот вариант выполнения является, таким образом, сочетанием вариантов выполнения, показанных на фиг.1, 2 и 3.
Настоящее изобретение не ограничено описанным выше вариантом выполнения, заявляемые права скорее определяются прилагаемой формулой изобретения, в объеме которой можно предусмотреть много модификаций.
Транспортерная лента может иметь ширину более 1,5-2,0 м, толщину около 25-30 см. Вакуум-камеры могут быть установлены с обеих боковых сторон транспортерной ленты. Отверстия ленты могут быть расположены на четверти ширины ленты, примыкающей к наружному краю. По меньшей мере одна вакуум-камера имеет закрываемый люк для осмотра и/или технического обслуживания.
Формула изобретения
1. Устройство для разделения жидкости и твердого вещества из смеси, содержащее
фильтровальное полотно, пропускающее сквозь себя жидкость и удерживающее твердое вещество,
транспортерную ленту, предназначенную для поддержания фильтровального полотна со смесью на нем, причем транспортерная лента имеет по меньшей мере одно отверстие, расположенное вблизи по меньшей мере одного из боковых краев или по меньшей мере смещенное от ее середины,
несущую конструкцию для поддержания транспортерной ленты, подвижной относительно несущей конструкции, и
по меньшей мере одну вакуум-камеру, установленную под несущей конструкцией и/или с боковой стороны транспортерной ленты и соединенную с выполненным по меньшей мере одним отверстием в транспортерной ленте для отбора жидкости из смеси,
при этом транспортерная лента имеет ребристый профиль, между ребрами которого проходят каналы к боковым краям транспортерной ленты, транспортерная лента изготовлена из пластика или резины и имеет фигурную утолщенную часть, и по меньшей мере одно отверстие выполнено в фигурной утолщенной части, а вакуум-камеры имеют патрубки для отвода летучих компонентов из смеси.
2. Устройство по п.1, в котором вакуум-камера установлена под по меньшей мере одним отверстием и/или в непосредственной близости от него только с одной боковой стороны.
3. Устройство по п.1 или 2, в котором транспортерная лента имеет ширину более 1,5-2,0 м, а вакуум-камеры установлены с обеих боковых сторон транспортерной ленты.
4. Устройство по любому из пп.1-3, в котором транспортерная лента имеет толщину около 25-30 см.
5. Устройство по любому из пп.1-4, в котором отверстия расположены на четверти ширины транспортерной ленты, примыкающей к наружному краю.
6. Устройство по любому из пп.1-5, в котором по меньшей мере одна вакуум-камера имеет закрываемый люк для осмотра и/или технического обслуживания.
7. Устройство по любому из пп.1-6, в котором с одного или обоих краев транспортерной ленты установлена вакуум-камера с отверстиями в ней, которые сообщаются с отверстиями в фигурной утолщенной части для всасывания через них жидкости из смеси.
8. Устройство по любому из пп.1-7, в котором на вакуум-камерах установлена прокладка для поддержания фильтровального полотна, вдоль которой перемещают это полотно.
9. Устройство по п.8, в котором прокладка выполнена из тефлона.
10. Устройство по п.9, в котором прокладка расположена между фильтровальным полотном и боковой стороной вакуум-камеры.
11. Устройство по любому из пп.1-10, в котором на вакуум-камере имеется опора для поддержания транспортерной ленты.
12. Способ разделения жидкостей и твердых веществ из смеси, состоящий в отфильтровывании твердых частиц из смеси при перемещении смеси и отсасывании из нее жидкости, который осуществляется на устройстве по любому из пп.1-11.
РИСУНКИ
|
|