|
|
(21), (22) Заявка: 2004101361/15, 21.01.2004
(24) Дата начала отсчета срока действия патента:
21.01.2004
(43) Дата публикации заявки: 10.07.2005
(45) Опубликовано: 20.03.2006
(56) Список документов, цитированных в отчете о поиске:
RU 2193443 C1, 27.11.2002. RU 2200054 C1, 10.03.2003. RU 2152245 C1, 10.07.2000. SU 1340808 A1, 30.09.1987. SU 1101248 A, 07.07.1984. RU 2181069 С1, 10.04.2002. US 4372818 A, 08.02.1983.
Адрес для переписки:
123458, Москва, ул. Таллинская, 6, корп.3, кв.402, В.И. Бердникову
|
(72) Автор(ы):
Бердников Владимир Иванович (RU)
(73) Патентообладатель(и):
Бердников Владимир Иванович (RU), ООО “ИНОТЕХ” (RU)
|
(54) СПОСОБ ОЧИСТКИ ЖИДКИХ УГЛЕВОДОРОДОВ ОТ ПРИМЕСЕЙ, УСТАНОВКА ДЛЯ ЕГО ОСУЩЕСТВЛЕНИЯ И ДЕСОРБЕР ДЛЯ ИСПОЛЬЗОВАНИЯ В УСТАНОВКЕ
(57) Реферат:
Изобретение относится к процессам и аппаратам химического машиностроения и может быть использовано в энергетической, нефтегазовой, химической, пищевой и других отраслях промышленности для очистки жидких углеводородов, десорбции, ректификации (перегонки) и т.п. процессам в системе газ-жидкость, в частности в системах экологической защиты, как установки для улавливания паров углеводородов (УВ) из паровоздушной смеси (ПВС) и их рекуперации, в системах транспортирования, хранения и реализации нефтепродуктов. Насыщенные примесями жидкие углеводороды подают в десорбер, выполненный в виде горизонтального дискового тепломассообменного аппарата, имеющего секции, образующие центральную зону подачи насыщенных жидких углеводородов, и зоны возгонки и конденсации углеводородов. Десорбцию проводят при избыточном давлении в режиме противотока насыщенных углеводородов и паровой фазы путем нагрева насыщенных углеводородов и испарения из образовавшийся на вращающихся дисках пленки легких фракций со стороны выхода жидких углеводородов из горизонтального дискового тепломассообменного аппарата, в зоне возгонки и одновременного охлаждения флегмы в зоне конденсации с противоположной стороны ГДТА. Установка содержит десорбер, выполненный в виде горизонтального дискового тепломассообменного аппарата, который установлен с наклоном в сторону выхода из него очищенных жидких углеводородов и соединен трубопроводами подачи насыщенных и отвода очищенных жидких углеводородов, на которых расположены насос и теплообменники, с емкостями накопления насыщенных и очищенных жидких углеводородов. Изобретение позволяет значительно уменьшить габариты установки, повысить экономичность систем очистки при повышении их эффективности. 3 н. и 3 з.п. ф-лы, 3 ил. 
Изобретение относится к процессам и аппаратам химического машиностроения и может быть использовано в энергетической, нефтегазовой, химической, пищевой и других отраслях промышленности для очистки жидких углеводородов, десорбции, ректификации (перегонки) и т.п. процессам в системе газ-жидкость, в частности в системах транспортирования, хранения, перевалки и реализации нефтепродуктов, оснащенных установками улавливания паров углеводородов (УВ) из паровоздушной смеси (ПВС), для сокращения выбросов в атмосферу паров углеводородов из резервуаров, цистерн и т.п. на нефтеперерабатывающих заводах, нефтебазах, автомобильных, железнодорожных и морских эстакадах слива-налива нефтепродуктов, в том числе на АЗС в ходе хранения и заправки автомобилей.
Известен способ и устройство для его осуществления, в ходе которого при десорбции (очистке) компонент получают в жидком виде (см. В.М.Рамм, “Абсорбция газов”, Москва, изд. “Химия” 1976 г., стр.595-596). Так как в данном случае вода не смешивается с компонентом и поглотителем, десорбцию ведут острым паром. Очищаемые жидкие углеводороды перед поступлением в десорбер нагревают в дефлегматоре, теплообменнике и подогревателе. Выходящие из десорбера пары направляют в дефлегматор, где конденсируются пары поглотителя и частично пары воды; после отделения от воды в сепараторе сконденсированный поглотитель возвращают в цикл. Смесь водяного пара с парами углеводородов поступает далее в конденсатор. Несконденсировавшиеся газы отделяются от жидкости в конденсаторе, а жидкие углеводороды от воды за счет разницы плотностей.
К недостатком данного способа (наряду с традиционными недостатками колонной аппаратуры) следует отнести невозможность использования острого пара при десорбции углеводородов в автономных установках, например на АЗС.
В блочных автономных установках улавливания практичнее использовать способ очистки с выгонкой углеводородов не острым паром, а на кипятильнике (см. “Справочник по производству спирта”, 1981 г. Издательство “Легкая и пищевая промышленность”, стр.128-130 и Каталог – “Стандартные кожухотрубчатые теплообменные аппараты общего назначения”, ЦИНТИХИМНЕФТЕМАШ, Москва, 1978 г.). По данному способу десорбция осуществляется при температуре кипения жидких углеводородов с переводом всех фракций, углеводородов и примесей в газообразное состояние в кипятильнике, что сопряжено с большими энергетическими затратами.
Известны и другие способы очистки жидких углеводородов и установки для их осуществления (см. пат. RU №2193443, Мкл. В 65 D 90/30, 29.10.2001; RU №2080159, Мкл. В 01 D 53/14, В 01 D 53/86, 12.07.1993; авт. св. SU 1462550, Мкл. В 01 D 53/14, 19.11.1985).
В основном все способы сводятся к тому, что очищаемые жидкие углеводороды предварительно нагревают, затем подают в десорбер, где из них выделяют растворенные примеси в газообразном состоянии, после чего очищенные углеводороды отводят и используют по назначению, а выделенные примеси также отводят в конденсатор (реасорбер), где конденсируют в жидкую фазу, основную часть которой также используют, а часть отбирают и направляют в виде флегмы в десорбер, для поддержания стабильности процесса десорбции. Все это приводит к сложности этих способов, т.к. они имеют множество последовательных, протяженных по времени операций, требующих, кроме того, и соответствующих приспособлений для проведения каждой операции – нагреватель, десорбер, конденсатор, насос и др.
В совокупности все это приводит к неоправданной сложности, большой металлоемкости и габаритам установок, использующих эти способы, т.е. к большой стоимости этих установок. Происходит это также и в следствии того, что в этих установках используются десорберы (аппараты для выделения примесей из жидких углеводородов) вертикального (колонного) типа, которые по габаритно-массовым характеристикам, эффективности организации процесса десорбции (в различных климатических зонах) и их большой стоимости не способствуют обеспечению рентабельного решения поставленных задач.
Поэтому использование этих способов и установок на их основе более менее рентабельно только при больших объемах производства и хранения жидких углеводородов, т.е. на комплексах, имеющих большие финансовые возможности и обладающих большими площадями для их размещения.
В совокупности – практическое внедрение всех вышеприведенных способов в предлагаемых аппаратурных оформлениях крайне затруднительно, главным образом, из-за громоздкости используемого в них десорбционного оборудования вертикального типа и высокой пожаровзрывоопасности входных и (или) выходных устройств.
Наиболее близким к предлагаемым способу является способ (прототип-патент RU №2193443, Мкл. B 01 D 53/72, В 65 D 90/30, 29.10.2001 г.), включающий подачу предварительно нагретых насыщенных примесями жидких углеводородов в десорбер, с последующими десорбцией из них примесей, в виде углеводородных паров, отводом очищенных жидких углеводородов и выделенных парообразных углеводородов и направлением их потребителям, при этом выделенные парообразные углеводороды направляют потребителю либо в газообразном виде, либо предварительно конденсируют, частично отбирая и направляя обратно в десорбер в виде флегмы для стабилизации процесса десорбции.
В качестве установки наиболее близким прототипом является установка (см. патент RU №2193443, Мкл. В 01 D 53/072, В 65 D 90/30 29.10.2001 г.), содержащая десорбер, теплообменники, насос, соединительные подводящие и отводящие трубопроводы, накопительные емкости, средства автоматики, включающие клапаны, датчики, вентили, и блок автоматического управления ее работой.
Задачей, на решение которой направлено настоящее изобретение, является расширение функциональных возможностей установки очистки жидких углеводородов, а именно: создание малогабаритной, экономичной, высокорентабельной установки путем повышения экономичности способа очистки жидких углеводородов за счет совмещения до одновременности действий, производимых над объектами способа, с использованием приспособления, обеспечивающего одновременность, позволяющего производить процесс десорбции в способе оптимально как с точки зрения экономичности, так и с точки зрения организации тепломассообменных процессов в широком диапазоне сочетания режимных параметров и теплофизических свойств взаимодействующих сред – выделившихся газообразных примесей и жидкого углеводородсодержащего сырья.
Указанная задача решается за счет того, что в способе очистки жидких углеводородов насыщенные примесями жидкие углеводороды подают в десорбер, включающий кипятильник, горизонтальный дисковый тепломассообменный аппарат (ГДТА), дефлегматор и кондесатор, где проводят процесс десорбции насыщенных углеводородов, причем процесс проводят при избыточном давлении, непосредственно в горизонтальном дисковом тепломассообменном аппарате в режиме противотока насыщенных углеводородов и паровой фазы путем нагрева насыщенных углеводородов и испарения из образовавшейся на вращающихся дисках пленки легких фракций со стороны выхода жидких углеводородов из горизонтального дискового тепломассообменного аппарата, в секциях, образующих кипятильник, и одновременного охлаждения флегмы с противоположной стороны ГДТА, при этом парообразные углеводороды конденсируют на дисках (образующих последовательно дефлегматор и конденсатор), а собранные сконденсированные жидкие фракции выделенных углеводородов частично возвращают в горизонтальный дисковый тепломассообменный аппарат, используя в качестве флегмы для стабилизации процесса, частично выводят из десорбера и возвращают в магистраль (емкость), а очищенные углеводороды из десорбера (из секции, образующей кипятильник) направляют потребителю, через накопительную емкость.
В части устройства, как объекта изобретения, поставленная задача решается за счет того, что в установке очистки жидких углеводородов, содержащей десорбер, теплообменники, насос, накопительные емкости, соединительные подводящие и отводящие трубопроводы, насыщенных и очищенных жидких углеводородов, средства автоматики, включающие клапаны, вентили, датчики, соединенные с блоком автоматического управления ее работой, установка выполнена в виде отдельного блок-бокса и состоит из десорбера, выполненного в виде и на основе горизонтального дискового тепломассообменного аппарата, который устанавливается с наклоном и возможностью его регулирования от 0,5 до 10° относительно оси, в сторону выхода из него очищенного жидкого углеводорода, и соединен трубопроводами подачи насыщенного и отвода очищенного жидкого углеводорода, на которых расположены насос и теплообменники, с емкостями накопления насыщенного и очищенного жидкого углеводорода, причем десорбер установлен в верхней части блок-бокса над емкостями, из которых емкость очищенного углеводорода расположена внутри емкости насыщенного углеводорода, образуя единую емкость.
В качестве блок-бокса может быть использована пространственно-объемная конструкция в виде шкафа, выполненного из основания с закрепленными на нем вертикальными стойками, связанными горизонтальными поперечинами, снабженными закрепленными на них съемными панелями.
Десорбер, используемый в установке для очистки насыщенных примесями жидких углеводородов, выполнен в виде и на основе горизонтального дискового тепломассообменного аппарата (прототип – патент RU №2200054, Мкл. В 01 D 53/18, 47/18, 19.12.2001), в отличие от которого, с целью значительного уменьшения его габаритно-массовых характеристик, существенного снижения температуры процесса и энергозатрат на выгонку примесей из жидких углеводородов, снижения металлоемкости, стоимости изготовления и эксплуатационных затрат за счет совмещения и одновременности операций возгонки и конденсации углеводородов, а также подачи и вывода соответственно насыщенных и очищенных жидких углеводородов, в нем секции образуют три зоны, а именно: центральную зону подачи насыщенного жидкого углеводорода, состоящую из вставок и разделительных кольцевых перегородок, размещенных в цилиндрической части корпуса, в верхней и нижней частях которой установлены патрубки подвода соответственно насыщенного углеводорода и части сконденсированных выделенных углеводородов, и зон возгонки и конденсации углеводородов, которые расположены непосредственно (со стороны) около фланцев, отделены от центральной зоны разделительными кольцевыми перегородками и снабжены установленными в зоне возгонки нагревателем и патрубком отвода очищенного углеводорода, а в зоне конденсации – теплообменником-холодильником с патрубками подвода и отвода хладагента, и патрубком отвода жидких сконденсированных выделенных легких фракций углеводородов, причем в нижней погруженной в жидкость части разделительных кольцевых перегородок, расположенных в центральной зоне подачи насыщенного жидкого углеводорода, и в разделительной кольцевой перегородке, отделяющей зону подачи от зоны возгонки, выполнены отверстия, при этом в разделительной кольцевой перегородке, отделяющей зону подачи от зоны конденсации, отверстия выполнены только в верхней части перегородки.
На фиг.1 схематично представлен общий вид десорбера.
Десорбер содержит корпус, состоящий из цилиндрической части 1 и двух фланцев 2 и 3, в котором с возможностью вращения установлен горизонтальный вал 4. Внутри корпуса размещены скрепленные, например продольными шпильками 5, между собой и корпусом разделительные кольцевые перегородки 6 и цилиндрические вставки 7, образующие секции 8. В секциях 8 установлены закрепленные на вращающемся валу 4 поперечные сплошные диски 9, к которым по бокам прикреплены пакеты 10, набранные из кольцевых контактных дисков 11. Секции 8 образуют три зоны десорбера: центральную, подачи насыщенного жидкого углеводорода I, зону возгонки II и зону конденсации III. Зона подачи I (ректификации) состоит из расположенных в цилиндрической части корпуса 1 цилиндрических вставок 7, разделительных кольцевых перегородок 6, патрубков подачи насыщенного углеводорода 12 и 13 – подвода части сконденсированных выделенных углеводородов. Зона II возгонки (кипятильник) образована фланцем 2 с патрубком отвода очищенного углеводорода 14 и разделительной кольцевой перегородкой 6, имеющей в нижней погруженной в насыщенный жидкий углеводород части отверстие, отделяющей зону возгонки от зоны подачи насыщенного углеводорода, и содержит нагреватель 15, в качестве которого может использоваться, например, обычный электрический теплонагревательный элемент. Зона III конденсации (дефлегматор) образована фланцем 3 и разделительной кольцевой перегородкой 6 с отверстиями в верхней части, отделяющей ее от зоны подачи I, и содержит теплообменник-холодильник 16 с патрубками подвода 17 и отвода 18 хладагента и патрубок 19 отвода сконденсированных выделенных углеводородов. Совокупность вышеприведенных конструктивных решений и элементов и образует десорбер 20.
Процесс десорбции в десорбере 20 осуществляется следующим образом:
Насыщенный легкими фракциями углеводородов (ЛФУ) жидкий абсорбент подается в центральную зону I десорбера через патрубок 12, где с поверхности пленки абсорбента, образовавшейся на поверхности контактных дисков при их вращении, происходит существенно более интенсивный процесс испарения ЛФУ (чем при кубовой возгонке или на традиционных трубчатых теплообменниках). Далее абсорбент поступает через отверстия в разделительных кольцевых перегородках в зону возгонки II, где дополнительно нагревается нагревателем 15 до полного испарения ЛФУ из абсорбента, из которой паровая фаза ЛФУ по зигзагообразным каналам, образованным зазорами контактных дисков десорбера и разделительными кольцевыми перегородками, поступает через зону I в зону III (дефлегматор). В ходе движения паровой фазы ЛФУ по зигзагообразному, радиально-осевому, последовательно-параллельному газовому каналу ЛФУ взаимодействуют с более холодным абсорбентом (в зоне I), а затем с конденсатом ЛФУ (в зоне III), где ЛФУ охлаждаются, конденсируются в виде жидких углеводородов и по мере накопления выводятся из десорбера (дефлегматора) через патрубок 19, а часть из них в виде флегмы поступает через патрубок 13 (с регулируемым проходным каналом) обратно в зону I для стабилизации процесса ректификации. В качестве хладагента может быть использован как насыщенный жидкий абсорбент (углеводород), который поступает в теплообменник 16 перед подачей его в десорбер, так и дополнительный хладагент, например, от холодильной установки. Очищенный жидкий углеводород выводится из десорбера через патрубок 14 фланца 2.
Возгонка и конденсация ЛФУ из паровой фазы происходит одновременно при контактном взаимодействии с пленкой жидкости (насыщенного жидкого абсорбента-углеводорода или жидких, уже сконденсированных ЛФУ) на поверхности вращающихся кольцевых контактных дисков 11, при этом в зоне возгонки происходит испарение из пленки насыщенного углеводорода (ЛФУ), а в зоне конденсации (в дефлегматоре) – образование, а затем увеличение толщины пленки выделившегося углеводорода (ЛФУ) и накопление конденсата ЛФУ до уровня начала его отвода из десорбера (с возможным частичным регулируемым перетеканием его в зону I).
Кроме того, паровая фаза легких фракций углеводородов, образовавшаяся в зоне II возгонки, протекая по газовому тракту через зону I навстречу течению (подачи) абсорбента (углеводорода), насыщенного легкими фракциями углеводородов, в ходе тепломассообменных процессов осуществляет также и попутную возгонку ЛФУ из пленки насыщенного углеводорода (абсорбента), образующуюся на вращающихся кольцевых контактных дисках 11, находящихся в секциях 8 зоны I.
Использование предложенной конструкции десорбера в качестве приспособления в предложенном способе и элемента в устройстве, реализующим способ, в совокупности с местами подачи насыщенного и отвода очищенного углеводорода (абсорбента), его типом, наклоном относительно оси в сторону выхода очищенного углеводорода, регулируемым в пределах от 0,5 до 10°, минимальными габаритами обеспечивает оптимальное проведение процесса десорбции с минимальными затратами энергии при существенно меньшей стоимости аппарата, за счет совмещения и одновременности проведения операций способа, при получении требуемой чистоты очистки (разгонки по фракциям). Диапазон углов наклона десорбера в установке определен расчетно-экспериментальным путем и обусловлен необходимостью обеспечения требуемой скорости (расхода) протока углеводорода (абсорбента), эффективности его участия в тепломассообменных процессах, зависящих от вязкости углеводородов (при данной температуре процесса), параметров контактных дисков и частоты их вращения.
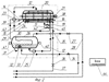
На фиг.2 представлена принципиальная технологическая схема осуществления предлагаемого способа, являющегося одновременно и принципиальной схемой установки.
В блок-боксе установки расположены десорбер 20 с приводом 21, нагревателем 15, теплообменником 16, трубопроводы подачи в десорбер насыщенного 12 и отвода из десорбера очищенного 14 жидкого углеводорода с теплообменником 23, трубопроводы 19 отвода жидких сконденсированных выделенных углеводородов (флегмы) и 13 подачи флегмы. Патрубок подачи насыщенного углеводорода 12 в десорбер 20 соединен через трубопровод 24, теплообменники 23 и 16 и насос 25 с емкостью 26 накопления насыщенного углеводорода, которая в свою очередь соединена с трубопроводом 28 подачи насыщенного углеводорода, оснащенного управляемым клапаном 27. Десорбер 20 посредством патрубка (трубопровода) 14 отвода очищенного углеводорода соединен через теплообменник 23 и трубопровод 29 с емкостью 30 накопления очищенного углеводорода, которая трубопроводом 31, с размещенным на нем теплообменником 32, размещенным внутри емкости 26 насыщенного углеводорода соединена с трубопроводом 33 отвода очищенного углеводорода, оснащенного управляемым клапаном 34. Патрубок 19 отвода жидких сконденсированных выделенных углеводородов соединен через электроклапан 35 и вентиль 36 с магистралью 37 слива конденсата ЛФУ потребителю. Размешенные на десорбере 20, емкостях 26, 30 и трубопроводах 12, 14, 19, 13 средства автоматики – датчики уровня 38, 39, 40, 41, управляемые клапаны 35, 42, датчик температуры 43 связаны с блоком управления работой установки 44, который размещается вне блоков. Расход флегмы из зоны III (из дефлегматора) в зону I (в ректификационную часть десорбера) может регулироваться и вентилем 45.
Наклон десорбера регулируется либо предварительно установкой на определенный угол в блок-боксе при изготовлении установки, либо непосредственно в процессе работы установки. В первом случае десорбер закрепляется в блок-боксе установки жестко, при этом угол наклона определяется заранее, исходя из расчетно-экспериментальных зависимостей для заданного расхода насыщенного углеводорода и состава в нем примесей.
Во втором случае десорбер устанавливается в блок-боксе установки консольно, с возможностью качания при помощи привода. При этом один, соответствующий, фланец десорбера закрепляется с возможностью поворота аппаратов относительно оси крепления в вертикальной плоскости, а другой, соответствующий, фланец аппарата, закрепляется на приводе, который перемещает этот фланец по вертикали, обеспечивая, таким образом, качание аппарата. Привод соединен с блоком управления установки, регулируя угол наклона аппарата установки – десорбера при работе установки, в зависимости от расхода подаваемого насыщенного углеводорода и состава примесей в нем.
На фиг.3 изображен блок-бокс абсорбционной установки (АСУР-ПБ-40).
Способ и работа установки осуществляются следующим образом:
Установка посредством трубопроводов 28, 33 подачи насыщенного и отвода очищенного углеводорода (абсорбента), оснащенных управляемыми клапанами 27 и 34, соединяется с потребителями. Насыщенный примесями жидкий углеводород (абсорбент) подается по трубопроводу 28 через управляемый клапан 27 в накопительную емкость 26. При достижении определенного уровня в емкости 26 срабатывает датчик уровня 40 и по команде блока управления 44 запускается насос 25, привод 21 десорбера 20 и нагреватель 15 – происходит заполнение насыщенным углеводородом десорбера 20 ( на 1/3 объема) и, при достижении определенного уровня, начинается процесс десорбции, контролируемый датчиками уровня 39 и температуры 43. По пути следования в десорбер 20 насыщенный холодный углеводород проходит по теплообменнику-холодильнику 16 зоны конденсации десорбера, являясь, таким образом, хладоагентом, далее по теплообменнику 23, предварительно нагреваясь в нем от тепла очищенного горячего углеводорода (выходящего после процесса десорбции из десорбера 20 по трубопроводу (патрубку) 14 отвода очищенного углеводорода из десорбера). В накопительной емкости 30 очищенный углеводород также отдает часть своего тепла (через промежуточную стенку единой емкости – “бак в баке”) насыщенному холодному углеводороду.
При достижении в емкости 30 определенного уровня срабатывает датчик уровня 41 и по команде блока управления 44 открывается управляемый клапан 34 и происходит отвод (и подача) очищенного жидкого углеводорода (абсорбента) потребителю. Проходя через теплообменник 32, расположенный в емкости накопления насыщенного углеводорода, очищенный углеводород предварительно охлаждается.
Образовавшиеся в процессе десорбции, в зоне конденсации десорбера жидкие легкие фракции углеводородов после накопления и срабатывания датчика уровня 38 и управляемого клапана 35 сливаются по трубопроводу отвода 37 через предварительно открытый управляемый клапан 36 в магистраль слива и также направляются потребителю. Часть их по трубопроводу 13 регулируемый (управляемый) клапан 42 подается обратно в десорбер 20.
При этом в процессе десорбции насыщенного углеводорода осуществляется одновременная возгонка нагревом насыщенного углеводорода, конденсация парообразных углеводородов, выделившихся при возгонке, подача и отвод насыщенного и очищенного углеводорода и отвод сконденсированных выделенных углеводородов. Оптимизация процесса десорбции достигается за счет регулирования наклона десорбера, частоты вращения его вала, количества подаваемого насыщенного углеводорода, его температуры, уровня заполнения десорбера, количества подаваемых обратно в десорбер сконденсированных углеводородов (флегмы) и осуществляется блоком управления, связанным с приводом 21 десорбера 20, насосом 25, нагревателем 15, датчиками уровня 38, 39,40, 41, датчиком температуры 43, управляемыми клапанами 35, 42.
Таким образом, предложенные способ очистки насыщенных примесями (ЛФУ) жидких углеводородов, установка для его осуществления и десорбер для использования в установке, объединены единой целью, а именно; максимальное расширение функциональных возможностей установки очистки жидких углеводородов за счет удовлетворения спроса различных категорий заказчиков, обладающих разными финансовыми и территориальными возможностями, путем максимального повышения экономичности способа улавливания, совмещением до одновременности операций способа при использовании десорбера на основе горизонтального дискового тепломассообменного аппарата.
По сравнению с лучшими зарубежными и отечественными установками аналогичного назначения предлагаемые способ, установка для его осуществления и десорбер для использования в установке в общей совокупности позволяют:
– уменьшить 5-8 раз габариты и массу десорбционных установок по сравнению с известными аппаратами аналогичного назначения при такой же степени очистки;
– сократить монтажные и рабочие площадки в 5-7 раз;
– обеспечить сокращение капитальных затрата 5-10 раз;
– сократить количество потребляемой электроэнергии до 0,2-0,7 кВт ч на 1 кг получаемого конденсата (практически на 40-60% по сравнению с известными аналогами).
В настоящее время ООО “ИНОТЕХ” разработаны и изготавливаются несколько типоразмеров установок улавливания и рекуперации (очистки и возврата) паров бензина для АЗС, НПЗ и др.
Формула изобретения
1. Способ очистки жидких углеводородов от примесей, включающий подачу предварительно нагретых насыщенных примесями жидких углеводородов в десорбер, десорбцию из них примесей в виде углеводородных паров, отвод очищенных жидких углеводородов и выделенных парообразных углеводородов и направление их потребителям, при этом выделенные парообразные углеводороды направляют потребителю либо в газообразном виде, либо предварительно конденсируют, частично отбирая и направляя обратно в десорбер в виде флегмы для стабилизации процесса десорбции, отличающийся тем, что насыщенные примесями жидкие углеводороды подают в десорбер, выполненный в виде горизонтального дискового тепломассообменного аппарата, имеющего секции, образующие центральную зону подачи насыщенных жидких углеводородов и зоны возгонки и конденсации углеводородов, десорбцию насыщенных углеводородов проводят при избыточном давлении в горизонтальном дисковом тепломассообменном аппарате в режиме противотока насыщенных углеводородов и паровой фазы путем нагрева насыщенных углеводородов и испарения из образовавшейся на вращающихся дисках пленки легких фракций со стороны выхода жидких углеводородов из горизонтального дискового тепломассообменного аппарата в зоне возгонки и одновременного охлаждения флегмы с противоположной стороны горизонтального дискового тепломассообменного аппарата, при этом парообразные углеводороды конденсируют на дисках, образующих последовательно дефлегматор и конденсатор в зоне конденсации, часть собранных сконденсированных жидких фракций выделенных углеводородов возвращают в горизонтальный дисковый тепломассообменный аппарат, используя в качестве флегмы для стабилизации процесса, часть выводят из десорбера и направляют потребителю, а очищенные углеводороды из зоны возгонки направляют потребителю через накопительную емкость.
2. Установка очистки жидких углеводородов от примесей, содержащая десорбер, теплообменники, насос, накопительные емкости, соединительные подводящие и отводящие трубопроводы насыщенных и очищенных жидких углеводородов, средства автоматики, включающие клапаны, вентили, датчики, соединенные с блоком автоматического управления ее работой, отличающаяся тем, что десорбер установки выполнен в виде горизонтального дискового тепломассообменного аппарата, который установлен с наклоном и возможностью его регулирования относительно оси в сторону выхода из него очищенных жидких углеводородов и соединен трубопроводами подачи насыщенных и отвода очищенных жидких углеводородов, на которых расположены насос и теплообменники, с емкостями накопления насыщенных и очищенных жидких углеводородов.
3. Установка по п.2, отличающаяся тем, что наклон десорбера регулируется в диапазоне от 0,5 до 10°.
4. Установка по п.2, отличающаяся тем, что выполнена в виде отдельного блок-бокса, который выполнен в виде пространственно-объемной конструкции в виде шкафа, состоящего из основания с закрепленными на нем вертикальными стойками, связанными горизонтальными поперечинами, снабженными закрепленными на них съемными панелями, при этом десорбер установлен в верхней части блок-бокса над емкостями, из которых емкость очищенных углеводородов расположена внутри емкости насыщенных углеводородов, образуя единую емкость.
5. Установка по любому из пп.2-4, отличающаяся тем, что десорбер установлен в блок-боксе установки консольно с возможностью качания, при этом один соответствующий фланец десорбера закрепляется с возможностью поворота относительно оси крепления, а другой фланец скреплен с приводом, который установлен в блок-боксе и соединен с блоком управления установкой, причем соединительные трубопроводы десорбера выполнены гибкими.
6. Десорбер для очистки жидких углеводородов от примесей, выполненный в виде горизонтального дискового тепломассообменного аппарата, содержащего корпус, состоящий из цилиндрической части и двух фланцев с патрубками, снабженный скрепленными между собой и корпусом разделительными кольцевыми перегородками и цилиндрическими вставками, которые образуют секции, в которых на вращающемся валу установлены поперечные сплошные диски с закрепленными по бокам пакетами кольцевых контактных дисков, установленных с зазорами относительно вставок, вала, друг друга, и разделительных кольцевых перегородок, частично погруженных в жидкость и формирующих зиггазообразное радиально-осевое последовательно-параллельное течение потока газа, отличающийся тем, что секции образуют три зоны: центральную зону подачи насыщенных жидких углеводородов, состоящую из вставок и разделительных кольцевых перегородок, размещенных в цилиндрической части корпуса, в верхней и нижней частях которой установлены патрубки подвода соответственно насыщенных углеводородов и части сконденсированных выделенных углеводородов, и зоны возгонки и конденсации углеводородов, которые расположены непосредственно со стороны фланцев, отделены от центральной зоны разделительными кольцевыми перегородками и снабжены установленными в зоне возгонки нагревателем и патрубком отвода очищенных углеводородов, а в зоне конденсации – теплообменником-холодильником с патрубками подвода и отвода хладагента и патрубком отвода жидких сконденсированных выделенных углеводородов, причем в нижней погруженной в жидкость части разделительных кольцевых перегородок, расположенных в центральной зоне подачи насыщенных жидких углеводородов, и в разделительной кольцевой перегородке, отделяющей зону подачи от зоны возгонки, выполнены отверстия, при этом в разделительной кольцевой перегородке, отделяющей зону подачи от зоны конденсации, отверстия выполнены в ее верхней части.
РИСУНКИ
|
|