|
|
(21), (22) Заявка: 2003102430/15, 17.05.2001
(24) Дата начала отсчета срока действия патента:
17.05.2001
(30) Конвенционный приоритет:
17.05.2000 (п.1) US 60/204,643 14.05.2001 (пп.2-24) US 09/855,047
(43) Дата публикации заявки: 27.05.2004
(45) Опубликовано: 20.03.2006
(56) Список документов, цитированных в отчете о поиске:
US 5334177 А, 02.08.1994. US 5624423 А, 29.04.1997. RU 2090170 C1, 20.09.1997. US 5728082 A, 17.03.1998.
(85) Дата перевода заявки PCT на национальную фазу:
21.01.2003
(86) Заявка PCT:
US 01/15925 (17.05.2001)
(87) Публикация PCT:
WO 01/87366 (22.11.2001)
Адрес для переписки:
103064, Москва, ул. Казакова,16, НИИР Канцелярия “Патентные поверенные Квашнин, Сапельников и партнеры”, Квашнину В.П.
|
(72) Автор(ы):
ВУН Пол С. (TH), ВУН Лин-Сун (TH)
(73) Патентообладатель(и):
КИМБЕРЛИ-КЛАРК ВОРЛДВАЙД, ИНК. (US)
|
(54) АБСОРБИРУЮЩИЕ ИЗДЕЛИЯ, ИМЕЮЩИЕ УЛУЧШЕННОЕ ФУНКЦИОНИРОВАНИЕ
(57) Реферат:
Настоящее изобретение относится к предметам личной гигиены. В частности, настоящее изобретение относится к предметам личной гигиены, имеющим улучшенное функционирование. Настоящее изобретение направлено на предметы личной гигиены, включающие женские прокладки, имеющие многокомпонентную абсорбирующую жидкость структуру, которая обеспечивает максимальную защиту, снижает протечку и обычно остается сухой при прикосновении, обеспечивает лучшее прилегание и, после выделения, эстетически приятный вид, поскольку она маскирует и прячет больше жидкости. Абсорбирующее изделие включает многокомпонентную абсорбирующую жидкость структуру, которая имеет первый абсорбирующий жидкость компонент, который представляет собой связанную гибкую матрицу, включающую стратифицированные слои из волокнистого материала, а также второй абсорбирующий жидкость компонент. Изделие обеспечивает максимальную защиту для носящего изделия. Изделие, в котором улучшенная абсорбирующая структура обеспечивает лучшее прилегание для пользователя изделия. 4 н. и 20 з.п. ф-лы, 9 ил., 5 табл. 
Область изобретения
Настоящее изобретение относится, преимущественно, к области абсорбирующих изделий. В частности, настоящее изобретение относится к предмету личной гигиены, имеющему улучшенное функционирование. Настоящее изобретение направлено на предметы личной гигиены, включая женские прокладки, имеющие улучшенное функционирование.
Предшествующий уровень техники
В производстве абсорбирующих изделий, таких как предметы личной гигиены, непрерывно предпринимают усилия, чтобы улучшить рабочие характеристики изделия. Хотя эти изделия обычно имеют много компонентов, на функционирование некоторых изделий можно повлиять, в первую очередь, компонентами, которые распределяют и/или абсорбируют жидкость. Соответственно, изготовители стремятся находить пути улучшения свойств работы с жидкостью материалов, используемых в этих изделиях, чтобы улучшать их функционирование.
Один способ улучшения функционирования этих типов изделий состоит в широком использовании распушенной целлюлозы и/или суперабсорбирующих материалов. Например, новые направления в коммерческом дизайне подгузников состоят в использовании большего количества суперабсорбирующих материалов и меньшего количества волокна, чтобы сделать подгузник более тонким. Однако, несмотря на увеличение общей абсорбирующей емкости за счет добавления больших количеств суперабсорбирующего материала такие подгузники часто все еще страдают от чрезмерных протечек при использовании.
Одна из причин, по которой абсорбирующие изделия с высоким содержанием суперабсорбирующих материалов все еще допускают протечки, состоит в том, что многие суперабсорбирующие материалы являются неспособными абсорбировать жидкость при той скорости, при которой жидкость поступает в абсорбирующий композит в ходе его использования.
Добавление волокнистого материала к абсорбирующему композиту улучшает устойчивость к протечке абсорбирующего композита за счет временного удерживания жидкости до тех пор, пока суперабсорбирующий материал не поглотит ее. Волокна также служат для разделения частиц суперабсорбирующего материала, уменьшая вероятность гелевой блокировки. Используемый здесь термин «гелевая блокировка» относится к ситуации, когда частицы суперабсорбирующего материала деформируются в ходе набухания и блокируют пустоты между частицами или между частицами и волокнами, таким способом препятствуя течению жидкости сквозь пустоты. Даже когда в абсорбирующий композит включают волокнистый материал, плохой выбор суперабсорбирующего материала, особенно того, которому свойственна гелевая блокировка внутри абсорбирующего композита, приводит к плохим свойствам работы с жидкостью первоначально и позднее в рабочем цикле абсорбирующего композита. Следовательно, выбор специфического суперабсорбирующего материала существенно влияет на поглотительную способность при использовании и протечку из абсорбирующего продукта.
Другая проблема с некоторыми коммерчески доступными абсорбирующими изделиями, такими как подгузники, состоит в тенденции изделий протекать после многократных выделений. Используемый здесь термин «выделения» относится к однократному введению жидкости в абсорбирующий материал. Например, в ходе использования подгузник обычно подвергается многократным выделениям в течение цикла работы подгузника. Чтобы уменьшить протечку подгузника в течение рабочего цикла подгузника, желательно поддерживать уровень впитывающих характеристик абсорбирующего композита на протяжении всего срока службы продукта.
Еще одна проблема состоит в том, что после того, как произошло выделение в изделие, носящий изделие может чувствовать влажность от жидкости, даже если жидкость была поглощена изделием. В случае крови и/или мочи эти жидкости будут раздражать кожу человека, если они остаются в контакте с кожей человека. В таком случае, если абсорбирующее изделие не способно удалить жидкость прочь от поверхности изделия, которая находится в контакте с пользователем, кожа пользователя может подвергаться раздражению, даже если изделие не протекает.
Наконец, в случае некоторых абсорбирующих изделий, таких как женские прокладки, используемые абсорбирующие материалы могут быть способны поглощать выделение жидкости без протечки, но, особенно если жидкость является менструальными выделениями, жидкость будет легко заметна на всем изделии. Это не является предпочтительным для потребителей и, как указано выше, может вызывать раздражение кожи, если жидкость остается в контакте с кожей. Однако даже если никакого раздражения не происходит, вид изделия после выделения не является эстетически приятным.
Ряд патентов США направлен на решение различных проблем, связанных с абсорбирующими композитами. Например, патент США номер 5147343, выданный Келленбергеру (Kellenberger), указывает на важность того, чтобы суперабсорбент имел высокие величины впитывающей способности под нагрузкой в абсорбирующем продукте. Патент США номер 5149335, выданный Келленбергеру и др., указывает на важность скорости впитывания суперабсорбента и его емкости в композите. Патент США номер 5415643, выданный Мелиусу (Melius) и др., указывает на важность значений впитывающей способности под нагрузкой (ВСН) при различных давлениях. Патент США номер 5599335, выданный Голдману (Goldman), подчеркивает преимущества сочетания высокой проводимости потока солевого раствора и высокой эффективности под давлением. Патент США номер 5728082, выданный Густафссону (Gustafsson) и др., описывает абсорбирующее тело, состоящее из двух слоев, содержащих суперабсорбент, где суперабсорбент в первом слое имеет высокую степень сшивки, в то время как суперабсорбент во втором слое имеет более высокую абсорбирующую емкость, чем суперабсорбент в первом слое.
Вышеупомянутые патенты раскрывают специфические суперабсорбирующие свойства, которые приводят к улучшенному функционированию композита. В общем вышеупомянутые патенты указывают, что суперабсорбирующие материалы, демонстрирующие высокую емкость под нагрузкой, приводят к улучшенным жесткости геля и режиму проницаемости для улучшенного функционирования композита. Однако вышеупомянутые патенты все еще не способны обеспечить производство абсорбирующего изделия, такого как подгузник или женская прокладка, которые обеспечивают максимальную защиту, не протекают, остаются сухими при прикосновении и, в случае женских прокладок, обеспечивают лучшее удобство для носящего.
Соответственно, существует потребность в абсорбирующем изделии, которое включает улучшенную абсорбирующую структуру, которая обеспечивает максимальную защиту для носящего изделие. Имеется также потребность в абсорбирующем изделии, которое включает улучшенную абсорбирующую структуру, которая эффективно работает с жидкостями и в то же время сохраняет относительно небольшой размер, независимо от того, включает абсорбирующая структура суперабсорбирующие материалы или нет. Существует потребность в абсорбирующем изделии, которое имеет улучшенную абсорбирующую структуру, которая остается сухой при прикосновении. Кроме того, имеется потребность в абсорбирующем изделии, которое имеет улучшенную абсорбирующую структуру, которая обеспечивает лучшее прилегание для пользователя изделия. Наконец, необходимо абсорбирующее изделие, которое является визуально более эстетически приятным даже после того, как абсорбирующее изделие подвергается воздействию выделений.
Краткое содержание изобретения
Выше определенным потребностям адресовано настоящее изобретение, которое направлено на многокомпонентную абсорбирующую жидкость структуру. Структура включает:
первый абсорбирующий жидкость компонент, который является связанной гибкой матрицей, включающей стратифицированные слои волокнистого материала, причем первый абсорбирующий жидкость компонент имеет первую главную поверхность, вторую главную поверхность, первую полную площадь и первый объем, и
второй абсорбирующий жидкость компонент, который представляет собой слой отличающегося абсорбирующего жидкость материала, примыкающего ко второй главной поверхности первого абсорбирующего жидкость компонента, причем второй абсорбирующий жидкость компонент имеет вторую полную площадь и второй объем такие, что отношение второй полной площади к первой полной площади составляет более, приблизительно, 3,5 к 1, а отношение второго объема к первому объему составляет более, приблизительно, 10 к 1, а полный объем абсорбирующей жидкость структуры составляет менее, приблизительно, 130 см3.
Например, отношение второй площади к первой площади может располагаться в интервале, составляющем от, приблизительно, 3,5 к 1 до, приблизительно, 8 к 1. Желательно, это отношение составляет, приблизительно, 4 к 1.
В качестве другого примера, отношение второго объема к первому объему может располагаться в интервале от, приблизительно, 10 к 1 до, приблизительно, 100 к 1. В вариантах осуществления изобретения, где второй абсорбирующий жидкость компонент использует относительно высокие уровни суперабсорбента и является относительно тонким, отношение второго объема к первому объему может располагаться в интервале от, приблизительно, 10 к 1 до, приблизительно, 30 к 1 и, желательно, может быть, приблизительно, 16 к 1. В вариантах осуществления изобретения, где второй абсорбирующий жидкость компонент использует относительно высокие уровни распушенной целлюлозы, отношение второго объема к первому объему может располагаться в интервале от, приблизительно, 30 к 1 до, приблизительно, 100 до 1. В качестве еще одного примера, отношение может, желательно, располагаться в интервале от, приблизительно, 50 к 1 до, приблизительно, 75 к 1. В качестве следующего примера отношение может быть, желательно, приблизительно, 75 к 1.
В одном аспекте изобретения полный объем абсорбирующей жидкость структуры составляет менее, приблизительно, 130 см3. Желательно, полный объем абсорбирующей жидкость структуры составляет менее, приблизительно, 100 см3. Более желательно, полный объем абсорбирующей жидкость структуры составляет менее, приблизительно, 50 см3. Еще более желательно, полный объем абсорбирующей жидкость структуры составляет менее, приблизительно, 30 см3. Наиболее желательно, полный объем абсорбирующей жидкость структуры составляет менее, приблизительно, 25 см3.
В соответствии с изобретением первый абсорбирующий жидкость компонент может иметь слои, состоящие из аэродинамически уложенных волокон штапельной длины, аэродинамически уложенных волокон распушенной целлюлозы, аэродинамически уложенных волокон химически модифицированной, гидрогелевых волокон и их сочетания. В аспекте этого изобретения обычно стратифицированные слои первого абсорбирующего жидкость компонента включают, по меньшей мере, два слоя волокнистой нетканой сетки. Желательно, чтобы, по меньшей мере, один из слоев волокнистого нетканого материала выбирался из нетканых материалов из кардного прочеса, материалов, сформованных аэродинамическим способом, волокнистых материалов, полученных аэродинамическим способом из расплава, материалов из нитей фильерного способа производства, гидравлически переплетенных волокнистых материалов и их сочетания.
В одном аспекте изобретения первый абсорбирующий жидкость компонент дополнительно включает частицы материала. Эти частицы материала могут быть суперабсорбирующими материалами (также упоминают в качестве таковых гидрогелевые материалы).
Чтобы первый абсорбирующий жидкость компонент был связанной матрицей волокнистого материала, он может быть связан с использованием термически связующих волокон, адгезивов, термического точечного связывания, механического переплетения, латексных эмульсий и их сочетания.
Второй абсорбирующий жидкость компонент может быть выбран из композитных структур, содержащих гидрогель, структур из распушенной целлюлозы и обычных гомогенных структур, полученных аэродинамической укладкой.
В одном из аспектов изобретения желательно, чтобы пустоты во второй главной поверхности первого абсорбирующего жидкость компонента были сконфигурированы так, чтобы переносить жидкость, в основном, вдоль первого абсорбирующего жидкость компонента в дополнение к высвобождению жидкости во второй абсорбирующий жидкость компонент.
В другом аспекте изобретения первый абсорбирующий жидкость компонент удерживает менее, приблизительно, 30% искусственной менструальной жидкости, приблизительно, 1 минуту после введения, приблизительно, 10 мл выделений в центр первой главной поверхности первого абсорбирующего жидкость компонента. Например, первый абсорбирующий жидкость компонент удерживает менее, приблизительно, 25% искусственной менструальной жидкости, приблизительно, 1 минуту после выделения, составляющего, приблизительно, 10 мл. Желательно, чтобы первый абсорбирующий жидкость компонент удерживал менее, приблизительно, 20% искусственной менструальной жидкости через, приблизительно, 1 минуту после выделения, составляющего, приблизительно, 10 мл. Еще более желательно, чтобы первый абсорбирующий жидкость компонент удерживал менее, приблизительно, 15% искусственной менструальной жидкости через, приблизительно, 1 минуту после выделения, приблизительно, 10 мл.
В другом аспекте настоящего изобретения первый абсорбирующий жидкость компонент накладывается на или покрывает, по меньшей мере, приблизительно, 50% области пятна во втором абсорбирующем жидкость компоненте, произведенного искусственной менструальной жидкостью через, приблизительно, 10 минут после того, как, приблизительно, 5 мл выделения вводили в центр первой главной поверхности первого абсорбирующего жидкость компонента. Например, первый абсорбирующий жидкость компонент накладывается на или покрывает, по меньшей мере, приблизительно, 70% области пятна во втором абсорбирующем жидкость компоненте, произведенного искусственной менструальной жидкостью через, приблизительно, 10 минут после того, как, приблизительно, 5 мл выделения вводили в центр первой главной поверхности первого абсорбирующего жидкость компонента. В качестве другого примера первый абсорбирующий жидкость компонент накладывается на или покрывает, по меньшей мере, от, приблизительно, 75% до, приблизительно, 100% области пятна во втором абсорбирующем жидкость компоненте, произведенного искусственной менструальной жидкостью через, приблизительно, 10 минут после того, как, приблизительно, 5 мл выделения вводили в центр первой главной поверхности первого абсорбирующего жидкость компонента. В качестве еще одного примера первый абсорбирующий жидкость компонент накладывается на или покрывает, по меньшей мере, от, приблизительно, 80% до, приблизительно, 100% области пятна во втором абсорбирующем жидкость компоненте, произведенного искусственной менструальной жидкостью через, приблизительно, 10 минут после того, как, приблизительно, 5 мл выделения вводили в центр первой главной поверхности первого абсорбирующего жидкость компонента.
В еще одном аспекте настоящего изобретения первый абсорбирующий жидкость компонент обеспечивает распределение пустот, которые являются более мелкими по размерам рядом со второй главной поверхностью и более крупными по размерам рядом с первой главной поверхностью. Например, пустоты рядом с первой главной поверхностью могут быть, приблизительно, в 1,25 раза больше, чем пустоты рядом со второй главной поверхностью. Эта разность по размерам может находиться в интервале от, приблизительно, 1,25 к 1 до, приблизительно, 3 к 1. Желательно, чтобы эта разность в размерах располагалась в интервале от, приблизительно, 1,5 к 1 до, приблизительно, 2,5 к 1.
В другом аспекте изобретения первый абсорбирующий жидкость компонент может обеспечивать распределение пустот, которые являются более мелкими по размерам рядом со второй главной поверхностью, чем пустоты во втором абсорбирующем жидкость компоненте, примыкающем к этой второй главной поверхности.
В еще одном аспекте изобретения первый абсорбирующий жидкость компонент обеспечивает распределение пустот, которые являются такими же по размерам или слегка более крупными по размерам рядом со второй главной поверхностью, чем пустоты во втором абсорбирующем жидкость компоненте, примыкающем к этой второй главной поверхности.
Настоящее изобретение также охватывает многокомпонентную жидкую абсорбирующую структуру, включающую:
первый абсорбирующий жидкость компонент в форме связанной гибкой матрицы, включающей стратифицированные слои волокнистого материала, причем первый абсорбирующий жидкость компонент имеет первую главную поверхность, вторую главную поверхность, первую полную площадь и первую емкость абсорбции жидкости, и
второй абсорбирующий жидкость компонент, содержащий, по меньшей мере, один слой отличающегося абсорбирующего жидкость материала, примыкающий ко второй главной поверхности первого абсорбирующего жидкость компонента, причем второй абсорбирующий жидкость компонент имеет вторую полную площадь и вторую емкость абсорбции жидкости,
такие, что отношение второй полной площади к первой полной площади составляет более, приблизительно, 3,5 к 1, отношение второй емкости абсорбции жидкости к первой емкости абсорбции жидкости составляет более, приблизительно, 10 к 1, а полная емкость абсорбции жидкости абсорбирующей жидкость структуры составляет более, приблизительно, 35 граммов.
Вообще говоря, емкость абсорбции жидкости первого абсорбирующего жидкость компонента может лежать в интервале от, приблизительно, 3 граммов до, приблизительно, 10 граммов. Емкость абсорбции жидкости для первого абсорбирующего жидкость компонента, желательно, составляет, приблизительно, 6 граммов. Емкость абсорбции жидкости второго абсорбирующего жидкость компонента может лежать в интервале от, приблизительно, 35 граммов до, приблизительно, 600 граммов. Например, емкость абсорбции жидкости второго абсорбирующего жидкость компонента может лежать в интервале от, приблизительно, 35 граммов до, приблизительно, 150 граммов. Емкость абсорбции жидкости для второго абсорбирующего жидкость компонента, желательно, составляет, приблизительно, 100 граммов.
Отношение второй емкости абсорбции жидкости к первой емкости абсорбции жидкости может располагаться в интервале от, приблизительно, 3,5 к 1 до, приблизительно, 200 к 1. Желательно, это отношение будет лежать в интервале от, приблизительно, 10 к 1 до, приблизительно, 30 к 1. Более желательно, это отношение будет составлять, приблизительно, 16 к 1.
Настоящее изобретение также охватывает абсорбирующий предмет личной гигиены, включающий вышеописанную абсорбирующую структуру. Абсорбирующий предмет личной гигиены может быть в форме гигиенической салфетки (прокладки). Например, в одном варианте осуществления, гигиеническая салфетка может иметь продольную ось и улучшенную работу с жидкостью на основе использования абсорбирующей многокомпонентной структуры, причем гигиеническая салфетка может включать:
проницаемый для жидкости обращенный к телу слой;
непроницаемый для жидкости обращенный к одежде слой; и
многокомпонентную абсорбирующую структуру между проницаемым для жидкости обращенным к телу слоем и непроницаемым для жидкости обращенным к одежде слоем, причем многокомпонентная абсорбирующая структура имеет:
первый абсорбирующий жидкость компонент, в котором, по меньшей мере, часть компонента расположена на продольной оси гигиенической салфетки, первый абсорбирующий жидкость компонент в форме связанной гибкой матрицы из волокнистых материалов, образующий обычно стратифицированные слои, причем первый абсорбирующий жидкость компонент имеет первую главную поверхность, примыкающую к проницаемому для жидкости обращенному к телу слою, вторую главную поверхность, противоположную первой главной поверхности, первую полную площадь и первую емкость по абсорбции жидкости, и
второй абсорбирующий жидкость компонент, включающий, по меньшей мере, один слой из отличающегося абсорбирующего жидкость материала, примыкающий ко второй главной поверхности первого абсорбирующего жидкость компонента, причем второй абсорбирующий жидкость компонент имеет вторую полную площадь и вторую емкость абсорбции жидкости такие, что отношение второй полной площади к первой полной площади составляет более, приблизительно, 3,5 к 1 и отношение второй емкости абсорбции жидкости к первой емкости абсорбции жидкости составляет более, приблизительно, 10 к 1, а полная емкость абсорбции жидкости многокомпонентной абсорбирующей жидкость структуры составляет более, приблизительно, 35 граммов.
Первый абсорбирующий жидкость компонент и второй абсорбирующий жидкость компонент многокомпонентной абсорбирующей жидкость структуры в гигиенической салфетке и любые связанные свойства и/или отношения могут быть в форме, которая, в общем, описана выше.
Гигиеническая салфетка может также включать канал во втором абсорбирующем жидкость компоненте, перекрывающий, по меньшей мере, часть периферии первого абсорбирующего жидкость компонента. Желательно, чтобы канал окружал всю периферию первого абсорбирующего жидкость компонента. Канал, который может быть, приблизительно, овальным или эллиптическим по форме, создает конфигурацию, где область внутри канала имеет приподнятую поверхность относительно остальной части гигиенической салфетки. Поскольку приподнятая область будет частью гигиенической салфетки, ближайшей к носящему, канал помогает обеспечивать лучшее прилегание. Кроме того, канал предотвращает протечку жидкости из гигиенической салфетки.
В еще одном варианте осуществления настоящее изобретение охватывает тонкую, эффективно абсорбирующую жидкость структуру. Эта структура включает:
первый абсорбирующий жидкость компонент, включающий связанную гибкую матрицу, включающую стратифицированные слои волокнистых материалов, причем первый абсорбирующий жидкость компонент имеет первую главную поверхность, вторую главную поверхность, первые полную площадь, толщину и объем и первую емкость абсорбции жидкости, и
второй абсорбирующий жидкость компонент, включающий слой из отличающегося абсорбирующего жидкость материала, примыкающего ко второй главной поверхности первого абсорбирующего жидкость компонента, причем второй абсорбирующий жидкость компонент имеет вторые полную площадь, толщину и объем и вторую емкость абсорбции жидкости,
такие, что толщина первого и второго абсорбирующих жидкость компонентов каждого составляет между, приблизительно, 1 мм и, приблизительно, 2 мм, отношение второй емкости абсорбции жидкости к первой емкости абсорбции жидкости составляет более, приблизительно, 10; отношение второй полной площади к первой полной площади составляет более, приблизительно, 3,5 к 1, отношение второго объема к первому объему составляет более, приблизительно, 10 к 1, а полный объем абсорбирующей жидкость структуры составляет менее, приблизительно, 30 см3, так что первый абсорбирующий жидкость компонент удерживает менее, приблизительно, 30% искусственной менструальной жидкости через, приблизительно, 1 минуту после выделения, приблизительно, 10 мл. Например, первый абсорбирующий жидкость компонент удерживает менее, приблизительно, 25% искусственной менструальной жидкости через, приблизительно, 1 минуту после выделения, приблизительно, 10 мл. Желательно, первый абсорбирующий жидкость компонент удерживает менее, приблизительно, 20% искусственной менструальной жидкости через, приблизительно, 1 минуту после выделения, приблизительно, 10 мл.
Первый абсорбирующий жидкость компонент и второй абсорбирующий жидкость компонент многокомпонентной абсорбирующей жидкость структуры из тонкой, эффективно абсорбирующей жидкость структуры и любые связанные свойства и/или отношения могут быть в той форме, которая, в общем, описана выше.
Эти и другие особенности и преимущества настоящего изобретения станут очевидными после обзора прилагаемых чертежей и детального описания изобретения.
Краткое описание чертежей
Фигуры 1а, 1б и 1в показывают вид с частичным разрезом, вид в поперечном разрезе и вид сверху, соответственно, для образца женской прокладки в соответствии с первым вариантом осуществления настоящего изобретения.
Фигуры 2а, 2б, и 2в показывают вид с частичным разрезом, вид в поперечном разрезе и вид сверху, соответственно, для образца женской прокладки в соответствии со вторым вариантом осуществления настоящего изобретения.
Фигуры 3а, 3б, и 3в показывают вид с частичным разрезом, вид в поперечном разрезе и вид сверху, соответственно, для образца женской прокладки в соответствии с третьим вариантом осуществления настоящего изобретения.
Фигуры 4а, 4б, и 4в показывают вид с частичным разрезом, вид в поперечном разрезе и вид сверху, соответственно, для образца женской прокладки в соответствии с четвертым вариантом осуществления настоящего изобретения.
Фигуры 5а, 5б, и 5в показывают вид с частичным разрезом, вид в поперечном разрезе и вид сверху, соответственно, для образца женской прокладки в соответствии с пятым вариантом осуществления настоящего изобретения.
Фигуры 6а и 6б показывают, как типичная женская прокладка в соответствии с одним из вариантов осуществления настоящего изобретения впитывает выделение внутрь изделия и прочь от поверхности изделия, ближайшей к пользователю изделие.
Фигуры 7а и 7б показывают, как типичная женская прокладка в соответствии с другим вариантом осуществления настоящего изобретения впитывает выделение внутрь изделия и прочь от поверхности изделия, ближайшей к пользователю изделия.
Фигура 8 представляет собой вид сверху испытательного устройства для измерения скорости, с которой абсорбирующая структура поглощает жидкость.
Фигура 9 представляет собой вид в разрезе испытательного устройства для измерения скорости, с которой абсорбирующая структура поглощает жидкость.
Подробное описание изобретения
Используемые здесь термины «нетканые» и «нетканый материал» означают сетку, имеющую структуру из индивидуальных волокон или нитей, которые прослоены, но не в какой-либо идентифицируемой повторяемой конфигурации. Нетканые материалы сформированы ранее различными процессами, такими как, например, процессы получения материалов аэродинамическим способом из расплава, процессы фильерного способа производства и процессы получения материала из кардного прочеса.
Используемые здесь термины «частица», «частицы» и тому подобное обычно относятся к материалам, которые находятся в форме тонко измельченных, дискретных единиц, таких как, например, гранулы, пылевидные частицы, порошки или сферы. Желательные формы частиц включают, например, кубические, стержнеобразные, многогранные, сферические или полусферические, закругленные или полузакругленные, угловые, неправильной формы и т.д. Формы, имеющие большое отношение самое большого размера к самому маленькому размеру, подобные иглам, волокнам и хлопьям, также рассматриваются для использования здесь. Частицы требуемой формы могут быть покрытыми (покрытыми гелем, покрытыми белком и тому подобным, имеющими ядро из микрочастиц, пористое твердое ядро, твердое ядро, полутвердое ядро, жидкое ядро, полужидкое ядро, газообразное ядро, полугазообразное ядро или их сочетание) или не покрытыми (пористыми твердыми, твердыми, полутвердыми и тому подобными). Необходимо отметить, что более одного вида частиц может использоваться в некоторых материалах изобретения, либо в смеси, либо в различных слоях. Использование «частиц» может также подразумевать агломераты, включающие более одной частицы или тому подобного.
Используемые здесь термины «суперабсорбент» и «гидрогель» обычно относятся к абсорбирующим материалам, способным к поглощению, по меньшей мере, приблизительно, 10 граммов водной жидкости (например, воды, солевого раствора или синтетической мочи, товар номер К-С 399105, доступный от PPG Industries) на грамм абсорбирующего материала, когда они погружены в жидкость в течение 4 часов, и удерживанию поглощенной жидкости под силой сжатия до, приблизительно, 0,0352 кг/см2 (0,5 фунта на квадратный дюйм).
Используемый здесь термин «материал фильерного способа производства» относится к материалу, который формируют экструзией расплавленного термопластичного материала в виде непрерывных нитей из множества тонких, обычно круглых капилляров с определенным диаметром экструдируемых нитей, который затем быстро уменьшают, например, вытягиванием или другими хорошо известными механизмами фильерного способа производства. Производство нетканых сеток фильерного способа производства иллюстрируется в патентах, таких как Аппель (Appel) и др., патент США номер 4340563.
Используемый здесь термин «материал, полученный аэродинамическим способом из расплава (выдуванием из расплава)» означает материал, имеющий волокна, которые формируют экструдированием расплавленного термопластичного материала сквозь множество тонких, обычно круглых капилляров фильеры в виде расплавленных волокон в высокоскоростной газовый (например, воздушный) поток, который вытягивает волокна расплавленного термопластичного материала, уменьшая их диаметр. После этого выдутые из расплава волокна переносят высокоскоростным газовым потоком и осаждают на собирающей поверхности, формируя полотно из случайно размещенных волокон. Процесс выдувания из расплава хорошо известен и описан в различных патентах и публикациях, включая отчет научно-исследовательской лаборатории ВМС США (NRL) 4364, “Manufactory of Super-Fine Organic Fiber” («Производство высококачественных органических волокон») В.А.Вендта (V.A.Wendt), Е.Л.Бунэ (E.L.Boone) и К.Д.Флухарти (C.D.Fluharty); отчет NRL 5265, “An Improved Device for the Formation of Thermoplastic Fiber” («Улучшенное устройство для формирования высококачественных термопластичных волокон») К.Д.Лоренс (K.D.Lawrence), Р.Т.Лукас (R.T. Lukas) и Дж.A.Янг (J.A.Young); и патент США номер 3849241, выданный 19 ноября 1974 Бунтину (Buntin) и др., которые включены здесь путем ссылки.
Как используется здесь, термин «волокно» относится к основной твердой форме, обычно полукристаллической, характеризующейся относительно высокой прочностью и чрезвычайно высоким отношением длины к диаметру, таким как несколько сотен к одному. Примеры натуральных волокон составляют шерсть, шелк, хлопок и конопля. Примеры искусственных волокон включают вискозу. Примеры синтетических волокон включают экструдированные через фильеру полиамиды, сложные полиэфиры, полиакрилаты и полиолефины.
Как используется здесь, термин «аэродинамическая укладка», «уложенный воздухом», «сформированный аэродинамическим способом», «аэродинамическое формование» и тому подобное относится к обычно хорошо известным процессам, которыми может быть сформирован волокнистый нетканый слой путем захвата малых волокон воздушным потоком. В типичных процессах жгуты малых волокон, имеющие обычные длины в пределах от, приблизительно, 3 до, приблизительно, 19 миллиметров (мм), отделяют и захватывают при подаче воздуха, а затем осаждают на формирующий экран, обычно с помощью вакуумной подачи. Осажденные случайным образом волокна могут быть затем склеены друг с другом с использованием, например, горячего воздуха или распыления клея. Методы аэродинамической укладки указывают, например, в патенте США 4640810 Лаурсен (Laursen) и др.
Настоящее изобретение обеспечивает многокомпонентную абсорбирующую структуру, которая включает первый абсорбирующий жидкость компонент обычно в форме связанной гибкой матрицы, включающей стратифицированные слои волокнистых материалов на или вблизи поверхности многокомпонентной структуры, которая, вероятно, подвергается выделению или выдерживанию в жидкости. Такая конструкция обеспечивает несколько преимуществ. Первый абсорбирующий жидкость компонент содействует прохождению выделения сквозь поверхность структуры так, что выделение втягивается в нижележащий абсорбирующий материал, где оно поглощается. Как таковой, первый абсорбирующий жидкость компонент способствует скорости, с которой выделение поглощается. Во-вторых, первый абсорбирующий жидкость компонент помогает предотвращать любое обратное течение выделения после того, как оно втянуто через него. Таким образом, многокомпонентные абсорбирующие жидкость структуры помогают стабилизировать жидкость в структуре и снижают вероятность протечки.
Кроме того, так как выделение не способно перемещаться обратно сквозь поверхность структуры, структура остается сухой при прикосновении, и основная часть выделения не способна мигрировать к поверхностям, которые могут быть в контакте с первым абсорбирующим жидкость компонентом. Например, абсорбирующая структура уменьшает обратное течение или повторное увлажнение верхней поверхности абсорбирующей структуры, которая может входить в контакт с кожей пользователя, таким образом предотвращая раздражение кожи носящего.
Также общая конфигурация многокомпонентной абсорбирующей структуры и относительные пропорции объема и/или площадей поверхности компонентов помогают обеспечивать лучшее функционирование и лучшее удобство изделия для пользователя. Например, было обнаружено, что отношение площади второго абсорбирующего жидкость компонента к площади первого абсорбирующего жидкость компонента, желательно, составляет более, приблизительно, 3,5 к 1 и что отношение объема второго абсорбирующего жидкость компонента к объему первого абсорбирующего жидкость компонента, желательно, составляет более, приблизительно, 10 к 1 – особенно, когда полный объем абсорбирующей жидкость структуры составляет меньше, приблизительно, 130 см3. Желательно, полный объем абсорбирующей жидкость структуры составляет меньше, приблизительно, 100 см3. Более желательно, полный объем абсорбирующей жидкость структуры составляет меньше, приблизительно, 50 см3. Еще более желательно, полный объем абсорбирующей жидкость структуры составляет меньше, приблизительно, 30 см3. Наиболее желательно, полный объем абсорбирующей жидкость структуры составляет меньше, приблизительно, 25 см3.
Наконец, так как основная часть выделения втягивается во второй абсорбирующий жидкость компонент и не остается вблизи поверхности первого абсорбирующего жидкость компонента, выделения находятся в действительно «спрятанном» от наблюдения виде за исключением малого пятна на поверхности изделия. По существу, изделие является более эстетически приятным после выделения.
Например, было обнаружено, что когда компоненты были размещены в отношениях, описанных выше, первый абсорбирующий жидкость компонент удерживает меньше, приблизительно, 30% искусственной менструальной жидкости через, приблизительно, 1 минуту после выделения, приблизительно, 10 мл. Желательно, уровень удерживания искусственной менструальной жидкости составляет меньше, приблизительно, 25%, меньше, приблизительно, 20% или даже меньше, приблизительно, 15% через, приблизительно, 1 минуту после выделения, приблизительно, 10 мл.
В отношении покрытия или маскировки пятна было обнаружено, что, когда компоненты были размещены в отношениях, описанных выше, первый абсорбирующий жидкость компонент, желательно, перекрывает или закрывает, по меньшей мере, приблизительно, 50% площади пятна во втором абсорбирующем жидкость компоненте, генерируемого искусственной менструальной жидкостью через, приблизительно, 10 минут после, приблизительно, 5 мл выделения, вводимого в центр первой главной поверхности первого абсорбирующего жидкость компонента. Процент перекрытия пятна или покрытия пятна может быть, по меньшей мере, приблизительно, 70% и может, желательно, находиться в интервале от, приблизительно, 75% до, приблизительно, 100% площади пятна во втором абсорбирующем жидкость компоненте, генерируемого искусственной менструальной жидкостью выделений через, приблизительно, 10 минут после выделения, составляющего, приблизительно, 5 мл, и вводимого в центр первой главной поверхности первого абсорбирующего жидкость компонента.
Настоящее изобретение предоставляет абсорбирующее изделие, такое как, например, гигиеническая салфетка, которое обеспечивает максимальную защиту, не протекает и остается сухим при прикосновении, обеспечивает лучшее прилегание и, после выделения, является более эстетически приятным, чем абсорбирующие изделия в соответствии с предшествующими технологиями. Абсорбирующие изделия содержат улучшенную абсорбирующую структуру, которая была разработана, чтобы достичь этих улучшений. Кроме того, настоящее изобретение включает канал, расположенный вокруг внутренней части абсорбирующего изделия. Этот канал помогает обеспечивать приподнятое в центральной части устройство, которое обеспечивает лучшее прилегание для носящих изделия.
Абсорбирующая структура настоящего изобретения включает первый абсорбирующий жидкость компонент, который является связанной гибкой матрицей, включающей стратифицированные слои волокнистого материала. Этот первый абсорбирующий жидкость компонент служит нескольким целям. Первоначально первая главная поверхность первого абсорбирующего жидкость компонента действует подобно «распределяющему» или быстро впитывающему слою, чтобы быстро абсорбировать жидкость. Затем последующие слои в первом абсорбирующем жидкость компоненте служат для просачивания или транспорта жидкости в от расположенных рядом с поверхностью слоев во внутренние и/или самые нижние слои первого абсорбирующего жидкость компонента. Во время работы жидкость переносится от первого абсорбирующего жидкость компонента во второй абсорбирующий жидкость компонент или «абсорбирующую внутреннюю часть», где ее сохраняют в ниже лежащем абсорбирующем материале. Кроме того, так как жидкость быстро втягивается во внутреннюю часть многокомпонентной абсорбирующей жидкость структуры, вид сверху изделия будет обычно показывать лишь конфигурацию пятна, которая выглядит только как очень маленькая окружность, тем самым обеспечивая пользователю ощущение, что изделие является чистым. Наконец, так как жидкость сохраняется во втором абсорбирующем жидкость компоненте внутри структуры, поверхность изделия является обычно сухой при прикосновении, и меньшее количество жидкости способно контактировать с поверхностью структуры, помогая предотвращать раздражение кожи носящего.
Многокомпонентная абсорбирующая жидкость структура, используемая в настоящем изобретении, включает первый абсорбирующий жидкость компонент, который является связанной гибкой матрицей, включающей стратифицированные слои волокнистого материала, и второй абсорбирующей жидкость компонент, который может быть более традиционным абсорбирующим материалом, таким как прослойка из распушенной целлюлозы, лист, содержащий суперабсорбирующий материал, или их сочетание.
Связанная гибкая матрица, включающая стратифицированные слои волокнистого материала, желательно, имеет относительно открытый слой в самой верхней или первой основной поверхности. Открытый слой действует как распределяющий слой. Кроме того, открытый слой в верхней части помогает предотвращать обратное течение жидкости, как только она была захвачена и поглощена структурой, тем самым обеспечивая ощущение сухости, помогая предотвращать протечку и помогая уменьшать возможность раздражения, возникающего при обратном течении жидкости и контакте с пользователем изделия.
Кроме того, связанная гибкая матрица, включающая стратифицированные слои волокнистого материала, желательно, включает впитывающий слой, чтобы помогать втягивать жидкость от открытого слоя сквозь слои и во внутреннюю часть первого абсорбирующего жидкость компонента и, в конечном счете, в абсорбирующее изделие так, чтобы основная часть жидкости стала абсорбированной и сохраняемой вторым абсорбирующим жидкость компонентом.
Хотя авторы не хотели бы придерживаться особой теории действия, полагают, что первый абсорбирующий жидкость компонент обеспечивает распределение пустот, которые являются меньшими по размерам рядом со второй главной поверхностью и большими по размерам рядом с первой главной поверхностью. Эта разница по размерам пустот, как полагают, обеспечивает ступенчатое или градиентное распределение, которое помогает перемещать жидкость от первой главной поверхности ко второй главной поверхности. В качестве примера пустоты рядом с первой главной поверхностью могут быть, приблизительно, в 1,25 раза больше чем пустоты рядом со второй главной поверхностью. Эта разница по размерам может находиться в интервале от, приблизительно, 1,25 к 1 до, приблизительно, 3 к 1.
В одном из аспектов изобретения первый абсорбирующий жидкость компонент может обеспечивать распределение пустот, которые являются меньшими по размерам рядом со второй главной поверхностью, чем пустоты во втором абсорбирующем жидкость компоненте, примыкающем к этой второй главной поверхности. Полагают, что такая конфигурация ослабляет перенос жидкости от первого абсорбирующего жидкость компонента ко второму абсорбирующему жидкость компоненту. Хотя изобретатели не хотели бы придерживаться особой теории действия, полагают, что разница по размерам пустот между этими двумя компонентами вызывает большее распространение жидкости по всей второй главной поверхности первого абсорбирующего жидкость компонента перед переносом ее во второй абсорбирующий жидкость компонент. Полагают, что такое функционирование является предпочтительным, когда второй абсорбирующий жидкость компонент включает суперабсорбирующий материал, который имеет относительно низкую скорость впитывания.
В ином случае первый абсорбирующий жидкость компонент может быть сконфигурирован так, чтобы обеспечивать распределение пустот, которые являются такими же по размерам или слегка большими по размерам рядом со второй главной поверхностью, чем пустоты во втором абсорбирующем жидкость компоненте, примыкающем к этой второй главной поверхности. Хотя изобретатели не хотели бы придерживаться особой теории действия, полагают, что разница по размерам пустот между этими двумя компонентами вызывает перемещение жидкости непосредственно и быстро во второй абсорбирующий жидкость компонент. Полагают, что такое действие является предпочтительным, когда второй абсорбирующий жидкость компонент включает материал, который имеет относительно высокую скорость впитывания.
Когда абсорбирующая жидкость структура включена в абсорбирующее изделие, такое как, например, гигиеническая салфетка, по меньшей мере, часть первого абсорбирующего жидкость компонента, желательно, расположена в центральной области (например, вдоль продольной оси) изделия, наиболее близкой к пользователю. В этом положении первый абсорбирующий жидкость компонент действует так, что создает приподнятый центр изделия, обеспечивая поэтому улучшенное прилегание изделия к пользователю. Это улучшенное прилегание может быть усилено путем использования канала, расположенного вокруг внутренней части изделия (внутренняя часть, включающая первый абсорбирующий жидкость компонент). Этот канал уменьшает объемность изделия в областях, где изделие, преимущественно, не используется, еще более увеличивая приподнятый центр изделия и, следовательно, обеспечивая дополнительно лучшее прилегание изделия к пользователю. Канал также помогает предотвращать протечку любой жидкости, поглощенной в абсорбирующем изделии.
Теперь делается ссылка на чертежи, которые иллюстрируют несколько различных вариантов осуществления изобретения для типичных абсорбирующих изделий настоящего изобретения. Эти специфические типичные варианты осуществления изобретения представляют собой гигиенические салфетки или женские прокладки, которые включают вышеописанную абсорбирующую жидкость структуру. Конечно, следует понимать, что множество абсорбирующих изделий может успешно использовать эту абсорбирующую жидкость структуру,
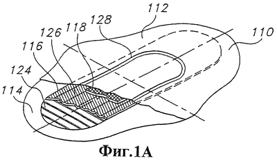
На Фигурах 1а-в показана типичная женская прокладка или гигиеническая салфетка 110, которая является прокладкой типа макси большой емкости, которая включает крылышки. Как показано на Фигурах 1а и 1б, женская прокладка 110 включает покровный или верхний слой 112, который может быть пленкой, нетканым материалом или их сочетанием. Прокладка также включает разделительный или изнаночный слой 114 из воздухопроницаемого полимера или пластиковой пленки, который может быть сконфигурирован так, чтобы иметь отвороты или крылышки, расширяющиеся в направлении наружу от центральной части прокладки. Прокладка также включает абсорбирующую жидкость структуру 115, которая включает второй абсорбирующий жидкость компонент 116 и первый абсорбирующий жидкость компонент 118, который является связанной гибкой матрицей, включающей стратифицированные слои волокнистого материала. Этот первый абсорбирующий жидкость компонент 118 расположен под пленочным покровным слоем 112 и над вторым абсорбирующим жидкость компонентом 116. Как обсуждалось ранее, первый абсорбирующий жидкость компонент 118 действует так, чтобы втягивать жидкость сквозь покровный материал 112 за первый абсорбирующий жидкость компонент 118 и во второй абсорбирующий жидкость компонент 116, где она поглощается и остается.
Женская прокладка 110 может также включать другие детали, такие как адгезивный материал для одежды 120, чтобы удерживать прокладку на месте, отделяемая полоска 122, закрывающая адгезив 120, слой ткани 124 ниже абсорбирующей жидкость структуры 115, чтобы содействовать впитывающей способности, а также тисненые участки 126 во втором абсорбирующем жидкость компоненте 116, чтобы селективно втягивать и сохранять жидкость в желательном месте. В некоторых вариантах осуществления изобретения предполагают, что слой ткани 124 может быть расположен между первым абсорбирующим жидкость компонентом 118 и вторым абсорбирующим жидкость компонентом 116.
Женская прокладка 110 может также включать канал 128, который расположен во внутренней части женской прокладки 110 и еще окружает первый абсорбирующий жидкость компонент 118. Как обсуждалось ранее, канал 128 способствует созданию женской прокладки 110, которая прилегает лучше, чем обычные женские прокладки. Канал может находиться во втором абсорбирующем жидкость компоненте и может перекрывать, по меньшей мере, часть периферии первого абсорбирующего жидкость компонента.
Фигуры 2а-в демонстрируют стандартную женскую прокладку или гигиеническую салфетку 210, которая иллюстрирует конструкцию «тонкого» типа и также включает крылышки. Женская прокладка 210 включает покровный слой 212, который может представлять собой пленку, нетканый материал или их сочетание. Прокладка также включает разделительный или изнаночный слой 214 из воздухопроницаемого полимера или пластичной пленки, который может быть сконфигурирована так, чтобы иметь отвороты или крылышки, расширяющиеся в направлении наружу от центральной части прокладки.
Прокладка также включает абсорбирующую жидкость структуру 215, которая включает второй абсорбирующий жидкость компонент 216 и первый абсорбирующий жидкость компонент 218, который является связанной гибкой матрицей, включающей стратифицированные слои волокнистого материала. Этот первый абсорбирующий жидкость компонент 218 расположен под пленочным покровным слоем 212 и над вторым абсорбирующим жидкость компонентом 216. Как обсуждалось ранее, первый абсорбирующий жидкость компонент 218 действует таким образом, чтобы втягивать жидкость через покрытие 212 за первый абсорбирующий жидкость компонент 218 и во второй абсорбирующий жидкость компонент 216, где она поглощается и остается.
Женская прокладка 210 может также включать другие детали, такие как адгезивный материал для одежды 220, чтобы удерживать прокладку на месте, отделяемая полоска 222, закрывающая адгезив 220, слой ткани 224 ниже абсорбирующей жидкость структуры 215, чтобы содействовать впитывающей способности, а также тисненые участки 226 во втором абсорбирующем жидкость компоненте 216, чтобы селективно втягивать и сохранять жидкость в желательном месте. В некоторых вариантах осуществления изобретения предполагают, что слой ткани 224 может быть расположен между первым абсорбирующим жидкость компонентом 218 и вторым абсорбирующим жидкость компонентом 216.
Женская прокладка 210 может также включать канал 228, который расположен во внутренней части женской прокладки 210 и еще окружает первый абсорбирующий жидкость компонент 218. Как обсуждалось ранее, канал 228 способствует созданию женской прокладки 210, которая прилегает лучше, чем обычные женские прокладки. Канал может находиться во втором абсорбирующем жидкость компоненте и может перекрывать, по меньшей мере, часть периферии первого абсорбирующего жидкость компонента.
Фигуры 3а-в демонстрируют типичную женскую прокладку или гигиеническую салфетку 310, которая иллюстрирует конструкцию «ультратонкого» стиля и также включает крылышки. Женская прокладка 310 включает покровный слой 312, который может представлять собой пленку, нетканый материал или их сочетание. Прокладка также включает разделительный или изнаночный слой 314 из воздухопроницаемого полимера или пластиковой пленки, которая может быть сконфигурирована так, чтобы иметь отвороты или крылышки, расширяющиеся в направлении наружу от центральной части прокладки.
Прокладка также включает абсорбирующую жидкость структуру 315, которая включает второй абсорбирующий жидкость компонент 330 и первый абсорбирующий жидкость компонент 318, который является связанной гибкой матрицей, включающей стратифицированные слои волокнистого материала. Этот первый абсорбирующий жидкость компонент 318 расположен под пленочным покрытием 312 и над вторым абсорбирующим жидкость компонентом 330.
В этом варианте осуществления изобретения второй абсорбирующий жидкость компонент 330 может быть тонким листом материала, содержащего суперабсорбент. Второй абсорбирующий жидкость компонент 330 может быть завернут или окружен слоем ткани или вставлен между слоями тонкой ткани. Предполагают, что второй абсорбирующий жидкость компонент 330 в этой «ультратонкой» конструкции может быть заменен большим куском материала, используемого в качестве первого абсорбирующего жидкость компонента 318.
Женская прокладка 310, приведенная на Фигурах 3а-в, может также включать адгезивный материал 320 и отделяемую полоску 322. Наконец, женская прокладка 310 может также включать канал 328, расположенный во внутренней части женской прокладки 310. Канал может находиться во втором абсорбирующем жидкость компоненте и может перекрывать, по меньшей мере, часть периферии первого абсорбирующего жидкость компонента.
Фигуры 4а-в демонстрируют типичную женскую прокладку или гигиеническую салфетку 410, которая иллюстрирует конструкцию типа «макси» без крылышек. Женская прокладка 410 включает покровный или верхний слой 412, который может представлять собой пленку, нетканый материал или их сочетание. Прокладка также включает разделительный или изнаночный слой 414 из воздухопроницаемого полимера или пластичной пленки. Прокладка также включает абсорбирующую жидкость структуру 415, которая включает второй абсорбирующий жидкость компонент 416 и первый абсорбирующий жидкость компонент 418, который является связанной гибкой матрицей, включающей стратифицированные слои волокнистого материала. Этот первый абсорбирующий жидкость компонент 418 расположен под пленочным покровным слоем 412 и над вторым абсорбирующим жидкость компонентом 416.
Женская прокладка 410 также включает адгезивный материал 420, отделяемую полоску 422, защищающую адгезив 420, ткань 424, тисненый участок 426 и изолирующий слой 432 вокруг внешней части прокладки 410. Наконец, женская прокладка 410 также включает канал 428, расположенный во внутренней части женской прокладки 410. Как можно видеть на Фигуре 4б, канал 428, однако, не полностью заключен в область прокладки 410, содержащей первый абсорбирующий жидкость компонент 418. Канал может находиться во втором абсорбирующем жидкость компоненте и может перекрывать, по меньшей мере, часть периферии первого абсорбирующего жидкость компонента.
Фигуры 5а-в показывают типичную женскую прокладку или гигиеническую салфетку 510, которая иллюстрирует конструкцию «тонкого» типа без крылышек. Женская прокладка 510 включает покровный или верхний слой 512, который может представлять собой пленку, нетканый материал или их сочетание. Прокладка также включает разделительный или изнаночный слой 514 из воздухопроницаемого полимера или пластичной пленки. Прокладка также включает абсорбирующую жидкость структуру 515, которая включает второй абсорбирующий жидкость компонент 516 и первый абсорбирующий жидкость компонент 518, который является связанной гибкой матрицей, включающей стратифицированные слои волокнистого материала. Этот первый абсорбирующий жидкость компонент 518 расположен под пленочным покрытием 512 и над вторым абсорбирующим жидкость компонентом 516.
Женская прокладка 510 также включает адгезивный материала 520, отделяемую полоску 522, закрывающую адгезив 520 ткань 524, тисненый участок 526 и изолирующий 532 вокруг внешней части прокладки 510. Наконец, женская прокладка 510 также включает канал 528, расположенный во внутренней части женской прокладки 510. Как можно видеть на Фигуре 5б канал 528, однако, не полностью заключен в область прокладки 510, содержащей первый абсорбирующий жидкость компонент 518. Канал может находиться во втором абсорбирующем жидкость компоненте и может перекрывать, по меньшей мере, часть периферии первого абсорбирующего жидкость компонента.
Обращаясь теперь к Фигурам 6а-б и 7а-б, преимущества наличия первого абсорбирующего жидкость компонента, который является связанной гибкой матрицей, включающей стратифицированные слои волокнистого материала, и второго абсорбирующего жидкость компонента в абсорбирующем изделии будут показаны в связи с двумя различными типами женской прокладки.
Фигура 6а показывает женскую прокладку или гигиеническую салфетку 610, имеющую нетканый покровный слой 612 и разделительный слой из термопластической пленки 614. Прокладка имеет абсорбирующую жидкость структуру 615, которая включает второй абсорбирующий жидкость компонент 616, первый абсорбирующий жидкость компонент 618 и, возможно, нижележащий слой из абсорбирующего материала, такой как, например, лист ткани 617. Первый абсорбирующий жидкость компонент 618 представляет собой связанную гибкую матрицу, включающую стратифицированные слои волокнистого материала, имеющую первую главную поверхность 618а и вторую главную поверхность 618b. Прокладка 610 также включает адгезив 620, отделяемую полоску 622, канал 628 и изолирующий слой 632.
Как показано стрелкой, жидкие выделения 634, в данном случае менструальные выделения, доставляются к прокладке 610. Менструальные выделения 634 проходят сквозь покрытие 612 и входят в контакт с первой главной поверхностью 618а первого абсорбирующего жидкость компонента 618. Относительно открытые или промежуточные слои примыкающей первой главной поверхности 618а первого абсорбирующего жидкость компонента 618 действуют в качестве распределяющего слоя, позволяя быстрое впитывание жидкости. Внутренние слои первого абсорбирующего жидкость компонента 618 действуют так, чтобы втягивать менструальные выделения 634 сквозь первый абсорбирующий жидкость компонент 618 и внутрь второго абсорбирующего жидкость компонента 616 и, возможно, нижележащего слоя 617.
Как показано на Фигуре 6б, менструальные выделения 634 поглощаются во второй абсорбирующий жидкость компонент 616 и, возможно, в нижележащий слой 617, но обычно не происходит обратного течения через первый абсорбирующий жидкость компонент 618. Если на прокладку посмотреть сверху, будет казаться, что только малая часть 612а прокладки 610 была подвергнута воздействию менструальных выделений 634, что делает прокладку 610 более эстетически приятной. Кроме того, так как менструальные выделения 634 не текут обратно сквозь первый абсорбирующий жидкость компонент 618, покрытие 612 ощущается сухим при прикосновении и достигается минимальный контакт менструальных выделений 634 с кожей пользователя, таким образом понижается возможность раздражения кожи.
Фигуры 7а-б аналогичны фигурам 6а-б, за исключением того, что пленочное покрытие 712 используют вместо нетканого покрытия. Женская прокладка или гигиеническая салфетка 710 включает разделительный слой из пластичной пленки 714. Прокладка имеет абсорбирующую жидкость структуру 715, которая включает второй абсорбирующий жидкость компонент 716, первый абсорбирующий жидкость компонент 718 и, возможно, нижележащий слой абсорбирующего материала, такой как, например, лист ткани 717. Первый абсорбирующий жидкость компонент 718 представляет собой связанную гибкую матрицу, включающую стратифицированные слои волокнистого материала, имеющую первую главную поверхность 718а и вторую главную поверхность 718b. Прокладка 710 также включает адгезив 720, отделяемую полоску 722, канал 728 и изолирующий слой 732.
Кроме того, когда менструальные выделения 734 поступают к прокладке 710, менструальные выделения 734 проходят сквозь покрытие 712 и входят в контакт с первым абсорбирующим жидкость компонентом 718, который затем втягивает менструальные выделения 734 через первый абсорбирующий жидкость компонент 718 и во второй абсорбирующий жидкость компонент 716 и, возможно, в нижележащий слой 717.
Первый абсорбирующий жидкость компонент может иметь различные слои, выбранные на основе желательных характеристик абсорбирующего изделия. Как обсуждалось ранее, первый абсорбирующий жидкость компонент, желательно, имеет открытые верхние слои или слой, который действует в качестве распределяющего слоя и помогает предотвращать обратное течение жидкости как только она была захвачена и поглощена изделием. Кроме того, первый абсорбирующий жидкость компонент, желательно, включает переносящий или впитывающий слой.
Многие различные типы связанных гибких матриц, включающих стратифицированные слои волокнистого материала, могут быть использованы в качестве первого абсорбирующего жидкость компонента. Примеры подходящих материалов, которые являются полезными в настоящем изобретении, включают несколько многофункциональных аэродинамически уложенных материалов, доступных от Buckeye Technologies, Inc. (Мемфис, Теннесси). Один такой материал включает аэродинамически сформированный многослойный материал, состоящий из сложных полиэфирных (ПЭТФ) волокон, волокон распушенной целлюлозы и волокон химически модифицированной целлюлозы, которые формируют на носителе из листа ткани, который затем связывают сочетанием бикомпонентного связующего волокна из ПЭТФ и полиэтилена и эмульсии латекса на основе сополимера этилена и винилового спирта. Чтобы помочь обеспечить механическую целостность и стабилизацию, могут быть использованы связующие. Связующие включают волокно, жидкость или другие связующие средства, которые могут быть термически активированы. Желательные связующие волокна включают те, что имеют относительно низкую точку плавления, такие как волокна из полиолефинов. Желательными являются волокна имеющих более низкие температуры плавления полимеров, подобные сопряженным и двухсоставным волокнам. Волокна имеющих более низкие температуры плавления полимеров обычно обозначают как «плавкие волокна». Под «полимерами, имеющими более низкие температуры плавления» понимают те, что имеют температуру стеклования менее, приблизительно, 175°С. Необходимо отметить, что текстура абсорбирующего полотна может быть модифицирована от мягкой до жесткой путем выбора температуры стеклования полимера. Типичные связующие волокна включают сопряженные волокна из полиолефинов, полиамидов и сложных полиэфиров. Типичные связующие волокна включают сопряженные волокна из покрытого оболочкой ядра, доступные от KoSa Inc. (Шарлотт, Северная Каролина) под обозначением Т-255 (включая 34821А) и обозначением Т-256 или Copolyester (сложный сополиэфир), хотя много подходящих связующих волокон известно специалистам, и они доступны от многих изготовителей, таких как Chisso and Fibervisions LLC из Вилмингтона, Делавер. KoSa разработала подходящие связующие волокна из сложного сополиэфира с применением структуры ядро-оболочка и известные под обозначением Т254 (низкоплавкий сополимер ПЭТФ). Подходящим жидким связующим является KYMENE® 557LX, доступный от Hercules Co. из Вилмингтона, Делавер. Другие подходящие жидкие связующие включают полимерные эмульсии из сополимера этилена и винилацетата, продаваемые National Starch and Chemical Company (Бриджуотер, Нью-Джерси) под торговой маркой серии DUR-О-SET® ELITE® (включая ELITE® 33 и ELITE® 22). Air Products Polymer and Chemicals продает другие подходящие связующие волокна под названием AIRFLEX®.
Синтетические волокна включают таковые, изготовленные из полиамидов, сложных полиэфиров, вискозы, полиакрилатов, суперабсорбентов, регенерированной целлюлозы TENCEL® и любые другие подходящие искусственные волокна, известные специалистам. Синтетические волокна могут также включать космотропы для деструкции продукта.
Многие полиолефины доступны для производства волокна, например полиэтилены, такие как ASPUN® 6811А от Dow Chemical, линейный полиэтилен низкой плотности, линейные полиэтилены низкой плотности 2553 и 25355 и полиэтилен высокой плотности 12350 являются такими подходящими полимерами. Эти полиэтилены имеют скорости течения расплава, соответственно, приблизительно, 26, 40, 25 и 12. Образующие волокна полипропилены включают полипропилен ESCORENE® PD 3445 Exxon Chemical Company и PF304 Montell Chemical Co. Многие другие полиолефины также являются доступными. Особенно предпочтительные материалы для этого применения включают сложные полиэфиры, которые могут лежать в интервале по размерам или денье от 3 до 25 денье и иметь различные виды поперечных сечений, включая окружность, многоугольник, быть спирально извитыми и т.д. Такие волокна разработаны KoSa, Inc. с долговременным смачиваемым покрытием и известны под обозначением денье волокна с последующим типом полимера и поперечным сечением. Примеры включают 8 dpf (денье на волокно), Т-224 (высокополые); 8 dpf, Т-224 (треугольные); 15 dpf Т-224 (круглые); 10 dpf Т-224 (круглые); 6 dpf T-224 (круглые) и 3 dpf Т-224 (круглые).
Натуральные волокна включают шерсть, хлопок, лен, коноплю и древесную целлюлозу. Виды древесной целлюлозы включают стандартную мягкую древесину распушающейся марки, такую как CR-1654 (US Alliance Pulp Mills, Куза, Алабама). Целлюлоза может быть модифицирована, чтобы усилить внутренние характеристики волокон и их обрабатываемость. Извитость может быть придана волокнам методами, включающими химическую обработку или механическое кручение. Извитость обычно придают перед сшиванием или приданием жесткости. Целлюлозе может быть придана жесткость при помощи сшивающих агентов, таких как формальдегид или его производные, глутаровый альдегид, эпихлоргидрин, метилолированные соединения, такие как мочевина или производные мочевины, диальдегиды, малеиновый ангидрид, не метилолированные производные мочевины, лимонная кислота или другие многоосновные карбоновые кислоты. Некоторые из этих агентов являются менее предпочтительными, чем другие, вследствие того, что влияют на окружающую среду и здоровье. Целлюлоза также может быть сделана более жесткой с использованием нагревания или обработки щелочами, такой как мерсеризация. Примеры этих типов волокон включают NHB416, которое является химически сшитыми целлюлозными волокнами из южной мягкой древесины, которое имеет увеличенный показатель степени влажности, доступное от Weyerhaeuser Corporation из Такомы, Вашингон. Другие используемые целлюлозы представляют собой разрыхленную целлюлозу (NF405) и неразрыхленную целлюлозу (NB416) также от Weyerhaeuser. HPZ3 от Buckeye Technologies, Inc. из Мемфиса, Теннесси имеет химическую обработку, которая создает извитость и скрутку в дополнение к приданию дополнительной жесткости в сухом и влажном состоянии и упругости для волокна. Другая подходящая целлюлоза представляет собой целлюлозу от Buckeye HPF2, а еще одна является IP SUPERSOFT® от International Paper Corporation. Подходящие вискозные волокна представляют собой волокна 1,5 денье Merge 18453 от Tencel Incorporated из Аксиз, Алабама.
В качестве более подробного примера типичный материал, пригодный для первого абсорбирующего жидкость компонента, доступен от Buckeye Technologies, Inc. под торговым обозначением Buckeye Unicore 8001. Этот аэродинамически сформированный или аэродинамически уложенный многослойный материал может иметь общую массу единицы площади в интервале от, приблизительно, 120 до, приблизительно, 300 (желательно, между, приблизительно, 210 и 240) граммами на квадратный метр (г/м2) и общую плотность в интервале от, приблизительно, 0,06 до, приблизительно, 0,10 граммов на кубический сантиметр (г/см3). Примеры многослойных материалов могут иметь верхний или высший слой от, приблизительно, 25 до, приблизительно, 45 г/м2, который содержит волокна из сложных полиэфиров, связанные латексом, в интервале от, приблизительно, 6 до, приблизительно, 15 денье на волокно (dpf) и который, желательно, составляет, приблизительно, 20% общей массы единицы площади слоев в первом абсорбирующем жидкость компоненте. Непосредственно примыкающий слой может иметь от, приблизительно, 35 до, приблизительно, 70 г/м2 и может содержать целлюлозное волокно, соединенное со связующим волокном. Целлюлоза может быть мерсеризованной целлюлозой, которая является термически склеенной с использованием двухкомпонентного связующего волокна из сложного полиэфира и полиэтилена. Этот слой может, желательно, составлять, приблизительно 30% от общей массы единицы площади слоев. Многослойный материал может также включать слой, который имеет от, приблизительно, 35 до, приблизительно, 100 г/м2, и может включать сжимаемую целлюлозу и связующее волокно того же самого или аналогичного типа, как и в примыкающем слое. Этот другой слой может составлять, приблизительно, 40% от общей массы единицы площади слоев. Эти слои могут быть сформированы на несущей ткани или окружены этой тканью, которая может иметь от, приблизительно, 10 до, приблизительно, 20 г/м2, и может, желательно, составлять, приблизительно, 5% от общей массы единицы площади слоев.
Другие примеры подходящих связанных гибких матриц, включающих стратифицированные слои волокнистого материала, которые могут быть использованы в качестве первого абсорбирующего жидкость компонента, могут быть найдены в международной заявке номер WO 00/74620. В соответствии с этой публикацией термины «слои» и «слой» относятся к слоистым областям, которые составляют единую структуру. Слои этой единой структуры не являются агрегатом или ламинатом предварительно сформированных слоев, образующим многослойную структуру. Вместо этого единая структура конструируется объединением слоев непрерывным способом. Аэродинамическая технология описана в качестве метода для объединения слоев единой структуры.
Другой пример подходящей связанной гибкой матрицы, включающей стратифицированные слои волокнистого материала, который может быть использован в качестве первого абсорбирующего жидкость компонента, имеет два слоя или пласта. Первый слой является аэродинамически уложенной структурой, имеющей массу единицы площади, приблизительно, 50 г/м2 и содержащий 85 масс.% полиэфирных волокон – 15 денье на нить, которая является связанной вместе с, приблизительно, 15 масс.% обычного латексного связующего, пригодного для предметов личной гигиены. Второй слой представляет собой аэродинамически уложенную структуру, имеющую массу единицы площади, приблизительно, 150 г/м2 и содержащую, приблизительно, 90 масс.% распушенной целлюлозы и, приблизительно, 10 масс.% бикомпонентного связующего волокна, состоящего из ядра из сложного полиэфира и оболочки из полиэтилена или подобного ему полимера, который размягчается или плавится, когда нагревают, чтобы высушить латексное связующее и термически активировать связующие волокна. Эти специфически скомбинированные слои имели общую толщину, приблизительно, 1,6 миллиметров.
Настоящее изобретение далее иллюстрируется следующими примерами, которые никаким образом не должны рассматриваться как накладывающие ограничения на их область. Напротив, должно быть совершенно понятно, что можно обратиться к различным другим вариантам осуществления изобретения, модификациям и его эквивалентам, которые после описания здесь могут быть предложены самими специалистами без отклонения от сущности настоящего изобретения и/или области приложенных пунктов формулы изобретения.
Примеры
Пример 1
В примере 1 женские прокладки испытывали, чтобы определить эффективность гигиенических салфеток, использующих многокомпонентную абсорбирующую жидкость структуру по сравнению с обычной торговой женской прокладкой. В этом примере гигиенические салфетки, включающие многокомпонентную абсорбирующую жидкость структуру, обозначали как GEM II. Те же самые многокомпонентные абсорбирующие жидкость структуры были использованы как в прокладке типа макси, так и в прокладке тонкого типа.
Прокладки как «макси», так и «тонкие» имели многокомпонентную абсорбирующую жидкость структуру, в которой первый абсорбирующий жидкость компонент имел площадь, приблизительно, 38 квадратных сантиметров, а второй абсорбирующий жидкость компонент имел площадь 131 квадратный сантиметр.
Первый абсорбирующий жидкость компонент имел толщину, приблизительно, 1,5 миллиметров (0,15 см), давая расчетный объем, приблизительно, 6 см3. Прокладки GEM II «макси» использовали второй абсорбирующий жидкость компонент, сформированный из распушенной целлюлозы. Этот компонент имел толщину, приблизительно, 8 миллиметров (0,8 см), давая расчетный объем, приблизительно, 105 см3. Прокладки GEM II «тонкие» использовали второй абсорбирующий жидкость компонент, сформированный из распушенной целлюлозы. Этот компонент имел толщину, приблизительно, 6 миллиметров (0,6 см), давая расчетный объем, приблизительно, 79 см3.
Первый абсорбирующий жидкость компонент представлял собой материал, доступный от Buckeye Technologies под торговым обозначением Unicore 8001. Этот материал имеет массу единицы площади, приблизительно, 230 г/м2, обладая емкостью абсорбции жидкости, приблизительно, 6 граммов жидкости на грамм материала. Для прокладок типа «макси» второй абсорбирующий жидкость компонент представлял собой прослойку из распушенной целлюлозы, имеющей массу единицы площади, приблизительно, 662 г/м2 и емкость абсорбции жидкости, приблизительно, 10 граммов жидкости на грамм материала. Для прокладок «тонкого» типа второй абсорбирующий жидкость компонент был прослойкой из распушенной целлюлозы, имеющей массу единицы площади, приблизительно, 397 г/м2 и емкость абсорбции жидкости, приблизительно, 10 граммов жидкости на грамм материала.
Контрольные коммерческие женские прокладки были прокладками Laurier brand Soft Care как типа макси, так и тонкого типа. Эти прокладки доступны в Малайзии от Као Corporation. Вообще говоря, эти прокладки имеют единственный абсорбирующий жидкость компонент, который может быть описан как ткань, обернутая вокруг внутренней части из распушенной целлюлозы. Абсорбирующий жидкость компонент имеет массу единицы площади, приблизительно, 519 г/м2 для изделия «макси» и, приблизительно, 323 г/м2 для «тонкого» изделия. Этот абсорбирующий жидкость компонент расположен между апертурированным пленочным покровным слоем и непроницаемой для жидкости задней изолирующей прокладкой.
Таблица 1 указывает данные физических измерений, а также результаты испытаний для каждой из этих шести прокладок. Каждая из этих шести прокладок была испытана на ее поглотительную способность с использованием следующей испытательной процедуры с 10 см3 (10 мл) жидкости, добавляемой к каждой прокладке макси, и 6 см3 (6 мл) жидкости, добавляемой к каждой тонкой прокладке. Испытания проводили с использованием искусственной менструальной жидкости, описанной в патенте США номер 5833231, содержание которого включено здесь путем ссылки. Более детальное описание искусственных менструальных выделений приведено далее.
При испытаниях использовали испытательное устройство, которое состояло из: 1) блока Lucite® и 2) плоской горизонтальной испытательной поверхности. Фигура 8 представляет вид сверху блока Lucite®. Фигура 9 представляет вид в разрезе блока Lucite®. Блок 1200 имеет основу 1202, который выступает из нижней части блока. Основа 1202 имеет плоскую поверхность 1204, которая имеет, приблизительно, длину 7,3025 см (2,875 дюйма) и ширину 3,81 см (1,5 дюйма), которая формирует нижнюю часть блока 1200. Продолговатое отверстие 1206 (приблизительно, длиной 3,81 см (1,5 дюйм) при ширине 0,635 см (0,25 дюйма)) расположено в центре блока и расширяется от вершины блока к основе 1202 блока. Когда нижняя часть отверстия 1206 закрыта, отверстие 1206 может содержать более, приблизительно, 10 см3 жидкости. Отметка на проходе 1210 указывает объем жидкости, приблизительно, 2 см3. Через воронку 1208 на вершине блока загружают в проход 1210, который соединен с продолговатым отверстием 1206. Жидкость, выливаемая в воронку 1208, проходит сквозь проход 1210 в продолговатое отверстие 1206 и на образец для испытаний ниже блока.
Каждый образец испытывали, помещая его на плоской горизонтальной поверхности для испытания и затем кладя плоскую выступающую основу блока на вершину образца так, чтобы длинный размер продолговатого отверстия был параллелен длинному размеру образца и был отцентрован относительно концов и сторон образца. Массу блока устанавливали, приблизительно, 162 грамма так, чтобы блок опирался на структуру с давлением, приблизительно, 7 граммов/см2 (приблизительно, 1 фунт на квадратный дюйм). Запускали секундомер, когда, приблизительно, десять (10) см3 для прокладок макси (или 6 см3 для тонких и ультратонких прокладок) жидкости было распределено в воронку из пипетки Repipet (каталог номер 13-687-20; Fischer Scientific Company) с использованием постоянного давления. Жидкость наполняла продолговатое отверстие блока, и часы останавливали, когда мениск жидкости достигал уровня объема 2 см3, указывающего, что 8 см3 жидкости было поглощено.
Кроме того, проводили испытание на повторное увлажнение, используя испытание на повторное увлажнение с фильтровальной бумагой, чтобы измерить количество искусственных менструальных выделений в граммах, которое выходило из образца при постоянном приложенном давлении 1 фунт на квадратный дюйм (0,07 кг/см2). Предварительно взвешенный кусок фильтровальной бумаги, такой как 1001b Blotter – торговое наименование “Verigood”, доступной от Fort James (Georgia Pacific), имеющей офисы в Атланте, Джорджия; или 100# Blotter – фирменное обозначение “Riegel”, доступной от Sloan Paper Co., имеющей офисы в Росвелле, Джорджия, или их эквивалент помещали на образец. Затем прикладывали равномерное давление 1 фунт на квадратный дюйм на прокладку в течение трех минут. Давление убирали и влажную фильтровальную бумагу взвешивали с точностью до 0,01 грамма. Количество искусственных менструальных выделений, вышедших из образца на фильтровальную бумагу, определяли, вычитая массу сухой фильтровальной бумаги из массы влажной фильтровальной бумаги.
Емкость абсорбции определяли, распределяя водный раствор красителя в образец для испытаний до того момента, пока образец для испытаний не начинал протекать. Количество жидкости, распределенное в точке протечки, представляет собой емкость абсорбции. Оборудование состояло из системы перистальтического нагнетающего трубного насоса (трубный насос, трубопровод и капиллярная подающая игла канюли), секции контроля, запускавшей и останавливавшей насос и таймер, и плоской горизонтальной считывающей сетки, которая будет чувствовать присутствие жидкости. Насос подает жидкость до тех пор, пока образец для испытания не становится полностью насыщенным, и жидкость капает из образца на считывающую сетку. Когда это происходит, секция контроля останавливает насос и таймер, и количество жидкости рассчитывают умножением распределенной жидкость (в мл) на время (в минутах).
Для подготовки к испытанию готовили концентрированный раствор растворением 114 мл Синего Жидкого Красителя №357 (номер компонента 00357) в 1000 мл±5 мл дистиллированной воды. Раствор для испытания готовили, добавляя 30±1 мл этого концентрата к 3400±5 мл дистиллированной воды. Краситель поставляется Warner-Jenkinson Co., Сент-Луис, Миссури. Объем жидкости, используемый для испытания, составляет 1000 мл, его хранят в калиброванном цилиндре на 1000 мл.
Автоматический насос с положительным расходом использовали, чтобы перекачивать раствор из калиброванного цилиндра к образцу для испытания, например, насос Masterflex (R), номер детали 826028, с головкой насоса Masterflex (R), номер детали 1034618, оснащенный силиконовым трубопроводом Masterflex (R) #14, номер детали 96410-14, все доступны от Cole-Palmer Instrument Co., Чикаго, Иллинойс. Игла шприца для подкожного введения длиной четыре дюйма (10,16 см) или лабораторная канюля, например, канюля из нержавеющей стали калибра 14 с luer-loc, номер детали BD1789, поставляемая Becton Dickinson из Франклин Лейкс, Нью-Джерси. Игла 14 калибра имеет тот же самый внутренний диаметр, как и трубопровод, и дополнительно делает установку более жесткой, что облегчает поддержку подающего конца оборудования.
Автоматический насос устанавливают, чтобы перекачивать 15 мл±1 мл в минуту раствора из цилиндра к образцу для испытания после периода предварительной прокачки 10 минут, чтобы удалить воздух и нагреть насос для гарантированной постоянной подачи. Конец иглы поддерживают круглой подставкой, оснащенной зажимом для поддержки распределяющего конца в ходе испытания. Высоту иглы устанавливают, чтобы обеспечить зазор в 3 мм между концом иглы и обращенной к телу поверхностью образца для испытания. (Если образец для испытания набухает, когда его увлажняют, высота иглы должна быть отрегулирована в ходе испытания, чтобы поддерживать зазор 3 мм.)
Чтобы определять емкость, образец для испытания помещают в центр считывающей сетки с направленной вверх стороной поверхности, обращенной к телу, и ориентируют, чтобы принимать жидкость в точке, представляющей собой пересечение продольной и поперечной осей. Запускают насос и таймер и испытание заканчивают, когда жидкость из образца для испытания перемещается к считывающей сетке и выключает насос и таймер. Затем рассчитывают емкость абсорбции (в мл в минуту).
Искусственная менструальная жидкость, использованная в испытании, была изготовлена в соответствии с патентом США 5883231 из крови и яичного белка разделением крови на плазму и красные кровяные тельца и разделением белка на густую и жидкую части, где «густой» означает, что он имеет вязкость после гомогенизации выше, приблизительно, 20 сантипуаз при 150 c-1, объединением густой части яичного белка с плазмой и тщательным перемешиванием, и, наконец, добавлением красных кровяных телец и новым тщательным перемешиванием. Более детально процедура состоит в следующем.
Дефибринированную свиную кровь разделяют на центрифуге при 3000 об/мин в течение 30 минут, хотя другие методы или скорости и времена могут быть использованы, если они эффективны. Плазму отделяют и хранят отдельно, лейкоцитную пленку удаляют и выбрасывают, а объединенные красные кровяные тельца хранят также отдельно. Необходимо отметить, что кровь должна быть обработана некоторым образом так, чтобы с ней можно было работать без коагулирования. Специалистам известны различные методы, такие как дефибринирование крови для удаления свертывающихся фиброзных материалов, добавление противокоагулирующих химикатов и других средств. Кровь должна быть несвертывающейся, чтобы быть использованной, и приемлем любой метод, который достигает этого без разрушения плазмы и красных кровяных телец.
Крупные куриные яйца разделяли, желток и халазу выбрасывали и оставляли яичный белок. Яичный белок разделяли на густую и жидкую части пропусканием белка сквозь сетку из нейлона 1000 микрон, приблизительно, 3 минуты и более жидкую часть выбрасывали. Густую часть яичного белка, которая оставалась на сетке, собирали и переносили в шприц на 60 см3, который затем помещали на программируемый шприцевой насос и гомогенизировали содержимое вытеснением и повторным наполнением пять раз. Количество гомогенизаций контролировали скоростью шприцевого насоса, приблизительно, 100 мл в минуту, и внутреннего диаметра трубки, приблизительно, 0,305 см (0,12 дюймов). После гомогенизации густая часть яичного белка имеет вязкость, приблизительно, 20 сантипуаз при 150 с-1, и ее затем помещали в центрифугу и центрифугировали, чтобы удалить остатки органических веществ и воздушные пузырьки, при, приблизительно, 3000 об/мин, приблизительно, 10 минут.
После центрифугирования густой гомогенизированный яичный белок, который содержит овамуцин, добавляют в упаковочную емкость для транспортировки на 300 см3 FENWAL® с использованием шприца. Затем 60 см3 плазмы свиной крови добавляют в упаковочную емкость для транспортировки FENWAL®. Упаковочную емкость для транспортировки FENWAL® закрывают, все воздушные пузырьки удаляют и помещают ее в лабораторный смеситель Стомахера, где содержимое перемешивают при нормальной (или средней) скорости, приблизительно, 2 минуты. Упаковочную емкость для транспортировки FENWAL® затем удаляют из смесителя, добавляют 60 см3 красных кровяных телец свиной крови и содержимое перемешивают вручную, приблизительно, 2 минуты или до тех пор, пока содержимое не становится однородным. Гематокрит конечной смеси должен показывать содержание красных кровяных телец, приблизительно, 30 масс.% и обычно должен быть, по меньшей мере, в пределах интервала 28-32 масс.% для искусственных менструальных выделений, изготовленных в соответствии с этим примером. Количество яичного белка составляет, приблизительно, 40 масс.%.
Ингредиенты и оборудование, использованные при получении искусственных менструальных выделений, легко доступны. Ниже перечислены источники для использованных предметов, хотя, конечно, другие источники могут быть использованы при условии, что они, приблизительно, эквивалентны.
Кровь (свиная): Cocalico Biologicals, Inc., 449 Stevens Rd., Римстаун, Пенсильвания 17567.(717) 336-1990.
Упаковочная емкость для транспортировки FENWAL®, 300 мл, с соединителем, код 4R2014: Baxter Healthcare Corporation, подразделение Fenwal, Дирфилд, Иллинойс 60015.
Программируемый шприцевой насос Harvard Apparatus, модель номер 55-4143: Harvard Apparatus, Cayc Натик, Массачусетс 01760.
Лабораторный смеситель Стомахера 400, модель номер ВА 7021, серийный номер 31968: Seward Medical, Лондон, Англия, Великобритания.
Сетка с ячейками 1000 микрон, изделие номер CMN-1000-B: Small Parts, Inc., Почтовый ящик 4650, Майами Лейкс, Флорида 33014-0650,1-800-220-4242.
Устройство для измерения гематокрита Hemata Stat-II, серийный Номер 1194Z03127: Separation Technologies, Inc., 1096 Rainer Drive, Аламаунт Спринте, Флорида 32714.
Вообще говоря, толщину или калибр материалов измеряли при 3,5 г/см2 (0,05 фунтов на квадратный дюйм) измерителем объема типа Starret или другим обычным измерителем объема. Результаты измерений выражают в миллиметрах. Указанные объемы для различных компонентов были рассчитаны из измерений длины, ширины и толщины. Эти объемы были выражены в кубических сантиметрах (см3).
Как может быть видно из результатов, прокладки были сравнимы даже по значениям поглотительной способности и емкости абсорбции. Однако прокладки, включающие многокомпонентную абсорбирующую жидкость структуру, показывали улучшенное повторное увлажнение по сравнению с коммерческими прокладками.
| Таблица 1 |
| Метод/продукт |
Прокладки макси |
Прокладки тонкие |
| |
|
GEM II |
Laurier |
|
GEM II |
Laurier |
| Ширина (мм) |
Сред. |
|
93,8 |
73,2 |
|
93,4 |
73,4 |
| |
СКО |
|
0,6 |
0,5 |
|
0,7 |
0,7 |
| Длина (мм) |
Сред. |
|
230,0 |
219,8 |
|
230,1 |
216,1 |
| |
СКО |
|
0,7 |
0,8 |
|
0,3 |
0,6 |
| Масса (г) |
Сред. |
|
11,8 |
8,8 |
|
8,3 |
7,4 |
| |
СКО |
|
0,4 |
0,1 |
|
0,1 |
0,3 |
| Толщина (мм) |
Сред. |
|
9,1 |
7,9 |
|
8,3 |
6,5 |
| STP 260-W |
СКО |
|
0,2 |
0,2 |
|
0,3 |
0,5 |
| Скорость |
10 мл |
Сред. |
|
10,8 |
114 |
|
– |
– |
| абсорбции (сек) STM 2447 |
жидк. |
СКО |
|
1,2 |
1,3 |
|
6,3 |
5,6 |
| 6 мл жидк |
Сред. |
– |
| |
|
СКО |
|
|
|
|
0,9 |
0,6 |
| Испытание на повторное увлажнение STM.2440, ранее STP.682-W |
Сред. |
|
0,3 |
1,4 |
|
0,4 |
0,9 |
| СКО |
|
0,1 |
0,03 |
|
0,1 |
0,04 |
| Емкость абсорбции (мл) |
Сред. |
|
105,2 |
135,8 |
|
90,2 |
93,0 |
| STM.2434, ранее STP.191-W |
СКО |
|
1,4 |
5,5 |
|
6,6 |
4,2 |
Пример 2
В примере 2 испытывали две различные ультратонкие женские прокладки, чтобы определить эффективность таких абсорбирующих изделий, содержащих многокомпонентную абсорбирующую жидкость структуру, по сравнению с обычной продаваемой женской прокладкой. В этом примере одну прокладку, включающую многокомпонентную абсорбирующую жидкость структуру, идентифицировали как Goodfeel II, в то время как обычная коммерческая женская прокладка была ультратонкая прокладка Whisper от Whisper (Таиланд). Таблица 2 приводит данные специфических измерений для каждой из прокладок.
Прокладка Goodfeel II имела многокомпонентную абсорбирующую жидкость структуру, в которой первый абсорбирующий жидкость компонент имел площадь, приблизительно, 38 квадратных сантиметров, а второй абсорбирующий жидкость компонент имел площадь, приблизительно, 131 квадратный сантиметр.
Первый абсорбирующий жидкость компонент имел толщину, приблизительно, 1,5 миллиметров (0,15 см), давая расчетный объем, приблизительно, 6 см3. Прокладка Goodfeel II использовала второй абсорбирующий жидкость компонент, сформированный из распушенной целлюлозы. Этот компонент имел толщину, приблизительно, 1,7 миллиметров (0,17 см), давая расчетный объем, приблизительно, 22 см3.
Первый абсорбирующий жидкость компонент был материалом, доступным от Buckeye Technologies, Inc. под торговым обозначением Unicore 8001. Этот материал имеет массу единицы площади, приблизительно, 230 г/м2 и емкость абсорбции жидкости, приблизительно, 6 граммов жидкости на грамм материала. Второй абсорбирующий жидкость компонент был прослойкой из распушенной целлюлозы, включающей, приблизительно, 0,25 г суперабсорбирующего материала. Второй абсорбирующий жидкость компонент имел массу единицу, приблизительно, 213 г/м2 и емкость абсорбции жидкости, приблизительно, 10 граммов жидкости на грамм материала.
Контрольная торговая женская прокладка представляла собой ультратонкую прокладку марки Whisper, поставляемую в Таиланде Procter & Gamble Company. Вообще говоря, эти прокладки имеют абсорбирующий жидкость компонент, который может быть описан как имеющий первый нетканый распределяющий/переносящий слой, нанесенный на слой фильерного способа производства или аналогичный нетканый слой. Этот слой имел полную толщину, приблизительно, 0,75 мм (0,075 см), а также длину, приблизительно, 140 см и ширину, приблизительно, 60 см. Прокладка Whisper имела второй абсорбирующий слой, состоящий из распушенной целлюлозы и суперабсорбирующего материала. Этот второй слой имел толщину, приблизительно, 1,5 мм (0,15 см), а также длину, приблизительно, 195 см и ширину, приблизительно, 65 см.
Каждую из прокладок испытывали на ее скорость поглощения, используя процедуру испытания, описанную выше. Кроме того, проводили испытание на повторное увлажнение, используя процедуру испытания на повторное увлажнение, описанную выше. Наконец, каждую прокладку испытывали на ее емкость абсорбции, используя процедуру испытания на емкость абсорбции, описанную выше. Как можно увидеть из результатов, прокладки были сравнимы по значениям емкости абсорбции. Однако прокладка Goodfeel II поглощала жидкость с намного более высокой скоростью и показывала улучшенную устойчивость к повторному увлажнению по сравнению с торговой прокладкой.
| Таблица 2 |
| Метод/продукт |
Goodfeel II |
Whisper |
| Ширина (мм) |
Сред. |
84,9 |
90,8 |
| |
СКО |
1,2 |
0,5 |
| Длина (мм) |
Сред. |
235,5 |
226,2 |
| |
СКО |
0,7 |
0,8 |
| Масса (г) |
Сред. |
6,7 |
5,3 |
| |
СКО |
0,1 |
0,1 |
| Толщина (мм) |
Сред. |
3,8 |
2,8 |
| STP 260-W |
СКО |
0,1 |
0,1 |
| Скорость абсорбции (сек) |
Сред. |
8,0 |
24,7 |
| 6 мл жидк. STM.2447, ранее STP 89-W |
СКО |
1,5 |
2,2 |
| Испытание на повторное |
Сред. |
1,7 |
2,1 |
| увлажнение (г) STM.2440, ранее STP 682-W |
СКО |
0,2 |
0,2 |
| Емкость абсорбции (мл) |
Сред. |
108,1 |
127,7 |
| STM 2434, ранее STP 191-W |
СКО |
1,3 |
6,0 |
Пример 3
В примере 3 испытывали две различные ультратонкие женские прокладки, содержащие суперабсорбент, чтобы определить эффективность таких абсорбирующих изделий, содержащих многокомпонентную абсорбирующую жидкость структуру, по сравнению с обычной коммерческой женской прокладкой. В этом примере одну прокладку, включающую многокомпонентную абсорбирующую жидкость структуру, идентифицирована как C-Ultrathin, в то время как обычная торговая женская прокладка была ультратонкая прокладка марки Whisper, доступная в Гонконге от Procter & Gamble Company. Таблица 3 приводит данные специфических измерений для каждой из прокладок.
Прокладка C-Ultrathin имела апертурированный пленочный покровный слой Guial, поставляемый Guial Film из Франции, и непроницаемый для жидкости изнаночный слой. Прокладка включала многокомпонентную абсорбирующую жидкость структуру, в которой первый абсорбирующий жидкость компонент имел площадь 38 квадратных сантиметров, а второй абсорбирующий жидкость компонент имел площадь, приблизительно, 131 квадратный сантиметр.
Первый абсорбирующий жидкость компонент имел толщину, приблизительно, 1,5 миллиметров (0,15 см), давая расчетный объем 6 см3.
Первый абсорбирующий жидкость компонент был материалом, доступным от Buckeye Technologies под торговым обозначением Unicore 8001. Материал имеет массу единицы площади, приблизительно, 230 г/м2 и емкость абсорбции жидкости, приблизительно, 6 граммов жидкости на грамм материала. Второй абсорбирующий жидкость компонент был прослойкой, состоящей из, приблизительно, 60 масс.% распушенной целлюлозы и, приблизительно, 40 масс.% суперабсорбента. Второй абсорбирующий жидкость компонент имеет массу единицы площади, приблизительно, 356 г/м2 и емкость абсорбции жидкости, приблизительно, 40 граммов жидкости на грамм материала.
Ультратонкая торговая женская прокладка марки Whisper также имела апертурированное пленочное покрытие. Вообще говоря, эти прокладки имеют абсорбирующий жидкость компонент, который может быть описан как имеющий первый слой аэродинамической укладки, нанесенный на слой фильерного способа производства или аналогичный нетканый слой. Этот слой имел полную толщину, приблизительно, 0,75 мм (0,075 см), а также длину, приблизительно, 140 мм и ширину, приблизительно, 60 мм. Прокладка Whisper имела второй абсорбирующий слой, состоящий из распушенной целлюлозы и суперабсорбирующего материала. Этот второй слой был обернут в тонкий материал, полученный аэродинамическим способом, и имел толщину, приблизительно, 1,5 мм (0,15 см), а также длину, приблизительно, 175 мм и ширину, приблизительно, 65 мм.
Каждую из прокладок испытывали на ее поглотительную способность, характеристики повторного увлажнения и емкость абсорбции, используя процедуры испытания, описанные выше. Как можно увидеть из результатов, прокладки были сравнимы по значениям емкости абсорбции. Однако прокладка C-Ultrathin абсорбировала жидкость с намного более высокой скоростью и показывала улучшенную устойчивость к повторному увлажнению по сравнению с торговой прокладкой.
| Таблица 3 |
| Метод/продукт |
C-Ultrathin |
Whisper |
| Ширина (мм) |
Сред. |
145,4 |
155,2 |
| |
СКО |
0,8 |
0,5 |
| Длина (мм) |
Сред. |
261,3 |
221,4 |
| |
СКО |
0,5 |
0,6 |
| Масса (г) |
Сред. |
10,6 |
5,8 |
| |
СКО |
0,2 |
0,0 |
| Толщина (мм) |
Сред. |
3,8 |
3,0 |
| STP 260-W |
СКО |
0,1 |
0,2 |
| Скорость абсорбции (сек) |
Сред. |
7,9 |
24,3 |
| 6 мл жидк. STM.2447, ранее STP 89-W |
СКО |
0,3 |
1,6 |
| Испытание на повторное |
Сред. |
0,01 |
1,9 |
| увлажнение (г) STM.2440, ранее STP 682-W |
СКО |
0,01 |
0,1 |
| Емкость абсорбции (мл) |
Сред. |
213,9 |
108,9 |
| STM 2434, ранее STP 191-W |
СКО |
4,5 |
0,7 |
| Длина пятна после испытания |
Сред. |
55,0 |
65,0 |
| на повторное увлажнение (мм) |
СКО |
0,5 |
0,7 |
| Ширина пятна после испытания |
Сред. |
62,0 |
100,0 |
| на повторное увлажнение (мм) |
СКО |
1,0 |
0,7 |
Пример 4
Этот пример иллюстрирует, как относительно большая пропорция искусственной менструальной жидкости мигрирует быстро (через 1 минуту) от первого абсорбирующего жидкость компонента во второй абсорбирующий жидкость компонент многокомпонентной абсорбирующей жидкость структуры.
Первый абсорбирующий жидкость компонент находится в форме связанной гибкой матрицы, включающей стратифицированные слои волокнистого материала. Два различных типа материалов использовали для первого абсорбирующего жидкость компонента, чтобы иллюстрировать, что полезны определенные типы многослойных или стратифицированных структур.
Второй абсорбирующий жидкость компонент представлял собой прослойку, состоящую из, приблизительно, 60 масс.% распушенной целлюлозы и, приблизительно, 40 масс.% суперабсорбента. Второй абсорбирующий жидкость компонент имеет массу единицы площади, приблизительно, 356 г/м2, емкость абсорбции жидкости, приблизительно, 16 граммов жидкости на грамм материала и площадь, приблизительно, 131 квадратный сантиметр.
Один материал, использованный для первого абсорбирующего жидкость компонента, представлял собой материал, доступный от Buckeye Technologies под торговым обозначением Unicore 8001. Этот материал имеет массу единицы площади, приблизительно, 230 г/м2 и емкость абсорбции жидкости, приблизительно, 6 граммов жидкости на грамм материала. Этот материал имел площадь 38 квадратных сантиметров. Первый абсорбирующий жидкость компонент имел толщину, приблизительно, 1,5 миллиметров (0,15 см), давая расчетный объем 6 см3. Этот материал указан в Таблицах 4 и 5 как «материал #1».
Другой материал, использованный для первого абсорбирующего жидкость компонента, имеет массу единицы площади, приблизительно, 200 г/м2. Этот материал указан в Таблицах 4 и 5 как «материал #2» и включает первый слой, полученный аэродинамическим способом, имеющий массу единицы площади, приблизительно, 50 г/м2. Первый слой содержал приблизительно, 85 масс.% сложного полиэфирного волокна – 15 денье на нить, соединенную вместе с, приблизительно, 15 масс.% обычного связующего латекса, пригодного для предметов личной гигиены. Материал #2 включал второй слой, полученный аэродинамическим способом, имеющий массу единицы площади, приблизительно, 150 г/м2. Этот второй слой содержал, приблизительно, 90 масс.% распушенной целлюлозы и, приблизительно, 10 масс.% бикомпонентного связующего волокна, состоящего из ядра из сложного полиэфира и оболочки из полиэтилена или подобного полиэтилену материала, который размягчается или плавится, когда нагревают сухое латексное связующее и термически активируют связующие волокна. Это специфическое сочетание слоев имело площадь 38 квадратных сантиметров и толщину, приблизительно, 1,6 миллиметров (0,16 см), давая расчетный объем, приблизительно, 6,1 см3.
В каждом испытании каждый компонент абсорбирующей жидкость структуры взвешивали и массу фиксировали. Структуры повторно собирали. Приблизительно, 10 мл жидкости искусственного менструального выделения наносили в центральную часть первой главной поверхности первого абсорбирующего жидкость компонента структур, идентифицированных выше. После, приблизительно, 60 секунд (1 минуты) компоненты разделяли и повторно взвешивали. Разность между массой во влажном состоянии и массой в сухом состоянии представляла собой количество жидкости, удерживаемое этим компонентом после 60-секундного интервала.

Количество жидкости в каждом из компонентов через одну минуту измеряли и рассчитывали процент. Результаты приведены в Таблице 5.
| Таблица 5 |
| Материал |
Общее количество жидкости |
| Материал # 1 |
Сред. |
10,91 |
| (граммы) |
СКО |
0,46 |
| Материал #2 |
Сред. |
10,69 |
| (граммы) |
СКО |
0,05 |
| Материал |
Процент в покрытии |
Процент в первом компоненте |
Процент во втором компоненте |
| Материал # 1 |
Сред. |
0,20 |
19,3 |
80,5 |
| |
СКО |
0,07 |
1,44 |
1,44 |
| Материал #2 |
Сред. |
0,20 |
19,9 |
79,9 |
| |
СКО |
0,04 |
1,09 |
1,06 |
Хотя описание настоящего изобретения в основном относилось к женским прокладкам, настоящее изобретение может также быть использовано в других абсорбирующих изделиях, таких как подгузники и предметы для защиты от недержания. По существу настоящее изобретение имеет множество областей использования и обеспечивает существенное улучшение по сравнению с предшествующими абсорбирующими изделиями по показателям защиты, протечки и удобства для пользователя.
Формула изобретения
1. Многокомпонентная абсорбирующая жидкость структура, включающая:
первый абсорбирующий жидкость компонент, включающий связанную гибкую матрицу, включающую стратифицированные слои волокнистого материала, причем первый абсорбирующий жидкость компонент имеет первую главную поверхность, вторую главную поверхность, первую полную площадь и первый объем, и
второй абсорбирующий жидкость компонент, включающий слой отличающегося абсорбирующего жидкость материала, примыкающий ко второй главной поверхности первого абсорбирующего жидкость компонента, причем второй абсорбирующий жидкость компонент имеет вторую полную площадь и второй объем такие, что отношение второй полной площади к первой полной площади составляет более 3,5 к 1, отношение второго объема к первому объему составляет более 10 к 1, а полный объем абсорбирующей жидкость структуры составляет менее 130 см3.
2. Абсорбирующая жидкость структура по п.1, где первый абсорбирующий жидкость компонент включает слои аэродинамически уложенных волокон штапельной длины, аэродинамически уложенных волокон из распушенной целлюлозы, аэродинамически уложенных волокон химически модифицированной целлюлозы, гидрогелевых волокон и их сочетание.
3. Абсорбирующая жидкость структура по п.2, где первый абсорбирующий жидкость компонент включает также материалы из частиц.
4. Абсорбирующая жидкость структура по п.2, где первый абсорбирующий жидкость компонент связан с использованием термически связующих волокон, адгезивов, термического точечного связывания, механического переплетения, латексных эмульсий и их сочетания.
5. Абсорбирующая жидкость структура по п.1, где второй абсорбирующий жидкость компонент выбран из структур, содержащих гидрогель, структур из распушенной целлюлозы в основном гомогенных структур, полученных аэродинамическим способом.
6. Многокомпонентная абсорбирующая жидкость структура, включающая:
первый абсорбирующий жидкость компонент, включающий связанную гибкую матрицу, включающую стратифицированные слои волокнистого материала, причем первый абсорбирующий жидкость компонент имеет первую главную поверхность, вторую главную поверхность, первую полную площадь и первую емкость абсорбции жидкости, и
второй абсорбирующий жидкость компонент, включающий слой отличающегося абсорбирующего жидкость материала, примыкающий ко второй главной поверхности первого абсорбирующего жидкость компонента, причем второй абсорбирующий жидкость компонент имеет вторую полную площадь и вторую емкость абсорбции жидкости такие, что отношение второй полной площади к первой полной площади составляет более 3,5 к 1, отношение второй емкости абсорбции жидкости к первой емкости абсорбции жидкости составляет более 10 к 1, а полная емкость абсорбции жидкости составляет более 35 г.
7. Многокомпонентная абсорбирующая жидкость структура по п.6, где пустоты во второй главной поверхности первого абсорбирующего жидкость компонента сформированы так, чтобы перемещать жидкость в основном вдоль первого абсорбирующего жидкость компонента в дополнение к высвобождению жидкости во второй абсорбирующий жидкость компонент.
8. Многокомпонентная абсорбирующая жидкость структура по п.7, где первый абсорбирующий жидкость компонент удерживает менее 30% искусственной менструальной жидкости через 1 мин после введения 10 мл выделений в центр структуры.
9. Многокомпонентная абсорбирующая жидкость структура по п.6, где первый абсорбирующий жидкость компонент обеспечивает распределение пустот, которые меньше по размерам рядом со второй главной поверхностью и больше по размерам рядом с первой главной поверхностью.
10. Многокомпонентная абсорбирующая жидкость структура по п.8, где первый абсорбирующий жидкость компонент обеспечивает распределение пустот, которые меньше по размерам рядом со второй главной поверхностью, чем пустоты во втором абсорбирующем жидкость компоненте, примыкающем к этой второй главной поверхности.
11. Гигиеническая салфетка, имеющая продольную ось и улучшенное управление жидкостью на основе использования многокомпонентной абсорбирующей структуры, причем гигиеническая салфетка включает:
проницаемый для жидкости слой, обращенный к телу;
не проницаемый для жидкости слой, обращенный к одежде; и
многокомпонентную абсорбирующую структуру между проницаемым для жидкости слоем, обращенным к телу, и не проницаемым для жидкости слоем, обращенным к одежде, причем многокомпонентная абсорбирующая структура включает:
первый абсорбирующий жидкость компонент, в котором, по меньшей мере, часть этого компонента расположена на продольной оси гигиенической салфетки, первый абсорбирующий жидкость компонент включает связанную гибкую матрицу волокнистых материалов, образующую в основном стратифицированные слои, первый абсорбирующий жидкость компонент имеет первую главную поверхность, примыкающую к проницаемому для жидкости обращенному к телу слою, вторую главную поверхность, противоположную первой главной поверхности, первую полную площадь и первую емкость абсорбции жидкости, и
второй абсорбирующий жидкость компонент, включающий слой из отличающегося абсорбирующего жидкость материала, примыкающий ко второй главной поверхности первого абсорбирующего жидкость компонента, причем второй абсорбирующий жидкость компонент имеет вторую полную площадь и вторую емкость абсорбции жидкости такие, что отношение второй полной площади к первой полной площади больше 3,5 к 1 и отношение второй емкости абсорбции жидкости к первой емкости абсорбции жидкости больше 10 к 1, а полная емкость абсорбции жидкости многокомпонентной абсорбирующей жидкость структуры составляет более 35 г.
12. Гигиеническая салфетка по п. 11, где первый абсорбирующий жидкость компонент включает слои аэродинамически уложенных волокон штапельной длины, аэродинамически уложенных волокон из распушенной целлюлозы, аэродинамически уложенных волокон химически модифицированной целлюлозы, гидрогелевых волокон и их сочетание.
13. Гигиеническая салфетка по п. 12, где первый абсорбирующий жидкость компонент включает также материалы из частиц.
14. Гигиеническая салфетка по п. 12, где первый абсорбирующий жидкость компонент связан с использованием термически связующих волокон, адгезивов, латексных эмульсий и их сочетания.
15. Гигиеническая салфетка по п. 11, где второй абсорбирующий жидкость компонент выбран из структур, содержащих гидрогель, структур из распушенной целлюлозы и в основном гомогенных структур, полученных аэродинамическим способом.
16. Гигиеническая салфетка по п. 11, где пустоты во второй главной поверхности первого абсорбирующего жидкость компонента сконфигурированы, чтобы перемещать жидкость в основном вдоль первого абсорбирующего жидкость компонента в дополнение к высвобождению жидкости во второй абсорбирующий жидкость компонент.
17. Гигиеническая салфетка по п. 11, где первый абсорбирующий жидкость компонент удерживает менее 30% искусственной менструальной жидкости через 1 мин после выделения 10 мл.
18. Гигиеническая салфетка по п. 11, где первый абсорбирующий жидкость компонент обеспечивает распределение пустот, которые меньше по размерам рядом со второй главной поверхностью и больше по размерам рядом с первой главной поверхностью.
19. Гигиеническая салфетка по п. 18, где первый абсорбирующий жидкость компонент обеспечивает распределение пустот, которые меньше по размерам рядом со второй главной поверхностью, чем пустоты во втором абсорбирующем жидкость компоненте, примыкающем к этой второй главной поверхности.
20. Гигиеническая салфетка по п. 11, включающая также канал во втором абсорбирующем жидкость компоненте, перекрывающий, по меньшей мере, часть периферии первого абсорбирующего жидкость компонента.
21. Гигиеническая салфетка по п. 11, где, как правило, стратифицированные слои первого абсорбирующего жидкость компонента включают, по меньшей мере, два слоя из волокнистого нетканого материала.
22. Гигиеническая салфетка по п.21, где, по меньшей мере, один из слоев волокнистого нетканого материала выбран из нетканых материалов из кардного прочеса, материалов, сформованных аэродинамическим способом, волокнистых материалов, полученных аэродинамическим способом из расплава, материалов из нитей фильерного способа производства, гидравлически переплетенных волокнистых материалов, механически переплетенных волокнистых материалов и их сочетания.
23. Гигиеническая салфетка по п. 11, где первый абсорбирующий жидкость компонент перекрывает, по меньшей мере, 50% площади пятна во втором абсорбирующем жидкость компоненте, произведенного искусственной менструальной жидкостью через 10 мин после введения в центр первой главной поверхности первого абсорбирующего жидкость компонента 5 мл выделений.
24. Тонкая, эффективно абсорбирующая жидкость структура, включающая:
первый абсорбирующий жидкость компонент, включающий связанную гибкую матрицу, включающую стратифицированные слои волокнистых материалов, причем первый абсорбирующий жидкость компонент имеет первую главную поверхность, вторую главную поверхность, первые полную площадь, толщину и объем и первую емкость абсорбции жидкости, и
второй абсорбирующий жидкость компонент, включающий слой отличающегося абсорбирующего жидкость материала, примыкающий ко второй главной поверхности первого абсорбирующего жидкость компонента, причем второй абсорбирующий жидкость компонент имеет вторые полную площадь, толщину и объем и вторую емкость абсорбции жидкости, где толщина первого и второго абсорбирующих жидкость компонентов составляет каждая между 1 и 2 мм, отношение второй емкости абсорбции жидкости к первой емкости абсорбции жидкости больше 10; отношение второй полной площади к первой полной площади больше 3,5 к 1, отношение второго объема к первому объему больше 10 к 1, а полный объем абсорбирующей жидкость структуры составляет менее 30 см3; такие, что первый абсорбирующий жидкость компонент удерживает менее 30% искусственной менструальной жидкости через 1 мин после выделения 10 мл.
РИСУНКИ
MM4A – Досрочное прекращение действия патента СССР или патента Российской Федерации на изобретение из-за неуплаты в установленный срок пошлины за поддержание патента в силе
Дата прекращения действия патента: 18.05.2008
Извещение опубликовано: 20.09.2010 БИ: 26/2010
|
|