|
| На основании пункта 3 статьи 13 Патентного закона Российской Федерации от 23 сентября 1992 г. № 3517-I патентообладатель обязуется передать исключительное право на изобретение (уступить патент) на условиях, соответствующих установившейся практике, лицу, первому изъявившему такое желание и уведомившему об этом патентообладателя и федеральный орган исполнительной власти по интеллектуальной собственности, – гражданину РФ или российскому юридическому лицу. |
|
(21), (22) Заявка: 2004125915/14, 26.08.2004
(24) Дата начала отсчета срока действия патента:
26.08.2004
(43) Дата публикации заявки: 10.06.2005
(45) Опубликовано: 20.03.2006
(56) Список документов, цитированных в отчете о поиске:
DE 4314362 А, 03.11.1994. RU 2082374 С1, 27.06.1997. WO 9421211 А, 29.09.1994. JP 4364848 А, 12.17.1992.
Адрес для переписки:
115446, Москва, ул. Акад. Миллионщикова, 16, кв.239, Л.Ф. Порядкову
|
(72) Автор(ы):
Порядков Леонид Федорович (RU)
(73) Патентообладатель(и):
Порядков Леонид Федорович (RU)
|
(54) МАССАЖЕР-24
(57) Реферат:
Массажер относится к медицинской технике и предназначен для проведения лечебного и оздоровительно-профилактического массажа тела. Массажер содержит цилиндрический массажный валик с цапфами и с имеющимися на его цилиндрической поверхности выступающими над поверхностью валика, сгруппированными в ряды и расположенными в порядке чередования разнородными массажными элементами, и при этом валик установлен с возможностью вращения вокруг оси между боковинами скобы, на которой укреплена ручка. На съемном массажном валике сделаны открытые с одного конца продольные параллельные пазы и в каждом из них в ряд и с возможностью вращения вокруг оси установлены съемные «холодные» и «горячие» цилиндрические массажные элементы с цилиндрической рабочей поверхностью, оси массажных элементов ориентированы параллельно оси массажного валика, а боковые выходы из пазов перекрыты надетым на цапфу съемным диском. Массажный элемент может быть выполнен в виде герметичной емкости и заполнен каким-либо известным веществом с высокой теплоемкостью или веществом, способным сохранять холод. Для удобства пользования «холодные» и «горячие» массажные элементы окрашены в разные цвета. Технический результат – возможность повышения терапевтической эффективности массажа за счет реализации сочетанного и одновременно производимого механического и термоконтрастного воздействия рассредоточенными в определенном порядке разнотемпературными массажными элементами. 2 з.п.ф-лы, 4 ил. 
Изобретение относится к медицинской технике, а именно к устройствам для проведения лечебного и оздоровительно-профилактического массажа тела.
Известен массажный валик, который установлен на оси и снабжен двумя рукоятками. На поверхности валика укреплены пустотелые массажные элементы [SU 1727834 А1, 23.04.1992]. При проведении массажа массажный валик удерживают двумя руками за рукоятки и прокатывают по телу. При этом массажные элементы оказывают разнонаправленное механическое воздействие на тело пациента.
Недостаток этого массажного устройства заключается в том, что массажный эффект ограничивается только механическим воздействием.
Известен массажер, содержащий рукоятку, на конце которой и перпендикулярно к ней на осях с возможностью вращения смонтированы цилиндрические валики со сменными цилиндрическими оболочками. На поверхности последних имеются разной формы массажные элементы в виде выступов различной конфигурации. С корпусом соединена ручка [СН 664486, 10.05.1984]. Массаж проводят путем прокатывания валиков по соответствующей поверхности тела пациента.
Недостаток этого массажера заключается в том, что массажный эффект ограничивается только механическим воздействием.
Известен массажер, содержащий корпус в виде скобы, между боковинами которой на оси смонтирован с возможностью вращения цилиндрический массажный валик. На поверхности валика имеются сгруппированные в отдельные ряды массажные элементы двух типов: в виде цилиндрических выступов со сферической рабочей поверхностью и в виде выступов-присосок. Все ряды массажных элементов расположены вдоль валика и параллельно друг другу. При этом ряды, состоящие из цилиндрических выступов, чередуются с рядами, состоящими из выступов-присосок. С корпусом соединена стержневидная ручка [DE 4314362 А1, 03.11.1994]. Массаж осуществляют путем прокатывания массажного валика по телу пациента.
Недостаток массажера усматривается в том, что проводимый с его помощью массаж ограничивается только механическим воздействием на тело пациента.
Массажер по патенту DE 4314362 по своей технической сущности наиболее близок к заявленному устройству и, поэтому рассматривается в качестве прототипа.
Технический результат изобретения заключается в повышении эффективности массажа путем реализации сочетанного и одновременно производимого механического и термоконтрастного воздействия рассредоточенными в определенном порядке разнотемпературными массажными элементами.
Указанный технический результат достигается за счет того, что в известном массажере, содержащем цилиндрический массажный валик с цапфами и с имеющимися на его цилиндрической поверхности выступающими над поверхностью валика, сгруппированными в ряды и расположенными в порядке чередования разнородными массажными элементами, и при этом валик установлен с возможностью вращения вокруг оси между боковинами скобы, на которой укреплена ручка, на съемном массажном валике сделаны открытые с одного конца продольные параллельные пазы и в каждом из них в ряд и с возможностью вращения вокруг оси установлены съемные “холодные” и “горячие” цилиндрические массажные элементы с цилиндрической рабочей поверхностью, оси массажных элементов ориентированы параллельно оси массажного валика, а боковые выходы из пазов перекрыты надетым на цапфу съемным диском.
Массажный элемент может быть выполнен в виде герметичной емкости, заполненной каким-либо известным веществом с высокой теплоемкостью или веществом, способным сохранять холод. Для удобства пользования “холодные” и “горячие” массажные элементы окрашены в разные цвета.
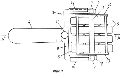
Сущность предлагаемого изобретения поясняется чертежами, где: на фиг.1 представлен вид массажера сверху; на фиг.2 – массажный элемент с местным разрезом; на фиг.3 – продольный разрез массажера в плоскости А-А на фиг.1; на фиг.4 – вид массажера сбоку.
Массажер содержит легко и быстро снимаемый цилиндрический массажный валик 1 (фиг.1, 3, 4), с возможностью вращения вокруг оси установленный между параллельными боковинами 2 скобы 3, и укрепленную на скобе ручку 4. На валике сделан ряд открытых с одного конца продольных параллельных пазов 5 и в каждом из них в ряд, в порядке чередования и с возможностью вращения вокруг оси установлены частично выступающие над поверхностью валика 1 съемные “холодные” и “горячие” цилиндрические массажные элементы 6. Оси массажных элементов ориентированы параллельно оси массажного валика 1. При этом как в продольных, так и в циркулярных рядах в каждой паре смежных массажных элементов один является “холодным”, а другой – “горячим”, т.е. разнотемпературные массажные элементы на поверхности массажного валика рассредоточены в шахматном порядке. Ширина паза 5 на выходе (у цилиндрической поверхности валика) несколько меньше диаметра массажных элементов 6, благодаря чему последние не выпадают из паза. На торцах массажного валика 1 имеются две соосные цапфы 7, которые установлены в пазах 8 (фиг.3), сделанных на концах боковин 2. Выходы из пазов перекрываются щеколдой 9, наложенной на скобу 3 и в основных своих чертах повторяющей ее форму. Направленные перемещения щеколды обеспечиваются за счет ее размещения в параллельных пазах, сделанных в бортиках 10 вдоль наружных краев боковин 2. Фиксация щеколды производится с помощью винта 11, ввинчиваемого в резьбовое отверстие 12 у основания ручки 4. Осевые перемещения массажных элементов ограничены с одной стороны торцовой стенкой 13 массажного валика 1, а с другой – диском 14, в котором имеется центральное отверстие и он надет на цапфу с возможностью снятия.
На обеих боковых (торцовых) стенках массажного элемента сделаны соосно расположенные выступы 15 (фиг.2) со сферической поверхностью. Находящиеся в одном и том же пазу соседние “холодные” и “горячие” массажные элементы соприкасаются друг с другом только в точке контакта сферических поверхностей выступов 15. Благодаря весьма ограниченной площади этого контакта, возможность теплообмена между “холодными” и “горячими” массажными элементами является минимальной. Массажный элемент 6 (фиг.2) может быть выполнен в виде герметичной емкости, заполненной каким-либо известным веществом с высокой теплоемкостью или веществом, способным сохранять холод. Для удобства пользования “холодные” и “горячие” массажные элементы окрашены в разные цвета.
Перед проведением массажа одну часть массажных элементов 6 предварительно охлаждают, например, в морозильной камере бытового холодильника, а другую их часть, наоборот, нагревают, например, путем погружения в горячую воду. После этого производят сборку массажера. Для этого холодные и горячие массажные элементы 6 в порядке чередования вставляют в пазы 5 на валике 1. В результате, на поверхности массажного валика разнотемпературные массажные элементы должны оказаться рассредоточенными в шахматном порядке, т.е. в каждой паре смежных массажных элементов как в продольных, так и в циркулярных рядах один элемент должен быть холодным, а другой – горячим. На цапфу 7 надевают диск 14 и затем обе цапфы вставляют в пазы 8 на концах боковин 2. Выходы из пазов перекрывают с помощью щеколды 9, которую затем фиксируют у основания ручки 4 с помощью винта 11. Для перемещений щеколды в качестве ручки используют головку винта 11.
При проведении массажа массажный валик устройства с необходимым усилием прижимают к поверхности соответствующей части тела и прокатывают вперед-назад и в различных направлениях. При этом смежные участки тела в зоне расположения двух соседних массажных элементов одновременно подвергаются сочетанному механическому и ритмично меняющемуся разнотемпературному воздействию.
Изобретение позволяет повысить терапевтическую эффективность массажа за счет реализации сочетанного и одновременно производимого механического и термоконтрастного воздействия рассредоточенными в определенном порядке разнотемпературными массажными элементами.
Формула изобретения
1. Массажер, содержащий цилиндрический массажный валик с цапфами и с имеющимися на его цилиндрической поверхности выступающими над поверхностью валика, сгруппированными в ряды и расположенными в порядке чередования разнородными массажными элементами и при этом валик установлен с возможностью вращения вокруг оси между боковинами скобы, на которой укреплена ручка, отличающийся тем, что на съемном массажном валике сделаны открытые с одного конца продольные параллельные пазы и в каждом из них в ряд и с возможностью вращения вокруг оси установлены съемные «холодные» и «горячие» цилиндрические массажные элементы с цилиндрической рабочей поверхностью, оси массажных элементов ориентированы параллельно оси массажного валика, а боковые выходы из пазов перекрыты надетым на цапфу съемным диском.
2. Массажер по п.1, отличающийся тем, что массажный элемент выполнен в виде герметичной емкости, заполненной каким-либо известным веществом с высокой теплоемкостью или веществом, способным сохранять холод.
3. Массажер по пп.1 и 2, отличающийся тем, что для удобства пользования «холодные» и «горячие» массажные элементы окрашены в разные цвета.
РИСУНКИ
|
|