|
(21), (22) Заявка: 2004118797/14, 21.06.2004
(24) Дата начала отсчета срока действия патента:
21.06.2004
(45) Опубликовано: 20.03.2006
(56) Список документов, цитированных в отчете о поиске:
Иванова Г.Г. Диагностика и прогностическая оценка электрометрии твердых тканей зубов при кариесе. Диссерт. к мед.н., Омск, 1984, стр.52-62. RU 2239357 С2, 27.04.2004. Электрометрическая диагностика начального, фиссуарного, рецидивного кариеса и других поражений твердых тканей зубов с законченной минерализацией эмали. Методические рекомендации. Минздрав РСФСР, Омск, 1988, с.10.
Адрес для переписки:
654005, Кемеровская обл., г. Новокузнецк, пр. Строителей, 5, ГИДУВ, патентный отдел
|
(72) Автор(ы):
Черненко Сергей Владимирович (RU), Никитина Ольга Владимировна (RU), Пухова Ольга Сергеевна (RU), Салопон Оксана Валерьевна (RU), Городилов Константин Николаевич (RU)
(73) Патентообладатель(и):
Новокузнецкий государственный институт усовершенствования врачей (RU)
|
(54) УСТРОЙСТВО ДЛЯ ЭЛЕКТРОДИАГНОСТИКИ СОСТОЯНИЯ ТВЕРДЫХ ТКАНЕЙ ЗУБА
(57) Реферат:
Изобретение относится к медицине, а именно к стоматологии. Устройство для электродиагностики состояния твердых тканей зуба содержит измерительный блок, активный и пассивный электроды, причем активный электрод состоит из держателя, выполненного из изоляционного материала, на рабочем конце которого расположен наконечник с контактным элементом из токопроводящего материала в виде капиллярной трубки, на держателе также закреплена эластичная трубка, закрытая с одного конца и открытая с другого конца, которым она соединена с нерабочим концом капиллярной трубки, пассивный электрод выполнен в виде контактной площадки. Наконечник имеет вертикальное отверстие и отходящее от него перпендикулярно горизонтальное отверстие с резьбой, в вертикальное отверстие установлена съемная капиллярная трубка, имеющая возможность перемещения вдоль него, нерабочий конец капиллярной трубки присоединен к эластичной трубке соединительной муфтой, в отверстие с резьбой установлен стопорный винт, закрытый конец эластичной трубки выполнен в виде эластичного баллона, помещенного в жесткий цилиндрический корпус с поперечной прорезью по середине, на корпус надет эластичный хомут, между баллоном и корпусом в верхней части расположен защитный кожух, на корпус установлен съемный дозатор в виде пластины, конгруэнтной корпусу, имеющей на одном конце вертикальный выступ, который входит в прорезь корпуса, с возможностью взаимодействия с защитным кожухом, другой конец пластины дозатора вставлен в эластичный хомут, в пассивном электроде контактная площадка выполнена из серебра и размещена на эластичной подложке. Съемный дозатор имеет вертикальный выступ различной высоты. Устройство обеспечивает повышенную точность измерения диагностических параметров твердых тканей зуба. 1 ил. 
Изобретение относится к медицине, а именно к стоматологии, в частности для электродиагностики состояния твердых тканей зуба. Предложенное устройство может применяться при выявлении ранних стадий заболевания на зубах с незаконченной минерализацией эмали, определении резистентности эмали зубов к кариесу, определении реминерализующей эффективности стоматологических препаратов, определении локализации кариеса и для предупреждения развития вторичного кариеса, определении процесса минерализации, определении стадий стираемости зубов.
Несмотря на многочисленные исследования, некоторые аспекты проблемы диагностики кариеса, в том числе и рецидивного (возникающего в глубжележащих тканях зуба на границе зуб-пломба) и некариозных поражений не разрешены до настоящего времени. Существующие методы диагностики кариеса не лишены ряда недостатков: они не позволяют получить точную количественную оценку либо вообще субъективны. Ряд методов требуют наличия сложной аппаратуры и поэтому не могут быть использованы при массовых обследованиях.
Известно устройство для диагностики стадии кариеса, включающее омметр, активный электрод в виде щупа (заостренный бор или зонд под углом), пассивный электрод в виде металлической ручки или свинцовой манжетки, которая прикладывается к кисти обследуемого. Активный электрод прикладывается к испытуемой точке зуба. И.О.Новик «Болезни зубов и слизистой оболочки полости рта у детей», Москва, – Медицина, – 1971, – с.170-171.
Недостатки устройства
1. Большая контактная поверхность щупа. Показания прибора находятся в прямой зависимости от площади соприкосновения активного электрода с исследуемыми поверхностями. Так как последние могут значительно отличаться друг от друга степенью неровности, то активная поверхность электрода будет контактировать каждый раз с различными по величине участками зуба, что может привести к ошибкам в результатах исследования.
2. Большое расстояние между электродами. Точность исследования низкая, так как большое влияние импеданса тканей.
3. Если исследуемая поверхность зуба представляет собой углубление, размер которого меньше диаметра активной поверхности наконечника электрода, то с помощью этого электрода не устанавливается электрический контакт с данной поверхностью, а потому полученные результаты не отображают истинный процесс.
Известна конструкция по измерению электропроводимости твердых тканей зуба М.Бушан, Н.Кодола, В.Кулаженко “Кариес зубов его лечение и профилактика с применением вакуум-электрофореза”, – Кишинев, – Картя Молдовеняскэ» – 1975 г. – с.120-121. Для диагностики кариеса по изменению электропроводимости твердых тканей зуба применяется прибор, состоящий из гальванометра с источником тока, пассивного электрода из металлической пластинки, находящегося в руке больного, активного электрода, прикладываемого к участку зуба и состоящего из зубоврачебного зонда, изолированного слоем каучука.
Недостатки аналога
Велико влияние импеданса тканей на точность измерений.
Конструкция активного электрода не позволяет определить проводимость электрического тока дна и стенок фиссур зубов.
Показания прибора находятся в прямой зависимости от площади соприкосновения активного электрода с исследуемыми поверхностями. Так как последние могут значительно отличаться друг от друга степенью неровности, то активная поверхность электрода будет контактировать каждый раз с различными по величине участками зуба, что может привести к ошибкам в результатах исследования.
Если исследуемая поверхность зуба представляет собой углубление, размер которого меньше диаметра активной поверхности наконечника электрода, то с помощью известных электродов не устанавливается электрический контакт с данной поверхностью, а потому полученные результаты не отображают истинный процесс.
Если исследуется ровная поверхность зуба, размер которой меньше диаметра активной поверхности наконечника электрода, то электрод захватывает часть поверхности, не входящей в объект исследования.
Наиболее близким является устройство для электродиагностики состояния твердых тканей зуба, состоящее из активного и пассивного электродов, присоединенных к измерительному блоку, описанное в дисс. канд. мед. наук. Ивановой Г.Г. «Диагностика и прогностическая оценка электрометрии твердых тканей зубов при кариесе», Омск. 1984, стр. 52-62.
С помощью устройства измеряется электропроводность тканей зуба, и по ее величине судят о состоянии тканей зубов. Активный электрод содержит держатель из изоляционного материала, на рабочем конце которого расположен съемный наконечник с контактным элементом. Оно снабжено эластичной трубкой, закрытой с одного конца. Контактный элемент выполнен из токопроводящего материала в виде капиллярной трубки, причем эластичная трубка со стороны открытого конца соединена с нерабочим концом капиллярной трубки и укреплена на держателе.
Пассивный электрод выполнен в виде кольцеобразно изогнутой контактной пластинки, зафиксированной на эластичном стержне, длина которого соответствует длине преддверия полости рта. Пассивный электрод помещался в одно и то же у каждого пациента место – на середине переходной складки нижней челюсти. Эластичный стержень надежно прижимал контактную пластинку к данному определенному участку слизистой оболочки полости рта.
В капиллярную трубку активного электрода набирался раствор электролита (10% раствор хлорида кальция). Капиллярная трубка рабочим концом помещалась на поверхность зуба, электрическая цепь прибора замыкалась и измерялась величина тока, по которой и судили о состоянии тканей зуба.
Недостатки прототипа, вытекающие из конструкционных особенностей:
1. Неточная дозировка электролита в активном электроде, т.к. электролит произвольно вытекает на исследуемую поверхность зуба или выдавливается путем нажатия на эластичную трубку пальцем, что снижает точность измерений.
2. Пассивный электрод помещается в преддверие полости рта, т.е. на слизистую оболочку в проекции нескольких зубов. Велико влияние импеданса тканей и его колебаний на показатели измерений.
Задача настоящего изобретения состоит в создании конструкции, обеспечивающей более точное измерение параметров электропроводимости твердых тканей зуба.
Поставленная задача достигается устройством для электродиагностики состояния твердых тканей зуба, содержащим измерительный блок, активный и пассивный электроды. Активный электрод состоит из держателя, выполненного из изоляционного материала, на рабочем конце которого расположен наконечник с контактным элементом из токопроводящего материала в виде капиллярной трубки. На держателе также закреплена эластичная трубка, закрытая с одного конца и открытая с другого конца, которым она соединена с нерабочим концом капиллярной трубки. Наконечник имеет вертикальное отверстие и отходящее от него перпендикулярно горизонтальное отверстие с резьбой. В вертикальное отверстие установлена съемная капиллярная трубка, имеющая возможность перемещения вдоль него. Нерабочий конец капиллярной трубки присоединен к эластичной трубке соединительной муфтой. В отверстие с резьбой установлен стопорный винт. Закрытый конец эластичной трубки выполнен в виде эластичного баллона, помещенного в жесткий цилиндрический корпус с поперечной прорезью по середине. На корпус надет эластичный хомут. Между баллоном и корпусом в верхней части установлен защитный кожух. На корпус установлен съемный дозатор в виде пластины, конгруэнтной корпусу, имеющей на одном конце вертикальный выступ, который входит в прорезь корпуса с возможностью взаимодействия с защитным кожухом. Другой конец пластины дозатора вставлен в эластичный хомут. В пассивном электроде контактная площадка выполнена из серебра и размещена на эластичной подложке. Съемные дозаторы отличаются друг от друга высотой вертикального выступа.
Соответствие заявленного технического решения критерию «новизна» подтверждается наличием у него признаков, отсутствующих у прототипа.
– Наконечник имеет вертикальное отверстие, в которое установлена съемная капиллярная трубка, имеющая возможность перемещения вдоль него. Это позволяет изменять длину выступающей части капиллярной трубки и делает более удобным доступ к различным поверхностям зуба.
– Горизонтальное отверстие с резьбой служит для установки фиксирующего винта и позволяет сделать капиллярную трубку съемной. За счет прижима винтом обеспечивается лучший контакт капиллярной трубки с электрической цепью.
– Нерабочий конец капиллярной трубки присоединен к эластичной трубке соединительной муфтой, за счет чего обеспечивается замена капиллярной трубки.
– Закрытый конец эластичной трубки выполнен в виде эластичного баллона, помещенного в жесткий цилиндрический корпус с поперечной прорезью по середине. Надавливание на баллон обеспечивает подачу электролита в капиллярную трубку.
– Между эластичным баллоном и жестким корпусом в верхней части установлен защитный кожух для предотвращения перфорации и равномерного распределения давления на всю площадь эластичного баллона.
– На корпус надет эластичный хомут для закрепления дозатора.
– На корпус установлен съемный дозатор в виде пластины, конгруэнтной корпусу и имеющей на одном конце вертикальный выступ, который входит в прорезь корпуса, с возможностью взаимодействия с защитным кожухом.
– Другой конец дозатора вставляют в эластичный хомут надетый на корпус. Замена дозаторов с различной высотой выступа обеспечивает получение разного дозированного объема электролита.
– В пассивном электроде контактная площадка выполнена из серебра на эластичной подложке, что обеспечивает лучший контакт, позволяет поместить подложку на десну ближе к зубу, что позволяет уменьшить влияние импеданса тканей и повысить точность измерений.
Существенность отличий заявляемого устройства для достижения поставленной задачи подтверждается отсутствием в патентной и научной литературе сведений об аналогичных устройствах, обладающих такой же совокупностью признаков.
Предложенная конструкция позволяет сократить расстояние между электродами, что уменьшает влияние импеданса тканей, позволяет производить точное дозирование электролита, изменять длину капиллярной трубки, что обеспечивает лучший доступ к различным участкам зуба и повышает точность измерений.
Устройство представлено на чертеже.
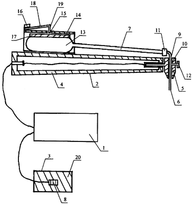
Устройство состоит из измерительного блока 1, активного 2 и пассивного 3 электродов. Активный электрод 2 состоит из держателя 4, выполненного из изоляционного материала, на рабочем конце которого расположен наконечник 5 с контактным элементом из токопроводящего материала в виде капиллярной трубки 6. На держателе 4 закреплена эластичная трубка 7, закрытая с одного конца и открытая с другого конца, которым она соединена с нерабочим концом капиллярной трубки 6. Пассивный электрод 3 выполнен в виде контактной площадки 8. Наконечник 5 имеет вертикальное отверстие 9 и отходящее от него перпендикулярно горизонтальное отверстие с резьбой 10. В вертикальное отверстие 9 установлена съемная капиллярная трубка 6, имеющая возможность перемещения вдоль него, что позволяет регулировать высоту выступающей из наконечника 5 рабочей части капиллярной трубки 6. Нерабочий конец капиллярной трубки 6 присоединен к эластичной трубке 7 соединительной муфтой 11, что позволяет менять капилляры для обработки. В отверстие с резьбой 10 установлен стопорный винт 12. Закрытый конец эластичной трубки 7 выполнен в виде эластичного баллона 13, помещенного в жесткий цилиндрический корпус 14 с поперечной прорезью 15 по середине и надетым на него эластичным хомутом 16. Между эластичным баллоном 13 и корпусом 14 в верхней части установлен защитный кожух 17. На корпус 14 установлен съемный дозатор 18 в виде пластины, конгруэнтной корпусу, имеющей на одном конце вертикальный выступ 19, который входит в прорезь 15 корпуса 14 с возможностью взаимодействия с защитным кожухом 17. Другой конец дозатора 18 вставляют в эластичный хомут 16. В пассивном электроде 3 контактная площадка 8 выполнена из серебра и размещена на эластичной подложке 20.
Каждый съемный дозатор 18 имеет вертикальный выступ 19 различной высоты, что позволяет набирать в капилляр 6 различное количество электролита и получать каплю дозированного объема.
Работа устройства для электродиагностики состояния твердых тканей зуба осуществляется следующим образом.
Исследуемый зуб тщательно очищают от остатков пищи и зубного налета. Подготовленный зуб изолируют от слюны ватными тампонами, высушивают в течение 30 с струей воздуха исследуемые участки зуба. Пассивный электрод устанавливают на маргинальную часть десны в область проекции верхней 1/3 корня исследуемого зуба, контактной площадкой 8 – к десне. Эластичная подложка изготовлена из тонкой пластиковой прозрачной основы, которая прилипает к поверхности десны и обеспечивает надежное удерживание контактной площадки из серебра. Величина эластичной подложки зависит от высоты альвеолярного отростка и глубины предверия полости рта (имеется большой выбор размеров), что позволяет поместить ее как можно ближе по отношению к точке контакта активного электрода. Контактная площадка 9 выполнена из серебра и имеет размеры 5×5 мм.
Точность показаний зависит от надежности контакта между исследуемой поверхностью зуба и поверхностью активного электрода. В зависимости от места замера подбирают величину выступающей части капилляра 6 активного электрода 2. Капилляр 6 вставляют нерабочим концом в отверстие 9 и муфту 11, устанавливают величину выступающей из наконечника 5 рабочей части капилляра 6, так как эластичная трубка может перемещаться вверх или вниз, и закручивают стопорный винт 12. Внутренний диаметр капиллярной трубки от 0,5 до 1,5 мм, что позволяет приблизиться к объекту исследования (меньший диаметр для глубоких фиссур; больший – для вестибуло-оральных поверхностей зубов). Величина внутреннего диаметра капиллярной трубки не влияет на величину дозы электролита. Нажимают на эластичную трубку 7, капилляр 6 погружают в раствор электролита (10% раствор хлористого кальция), эластичную трубку 7 разжимают, в ней создается разрежение, вследствие чего раствор электролита поступает в капилляр.
Рабочий конец капилляра 6 подносят к исследуемому участку зуба, нажимают на дозатор 18. Своим выступом 19 дозатор нажимает на защитный кожух 17 и на эластичный баллон 13. Микрокапля раствора электролита выходит из рабочего конца капилляра 6 и наносится на исследуемый участок зуба. Производят измерение. Измерительный блок состоит из чувствительного гальванометра с ценой деления 0,11×10-6 А, двух постоянных и одного переменного сопротивления и источника тока. Источником тока служит батарея 3336 л, ЭДС 4,5 В, позволяющая с помощью переменного омического сопротивления получать на электродах постоянное напряжение 3 В. В зависимости от выбранного дозатора получают нужную величину капли электролита.
Величина дозируемой капли зависит от выступа 19. Размер величины капли электролита важен для надежного контакта между поверхностью активного электрода и исследуемой поверхности зуба.
– Необходим одинаковый размер капли при исследованиях вестибуло-оральных поверхностей зубов.
– Необходимо различное количество электролита при исследованиях различных типов фиссур зубов.
Количество электролита влияет на снятие точных показателей, наше устройство позволяет изменять дозировку раствора электролита в зависимости от исследуемой поверхности.
О состоянии твердых тканей зуба судят по величине проводимости электрического тока твердыми тканями, которые получают с помощью измерительного блока 1.
После произведенного замера стопорный винт 12 откручивают, капилляр 6 отсоединяют от муфты 11 и вынимают из наконечника 5.
Для осуществления следующего замера заменяют капилляр 6 и дозатор 18.
Метод основан на том, что вследствие увеличения содержания органических веществ повышается электропроводность, что позволяет судить о состоянии твердых тканей зуба при различных физиологических (степени минерализации и возрастной стертости эмали) и патологических (кариес и патологическая стираемость) изменениях в них.
Устройство позволяет легко заменять капилляр одноразового использования, регулировать высоту рабочего конца капилляра и подводить его к различным участкам зуба, ранее не доступным, получать дозированную каплю электролита, что повышает точность исследований.
Расположение пассивного электрода на близком расстоянии по отношению к активному электроду дает более точные показатели измерения, т.к. сведено до минимума влияние импеданса тканей организма.
Формула изобретения
Устройство для электродиагностики состояния твердых тканей зуба, содержащее измерительный блок, активный и пассивный электроды выполнены с возможностью подключения к измерительному блоку, причем активный электрод состоит из держателя, выполненного из изоляционного материала, на рабочем конце которого расположен наконечник с контактным элементом из токопроводящего материала в виде капиллярной трубки, на держателе также закреплена эластичная трубка, закрытая с одного конца и открытая с другого конца, которым она соединена с нерабочим концом капиллярной трубки, пассивный электрод выполнен в виде контактной площадки, отличающееся тем, что наконечник имеет вертикальное отверстие и отходящее от него перпендикулярно горизонтальное отверстие с резьбой, в вертикальное отверстие установлена капиллярная трубка, выполненная съемной и имеющая возможность перемещения вдоль отверстия, нерабочий конец капиллярной трубки присоединен к эластичной трубке соединительной муфтой, в отверстие с резьбой установлен стопорный винт, закрытый конец эластичной трубки выполнен в виде эластичного баллона, помещенного в жесткий цилиндрический корпус с поперечной прорезью посередине, на корпус надет эластичный хомут, между баллоном и корпусом в верхней части расположен защитный кожух, на корпус установлен съемный дозатор в виде пластины, имеющей на одном конце вертикальный выступ, который входит в прорезь корпуса с возможностью взаимодействия с защитным кожухом, другой конец пластины дозатора вставлен в эластичный хомут, в пассивном электроде контактная площадка выполнена из серебра и размещена на эластичной подложке.
РИСУНКИ
MM4A – Досрочное прекращение действия патента СССР или патента Российской Федерации на изобретение из-за неуплаты в установленный срок пошлины за поддержание патента в силе
Дата прекращения действия патента: 22.06.2006
Извещение опубликовано: 20.08.2007 БИ: 23/2007
|