|
(21), (22) Заявка: 2004124900/14, 17.08.2004
(24) Дата начала отсчета срока действия патента:
17.08.2004
(45) Опубликовано: 20.03.2006
(56) Список документов, цитированных в отчете о поиске:
МУРАТОВ С.Н. Хирургические болезни с уходом за больными, Москва, Медицина, 1976, с.71, рис.22. SU 635979 А, 10.12.1978. SU 923531 А, 02.05.1982. FR 2569342 А1, 28.02.1986.
Адрес для переписки:
309530, Белгородская обл., г. Старый Оскол, мкр. Буденного, 7, кв.76, Б.А. Шевченко
|
(72) Автор(ы):
Сазонов Игорь Иванович (RU), Шевченко Борис Андреевич (RU)
(73) Патентообладатель(и):
Сазонов Игорь Иванович (RU), Шевченко Борис Андреевич (RU)
|
(54) УСТРОЙСТВО ДЛЯ РЕЗЕКЦИИ СУСТАВНЫХ ПОВЕРХНОСТЕЙ ПРИ АРТРОДЕЗЕ
(57) Реферат:
Изобретение относится к хирургическим инструментам и может быть использовано для проведения операций артродезирования, т.е. замыкания суставов. Устройство содержит основное плоское долото, дополнительное плоское долото и направляющую для основного и дополнительного долот. Основное и дополнительное долота размещаются в направляющей параллельно и симметрично от направляющей. Заточка долот ориентирована вовнутрь сустава. В результате достигается наиболее простое обеспечение конгруэнтных поверхностей остеомированных костей сустава. 11 з.п. ф-лы, 7 ил. 
Изобретение относится к хирургическим инструментам, в частности, для проведения операций артродезирования, т.е. замыкания суставов. Устройство может быть также использовано при резекции костей, при необходимости получения параллельных срезов костей при многооскольчатых переломах, когда невозможен их синтез, а также при различных патологиях (опухоль, остеомиелит и др.).
Важным направлением в совершенствовании хирургического инструмента для резекции костной ткани является получение дополнительных качеств за счет незначительного усложнения инструмента (см., например, а.с. СССР № 1202566, А 61 В 17/16, 1986 г., № 1574213, А 61 В 17/16, 1988 г., № 1614798, А 61 В 17/16, 1989 г., № 1648403, А 61 В 17/16, 1989 г., № 2067847, А 61 В 17/16, 1997 г. и другие).
За прототип выбрано простейшее известное устройство для резекции суставных поверхностей при артродезе, включающее в себя плоское долото и молоток (см., например, С.Н.Муратов. Хирургические болезни с уходом за больными. М.: Медицина, 1976 г., с.71, рис.22).
Недостатком таких устройств является трудность создания конгруэнтных (параллельных) поверхностей остеотомированных костей, что приводит к дополнительному травмированию окружающий мягких тканей и травмированию сопрягаемых срезов костей. Это, в свою очередь, затрудняет получение качественного костного анкелоза, повышается вероятность послеоперационных осложнений.
Целью изобретения является наиболее простое обеспечение конгруэнтных поверхностей остеотомированных костей сустава.
Указанная цель достигается тем, что в устройство для резекции суставных поверхностей при артродезе, содержащее основное плоское долото и молоток, вводится дополнительное плоское долото и направляющая для основного и дополнительного долот, причем основное и дополнительное долота размещаются в направляющей параллельно, симметрично оси направляющей и заточкой лезвий долот вовнутрь сустава.
Введение дополнительного долота и направляющей позволяет обеспечить конгруэнтность (параллельность) поверхностей остеотимированных костей с одного прохода. Исключение операций подгонки, зачистки, а в ряде случаев и вдавливания остеотимированных костей, существенно уменьшает травмирование окружающих мягких тканей и сопрягаемых срезов костей, что, в свою очередь, практически исключает послеоперационные осложнения.
Только введение такого сочетания элементов: дополнительное долото, размещенное параллельно основному в направляющих, позволяет исключить недостаток прототипа, а различные варианты исполнения направляющих позволяют при минимальной доработке использовать стандартный хирургический инструмент.
Кроме того, согласно изобретению основное и дополнительное долота могут быть жестко связаны с направляющей. При этом в ряде случаев направляющая также может выполнять функцию промежуточного обушка для основного и дополнительного долот.
Такое техническое решение позволяет обеспечить минимальное расстояние между режущими кромками долот (4-15 мм). В этом случае удары молотком целесообразно наносить одновременно по обушкам обеих долот. При расстоянии между режущими кромками долот 4-8 мм особых проблем нет, а при расстоянии между режущими кромками долот 8-15 мм для гарантированного исключения нецентральных ударов молотком по обушкам долот целесообразно жестко связать с направляющей общий промежуточный обушок для обеих долот.
Кроме того, согласно изобретению основное долото может быть жестко связано с направляющей, а дополнительное долото установлено с возможностью осевого смещения. Это важно при расстоянии между режущими кромками долот более 15 мм, так как в этом случае эффективные удары молотком наносятся по дополнительному долоту, а основное долото может быть использовано также как опора о костную ткань для повышения точности среза костей.
Кроме того, согласно изобретению основное и дополнительное долота могут быть установлены с возможностью одновременного осевого смещения относительно направляющей. Это важно при расстоянии между режущими кромками долот более 40-50 мм, так как в этом случае можно наносить уверенные и точные удары молотком по обушку каждого долота. При нанесении ударов по одному из долот второе может использоваться также как опора на костную ткань.
Кроме того, согласно изобретению может быть введено устройство для ограничения осевого перемещения долот относительно направляющей. Как показал опыт, смещение долота относительно направляющей должно быть достаточно для проведения 2-3 проходов устройством по суставу при средней силе ударов молотком по долотам. На практике это означает, что осевое смещение одного долота или двух долот в направляющей может быть ограничено диапазоном 3-8 мм.
Кроме того, согласно изобретению направляющая может быть выполнена разборной с возможностью изменения расстояния между долотами. Это важно при расстоянии между долотами от 40 до 100 мм. Так как такие случаи довольно редки, то одна – две разборные направляющие могут перекрыть весь этот диапазон.
При минимальном расстоянии между долотами для ускорения резекции кости целесообразно иметь дополнительную полость между лезвиями долот для размещения в ней осколков и отломков кости. Это позволит делать 2-3 прохода устройством по суставу, а затем зачищать образовавшийся зазор. Дополнительная полость может быть обеспечена проточкой по оси блока долот, либо переменным углом заточки долот.
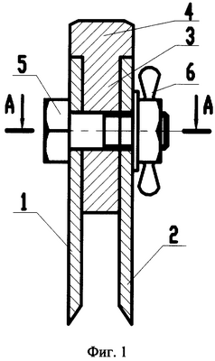
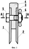
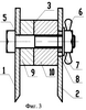
На фиг.1 изображено устройство для резекции суставных поверхностей при артродезе, когда направляющая выполняет функцию промежуточного обушка для основного и дополнительного долот; на фиг.2 – сечение А-А на фиг.1; на фиг.3 схематично показана конструкция устройства, когда связь дополнительного долота с направляющей подвижная; на фиг.4 схематично показана конструкция устройства с разборной направляющей из двух подвижных элементов; на фиг.5 показано сечение В-В на фиг.4 в том варианте, когда для увеличения расстояния между долотами направляющая содержит три подвижных элемента; на фиг.6 и 7 – варианты исполнения рабочих кромок лезвий долот при минимальном расстоянии между ними.
Устройство для резекции суставных поверхностей при артродезе включает в себя основное долото 1 (фиг.1), молоток (не показан), дополнительное долото 2 и направляющую 3, которая обеспечивает параллельность долот 1 и 2. Направляющая 3 может иметь промежуточный обушок 4 для основного 1 и дополнительного 2 долот. Долота и направляющая стягиваются болтом 5 с гайкой 6. Для исключения вращения долот относительно болта 5 направляющая 3 может иметь два паза, в которые вкладываются долота (фиг.2).
Подвижное (по оси долота) закрепление долота в направляющей конструктивно может быть реализовано множеством вариантов. В простейшем случае можно использовать втулку 7, толщина которой равна толщине долота 2 (фиг.3). В этом случае гайка 6 при затяжке упирается во втулку 7 и прижимает долото 1 к направляющей 3. При этом долото 2 благодаря расточке 8 отверстия под болт 5 с втулкой 7 может смещаться относительно направляющей 3 по оси долота.
Для обеспечения широкого диапазона расстояний между долотами целесообразно иметь набор направляющих различных размеров и различной конструкции: с промежуточным обушком (фиг.1), без промежуточного обушка (фиг.3), разборные (фиг.3, 4 и 5). Причем разборные направляющие могут быть реализованы как в виде набора двух 9 и 10 (фиг.3) или большего числа вставок, так и в виде двух (фиг.4) или трех (фиг.5) элементов, имеющих возможность относительного смещения и последующей фиксации их относительно друг друга.
При минимальном расстоянии между долотами, когда они прижаты друг к другу, заточка долот должна быть такой, чтобы между долотами 1 и 2 выше кромок лезвий была дополнительная полость 11 (фиг.6 и 7) для размещения в ней осколков и отломков кости. Это может быть, например, проточка или фрезерование по оси блока долот (фиг.6), либо переменные (ступенчатые) углы заточки долот (фиг.7).
Следует отметить, что в последнем случае такое техническое решение позволяет до минимума ограничить объем удаляемой кости. В настоящее время при использовании стандартного инструмента зазор между остеотимированными костями сустава как правило не удается реализовать менее 8-10 мм из-за выполнения операций подгонки, зачистки срезов костей, хотя достаточным было бы, в ряде случаев, ограничиться зазором 4-6 мм.
Как показал опыт, использование устройств со сложной универсальной направляющей, перекрывающей весь возможный диапазон расстояний между долотами, нерационально, так как в этом случае устройство имеет повышенный вес, большую сложность в изготовлении и эксплуатации (в частности – сложности стерилизации).
Следует отметить, что, как показал опыт, при использовании устройства с разборной направляющей (фиг.4 или 5) при больших расстояниях между долотами (до 100 мм и более) в целом ряде случаев достаточно сделать 2-4 прохода устройством по суставу. При этом образуются базовые конгруэнтные плоскости среза, которые могут быть основой для завершения резекции суставных поверхностей обычным долотом.
Формула изобретения
1. Устройство для резекции суставных поверхностей при операции артродеза, включающее основное плоское долото, отличающееся тем, что вводится дополнительное плоское долото и направляющая для основного и дополнительного долот, причем основное и дополнительное долота размещаются в направляющей параллельно, симметрично оси направляющей и заточкой лезвий долот вовнутрь сустава.
2. Устройство для резекции по п.1, отличающееся тем, что основное и дополнительное долота жестко связаны с направляющей.
3. Устройство для резекции по п.2, отличающееся тем, что направляющая выполнена в виде промежуточного обушка для основного и дополнительного долот.
4. Устройство для резекции по п.1, отличающееся тем, что основное долото жестко связано с направляющей, а дополнительное долото установлено с возможностью осевого смещения.
5. Устройство для резекции по п.1, отличающееся тем, что основное и дополнительное долота установлены с возможностью осевого смещения относительно направляющей.
6. Устройство для резекции по п.4 или 5, отличающееся тем, что введено устройство для ограничения осевого перемещения долота относительно направляющей.
7. Устройство для резекции по п.6, отличающееся тем, что осевое смещение долота в направляющей ограничено диапазоном 3-8 мм.
8. Устройство для резекции по п.1, отличающееся тем, что направляющая выполнена разборной с возможностью изменения расстояния между долотами.
9. Устройство для резекции по п.8, отличающееся тем, что расстояния между режущими кромками долот ограничено диапазоном 4-100 мм.
10. Устройство для резекции по п.9, отличающееся тем, что расстояния между режущими кромками долот ограничено диапазоном 4-40 мм.
11. Устройство для резекции по п.1, отличающееся тем, что имеется дополнительная полость между лезвиями долот.
12. Устройство для резекции по п.1, отличающееся тем, что дополнительно содержит молоток.
РИСУНКИ
MM4A – Досрочное прекращение действия патента СССР или патента Российской Федерации на изобретение из-за неуплаты в установленный срок пошлины за поддержание патента в силе
Дата прекращения действия патента: 18.08.2006
Извещение опубликовано: 20.08.2007 БИ: 23/2007
|