|
|
(21), (22) Заявка: 2003138148/14, 31.12.2003
(24) Дата начала отсчета срока действия патента:
31.12.2003
(45) Опубликовано: 20.03.2006
(56) Список документов, цитированных в отчете о поиске:
SU 592025 A1, 05.02.1978. SU 942577 A, 07.07.1982. RU 2196500 C2, 20.01.2003. RU 2012872 C1, 15.05.1994. WO 88/08530 A1, 03.11.1988.
Адрес для переписки:
680000, г.Хабаровск, ул. Фрунзе, 71, оф.601, Хабаровская краевая общественная организация ВОИР, И.Н.Бочковой
|
(72) Автор(ы):
Соколов Вадим Юрьевич (RU), Стародумов Илья Георгиевич (RU), Максимов Аркадий Леонидович (RU)
(73) Патентообладатель(и):
Государственное учреждение Российская часть Международный научно-исследовательский центр “АРКТИКА” Дальневосточное отделение РАН (RU)
|
(54) УСТРОЙСТВО ДЛЯ РЕГИСТРАЦИИ СПЕКТРАЛЬНО-ВОЛНОВЫХ ХАРАКТЕРИСТИК БИОЛОГИЧЕСКИХ ТКАНЕЙ ПРИ ЗЛОКАЧЕСТВЕННОМ ОНКОГЕННОМ ПРОЦЕССЕ
(57) Реферат:
Изобретение относится к медицинской технике и может быть использовано при исследованиях биологических тканей. Устройство для регистрации спектрально-волновых характеристик биологической ткани содержит монокристаллическую кварцевую круглую пластину. Кварцевая пластина Z-среза имеет с обеих сторон покрытие слоем серебра толщиной не более 0,1 мм и установлена в отражателе с внутренней конической поверхностью, перпендикулярно к ее оси симметрии, при этом отражатель выполнен из серебра или другого немагнитного материала, с покрытием внутренней поверхности из серебра, а покрытия кварцевой пластины выполнены с возможностью съема разности потенциала. Использование изобретения позволяет регистрировать потенциалы спектрально-волновых изменений в биологических тканях. 1 ил. 
Изобретение относится к медицинской технике и предназначено для регистрации спектрально-волновых характеристик биологических тканей при злокачественном онкогенном процессе и области их локализации в живом организме (in vivo) на ранних и последующих стадиях.
Известны устройства, выполненные в виде монокристаллической пьезокварцевой пластины с нанесенными на нее с обеих сторон электродами, обладающие высоким значением пьезоэлектрических коэффициентов (см. Бергман Л. Ультразвук, М.: Иностранная литература, 1956, стр.150).
Подобные устройства, использующие прямой и обратный пьезоэффект применяются в медицине для ультразвуковой диагностики биологических тканей. Однако данные устройства позволяют регистрировать только структурные особенности биологических тканей, но не качественные отличия злокачественного патологического процесса от других патологий биологических тканей.
Известно также устройство, состоящее из монокристаллической кварцевой круглой пластины с симметрично нанесенными на нее с обеих сторон электродами (см. Авторское свидетельство СССР №592025, кл. Н 04 R 17/00, 1978), принято за прототип.
Однако и это устройство способно работать только на основе использования прямого или обратного пьезоэффекта, что не позволяет его использовать для регистрации специфических отличий биологических тканей со злокачественными патологическими процессами от других видов патологий.
Технический результат изобретения – регистрация потенциалов, снимаемых с серебряных покрытий поверхностей пластины и возникающих вследствие соответствующих только злокачественному онкогенному процессу спектрально-волновых изменений в биологических тканях.
Указанный технический результат при осуществлении изобретения достигается тем, что в устройстве для регистрации спектрально-волновых характеристик биологических тканей при злокачественном онкогенном процессе, содержащем монокристаллическую кварцевую круглую пластину, особенность заключается в том, что кварцевая пластина Z-среза имеет с обеих сторон покрытие слоем серебра не более 0,1 мм и установлена в отражателе с внутренней конической поверхностью перпендикулярно к ее оси симметрии, при этом отражатель выполнен из серебра или другого немагнитного материала, с покрытием внутренней поверхности из серебра, а покрытия кварцевой пластины выполнены с возможностью съема разности потенциалов.
Сопоставительный анализ с прототипом позволяет сделать вывод, что заявленное устройство для регистрации спектрально-волновых характеристик биологических тканей при злокачественном онкогенном процессе отличается Z-срезом пластины, отличается покрытием с обеих сторон слоем серебра толщиной не более 0,1 мм, отличается наличием отражателя с внутренней конической поверхностью, выполненного из серебра или из немагнитного материала, с покрытием внутренней поверхности из серебра.
При этом устройство не оказывает никакого воздействия на биологическую ткань, а преобразует собственные излучения биологических тканей, подверженных злокачественным онкогенным процессам, в разность потенциалов, снимаемую с серебряных покрытий поверхностей пластины.
В процессе исследований установлено, что разность потенциалов, регистрируемая с серебряных покрытий поверхностей пластины указанного устройства вблизи биологических тканей, не возникает при отсутствии злокачественных онкогенных процессов, и появляется только при наличии таковых, что позволяет использовать устройство для диагностики ранних и последующих стадий злокачественных онкологических заболеваний.
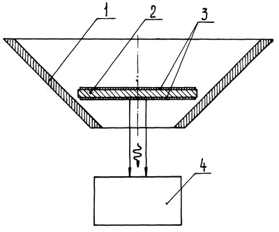
Сущность изобретения поясняется чертежом.
Устройство содержит отражатель 1 с внутренней конической поверхностью, выполненный из серебра или из другого немагнитного материала, но обязательно с серебряным покрытием внутренней конической поверхности толщиной не менее 0,1 мм, монокристаллическую кварцевую круглую пластину Z-среза 2 толщиной не более 1,1 мм. Кварцевая круглая пластина 2 закреплена внутри отражателя 1 перпендикулярно к оси симметрии конуса, образованного внутренней поверхностью отражателя 1, не прикасаясь к его поверхности. Покрытия 3 обеих поверхностей кварцевой круглой пластины 2 выполнены из серебра толщиной не более 0,1 мм. Узкое основание конуса, образованного внутренней поверхностью отражателя 1, находится не выше кварцевой круглой пластины 2, а расстояние от плоскости широкого основания конуса отражателя 1 до пластины 2 должно быть не менее 10 мм. Серебряные покрытия 3 поверхностей кварцевой круглой пластины 2 выполнены с возможностью съема разности потенциалов.
Устройство работает следующим образом.
Устройство располагается таким образом, чтобы широкое основание конуса отражателя 1 находилось в непосредственной близости от исследуемого участка организма человека или биологической ткани (не показано). При этом осуществляется постоянный съем разности потенциалов с посеребренных поверхностей кварцевой круглой пластины 2. При формирующемся злокачественном онкологическом процессе возникает разность потенциалов, снимаемая с серебряных покрытий 3 кварцевой круглой пластины 2. По наличию регистрируемой с серебряных покрытий 3 разности потенциалов делается заключение о наличии злокачественного онкологического заболевания.
Использование данного изобретения позволяет регистрировать изменения, происходящие в биологических тканях при злокачественных заболеваниях на ранних и последующих стадиях.
Формула изобретения
Устройство для регистрации спектрально-волновых характеристик биологических тканей, содержащее монокристаллическую кварцевую круглую пластину, отличающееся тем, что кварцевая пластина Z-среза имеет с обеих сторон покрытие слоем серебра толщиной не более 0,1 мм и установлена в отражателе с внутренней конической поверхностью перпендикулярно ее оси симметрии, при этом отражатель выполнен из серебра или другого немагнитного материала с покрытием внутренней поверхности из серебра, а покрытия кварцевой пластины выполнены с возможностью съема разности потенциала.
РИСУНКИ
MM4A – Досрочное прекращение действия патента СССР или патента Российской Федерации на изобретение из-за неуплаты в установленный срок пошлины за поддержание патента в силе
Дата прекращения действия патента: 01.01.2007
Извещение опубликовано: 20.06.2008 БИ: 17/2008
|
|