|
|
(21), (22) Заявка: 2004119700/14, 28.06.2004
(24) Дата начала отсчета срока действия патента:
28.06.2004
(43) Дата публикации заявки: 27.10.2005
(45) Опубликовано: 20.03.2006
(56) Список документов, цитированных в отчете о поиске:
SU 773485 А, 23.10.1980. RU 2007113 C1, 16.02.1994. RU 2099696 С1, 20.12.1997. US 4375401 А, 01.03.1983. US 6488832 B2, 03.12.2002.
Адрес для переписки:
426057, г.Ижевск, ул. М. Горького, 90, НТУ “ИТЦ”
|
(72) Автор(ы):
Гоголев Виктор Леонидович (RU), Васильев Юрий Владимирович (RU), Соловьев Александр Александрович (RU), Сухенко Евгений Пантелеевич (RU), Жукоцкий Александр Васильевич (RU), Батуев Игорь Викторович (RU)
(73) Патентообладатель(и):
Научно-техническое учреждение “Инженерно-технический центр” открытого акционерного общества “Ижевский мотозавод “Аксион-холдинг” (НТУ “ИТЦ”) (RU)
|
(54) КАМЕРА ДЛЯ МИКРОЭЛЕКТРОФОРЕЗА (ВАРИАНТЫ)
(57) Реферат:
Изобретение относится к медицинской технике и может быть использовано в ветеринарии, экспериментальной биологии. Камера для микроэлектрофореза содержит выдвижную платформу, с расположенными на ней электродами и установленным на них отстоящим от платформы покровным стеклом. У верхней поверхности платформы установлен термодатчик, под нижней поверхностью платформы расположена, с образованием воздушного зазора между ними, площадка с резистивным нагревательным слоем, а покровное стекло размещено на электродах и отстоит от платформы на расстояние h=1,5×а, где h – толщина электродов, а – наибольшие размеры клеток или фрагментов биоптатов по диаметру или по длинной оси. Для второго варианта выполнения покровное стекло размещено на опорных площадках, расположенных между электродами, и отстоит от платформы на расстояние h=1,5×а, где h – толщина опорных площадок, а – наибольшие размеры клеток или фрагментов биоптатов по диаметру или по длинной оси. Использование изобретения позволяет повысить достоверность и точность исследования для различного типа клеток и биоптатов, а также предотвратить их разрушение. 2 н. и 2 з.п. ф-лы, 3 ил. 
Изобретение относится к медицине, может быть использовано в ветеринарии, экспериментальной биологии.
Известна камера Абрамсона для электрофореза, выполненная в виде стеклянного капилляра между двумя электродами (Харамоненко С.С., Ракитянская А.А. Электрофорез клеток крови в норме и патологии. – Минск: Беларусь, 1974. – с.33-35).
Недостатком этой камеры является отсутствие знакопеременного воздействия на клетки, что усложняет работу оператора – микроскописта. При микроскопии оператору приходится перемещать поле зрения, следуя за движениями клеток. Кроме того, клетки, не имеющие заряда или имеющие низкие показатели заряда, препятствуют движению клеток с высоким поверхностным потенциалом к аноду, снижая точность исследования. Другим недостатком является содержание клеток в стеклянном капилляре. Для последнего характерны высокие показатели сцепления жидкости со стенками капилляра. Несовершенством камеры является отсутствие термостабилизационного устройства.
Известна камера в устройстве для оценки электрокинетических свойств клеток буккального эпителия (патент РФ №2007113, кл. А 61 В 5/00, опубликован 15.12.1994 г.).
Сущность конструкции камеры известного устройства в том, что на стационарной пластмассовой платформе устанавливают предметное стекло, на которое предварительно напыляют электроды из титана или другого металла и контактные площадки. Между платформой камеры и контактными площадками происходит соединение с помощью контактных пружин. Исследуемые клетки помещают в пространство между двумя электродами и исследуют при воздействии знакопеременного тока с частотой 0,3-2,0 Гц на инкубационную жидкость и клетки. Жидкость и клетки находятся под покровным стеклом.
Недостатком камеры этого устройства является отсутствие ограничительных бортиков, что допускает возможность появления микротечей жидкости, усложняет возможность дозирования объемов жидкости и исследуемых клеток. Отсутствие ограничительных бортиков повышает испарение жидкости в камере, что нарушает жизнедеятельность клеток. В камере не предусмотрено термостабилизационное устройство, что делает биологическое и клиническое тестирование клеток менее точным, ограничивает возможности камеры. Отсутствие в камере дозированной толщины слоя жидкости в зоне нахождения клеток создает возможность придавливания покровным стеклом исследуемых объектов с последующей их травматизацией, изменением их жизнедеятельности, что снижает достоверность и точность исследования. Недостатком камеры является и то, что она не предусмотрена для исследования биоптатов. Это ограничивает возможности исследования, в том числе и в отношении буккальных эпителиоцитов.
Наиболее близкой, взятой за прототип является микроэлектрофоретическая камера (см. авторское свидетельство SU №441502, МПК G 01 N 27/26, заявлено 06.06.72, опубликовано 30.08.74). Данная камера представляет собой ползунковую систему с параллельными электродами и заправочным устройством.
Недостатком этого устройства является то, что кювета, предназначенная для помещения в нее изучаемых клеток, выполнена постоянной высоты, вследствие чего при исследовании мелких клеток в процессе перемещения часть клеток будет выходить из фокальной плоскости микроскопа, а для агрегатов крупных клеток ограничена свобода движения. Кроме того, заправка исследуемой взвеси с помощью шприца делает невозможным изучение биоптатов из-за размеров последних. В камере не предусмотрено термостабилизационное устройство, что делает биологическое и клиническое тестирование клеток менее точным, ограничивает возможности камеры.
Задачей заявленного изобретения является создание устройства, повышающего достоверность и точность исследования, позволяющего изучать разные типы клеток и биоптаты и предотвращающего в процессе исследования разрушение клеток и биоптатов.
Поставленная задача решается тем, что камера для микроэлектрофореза содержит выдвижную платформу с расположенными на ней электродами и установленным на них отстоящим от платформы покровным стеклом, при этом у верхней поверхности платформы установлен термодатчик, под нижней поверхностью платформы расположена, с образованием воздушного зазора между ними, площадка с резистивным нагревательным слоем, а размещенное на электродах покровное стекло отстоит от платформы на расстоянии h=1,5×а,
где h – толщина электродов;
а – наибольшие размеры клеток или фрагментов биоптатов по диаметру или по длинной оси.
Второй вариант исполнения отличается тем, что в предлагаемой камере для микроэлектрофореза покровное стекло размещено на опорных площадках, расположенных между электродами, и отстоит от платформы на расстоянии h=1,5×а,
где h – толщина опорных площадок;
а – наибольшие размеры клеток или фрагментов биоптатов по диаметру или по длинной оси.
Кроме того, на платформе по периметру покровного стекла имеется замкнутый бортик.
Предлагаемое устройство позволяет повысить достоверность и точность исследования благодаря возможности термостабилизации, обеспечиваемой миниатюрным термодатчиком и резистивным нагревательным слоем. Наличие этих элементов позволяет регулировать температуру, которая изменяется в ходе опыта вследствие нагрева протекающим через препарат током. Также обеспечивается однородность нагрева по площади рабочей зоны платформы, расположенной между электродами, благодаря воздушному зазору между площадкой с резистивным нагревательным слоем и платформой, что тоже способствует повышению достоверности и точности исследования. За счет замкнутого бортика, расположенного на платформе по периметру покровного стекла, исключена возможность микротечей и снижено испарение, нормализован заданный объем жидкости для инкубации клеток, что позволяет длительное время работать с заданным объемом жидкости. Наличие выдвижной платформы позволяет эффективно обрабатывать ее в дезинфекционных растворах путем погружения платформы в них при струйной ее обработке или другими способами дезинфицирования. Кроме того, выдвижная платформа позволяет автономно перемещать ее к месту забора клеток, биоптатов, делает процесс исследования оптимально технологичным, более достоверным и точным. Расположение покровного стекла на электродах позволяет дозировать толщину слоя жидкости в рабочей зоне и тем самым ограничивать число объектов в поле зрения микроскопа. Благодаря размещению покровного стекла на опорных площадках во втором варианте предлагаемой камеры для микроэлектрофореза возможно осуществление исследований клеток или фрагментов биоптатов с большим размером по диаметру или по длинной оси. В обоих вариантах клетки предохраняются от разрушения при помещении их под покровное стекло.
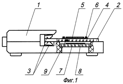
Устройство пояснено чертежами. На фиг.1 изображена камера для электрофореза в разрезе; на фиг.2 – общий вид камеры по первому варианту; на фиг.3 – общий вид камеры по второму варианту.
Камера для электрофореза по п.1 формулы имеет разъемный корпус 1, платформу выдвижную 2 с пружинными держателями – контактами 3, четыре электрода 4, на которых помещено покровное стекло 5, окруженное по периметру замкнутым бортиком 6. Под нижней поверхностью выдвижной платформы 2 расположена площадка 7 с резистивным нагревательным слоем 8, между ним и платформой 2 находится воздушный зазор. У верхней поверхности выдвижной платформы 2 имеется термодатчик 9. Пространство между электродами 4 образует рабочую зону платформы, куда помещают клетки или фрагменты биоптата 10.
Камера для электрофореза по п.3 формулы устроена аналогично устройству по п.1, но в этом варианте покровное стекло 5 размещено на опорных площадках 11 (фиг.3), расположенных между электродами 4, что позволяет изучать с помощью предлагаемого устройства клетки больших размеров и фрагменты биоптатов.
Камера работает следующим образом.
Клетки или биоптаты 10 помещают в жидкость и далее в пространство в рабочую зону платформы 2 между электродами 4 и опорными площадками 11 (2 вариант). Покровное стекло 5 размещается на электродах (1 вариант) или на опорных площадках 11 (2 вариант) и отстоит от платформы на расстоянии, рассчитываемом по формуле h=1,5×а, где h – толщина электродов (1 вариант) либо толщина опорных площадок (2 вариант); а – наибольшие размеры клеток или фрагментов биоптатов по диаметру или по длинной оси. Соотношение 1,5 между толщиной электродов либо толщиной опорных площадок (2 вариант) и максимальным размером изучаемых объектов выбрано в результате проведенных опытов таким, чтобы обеспечивать исследуемым объектам свободу перемещения и в то же время не позволять выходить им из фокальной плоскости микроскопа.
Генератор и коммутатор по токоподводам подают напряжение на электроды 4 с определенной частотой.
На площадку 7 через держатели-контакты 3 поступает ток на резистивный нагревательный слой 8. Ток на резистивном слое 8 приводит к повышению температуры, тепло передается на выдвижную платформу 2 через воздушный зазор, что обеспечивает равномерный прогрев стекла платформы в зоне резистивного слоя 8. Для обеспечения заданных показателей температуры имеется термодатчик 9, позволяющий отключать и включать ток для нагревателя, обеспечивая термостатирование. При достижении стабильной температуры в зоне клеток или биоптата подают напряжение на электроды и проводят микроскопирование и регистрацию показателей микроэлектрофореза, происходящего под воздействием электрического поля заданной напряженности.
Таким образом, в предлагаемой камере для микроэлектрофореза с помощью термодатчика и резистивного нагревательного слоя обеспечивается высокая термостабилизация и однородность нагрева, что повышает достоверность и точность проводимых исследования. А также описанная выше камера дает возможность изучать клетки различных размеров без их повреждений.
Формула изобретения
1. Камера для микроэлектрофореза, содержащая выдвижную платформу с расположенными на ней электродами и установленным на них отстоящим от платформы покровным стеклом, отличающаяся тем, что у верхней поверхности платформы установлен термодатчик, под нижней поверхностью платформы расположена с образованием воздушного зазора между ними площадка с резистивным нагревательным слоем, а покровное стекло размещено на электродах и отстоит от платформы на расстояние h=1,5×а, где h – толщина электродов, а – наибольшие размеры клеток или фрагментов биоптатов по диаметру или по длинной оси.
2. Камера для микроэлектрофореза по п.1, отличающаяся тем, что на платформе по периметру покровного стекла имеется замкнутый бортик.
3. Камера для микроэлектрофореза, содержащая выдвижную платформу с расположенными на ней электродами и установленным отстоящим от платформы покровным стеклом, отличающаяся тем, что у верхней поверхности платформы установлен термодатчик, под нижней поверхностью платформы расположена с образованием воздушного зазора между ними площадка с резистивным нагревательным слоем, а покровное стекло размещено на опорных площадках, расположенных между электродами, и отстоит от платформы на расстояние h=1,5×а, где h – толщина опорных площадок, а – наибольшие размеры клеток или фрагментов биоптатов по диаметру или по длинной оси.
4. Камера для микроэлектрофореза по п.3, отличающаяся тем, что на платформе по периметру покровного стекла имеется замкнутый бортик.
РИСУНКИ
|
|