|
|
(21), (22) Заявка: 2004121086/12, 12.07.2004
(24) Дата начала отсчета срока действия патента:
12.07.2004
(45) Опубликовано: 20.03.2006
(56) Список документов, цитированных в отчете о поиске:
US 6520091 А, 18.02.2003. DE 19822694 A1, 25.11.1999. EP 1405758 A2, 07.04.2004. WO 96/18537 A1, 20.06.1996. SU 1094785 A, 30.05.1984. DE 3523393 A, 08.01.1987.
Адрес для переписки:
125284, Москва, ул. Поликарпова, 23Б, корп.2, ЗАО “Гражданские самолеты Сухого”, Генеральному директору А.В. Ильину
|
(72) Автор(ы):
Субботин Виктор Владимирович (RU), Лятерман Игорь Лазаревич (RU), Сорокин Николай Евгеньевич (RU), Степанский Борис Исаакович (RU)
(73) Патентообладатель(и):
Закрытое акционерное общество “Гражданские самолеты Сухого” (RU)
|
(54) СТОЛИК ДЛЯ ТРАНСПОРТНОГО СРЕДСТВА
(57) Реферат:
Изобретение относится к бытовому оборудованию, устанавливаемому на транспортных средствах с ограниченным объемом помещения на одного человека, в частности, в кабине небольшого самолета со штурвальным постом управления. Технический результат от изобретения – расширение эксплуатационных возможностей и повышение комфортности. Складной столик состоит из размещенных в корпусе связанных между собой подкосом опорной секции и столешницы, установленных с возможностью линейного перемещения относительно корпуса и относительно друг друга. Концы подкоса выполнены в виде цапф, установленных в направляющих опорной секции и столешницы. Конец подкоса, установленный в направляющей столешницы, связан с упругим элементом. Механизм фиксации опорной секции в выдвинутом положении выполнен с двумя пружинными фиксаторами, взаимодействующими с концом подкоса, перемещающимся в направляющей опорной секции при переводе столешницы и опорной секции в убранное положение. Опорная секция имеет два упора выдвинутого положения столешницы. Столешница состоит, по меньшей мере, из двух шарнирно соединенных частей, одна из которых выполнена с нишей для фиксации устанавливаемых на ней предметов. 7 з.п. ф-лы, 9 ил. 
Изобретение относится к мебели, устанавливаемой на транспортных средствах, и может быть использовано в качестве бытового оборудования в кабинах экипажа пассажирских самолетов.
Из уровня техники известны складываемые столики, применяемые на пассажирских транспортных средствах, например столики, размещаемые в сложенном виде около кресла или в подлокотнике кресла. Ими пользуются пассажиры для потребления пищи при длительных поездках, они могут использоваться как поддерживающие поверхности для мелких предметов, газет, книг. Такое размещение столиков предпочтительнее по сравнению с размещением столиков в спинках кресел.
Потребность в наличии такого столика возникает не только у пассажиров, но и у экипажа транспортного средства, особенно у экипажей летательных аппаратов при длительных полетах.
В заявке ФРГ 19705754, кл. В 60 N 2/44, опубл. 20.08.1998 описан складной столик пассажирского кресла. Столик находится в корпусе, размещенном сбоку у сиденья. В случае необходимости столик может быть выдвинут из корпуса и разложен в несколько стадий. Сначала столешница выдвигается в вертикальном направлении, затем переводится в горизонтальное положение. Все перемещения столешницы возможны благодаря шарнирному соединению панели столика и выносной штанги. Такой столик может применяться в пассажирском салоне транспортного средства, но в кабине пассажирского самолета у кресла пилота он не может быть применен вследствие, как правило, ограниченных габаритов кабины экипажа.
Вариант столика, располагаемого в подлокотнике кресла, описан в патенте США 5547247, кл. А 47 В 39/00, опубл. 20.08.1996. При возникновении потребности пассажир имеет возможность воспользоваться убранным в подлокотник кресла столиком. Для этого крышка подлокотника сдвигается в сторону, и открывается внутренняя полость подлокотника с уложенным столиком. Стол размещен в полости подлокотника и соединен с подлокотником одностепенным шарниром, относительно которого элементы стола (столешница) перемещаются в вертикальной плоскости. Посредством этого шарнира пользователь выдвигает столик из ниши, потянув, например, за петлю, закрепленную на столешнице для удобства пользования. В выдвинутом положении столик находится в вертикальной плоскости. С упомянутым шарниром столик соединен посредством цапфы, которая в свою очередь с помощью другого одностепенного шарнира соединена с кронштейном, на котором установлена складная столешница. Из вертикальной плоскости посредством второго шарнира столик переводится в горизонтальную плоскость. Сама поверхность стола связана с кронштейном двумя направляющими. Благодаря наличию этих направляющих пассажир может отодвинуть от себя или, наоборот, придвинуть столик к себе, т.е. отрегулировать положение столика вдоль кресла. Кронштейн столика имеет дополнительный шарнир, при помощи которого поверхность стола можно повернуть в горизонтальной плоскости на некоторый угол. Размещение столика достаточно компактное, его конструкция в сложенном виде не занимает много места. Однако в кабине экипажа на кресле пилота такая конструкция столика не может быть применена, так как требует большого по объему подлокотника на кресле пилота и невозможности его раскрытия при наличии штурвала управления самолетом.
Другой вариант размещения бытового столика в транспортном средстве раскрыт в европейской заявке ЕР 1405758, кл. В 60 N 3/00, опубл. 07.04.2004. В транспортном средстве, в удобном месте для находящихся в нем людей, например, между сиденьями расположена тумба. В ней находится складная столешница, которая закреплена в корпусе тумбы шарнирно на оси. Тумба сверху закрывается крышкой, состоящей из двух частей. При необходимости пользователь открывает одну из частей крышки, а другую ее часть откидывает назад (она является опорой для столешницы в разложенном состоянии). Затем выдвигает из ниши корпуса сложенную столешницу, поворачивая ее вокруг оси, на которой она закреплена, до упора в откинутую часть крышки, после чего раскладывает сложенную гармошкой столешницу. Разложенный столик можно использовать по назначению – поставить на него контейнер с едой, положить книгу, газету или различные другие мелкие предметы.
Описанную конструкцию целесообразно использовать в автомобилях, автобусах, в железнодорожных поездах. Но использование описанного столика предполагает наличие достаточно большого пространства, поэтому в самолетах эта конструкция не применима в силу ограниченного пространства в кабине экипажа, так как в ней нет возможности устанавливать достаточно большую по объему автономную тумбу столика.
Также известен складной стол, устанавливаемый на транспортном средстве, преимущественно на самолете (см. международную заявку WO 98/36967, кл. В 64 D 11/06, опубл. 27.08.1998). Описываемый в указанной заявке стол устанавливается либо на боковой стенке, либо на перегородке, разделяющей пассажирские места, в специально образуемой нише. Столешница состоит из трех шарнирно соединенных частей. Поскольку стол расположен в нише, он находится далеко от пассажира. Чтобы регулировать расстояние между столом и пассажиром столешница имеет возможность перемещаться в направляющих вперед-назад по полету. При этом нижняя часть направляющей играет одновременно роль упора.
Описанный стол предназначен для использования на самолете при оборудовании салона первого класса, пассажирами которого обычно предъявляются повышенные требования к комфорту и обособленности. В салоне первого класса устанавливается меньше кресел, чем в салоне эконом-класса, увеличивая пространство, приходящееся на одного пассажира. По этой причине такой стол не может быть установлен в кабине экипажа, где пространство очень сильно ограничено.
В международной заявке WO 96/18537, кл. В 64 D 11/00, опубл. 20.06.1996 описано пассажирское кресло для авиапассажира повышенной комфортности, а также предложены варианты компоновки столика в салоне самолета. Пассажирское кресло в своем составе имеет складной столик. Один из вариантов исполнения столика – выдвигаемый из стилизованной перегородки, разделяющей пассажирские кресла. Столешница выдвигается из перегородки сначала в вертикальное положение, а затем переводится в горизонтальное. При этом столик размещается на высоте рабочей зоны пассажира.
Известна конструкция стола для транспортного средства, располагаемого в двери машины (см. Европейский патент 778174, кл. В 60 N 3/00, опубл. 11.06.1997). Столик состоит из множества шарнирно соединенных элементов – сегментов. Внутри двери за декоративной обивкой расположена криволинейная направляющая, по которой выдвигается столик. В убранном положении боковая кромка стола является элементом декоративной обивки двери. При необходимости пассажир выдвигает столик из щели в рабочее положение, потянув его на себя. Однако работать за таким столиком не удобно из-за неоднородной поверхности столешницы. Столик может использоваться только для установки отдельных предметов.
Известен складной стол, который занимает мало места. Он является элементом декоративной обшивки пассажирского салона транспортного средства, преимущественно железнодорожного вагона, фургона, вагончика (см. заявку ФРГ 19822694, кл. А 47 В 5/04, опубл. 25.11.1999). Данный стол имеет столешницу расположенную в панели, установленной заподлицо с декоративной обшивкой салона транспортного средства. Столешница связана с конструкцией панели выдвигающимся шарниром с упором, ось вращения которого расположена горизонтально. Если необходимо воспользоваться столом, пассажир поднимает панель стола, выдвигает столешницу из панели, поворачивает ее относительно горизонтальной оси. Перед панелью стола может быть выполнена ниша для размещения небольших предметов, например газет, журналов. Внутри столешницы расположены направляющие, по которым она может выдвигаться в удобное для пассажира положение.
Недостатком такого столика является необходимость установки панели так, чтобы в выдвинутом положении ось шарниров столешницы была бы расположена на высоте его применения, что не возможно реализовать в габаритах кабины экипажа самолета из-за кривизны борта и необходимости расположения столика в зоне установки механизма открытия форточки кабины. Другим недостатком столика является установка упоров его рабочего положения в зоне шарниров разворота столика, что влечет за собой усиленную конструкцию направляющих перемещения столешницы и соответственно утяжеление ее конструкции.
Наиболее близким к предлагаемому техническому решению является конструкция стола, устанавливаемого в салоне самолета и являющегося частью внутренней декоративной панели стенки салона (см. патент США 6520091, кл. А 47 В 23/00, опубл. 18.02.2003). Столешница состоит из двух частей, раскладываемых при выдвижении стола и образующих единую поверхность стола. Столешница двумя закрепленными по ее бокам кронштейнами шарнирно связана с двумя рычагами соответственно. Последние также шарнирно установлены на каретках. Каретки жестко закреплены на противоположных концах балки и перемещаются по вертикальным направляющим. На балке и на полу самолета установлены две горизонтальные направляющие, по которым перемещаются ползуны, соединенные соответственно с рычагами, шарнирно установленными на балке и полу, а также шарнирно связанными между собой. Последняя описанная конструкция представляет собой как бы ножницы. В сложенном состоянии столешница образует панель стенки салона самолета. При раскладывании стола каретки вместе с балкой двигаются вверх по вертикальным направляющим, при этом ползуны перемещаются по горизонтальным направляющим балки. Одновременно столешница раскладывается благодаря шарнирному соединению с рычагами и из вертикального положения перемещается в горизонтальное. Достигнув крайнего верхнего положения механизм стопорится. Недостатком столика является сложность конструкции и необходимость размещения его на уровне рабочей высоты.
Предлагаемое техническое решение направлено на решение задачи по созданию конструкции компактного столика для транспортного средства, а именно летательного аппарата, размещаемого в кабине экипажа, где постом ручного управления является штурвал.
При длительных полетах экипаж должен иметь возможность работы с технической и полетной документацией. В состав экипажа небольшого пассажирского самолета регионального класса входят обычно только два пилота, поэтому в целях обеспечения безопасности пилоты не могут на длительное время покидать свои места. В кабинах самолетов размещают обеденные столики, но их размещают в самолетах, имеющих в качестве поста управления боковую ручку управления, а не штурвал.
Предлагаемая конструкция складного столика позволит пилоту небольшого пассажирского самолета регионального класса со штурвальным постом управления, не покидая кабины самолета, работать с технической документацией и питаться.
Поставленная задача решается тем, что конструкция складного столика состоит из корпуса, размещенных в нем связанных между собой опорной секции и столешницы, установленных с возможностью линейного перемещения относительно друг друга и относительно корпуса, и механизма фиксации опорной секции в выдвинутом положении. Опорная секция и столешница связаны между собой подкосом, концы которого выполнены в виде цапф, установленных в направляющих опорной секции и столешницы соответственно. Цапфа подкоса, установленная в направляющей столешницы, связана с упругим элементом, закрепленным у края столешницы. Механизм фиксации опорной секции в выдвинутом положении выполнен с двумя пружинными фиксаторами, расположенными в нижней части опорной секции. Пружинные фиксаторы взаимодействуют через рычажный механизм с концом подкоса, перемещающимся в направляющей опорной секции при переводе столешницы и опорной секции в убранное положение. В корпусе выполнены два отверстия, в которые входят штоки пружинных фиксаторов при перемещении опорной секции в рабочее положение для фиксации положения опорной секции. Опорная секция установлена в направляющих корпуса, а столешница расположена в направляющих опорной секции. Опорная секция выполнена с двумя упорами выдвинутого положения столешницы и одним из упоров рабочего положения подкоса, расположенным на стенке опорной секции. Другой упор рабочего положения подкоса выполнен в направляющей столешницы. Столешница снабжена шарнирно связанной с ней кареткой, расположенной в направляющих опорной секции. Кроме того, столешница выполнена по меньшей мере из двух шарнирно соединенных друг с другом частей, одна из которых имеет нишу для фиксации устанавливаемых на нее предметов.
Предлагаемое изобретение далее иллюстрируется чертежами, на которых изображено:
На фиг.1 – вид на складной столик в раздвинутом положении секций со снятой стенкой опорной секции.
На фиг.2 – вид сбоку на складной столик в его выдвинутом положении.
На фиг.3 – общий вид столика в процессе раскладывания.
На фиг.4 показан вариант размещения столика в кабине пилотов.
На фиг.5 – 9 показана последовательность выдвижения складного столика в рабочее положение.
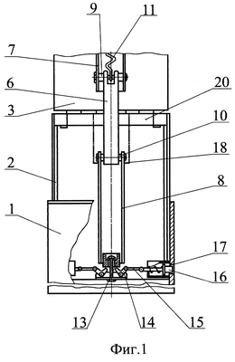
Предлагаемый столик состоит (см. фиг.1, 2, 3) из корпуса 1, опорной секции 2 и столешницы 3. Опорная секция 2 и столешница 3 расположены в корпусе 1 с возможностью перемещения в вертикальном направлении относительно друг друга. Корпус 1 содержит направляющие для опорной секции 2, а столешница 3 перемещается в опорной секции 2 по направляющим 4, которые расположены на боковых сторонах опорной секции 2 (см. фиг.3), до упоров 5. Таким образом, корпус 1, опорная секция 2 и столешница 3 образуют телескопическое соединение.
Опорная секция 2 и столешница 3 соединены между собой подкосом 6, установленным с возможностью перемещения по двум направляющим 7 и 8 (см. фиг.2). Направляющие 7 расположены на столешнице 3, на той ее стороне, которая в рабочем положении столика будет нижней. Направляющие 8 расположены в опорной секции 2 со стороны, противоположной той стороне, вблизи которой размещена столешница 3. Концы подкоса 6 выполнены в виде цапф 9, 10 (см. фиг.1).
Конец подкоса 6, перемещающийся по направляющим 7 столешницы 3, соединен с упругим элементом 11, например пружиной. Пружина 11 прикреплена на ограничителе 12 убранного положения столешницы 3.
Для стопорения опорной секции 2 в выдвинутом положении столик содержит механизм фиксации (см. фиг.1). Механизм фиксации опорной секции 2 в выдвинутом положении представляет собой рычажный узел, состоящий из толкателя 13, двух качалок 14, тяг 15 и двух подпружиненных фиксаторов 16. Механизм фиксации опорной секции 2 в выдвинутом положении расположен в нижней части опорной секции 2. Толкатель 13 механизма фиксации взаимодействует с концом подкоса 6. Штоки подпружиненных фиксаторов 16 механизма фиксации опорной секции 2 в выдвинутом положении при перемещении опорной секции 2 входят в отверстия 17, выполненные в стенках корпуса 1, чем обеспечивается фиксация опорной секции 2 в корпусе 1.
Опорная секция 2 имеет два упора 5 (см. фиг.2, 3), установленных на направляющих 4 опорной секции 2 внутри ее полости в верхней части. На упоры 5 и торцы направляющих 4 столешница 3 опирается одной своей стороной, когда находится в раскрытом (горизонтальном) положении.
Складной столик также имеет два упора рабочего положения подкоса 6. Один из них находится на опорной секции 2 и выполнен в виде центрального выреза 18 в верхней части стенки опорной секции 2. На фиг.1 условно показан центральный вырез 18 на снятой стенке опорной секции 2. Другой упор 19 рабочего положения подкоса 6 выполнен в направляющих 7 столешницы 3 и может являться, например, концом прорези направляющих 7 (см. фиг.3).
Перемещение столешницы 3 по направляющим 4 опорной секции 2 (см. фиг.3) осуществляется совместно с кареткой 20 (см. фиг.2), соединенной шарниром 21 со столешницей 3. Столешница 3 выдвигается из опорной секции 2, а затем, благодаря шарнирному соединению 21 каретки 20 и столешницы 3, последняя поворачивается из вертикальной в горизонтальную плоскость, являющуюся ее рабочим положением; при этом каретка 20 остается в направляющих 4, фиксируясь своими захватами 22 и упорами 5, и таким образом удерживает столешницу 3 от перемещения в вертикальной плоскости.
Для увеличения рабочей поверхности столика столешница 3 может состоять из нескольких секций, например из двух (см. фиг.2, 3, 8, 9), соединенных между собой шарниром 23. При раскладывании столика одна из секций столешницы 3 опирается, как было отмечено выше, на боковые упоры 5 опорной секции 2 и на подкос 6. Вторая секция столешницы 3 опирается на ручку 24, которая является частью первой секции столешницы 3. На одной из секций столешницы 3 может располагаться ниша 25 для фиксации каких-либо предметов.
Предлагаемый столик может быть установлен практически в любом удобном месте как в салоне транспортного средства, так и в кабине самолета, недалеко от пассажирского места или кресла оператора. Например, в кабине самолета предлагаемый столик может быть установлен (см. фиг.4) сбоку от кресла пилота, на боковой приборной панели 26. Корпус столика устанавливается заподлицо с поверхностью панели 26 кабины (см. фиг.5), а опорная секция выдвигается на необходимую рабочую высоту.
Достоинством предлагаемого столика является то, что он может устанавливаться на любой рабочей высоте столешницы, т.к. наличие опорной секции позволяет выдвигать его на необходимую высоту.
Выдвижение складного столика в рабочее положение показано на фиг.6 – 9 и производится следующим образом. Потянув за ручку столика 24, пилот вытягивает из корпуса 1 столешницу 3 (см. фиг.6). Столешница 3 по направляющим 4 (см. фиг.3) опорной секции 2 перемещается вверх. Перемещение столешницы 3 производится до момента, когда выступы 22 каретки 20 столешницы 3 не коснутся упоров 5. После этого касания перемещение столешницы 3 вверх происходит уже с опорной секцией 2, которая начинает выдвигаться из корпуса 1. Когда опорная секция 2 достигает необходимого положения (см. фиг.7) происходит ее фиксация при помощи механизма фиксации. При этом штоки подпружиненных фиксаторов 16 совмещаются с отверстиями 17 корпуса 1 столика и заходят в них, чем обеспечивается фиксация опорной секции 2 в необходимом положении, которое является максимально выдвинутом для опорной секции 2, столешницы 3 и подкоса 6.
В этом положении (см. фиг.3 и 7) столешница 3 подготовлена к переводу ее в горизонтальное состояние. Перевод столешницы в горизонтальное состояние (см. фиг.8) осуществляется благодаря шарнирному соединению 21 каретки 20 и столешницы 3, при этом левый край столешницы 3 (см. фиг.8) ложится на упоры 5, а другой край удерживается подкосом 6. Для легкой раскладки столика необходимо, чтобы перевод столешницы 3 из вертикального положения в горизонтальное состояние осуществлялся при максимально высоком положении подкоса 6. Такое положение подкоса 6 обеспечивается пружиной 11, один конец которой связан с подкосом 6 (см. фиг.6), а другой закреплен на ограничителе 12 убранного положения столешницы 3. Кроме того, пружина 11 необходима для прижатия подкоса 6 к упору 19, когда столик находится в рабочем положении. Столешница 3 состоит из двух секций, сложенных вместе. После того как столешницу 3 перевели в рабочее горизонтальное положение, вторая секция может быть откинута (см. фиг.9).
В таком виде столик готов для использования. На нем можно разложить карту, техническую документацию, поставить контейнер с едой. На одной из секций столешницы выполнена ниша (углубление), в которую для фиксации в целях исключения травматизма помещается стакан с напитками.
Складывание столика происходит в обратном порядке. Сначала складывают секции столешницы, затем пилот поднимает столешницу 3 в вертикальное положение. В вертикальном положении столешница 3 убирается по направляющим внутрь опорной секции 2. Подкос 6 перемещается по направляющей 8 опорной секции 2 вниз и своим нижним концом соприкасается с толкателем 13 механизма фиксации опорной секции в выдвинутом положении. Для выведения опорной секции 2 из зафиксированного положения надо приложить небольшое усилие на ручку столика 24. Это усилие передается через подкос 6 на толкатель 13 механизма фиксации. Толкатель 13 перемещается вниз и давит на качалки 14. Перемещаясь, качалки 14 сдвигают к центру (внутрь опорной секции) через тяги 15 подпружиненные фиксаторы 16, последние выходят из отверстий 17 корпуса 1 столика.
Опорная секция 2 освобождается от фиксации и совместно со столешницей 3 по направляющим перемещается внутрь корпуса 1.
Разработанная конструкция столика компактна, занимает немного места, ее можно использовать в транспортных средствах, где объем на одного человека ограничен. В частности столик можно использовать в кабине небольшого самолета со штурвальным постом управления.
Формула изобретения
1. Складной столик, характеризующийся наличием размещенных в корпусе связанных между собой опорной секции и столешницы, установленных с возможностью линейного перемещения относительно корпуса, фиксации опорной секции в выдвинутом положении, линейного перемещения столешницы относительно опорной секции и перевода столешницы из вертикального в горизонтальное рабочее положение.
2. Складной столик по п.1, характеризующийся тем, что опорная секция и столешница связаны между собой подкосом, концы которого выполнены в виде цапф, установленных в направляющих опорной секции и столешницы соответственно.
3. Складной столик по п.2, характеризующийся тем, что цапфа подкоса, установленная в направляющей столешницы, связана с упругим элементом, закрепленным у края столешницы.
4. Складной столик по п.1, характеризующийся тем, что механизм фиксации опорной секции в выдвинутом положении выполнен с двумя пружинными фиксаторами, расположенными в нижней части опорной секции, взаимодействующими через рычажный механизм с концом подкоса, перемещающимся в направляющей опорной секции при переводе столешницы и опорной секции в убранное положение.
5. Складной столик по п.4, характеризующийся тем, что в корпусе выполнены два отверстия, в которые входят штоки пружинных фиксаторов при перемещении опорной секции в рабочее положение для фиксации положения опорной секции.
6. Складной столик по п.1, характеризующийся тем, что опорная секция установлена в направляющих корпуса, а столешница расположена в направляющих опорной секции.
7. Складной столик по п.1, характеризующийся тем, что опорная секция выполнена с двумя упорами выдвинутого положения столешницы и одним из упоров рабочего положения подкоса, расположенным на стенке опорной секции, другой же из упоров рабочего положения подкоса выполнен в направляющей столешницы.
8. Складной столик по любому из пп.1-7, характеризующийся тем, что столешница снабжена шарнирно связанной с ней кареткой, расположенной в направляющих опорной секции, и выполнена, по меньшей мере, из двух шарнирно соединенных друг с другом частей, одна из которых выполнена с нишей для фиксации устанавливаемых на нее предметов.
РИСУНКИ
|
|