|
|
(21), (22) Заявка: 2002129357/12, 28.03.2001
(24) Дата начала отсчета срока действия патента:
28.03.2001
(30) Конвенционный приоритет:
05.04.2000 ES U 200000928
(43) Дата публикации заявки: 20.03.2004
(45) Опубликовано: 20.03.2006
(56) Список документов, цитированных в отчете о поиске:
WO 9103185 A1, 21.03.1991. US 4198838 A, 22.04.1980. FR 2340699 A1, 09.09.1977. DE 2960610 U1, 05.06.1996. SU 1400603 A1, 07.06.1988.
(85) Дата перевода заявки PCT на национальную фазу:
05.11.2002
(86) Заявка PCT:
ES 01/00123 (28.03.2001)
(87) Публикация PCT:
WO 01/74191 (11.10.2001)
Адрес для переписки:
129010, Москва, ул. Б.Спасская, 25, стр.3, ООО “Юридическая фирма Городисский и Партнеры”, пат.пов. С.А.Дорофееву
|
(72) Автор(ы):
СЕРДАН МАРТИН Томас (ES), ФРИАС ФРИАС Антонио (ES)
(73) Патентообладатель(и):
СЕРДАН МАРТИН Томас (ES), ФРИАС ФРИАС Антонио (ES)
|
(54) УСОВЕРШЕНСТВОВАННЫЙ ДЕРЖАТЕЛЬ ДЛЯ КЛЮЧЕЙ
(57) Реферат:
Изобретение относится к держателям для ключей. Усовершенствованный держатель для ключей состоит из коробки, которая имеет центральную часть, образованную двумя стенками, соединенными наверху полукруглой частью и внизу изогнутой частью, и имеющую на одной из своих стенок продольную прорезь, разделяющую ее на две сходные части, при этом коробка имеет два выступа с центральным пазом и продольный выступ, расположенные на другой стенке. Внутри коробки расположен удерживающий корпус. Изобретение обеспечивает повышение удобства использования. 4 з.п. ф-лы, 13 ил. 
Настоящее изобретение относится к усовершенствованному держателю для ключей, обеспечивающему возможность группирования нескольких ключей, размещенных в корпусе, так чтобы можно было выбрать необходимый ключ, находящийся в группе и расположенный по порядку в корпусе, из которого он может быть извлечен в случае его замены.
Это изобретение применимо в промышленности, связанной с изготовлением колец для ключей, держателей для ключей и подобных предметов, а также может быть использовано в промышленности, связанной с изготовлением обычных принадлежностей.
Заявитель является держателем свидетельства на полезную модель, на которую в Испании подана заявка под номером 9300466 и опубликовано и выдано свидетельство под номером 1023911 с наименованием “Устройство для удержания ключей”.
Кроме того, заявителю принадлежат заявка на полезную модель, поданная в Испании с наименованием “Усовершенствованный держатель для ключей”, а также заявка на промышленный образец, поданная в Испании под номером 134959 с наименованием “Ключ”.
В вышеупомянутых заявках на полезные модели описан держатель для ключей, содержащий полый наружный корпус, внутри которого установлен с возможностью перемещения внутренний корпус, удерживающий специальный ключ, выполненный как стержень ключа, лишенный головки, и соединенный с осью или поперечным стержнем, прикрепленным к внутренним концам подвижного корпуса внутри наружного корпуса. Ключ извлекают, манипулируя снаружи с его несущей осью.
Указанная конструкция имеет ряд недостатков в общем функционировании вышеупомянутых элементов.
Целью настоящего изобретения является создание усовершенствованного держателя для ключей.
Усовершенствованный держатель для ключей, согласно изобретению, обладает очевидной новизной в области его применения и в связи с этим имеет ряд важных преимуществ, касающихся его функционирования.
Создан усовершенствованный держатель для ключей, содержащий наружную коробку и внутреннюю часть, выполненную с возможностью передвижения внутри коробки в поперечном и продольном направлениях коробки, в котором, согласно изобретению, коробка содержит центральную часть, образованную двумя плоскими и параллельными стенками, соединенными наверху полукруглую частью и внизу изогнутой частью, продольную прорезь, выполненную на одной из стенок, разделяющую эту стенку на две равные части, проходящую через верхнюю полукруглую часть и оканчивающуюся на другой стенке, продольный выступ, расположенный на верхней внутренней поверхности полукруглой части, два выступа с центральным пазом между ними и продольный выступ, расположенные на другой стенке, и выступ с центральным отверстием, расположенный на наружной поверхности изогнутой части.
Внутри коробки может быть расположен удерживающий корпус, изготовленный, как и коробка, из пластмассы и образованный двумя прямыми и параллельными стенками, соединенными внизу изогнутой частью, сопрягаемой с внутренней поверхностью изогнутой части коробки, и наверху двумя полукруглыми частями, на внутренних поверхностях которых закреплена поперечно расположенная ось, имеющая кольцевую канавку или суженную часть, при этом на одной из сторон удерживающего корпуса имеется верхняя поперечная стенка, расположенная параллельно нижней стенке, снабженной вертикальными и параллельными прорезями.
Коробка и корпус могут быть выполнены с возможностью соединения друг с другом посредством продольного выступа коробки, входящего в указанные прорези, двух выступов, помещаемых между поперечной стенкой и нижней стенкой, и выступа, расположенного на внутренней поверхности полукруглой части коробки, входящего в пазы, выполненные в верхних полукруглых частях корпуса.
Держатель для ключей может иметь круглую деталь, расположенную на поперечной оси корпуса, соединенную с ней посредством кольцевой канавки или сужающейся части оси, снабженную центральным отверстием, имеющим в своей внутренней части полукруглую форму, и имеющую два утолщения, расположенные у входа в отверстие, и значительно уменьшенную по толщине центральную часть, в которой присоединяется головка механически обработанного ключа.
Держатель для ключей может содержать деталь, изготовленную, как и вышеописанная круглая часть, из пластмассы и имеющую полукруглую часть, на одном из концов которой выполнена поперечно утолщенная часть, при этом указанная часть взаимодействует с прорезью на полукруглой части коробки.
Комплект ключей вертикально помещают внутрь удерживающего корпуса, который затем вставляют в коробку. Полукруглые верхние части удерживающего корпуса, снабженные поперечной осью, обеспечивают извлечение предварительно выбранного ключа. Ключ может быть выполнен как обычный ключ, в котором вместо его головки имеется обычная часть держателя для ключей, находящаяся вровень со стержнем ключа и имеющая фиксирующее отверстие.
После того как использован ключ, его перемещают в удерживающий корпус держателя, и, следовательно, усовершенствованный держатель для ключей можно вновь поместить в карман пользователя до его следующего применения.
Необходимо ясно указать, что кроме использования таких частей как коробка, удерживающий корпус, деталей для подсоединения ключа и его извлечения, ключи, которые предназначены для использования в этом держателе для ключей, должны быть предварительно механически обработаны в месте расположения головки, чтобы их можно было соединять с удерживающей деталью, которую затем надевают на ось, имеющую суженную часть для облегчения ее снятия.
Все части, используемые для изготовления держателя для ключей, за исключением самого ключа, изготовлены из пластмассы.
Далее приведено подробное описание изобретения со ссылками на сопровождающие чертежи, на которых изображено следующее:
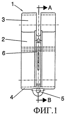
фиг.1 показывает вертикальный вид сбоку наружной коробки усовершенствованного держателя для ключей согласно изобретению,
фиг.2 – вид коробки в разрезе по линии А-В на фиг.1,
фиг.3 – вид удерживающего корпуса держателя для ключей, перемещаемого внутри коробки, показанной на фиг.1 и 2,
фиг.4 – вид корпуса в разрезе по линии C-D на фиг.3,
фиг.5 – виды сбоку, сверху и в разрезе части, к которой присоединяют ключи для их последующего соединения с удерживающим корпусом, показанным на фиг.3 и 4,
фиг.6 – виды сбоку и сверху детали, которая в соединении с наружной коробкой образует средство для снятия ключей,
фиг.7 – вертикальный вид сбоку держателя для ключей в сборе согласно изобретению,
фиг.8 – вид сбоку показанного на фиг.7 держателя для ключей согласно изобретению,
фиг.9 – вид сбоку со стороны, противоположной той, которая показана на фиг.7, держателя для ключей согласно изобретению,
фиг.10 – вид держателя для ключей в разрезе по линии E-F на фиг.8,
фиг.11 – вид держателя для ключей в разрезе по линии G-H на фиг.9,
фиг.12 – вид держателя для ключей согласно изобретению при перемещении удерживающего корпуса коробки, который перемещен с целью выбора одного из ключей, находящихся в корпусе,
фиг.13 – держатель для ключей согласно изобретению, когда ключ извлечен и находится в положении его использования.
Ниже описан предпочтительный вариант выполнения изобретения.
Из фиг.1 можно видеть, что показанная коробка 1 усовершенствованного держателя для ключей выполнена в виде удлиненного полого корпуса, центральная часть 2 которого образована двумя плоскими и параллельными стенками, соединенными наверху полукруглой частью 3 и внизу изогнутой частью 4, имеющей форму перевернутой полукруглой арки. На одной из стенок выполнена прорезь 6, которая продольно разделяет эту стенку на две одинаковые части, проходит через полукруглую часть 3 и оканчивается на другой стенке.
На наружной поверхности изогнутой части 4 расположен выступ 5 с центральным отверстием, используемым для прикрепления несущей цепочки, кольца или подобного предмета.
Как показано на фиг.2, на другой стенке, не имеющей прорези, выполнены два прямоугольных выступа 7 с пазом между ними пазом и продольный выступ 8. Продольный выступ 9 выполнен на верхней внутренней поверхности полукруглой части 3.
На фиг.3 показан размещенный внутри коробки 1 удерживающий корпус 10, изготовленный, как и коробка 1, из пластмассы и образованный двумя прямыми и параллельными стенками 11 и 11′, соединенными внизу изогнутой частью, сопрягаемой с внутренней поверхностью изогнутой части 4 коробки 1, и наверху двумя полукруглыми частями 12 и 12′. На внутренних поверхностях частей 12 и 12′ закреплена поперечно расположенная ось 14, имеющая кольцевую канавку или суженную часть 15 и предназначенная для расположения ключей, помещенных в корпус 10. На одной из сторон удерживающего корпуса 10 имеется верхняя поперечная стенка 18, расположенная параллельно нижней стенке 16, снабженной вертикальными и параллельными прорезями 17.
Коробка 1 и корпус 10 выполнены с возможностью соединения друг с другом посредством продольного выступа 8 коробки 1, входящего в прорези 17 и тормозящего перемещение корпуса 10, выступов 7, помещаемых между стенками 18 и 16 и направляющих перемещение корпуса 10, и выступа 9 коробки 1, входящего в пазы 13, выполненные в верхних полукруглых частях 12 и 12′ корпуса 10.
На фиг.5 показана круглая деталь 20, предназначенная для присоединения стержня ключа, расположенная на поперечной оси 14 корпуса 10 (фиг.11) и соединенная с ней посредством кольцевой канавки или сужающейся части 15 оси 14. Деталь 20 снабжена центральным отверстием 22, имеющим в своей внутренней части полукруглую форму. Деталь 20 имеет два утолщения 24, расположенные у входа в отверстие 22, и значительно уменьшенную по толщине центральную часть 23. Утолщения 24 вместе с центральной частью 23 обеспечивают возможность ключу после того как уменьшена его толщина и удалена его головка оставаться совершенно неподвижным в детали 20, точнее, в ее части 23, чтобы затем можно было поместить ключ внутрь корпуса 10, устанавливая его на несущей оси 14, при этом используя суженную часть 15 для облегчения его введения и последующего соединения.
Как показано на фиг.6, держатель содержит деталь 30, изготовленную, как и круглая деталь 20, из пластмассы и имеющую полукруглую часть 31, на одном из концов которой выполнена поперечно утолщенная часть 32, служащую местом приложения пальца пользователя для передвижения ключа 40 и выступающую вертикально вверх через прорезь 6, как это показано на фиг.13.
Для выбора ключа, подлежащего извлечению, перемещают удерживающий корпус 10 в коробке 1 и после определения ключа, подлежащего извлечению, перемещают утолщенную часть 32 для того, чтобы ключ 40, который фиксирован в центральной части 23 детали 20, надетой на ось 14, повернулся и вышел через прорезь 6, выталкиваемый частью 31 детали 30 при надавливании на утолщенную часть 32, оставаясь снаружи в положении его использования, а после использования ключ перемещают в обратном направлении и снова вводят в удерживающий корпус 10, действуя в направлении, обратном предшествующему.
Формула изобретения
1. Усовершенствованный держатель для ключей, содержащий наружную коробку и внутреннюю часть, выполненную с возможностью перемещения внутри коробки в поперечном и продольном направлениях коробки, отличающийся тем, что коробка (1) содержит центральную часть (2), образованную двумя плоскими и параллельными стенками, соединенными наверху полукруглой частью (3) и внизу изогнутой частью (4), продольную прорезь (6), выполненную на одной из стенок, разделяющую эту стенку на две равные части, проходящую через верхнюю полукруглую часть (3) и оканчивающуюся на другой стенке, продольный выступ (9), расположенный на верхней внутренней поверхности полукруглой части (3), два выступа (7) с центральным пазом между ними и продольный выступ (8), расположенные на другой стенке, и выступ (5) с центральным отверстием, расположенный на наружной поверхности изогнутой части (4).
2. Усовершенствованный держатель для ключей по п.1, отличающийся тем, что внутри коробки (1) расположен удерживающий корпус (10), изготовленный, как и коробка (1), из пластмассы и образованный двумя прямыми и параллельными стенками (11) и (11′), соединенными внизу изогнутой частью, сопрягаемой с внутренней поверхностью изогнутой части (4) коробки (1), и наверху двумя полукруглыми частями (12) и (12 ), на внутренних поверхностях которых закреплена поперечно расположенная ось (14), имеющая кольцевую канавку или суженную часть (15), при этом на одной из сторон удерживающего корпуса (10) имеется верхняя поперечная стенка (18), расположенная параллельно нижней стенке (16), снабженной вертикальными и параллельными прорезями (17).
3. Усовершенствованный держатель для ключей по п.2, отличающийся тем, что коробка (1) и корпус (10) выполнены с возможностью соединения друг с другом посредством продольного выступа (8), входящего в прорези (17) выступов (7), помещаемых между стенками (18) и (16), и выступа (9), входящего в пазы (13), выполненные в верхних полукруглых частях (12) и (12′) корпуса (10).
4. Усовершенствованный держатель для ключей по п.2 или 3, отличающийся тем, что имеет круглую деталь (20), расположенную на поперечной оси (14) корпуса (10), соединенную с ней посредством кольцевой канавки или сужающейся части (15) оси (14), снабженную центральным отверстием (22), имеющим в своей внутренней части полукруглую форму, и имеющую два утолщения (24), расположенные у входа в отверстие (22), и значительно уменьшенную по толщине центральную часть (23), к которой присоединяется головка механически обработанного ключа (40).
5. Усовершенствованный держатель для ключей по одному из пп.1-4, отличающийся тем, что содержит деталь (30), изготовленную, как и круглая часть (20), из пластмассы и имеющую полукруглую часть (31), на одном из концов которой выполнена поперечно утолщенная часть (32), при этом часть (30) взаимодействует с прорезью (6) на полукруглой части (3) коробки (1).
РИСУНКИ
MM4A – Досрочное прекращение действия патента СССР или патента Российской Федерации на изобретение из-за неуплаты в установленный срок пошлины за поддержание патента в силе
Дата прекращения действия патента: 29.03.2007
Извещение опубликовано: 27.07.2010 БИ: 21/2010
|
|