|
(21), (22) Заявка: 2004121225/13, 25.04.2003
(24) Дата начала отсчета срока действия патента:
25.04.2003
(30) Конвенционный приоритет:
18.10.2002 JP 2002-304049 27.12.2002 JP 2002-379492 11.03.2003 JP 2003-65697
(43) Дата публикации заявки: 10.10.2005
(45) Опубликовано: 20.03.2006
(56) Список документов, цитированных в отчете о поиске:
JP 11-127806 А, 18.05.1999. JP 2000-157149 А, 13.06.2000. RU 94009994 A1, 10.03.1996.
(85) Дата перевода заявки PCT на национальную фазу:
12.07.2004
(86) Заявка PCT:
JP 03/05340 (25.04.2003)
(87) Публикация PCT:
WO 03/070005 (28.08.2003)
Адрес для переписки:
129010, Москва, ул. Б.Спасская, 25, стр.3, ООО “Юридическая фирма Городисский и Партнеры”, пат.пов. С.А.Дорофееву
|
(72) Автор(ы):
ХАЯСИ Торахико (JP), МОРИКАВА Митио (JP), УЕНО Садао (JP), ОКАИЗУМИ Хироюки (JP)
(73) Патентообладатель(и):
РЕОН АУТОМАТИК МАШИНЕРИ КО., ЛТД. (JP)
|
(54) УСТРОЙСТВО И СПОСОБ ДЛЯ ИЗГОТОВЛЕНИЯ ХЛЕБА
(57) Реферат:
Изобретение относится к устройству и способу для изготовления хлеба. Способ включает стадию формования куска хлебного теста, дополнительную стадию формования для образования бруска теста посредством свертывания или складывания листа, стадию разрезания для бруска теста и стадию размещения кусков бруска теста в пекарной форме таким образом, что, по меньшей мере, одна плоскость среза обращена вверх. Устройство для изготовления хлеба включает подающее устройство, формующее устройство, режущее устройство для бруска теста, передающий конвейер для передачи кусков бруска теста и устройство для размещения кусков бруска теста таким образом, что, по меньшей мере, одна плоскость среза обращена вверх из пекарной формы. Устройство и способ позволяют находящимся между слоями бруска теста пузырькам воздуха выходить из поверхности среза кусков бруска теста, когда тесто поднимается и расширяется на стадиях ферментации и выпечки. 5 н. и 6 з.п. ф-лы, 13 ил. 
Настоящее изобретение относится к устройству и способу для изготовления хлеба. В частности, оно относится к устройству и способу для укладки хлебного теста в пекарную форму.
Обычно при изготовлении хлеба хлебное тесто нарезают на подходящие отрезки и помещают в пекарную форму. После окончательного дрожжевого брожения хлебного теста его выпекают в печи.
Обычно качество внутренней структуры хлеба, выпекаемого в печи, зависит от формы и ориентации хлебного теста, помещенного в пекарную форму. Поэтому продолжаются исследования для усовершенствования способов укладки хлебного теста.
Известны различные способы укладки. Например, после того, как куски хлебного теста раскатывают в листы, эти листы свертывают в цилиндрическую форму (в виде рулона) формующим устройством и т.д. Затем свернутое хлебное тесто сгибают в V-образную конфигурацию (как описано в ссылке №1) и помещают в пекарную форму. Для получения высококачественного хлеба также используют способы укладки для образования М-образной конфигурации (как описано в ссылке №2), с чередующимся направлением укладки свернутого хлебного теста (как описано в ссылке №3) с прямым направлением укладки вдоль пекарной формы без каких-либо изгибов (как описано в ссылках №№4 и 5), и с дополнительным скручиванием свернутого хлебного теста (как описано в ссылке №6).
Указанными выше ссылками являются следующие:
(1) Ссылка №1: JP 61-19215. (См. параграф 7 и фиг.1).
(2) Ссылка №2: выложенная полезная модель JP 60-62281. (См. фиг.1-5).
(3) Ссылка №3: JP 8-4446. (См. фиг.10).
(4) Ссылка №4: выложенный патент JP 11-127806. (См. п.1 и фиг.2).
(5) Ссылка №5: JP 2876515. (См. фиг.2, 3 и 4).
(6) Ссылка №6: выложенный патент JP 2001-299259. (См. п.1).
В вышеописанной традиционной технологии используют свернутое хлебное тесто, которое получают посредством свертывания (в рулон) листов хлебного теста. В этом случае между слоями свернутого хлебного теста могут образовываться воздушные пузыри, когда слои сформированного рулона ослаблены, или между ними могут образовываться пустоты. Таким образом, свернутое в рулон хлебное тесто может быть помещено в пекарную форму с присутствующими в нем воздушными пузырями.
Из-за наличия воздушных пузырей в свернутом хлебном тесте в выпеченном хлебе могут появляться большие воздушные пустоты, ухудшающие его качество, поскольку воздушные пузыри не могут выходить из свернутого хлебного теста.
Задачей настоящего изобретения является устранение этих недостатков и получение способов производства выпеченного хлеба без образования в нем каких-либо воздушных пустот.
Для решения этой задачи изобретение предлагает способ изготовления хлеба, предусматривающий стадию размещения хлебного теста в пекарной форме, стадию ферментации указанного хлебного теста и стадию выпекания указанного хлебного теста, причем этот способ включает стадию разрезания бруска теста, который имеет слои листов теста, на заданные отрезки, и стадию размещения отрезанных на стадии разрезания кусков бруска теста в пекарную форму таким образом, что по меньшей мере одна плоскость среза обращена вверх из указанной пекарной формы.
В другом варианте выполнения способ изготовления хлеба включает стадию разрезания бруска теста на заданные отрезки, причем указанное тесто имеет слои листов теста и включает в себя частицы твердого пищевого продукта, и стадию размещения отрезанных на стадии разрезания кусков бруска теста в пекарной форме таким образом, что по меньшей мере одна плоскость среза обращена вверх из указанной пекарной формы.
В еще одном варианте способ изготовления хлеба включает стадии формования и подачи для формирования листа указанного хлебного теста и транспортировки указанного листа конвейером, стадию формирования из указанного листа хлебного теста бруска теста, имеющего слои из листов теста, стадию разрезания бруска теста на заданные отрезки и стадию размещения отрезанных на стадии разрезания кусков теста в пекарной форме таким образом, что по меньшей мере одна плоскость среза обращена вверх из указанной пекарной формы.
Перед стадией разрезания бруска теста или в ходе нее указанный брусок теста можно также деформировать таким образом, чтобы он имел эллиптическое поперечное сечение.
Изобретение также предлагает устройство для изготовления хлеба, содержащее передающий конвейер для передачи кусков бруска теста, отрезанных с заданной длиной, и устройство для размещения указанных кусков теста в пекарной форме таким образом, что по меньшей мере одна плоскость среза обращена вверх из указанной пекарной формы.
В другом варианте выполнения устройство для изготовления хлеба содержит подающее устройство для транспортировки листа хлебного теста, формующее устройство для образования из указанного листа хлебного теста бруска теста, имеющего слои из листов теста, режущее устройство для разрезания указанного бруска теста на заданные отрезки, передающий конвейер для передачи кусков бруска теста, отрезанных указанным режущим устройством, и устройство для размещения указанных кусков бруска теста в пекарной форме таким образом, что по меньшей мере одна плоскость среза обращена вверх из указанной пекарной формы.
Устройство по изобретению может также содержать посыпающее устройство для насыпания частиц твердого пищевого продукта на листы или на непрерывный лист на конвейере для транспортирования листов или непрерывного листа таким образом, что брусок теста будет содержать в себе частицы твердого пищевого продукта.
В соответствии с устройством и способом по изобретению, если между слоями бруска свернутого или сложенного теста имеются воздушные пузыри, то в результате размещения кусков бруска теста в пекарную форму таким образом, чтобы по меньшей мере одна плоскость среза была обращена вверх, пузыри воздуха смогут выходить из кусков, когда они поднимаются и расширяются на стадиях брожения и выпечки. Таким образом, воздушные пузыри не остаются в кусках бруска теста.
Как указано выше, поскольку настоящее изобретение включает стадию формования для образования бруска теста посредством свертывания или складывания листов теста, стадию разрезания бруска теста и стадию размещения кусков теста в пекарную форму таким образом, чтобы по меньшей мере одна плоскость среза была обращена вверх, то если между слоями листов находятся воздушные пузыри, они смогут легко выходить из кусков бруска теста и можно эффективно изготавливать высококачественный хлеб.
Краткое описание чертежей
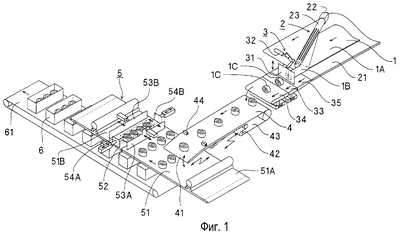
Фиг.1 – вид в перспективе устройства для изготовления хлеба по настоящему изобретению.
Фиг.2-6 – схематичные виды устройства для размещения, работающего согласно изобретению.
Фиг.7(а) – первый вариант размещения кусков бруска теста согласно изобретению.
Фиг.7(b) – второй вариант размещения кусков бруска теста согласно изобретению.
Фиг.8-11 – другой вариант выполнения устройства для размещения кусков бруска теста согласно изобретению.
Фиг.12 – вид в перспективе другого устройства для изготовления хлеба согласно изобретению.
Фиг.13 – схематичные виды, показывающие, как воздушные пузыри выходят из кусков бруска теста, содержащих частицы твердого пищевого продукта.
Предпочтительный вариант выполнения изобретения
Настоящее изобретение поясняется примером его выполнения. На фиг.1 показан вид в перспективе устройства для изготовления хлеба согласно изобретению. В этом варианте выполнения конвейер 21 транспортирует непрерывный лист 1 хлебного теста, формующее устройство 2 образует из непрерывного листа хлебного теста 1А брусок 1В теста посредством свертывания листов (в рулон), а затем режущее устройство 3 разрезает брусок 1В теста на куски 1С теста заданного размера. Куски 1С теста переносятся в устройство 5 для размещения подающим конвейером 4. Затем заданное количество кусков 1С теста размещают в пекарной форме 6 устройством 5 для размещения.
Этот вариант изобретения далее описывается подробно.
Непрерывный лист 1А хлебного теста предварительно изготавливают на любом хорошо известном устройстве для формирования листа теста. Например, листы хлебного теста изготавливают на устройстве для раскатывания пищевого теста (заявка на патент Японии №2002-28681, принадлежащая настоящему заявителю). Кроме того, устройства для изготовления листов пищевого теста описывают выложенные патенты JP №№9-172983 и 9-187213. Каждое из этих устройств имеет две группы валиков, которые расположены в V-образной конфигурации таким образом, что расстояние между верхними валиками превышает расстояние между нижними валиками. Согласно изобретению, устройство для формирования листа теста может также формировать листы заданной толщины, если это требуется.
Формующее устройство 2 образует из листа 1А хлебного теста брусок 1В теста посредством свертывания листов с одной стороны. По диагонали поперек листа 1А хлебного теста располагают валик 23 так, что головка валика направлена по ходу конвейера. Электродвигатель 22 приводит в движение валик 23 так, что направление его вращения обеспечивает подъем листа хлебного теста вверх (против часовой стрелки при взгляде спереди).
Таким образом, валик 23 контактирует с листом 1А хлебного теста и постепенно свертывает его в цилиндрическую форму, и он затем движется по ходу конвейера, при этом тесто окончательно принимает форму бруска 1В, когда проходит головку валика 23. Далее его перемещает режущий конвейер 35. Диагональный угол расположения валика 23 регулируют в соответствии с толщиной, шириной и свойствами листа хлебного теста и в соответствии с диаметром или количеством слоев в бруске теста.
Диаметр валика 23 может постепенно увеличиваться в направлении перемещения подачи теста, поскольку диаметр бруска теста у основания валика 23 отличается от его диаметра у головки валика. Когда ширина листа и диаметр бруска теста большие, вместо одного валика 23 можно также использовать несколько валиков. В этом случае диаметр валика, расположенного дальше по ходу, может быть больше диаметра валика, расположенного перед ним, или скорость вращения валика, расположенного дальше по ходу, может быть выше скорости вращения валика, расположенного перед ним.
Брусок 1В теста разрезают на заданные отрезки режущим устройством 3. Режущее устройство 3 снабжено ножом 31, узлом 32 привода ножа, первым взвешивающим конвейером 33 и вторым взвешивающим конвейером 34. Первый взвешивающий конвейер 33 измеряет вес непрерывного бруска 1В теста. Когда измеряемый вес достигает заданного значения, нож 31 для разрезания бруска 1В теста приводится в действие приводным узлом 32, имеющим такие механизмы, как пневматический цилиндр.
Нарезанные куски 1С бруска теста переносят с первого взвешивающего конвейера 33 на второй взвешивающий конвейер 34. Второй взвешивающий конвейер 34 снова измеряет вес кусков бруска 1С теста. В соответствии с результатами измерений, вторым взвешивающим конвейером 34 осуществляется регулирование периодичности стадий резания ножом 31, приводимым в действие узлом 32 привода ножа. Если длина кусков 1С превышает длину первого взвешивающего конвейера 33, стадия нарезания может осуществляться в соответствии с суммой результатов измерений, полученных первым взвешивающим конвейером 33 и вторым взвешивающим конвейером 34.
В этом варианте изобретения используют способ нарезания бруска 1В теста в соответствии с результатами измерений веса кусков 1С теста взвешивающими конвейерами 33 и 34. Однако можно также применять другой способ нарезания бруска 1В теста в соответствии с длиной кусков 1С бруска теста. В этом случае режущее устройство может разрезать брусок 1В теста на куски 1С теста, имеющие заданную длину, с помощью такого средства, как датчик поворота, определяющий момент, когда расстояние, пройденное конвейерной лентой (по углу поворота приводного вала), равно требуемой длине кусков 1С бруска теста.
Между передающим конвейером 4 и вторым взвешивающим конвейером 34 имеется перепад высот. Это вызывает опрокидывание кусков 1С бруска теста таким образом, что их плоскости среза оказываются обращенными к ленте транспортирующего конвейера 4 и вверх, когда куски 1С бруска теста перемещаются со второго взвешивающего конвейера 34 на транспортирующий конвейер 4. Затем транспортирующий конвейер 4 перемещает куски 1С бруска теста.
Этот перепад высот регулируют в соответствии с длиной кусков 1С бруска теста таким образом, чтобы они безусловно опрокидывались.
Выходной конец 41 передающего конвейера 4 может перемещаться вверх и вниз и достигать ленты 51А транспортирующей части 51 устройства для размещения, расположенного под транспортирующим конвейером 4, или отводиться от нее. Выходной конец 41 может перемещаться от одной стороны к другой стороне транспортирующей части 51 в поперечном направлении. Таким образом, передающий конвейер 4 может по очереди перемещать куски 1С теста на транспортирующую часть 51. При этом работе транспортирующей части 51 способствует обратное перемещение выходного конца 41.
На фиг.1 показаны четыре куска 1С бруска теста, расположенные в один ряд в поперечном направлении на транспортирующей части 51. Например, поскольку выходной конец 41 может перемещаться вниз и назад с заданной задержкой, когда датчики 44 обнаруживают куски 1С теста, которые необходимо переместить, передающий конвейер 4 может по очереди переместить их на транспортирующую часть 51. Когда интервалы между кусками 1С теста на передающем конвейере 4 не одинаковы, интервалы между переданными кусками 1С теста на транспортирующей части 51 также будут неодинаковы. В этом случае можно использовать описанный ниже метод обеспечения одинаковых интервалов между кусками 1С на транспортирующей части 51. В качестве другого варианта выложенный патент JP №9-322718 предлагает способ изменения скорости обратного перемещения выходного конца 41 в зависимости от интервалов между кусками 1С теста на передающем конвейере 4, чтобы интервалы между ними на транспортирующей части 51 были одинаковы.
В качестве другого варианта обеспечения одинаковых интервалов между кусками 1С теста на транспортирующей части 51 выложенная полезная модель JP №1-147324 также описывает способ, в котором выходной конец 41 перемещается назад на заданное расстояние от стационарного положения, когда куски 1С теста обнаружены датчиками 44, при непрерывном движении ленты 43 передающего конвейера 4. Эта последовательность повторяется для завершения их передачи.
Холостой шкив обеспечивает натяжение ленты, когда выходной конец 41 передающего конвейера 4 перемещается назад.
Устройство для размещения снабжено транспортирующей частью 51, которая имеет ленту 51А для приема кусков 1С теста с передающего конвейера 4 и промежуток 52 между выходным концом ленты 51А и входным концом ленты 51В, обращенным к концу ленты 51А.
Промежуток 52 образован между концевыми пластинами 52А и 52В, которые могут сближаться или удаляться друг от друга (см. фиг.2-6).
Над промежутком 52 расположены направляющие пластины 53А и 53В, которые могут сближаться или удаляться друг от друга при сужении или расширении промежутка 52 при помощи приводных средств, таких как пневматические цилиндры. С обеих сторон направляющих пластин 53А и 53В расположены направляющие пластины 54А и 54В. Они могут сближаться или удаляться друг от друга при помощи приводных средств, таких как пневматические цилиндры. Перед направляющей пластиной 53А расположено сенсорное устройство 55 для обнаружения кусков 1С теста.
Кроме того, направляющая пластина 53А может перемещаться по вертикали для исключения ее столкновения с кусками 1С теста, перемещаемыми транспортирующей частью 51.
Под промежутком 52 расположена транспортирующая часть 61 для форм 6. Транспортирующая часть 61 подает пекарные формы 6 под промежуток 52 в требуемые моменты времени.
Транспортирующая часть 61 для форм 6 может подавать каждую пекарную форму 6 в требуемое положение в соответствии с конструкцией или конфигурацией пекарных форм 6. На фиг.5 и 6 показано, что каждая пекарная форма независима. Например, если три пекарные формы 6 соединены друг с другом, транспортирующая часть 61 для форм 6 может транспортировать их подходящим образом при изменении, если требуется, конструкции транспортирующей части 61 для форм 6.
Далее подробно описывается каждая стадия изготовления хлеба на основе указанных выше вариантов выполнения настоящего изобретения.
Сначала формующее устройство 2 образует из листа 1А хлебного теста брусок 1В теста посредством вращения валика 23. Затем режущее устройство 3 разрезает брусок 1В теста на куски заданного веса и размера. Передающий конвейер 4 транспортирует отрезанные куски 1С таким образом, что их плоскости среза обращены вверх и вниз.
В этом варианте изобретения выходной конец 41 передающего конвейера 4 перемещается назад и передает куски 1С бруска теста на транспортирующую часть 51 устройства 5 для размещения таким образом, чтобы четыре куска 1С теста располагались рядом друг с другом и с равными интервалами поперечно транспортирующей части 51.
Когда сенсорное устройство 55 обнаруживает ряд кусков 1С теста, транспортирующая часть 51 останавливается таким образом, что ряд кусков 1С теста оказывается в заданном положении в промежутке 52 между смежными лентами. Направляющие пластины 53А и 53В и 54А и 54В сближаются и удаляются друг от друга соответственно так, чтобы позиционировать положение ряда кусков 1С теста. Это точное позиционирование позволяет легко помещать их в пекарные формы 6.
Затем, когда концевые пластины 52А и 52В в промежутке 52 между лентами удаляются друг от друга, ряд кусков 1С теста падает вниз и оказывается в пекарной форме. Эту последовательность повторяют для размещения всех кусков теста в пекарных формах.
В описанном выше варианте изобретения за один раз в пекарную форму помещают четыре куска 1С теста. Но это количество не ограничено. Если требуется поместить в пекарную форму более четырех кусков теста, можно помещать требуемое количество кусков 1С теста в пекарную форму при уменьшении диаметра каждого из них. В этом случае куски 1С теста можно деформировать таким образом, чтобы они имели эллиптическое поперечное сечение (см. фиг.7(b)) для более эффективной укладки в пекарную форму.
На фиг.9 показана часть устройства для изготовления хлеба, в котором наряду с другими операциями, показанными на фиг.1, дополнительно выполняется операция деформирования бруска 1В теста таким образом, чтобы он приобрел эллиптическое поперечное сечение. Для деформирования бруска 1В используют валик 8. Расстояние между валиком 8 и поверхностью ленты конвейера регулируют таким образом, чтобы оно становилось, по меньшей мере, меньше диаметра бруска 1В теста, подаваемого конвейером. Валик 8 вращается в таком направлении, чтобы направление перемещения поверхности контакта валика 8 с бруском 1В теста соответствовало направлению перемещения бруска 1В теста.
Режущее устройство (не показано на фиг.9) разрезает деформированный брусок 1В теста, имеющий эллиптическое поперечное сечение таким же способом, как показано на фиг.1.
Деформированные куски 1С теста можно помещать в пекарную форму более эффективно, чем в варианте, показанном на фиг.1, благодаря их деформированной эллиптической конфигурации.
Высота кусков 1С теста в пекарной форме определяется их длиной, заданной режущим устройством, которое разрезает брусок 1В теста. Длину кусков 1С можно задавать в соответствии с глубиной пекарных форм 6. В данном варианте изобретения длина кусков 1С соответствует 1/2-1/3 глубины пекарных форм.
Куски 1С теста, уложенные в пекарные формы 6, ферментируются дрожжами и поднимаются при ферментации (не показано), и они еще поднимутся на стадии выпечки. В этом случае можно получить четырехсторонний хлеб, если на пекарных формах 6 используют крышку.
В описанном выше варианте изобретения пекарные формы будут заполнены кусками 1С, которые поднимаются на стадиях брожения и выпечки. При этом куски 1С поднимаются на пекарных формах и расширяются в горизонтальном и в вертикальном направлениях, пока они не войдут в контакт с боковыми стенками пекарных форм и со смежными кусками 1С (см. фиг.7(а)), а затем они продолжат расширяться в вертикальном направлении.
В описанном выше варианте изобретения, если между слоями кусков 1С возникают пузыри воздуха, когда слои ослаблены или между ними имеются промежутки, остающиеся пузыри воздуха могут перемещаться вверх между слоями кусков 1С и легко выходить из них при подъеме на стадиях брожения и выпечки.
А именно, при традиционном способе размещения хлебного теста в пекарной форме в выпеченном хлебе могут оставаться большие воздушные пустоты из-за наличия воздушных пузырей, оставшихся между слоями хлебного теста. Из-за того, что перпендикулярные поверхности слоев (включая срезы) не обращены вверх, эти поверхности контактируют с боковыми или нижними стенками пекарной формы, и пузыри воздуха не могут выйти из хлебного теста при его подъеме.
Настоящее изобретение устраняет этот недостаток.
Кроме того, при традиционном способе размещения V-образного или М-образного хлебного теста в пекарной форме внутренняя структура изогнутой части хлебного теста отличается от структуры остальных частей. А именно, внутренняя структура (например, размер и ориентация частиц) в изогнутой части хлебного теста неодинакова. Поскольку согласно изобретению таких изогнутых частей нет, эта проблема не возникает.
Настоящее изобретение не ограничено описанными выше вариантами его осуществления. Может использоваться любое количество пригодных форм без выхода от объема настоящего изобретения.
Например, в описанных вариантах изобретения перемещается один брусок 1В теста, однако к устройству для размещения можно подавать несколько брусков 1В теста.
Предполагается, что согласно изобретению воздушные пузыри выходят через плоскость среза благодаря тому, что куски теста уложены в пекарную форму таким образом, что, по меньшей мере, одна плоскость среза обращена вверх. Таким образом, настоящее изобретение не ограничивается вариантами, в которых плоскости среза кусков теста обращены соответственно вверх и вниз. Например, куски теста, имеющие U-образную форму, могут быть размещены в пекарной форме так, что обе плоскости среза будут обращены вверх, при этом даже если в нижней части пекарной формы существуют изогнутые части, пузыри воздуха могут выходить из кусков теста, поскольку плоскости среза находятся на верхней стороне пекарной формы.
В варианте изобретения описан способ, согласно которому брусок 1В теста разрезают на конвейере 35 ножом, движущимся вверх и вниз. Затем куски 1С теста опрокидываются так, что одна плоскость среза обращена вверх, а другая обращена вниз, и куски 1С бруска теста перемещаются для размещения в пекарной форме 6.
В другом варианте изобретения брусок 1В теста, который падает с выходного конца конвейера, можно разрезать горизонтальным движением ножа вместо вертикального движения (например, см. JP №2558200 и выложенную публикацию JP №5-268864 настоящего заявителя). А именно, куски 1С теста, отрезаемые горизонтальным движением резака, падают непосредственно в пекарную форму так, что по меньшей мере одна плоскость среза обращена вверх.
В этом случае, поскольку куски теста падают в пекарную форму по одной, пекарная форма с перерывами передвигается в заданное положение любым известным средством таким образом, что куски теста располагаются в один последовательный ряд в пекарной форме.
На фиг.8 показана стадия формования для получения бруска 1В теста посредством складывания вместо свертывания в рулон.
Средство для складывания хлебного теста представлено складывающим устройством 7, установленным на раме конвейера. Складывающее устройство 7 имеет правый и левый складывающие элементы 71, 73, установленные на нем один за другим. Эти складывающие элементы 71, 73 складывают лист теста с обеих сторон по очереди так, чтобы образовать брусок 1В теста. Затем режущее устройство (не показано на фиг.8) разрезает брусок 1В теста, и куски 1С бруска теста размещаются в пекарной форме 6 таким образом, что плоскость среза обращена вверх.
На фиг.10 показаны два свертывающих устройства 2, установленных симметрично. Эти устройства могут свертывать лист теста с обеих сторон симметрично и могут формировать спиралевидные и симметричные бруски 1В теста, как показано на фиг.10. Затем режущее устройство разрезает брусок 1В теста на заданные отрезки, и куски 1С теста размещаются в пекарных формах 6.
На фиг.11 показано свертывающее средство, отличающееся от свертывающего устройства, описанного выше.
А именно, в этом средстве используют хорошо известные сетки 91 для свертывания и пластины 92 для свертывания листов 1 хлебного теста, которые затем разрезают на заданные отрезки. В этом случае листы теста свертывают от переднего (по ходу) конца к заднему концу.
Листы 1 хлебного теста свертываются сетками 91 и плотно сжимаются пластинами 92 для образования бруска 1В теста.
Режущее устройство разрезает брусок 1В теста на заданные отрезки, а куски 1С бруска размещаются в пекарных формах 6.
Как указано выше, согласно изобретению, пузыри воздуха, находящиеся между слоями теста, легко выходят через плоскость среза. В варианте изобретения, показанном на фиг.11, ни одна из двух боковых плоскостей 13А бруска 1В теста не является плоскостью среза. Но даже если плоскость 13А обращена вверх в пекарной форме, пузыри воздуха все же могут легко выходить из нее, поскольку поверхности между слоями кусков 1С соединяются с плоскостью 13А, и это позволяет воздушным пузырям выходить.
Настоящее изобретение не ограничивается описанным выше вариантом его осуществления. Например, настоящее изобретение можно применять с хлебным тестом, в которое включены частицы твердого пищевого продукта, такого как шоколадная крошка, изюм и орешки. Согласно изобретению, в хлебное тесто частицы твердого пищевого продукта можно вносить на стадии замешивания, или эти частицы можно рассыпать по поверхности хлебного теста перед операцией свертывания. Таким образом, посредством формования бруска теста можно изготавливать хлеб, который включает частицы твердого пищевого продукта. Особенно, когда частицы рассыпают по поверхности листа теста, поскольку из него формируют брусок теста позже, их можно легко и равномерно распределять.
На фиг.12 показано устройство для изготовления хлеба, соответствующее варианту изобретения, показанному на фиг.1, дополнительно содержащему посыпающее устройство 100. Посыпающее устройство 100 для насыпания частиц твердого пищевого продукта на тесто расположено над конвейером 21, который транспортирует непрерывный лист теста. Частицы 102 твердого пищевого продукта, которые содержатся в бункере 101 посыпающего устройства 100, насыпаются на лист теста с заданной плотностью. После насыпания лист теста обрабатывается устройством и способом, как показано на фиг.1. Нарезанные куски бруска теста укладываются в пекарные формы 6 таким образом, что, по меньшей мере, одна плоскость среза обращена вверх.
Когда частицы твердого пищевого продукта рассыпаны на лист теста и брусок теста сформирован, на стадии формования или размещения могут образовываться большие полости между слоями из-за включения частиц твердого пищевого продукта, как показано на фиг.13(а). Однако, согласно изобретению, когда куски 1С поднимаются и расширяются в вертикальном и горизонтальном направлениях, как показано стрелками на фиг.13(а), и входят в контакт с боковыми стенками пекарной формы и с соседними кусками теста, внутреннее давление в тесте повышается, как показано на фиг.13(b), и оно вытесняет воздушные пузыри между слоями, которые выходят из теста (как показано стрелками на фиг.13(b)). Таким образом, можно изготавливать хлеб, содержащий частицы твердого пищевого продукта между слоями и не имеющий воздушных полостей.
Формула изобретения
1. Способ изготовления хлеба, предусматривающий стадию размещения хлебного теста в пекарной форме, стадию ферментации указанного хлебного теста и стадию выпекания указанного хлебного теста, содержащий:
стадию разрезания бруска теста, который имеет слои листов теста, на заданные отрезки и
стадию размещения отрезанных на стадии разрезания кусков бруска теста в пекарную форму таким образом, что по меньшей мере одна плоскость среза обращена вверх из указанной пекарной формы.
2. Способ по п.1, дополнительно включающий стадию деформирования указанного бруска теста так, чтобы он имел эллиптическое поперечное сечение.
3. Способ изготовления хлеба, предусматривающий стадию размещения хлебного теста в пекарной форме, стадию ферментации указанного хлебного теста и стадию выпекания указанного хлебного теста, включающий:
стадию разрезания бруска теста на заданные отрезки, причем указанное тесто имеет слои листов теста и включает в себя частицы твердого пищевого продукта, и
стадию размещения отрезанных на стадии разрезания кусков бруска теста в пекарной форме таким образом, что по меньшей мере одна плоскость среза обращена вверх из указанной пекарной формы.
4. Способ по п.3, дополнительно включающий стадию деформирования указанного бруска теста так, чтобы он имел эллиптическое поперечное сечение.
5. Устройство для изготовления хлеба способом по любому из пп.1-4, содержащее:
передающий конвейер для передачи кусков бруска теста, отрезанных с заданной длиной, и
устройство для размещения указанных кусков теста в пекарной форме таким образом, что по меньшей мере одна плоскость среза обращена вверх из указанной пекарной формы.
6. Способ изготовления хлеба, предусматривающий стадию размещения хлебного теста в пекарной форме, стадию ферментации указанного хлебного теста и стадию выпекания указанного хлебного теста, включающий:
стадии формования и подачи для формирования листа указанного хлебного теста и транспортировки указанного листа конвейером,
стадию формирования из указанного листа хлебного теста бруска теста, имеющего слои из листов теста,
стадию разрезания бруска теста на заданные отрезки и
стадию размещения отрезанных на стадии разрезания кусков теста в пекарной форме таким образом, что по меньшей мере одна плоскость среза обращена вверх из указанной пекарной формы.
7. Способ по п.6, дополнительно включающий стадию деформирования указанного бруска теста так, чтобы он имел эллиптическое поперечное сечение.
8. Способ по п.7, в котором указанные стадии формования и подачи дополнительно включают стадию насыпания частиц твердого пищевого продукта на указанный лист хлебного теста.
9. Способ по любому из пп.6-8, в котором указанную стадию формования выполняют для образования непрерывного бруска теста посредством свертывания указанного листа хлебного теста от одной стороны к другой стороне.
10. Устройство для изготовления хлеба способом по любому из пп.1-4, 6-9, содержащее:
подающее устройство для транспортировки листа хлебного теста,
формующее устройство для образования из указанного листа хлебного теста бруска теста, имеющего слои из листов теста,
режущее устройство для разрезания указанного бруска теста на заданные отрезки,
передающий конвейер для передачи кусков бруска теста, отрезанных указанным режущим устройством, и
устройство для размещения указанных кусков бруска теста в пекарной форме таким образом, что по меньшей мере одна плоскость среза обращена вверх из указанной пекарной формы.
11. Устройство по п.10, в котором указанное подающее устройство дополнительно содержит посыпающее устройство для насыпания частиц твердого пищевого продукта на указанный лист хлебного теста.
РИСУНКИ
|