|
|
(21), (22) Заявка: 2003121643/13, 09.08.2002
(24) Дата начала отсчета срока действия патента:
09.08.2002
(30) Конвенционный приоритет:
01.10.2001 DE 10148548.4
(43) Дата публикации заявки: 27.02.2005
(45) Опубликовано: 20.03.2006
(56) Список документов, цитированных в отчете о поиске:
DE 19745515 A1, 22.04.1999. US 5937845 A, 17.08.1999. WO 8401266 A, 12.04.1984. ЕР 0909533 А, 01.08.1996. SU 1784158 A1, 30.12.1992. SU 1546036 A1, 28.02.1990.
(85) Дата перевода заявки PCT на национальную фазу:
23.07.2003
(86) Заявка PCT:
IB 02/03171 (09.08.2002)
(87) Публикация PCT:
WO 02/089588 (14.11.2002)
Адрес для переписки:
101000, Москва, М.Златоустинский пер., 10, кв.15, пат.пов. И.А.Веселицкой, рег. № 11
|
(72) Автор(ы):
КЕРЛЕР Эрнст (DE), КОС Михаэль (DE), ХОЛЬЦИНГЕР Лео (DE)
(73) Патентообладатель(и):
МИВЕ МИХАЭЛЬ ВЕНЦ ГМБХ (DE)
|
(54) ХЛЕБОПЕКАРНАЯ ПЕЧЬ
(57) Реферат:
Изобретение относится к хлебопекарной промышленности. Печь выполнена по типу хлебопекарного шкафа и имеет пекарную камеру, предназначенную для помещения в нее выпекаемого продукта, устройство для нагрева теплоносителя с впускным отверстием для забора теплоносителя из пекарной камеры и выпускным отверстием для подачи нагретого теплоносителя в пекарную камеру. Печь имеет первый проточный канал для прохода потока теплоносителя на участке между пекарной камерой и впускным отверстием и второй проточный канал для прохода потока теплоносителя на участке между выпускным отверстием и пекарной камерой. В зоне, по меньшей мере, одного из проточных каналов расположено дроссельное устройство, позволяющее изменять сопротивление потоку в соответствующем проточном канале. Изобретение позволяет упростить регулирование количества теплоносителя, подаваемого в пекарную камеру. 14 з.п. ф-лы, 1 ил. 
Настоящее изобретение относится к хлебопекарной печи, выполненной прежде всего по типу хлебопекарного шкафа и имеющей пекарную камеру, предназначенную для помещения в нее выпекаемого продукта, устройство для нагрева теплоносителя с впускным отверстием для забора теплоносителя из пекарной камеры и выпускным отверстием для подачи нагретого теплоносителя в пекарную камеру и первый проточный канал для прохода потока теплоносителя на участке между пекарной камерой и впускным отверстием, а также второй проточный канал для прохода потока теплоносителя на участке между выпускным отверстием и пекарной камерой. Тем самым в хлебопекарной печи в результате образуется замкнутый нагревательный контур, в котором циркулирует теплоноситель, например воздух.
Хлебопекарная печь подобного типа известна из DE 19745515 А1. Описанная в этой публикации хлебопекарная печь имеет пекарную камеру, в которой процесс выпечки протекает под действием горячего воздуха. Для нагрева воздуха эта хлебопекарная печь оснащена нагревательным регистром (устройством для нагрева воздуха, теплообменником), который расположен в ее верхней части.
Нагревательный регистр имеет вентилятор с приводом от электродвигателя, которым (вентилятором) воздух всасывается из пекарной камеры через первый проточный канал и подается к нагревательным элементам и которым нагретый воздух нагнетается из нагревательного регистра через второй проточный канал в пекарную камеру. Таким путем в процессе выпечки через пекарную камеру прокачивается поток горячего воздуха.
В принципе у хлебопекарных печей указанной в начале описания конструкции необходимо наличие лишь одного проточного канала для перекачивания воздуха. В этом случае впускное или выпускное отверстие нагревательного устройства непосредственно сообщается с пекарной камерой.
Однако в хлебопекарных печах подобного типа достаточно сложно обеспечить точное регулирование расхода теплоносителя через пекарную камеру, поступающего в нее из нагревательного регистра. Согласно DE 19745515 А1 для решения этой задачи было предложено измерять мощность, развиваемую электродвигателем, приводящим во вращение вентилятор, и использовать полученные значения для регулирования расхода циркулирующего в хлебопекарной печи воздуха. Однако такой подход, в чем состоит его недостаток, требует сравнительно высоких затрат на соответствующую аппаратуру и автоматику.
В качестве альтернативы описанному в DE 19745515 А1 решению уже были предложены также хлебопекарные печи, в которых с целью обеспечить возможность регулируемого уменьшения, соответственно увеличения расхода перекачиваемого через пекарную камеру воздуха были внесены изменения в конструкцию спирали вентилятора или самого этого вентилятора. Подобные изменения касались прежде всего всасывающих сопел вентилятора или формы спирали вентилятора. Помимо этого рассматривалось также применение вентиляторов с регулируемыми лопастями.
В основу настоящего изобретения была положена задача усовершенствовать хлебопекарную печь указанного в начале описания типа таким образом, чтобы при минимальных затратах обеспечить возможность точного регулирования количества теплоносителя, подаваемого в пекарную камеру. Помимо этого такая печь должна обладать высокой отказоустойчивостью, соответственно эксплуатационной надежностью и иметь для этого максимально простое конструктивное исполнение.
Указанная задача решается в известной конструкции хлебопекарной печи, которая выполнена преимущественно по типу хлебопекарного шкафа и имеет пекарную камеру, предназначенную для помещения в нее выпекаемого продукта, устройство для нагрева газообразного теплоносителя, преимущественно воздуха, с впускным отверстием для забора теплоносителя из пекарной камеры и выпускным отверстием для подачи нагретого теплоносителя в пекарную камеру, первый проточный канал для прохода потока теплоносителя на участке между пекарной камерой и впускным отверстием, второй проточный канал для прохода потока теплоносителя на участке между выпускным отверстием и пекарной камерой, а также вентилятор для обеспечения циркуляции теплоносителя в печи, расположенный вблизи проточного канала. Для решения задачи, положенной в основу настоящего изобретения, предлагается, чтобы в зоне по меньшей мере одного из проточных каналов было расположено по меньшей мере одно дроссельное устройство, позволяющее изменять сопротивление потоку теплоносителя в соответствующем проточном канале.
В соответствии с изобретением, таким образом, предлагается установить по меньшей мере в одном месте проточного канала, по которому проходит поток теплоносителя, дроссельное устройство, позволяющее изменять характер движения потока теплоносителя в проточном канале. Очевидно, что в одном проточном канале можно предусмотреть и несколько подобных дроссельных устройств.
Дроссельное устройство в принципе можно встроить даже в исключительно короткие проточные каналы, наличие которых характерно для хлебопекарных печей тех конструкций, в которых устройство для нагрева теплоносителя непосредственно примыкает к пекарной камере, и поэтому длина одного из проточных каналов близка к нулю. Так, например, в предназначенных для предприятий торговли хлебопекарных печах некоторых известных конструкций воздух непосредственно всасывается в нагревательное устройство с вохдуходувкой из пекарной камеры через отверстие в одной из ее стенок. В этом случае для получения предлагаемого в изобретении дроссельного устройства в это отверстие можно встроить, например, заслонку, позволяющую увеличивать, соответственно уменьшать его проходное сечение.
Дроссельное устройство можно расположить в первом проточном канале, при этом такое дроссельное устройство предпочтительно располагать непосредственно вблизи устройства для нагрева теплоносителя.
Альтернативно или дополнительно к этому дроссельное устройство можно расположить и во втором проточном канале, причем и в этом случае такое дроссельное устройство можно расположить непосредственно вблизи устройства для нагрева теплоносителя.
Наиболее предпочтительно, однако, располагать в каждом из проточных каналов по дроссельному устройству. Связанное с этим преимущество состоит прежде всего в возможности герметично изолировать пекарную камеру от нагревательного регистра, что целесообразно прежде всего при оснащении хлебопекарных печей устройствами для увлажнения пекарной камеры.
Дроссельное устройство для максимального упрощения его конструкции может иметь заслонку, позволяющую по меньшей мере частично перекрывать проходное сечение проточного канала. Такую заслонку можно соединить с управляющим ее перемещением приводным устройством, в качестве которого можно использовать электрическое, пневматическое или гидравлическое приводное устройство. Очевидно, однако, что управлять перемещением заслонки можно и вручную, например с использованием аналогового управления.
Предпочтительно далее располагать вентилятор нагревательного регистра непосредственно вблизи первого проточного канала. Для создания в хлебопекарной печи циркулирующего потока теплоносителя при необходимости можно предусмотреть и несколько вентиляторов.
Хлебопекарную печь можно, кроме того, оснастить одним или несколькими устройствами для увлажнения ее пекарной камеры, которые за счет добавления воды к потоку горячего воздуха позволяют создавать в пекарной камере туман из паров.
Для нагрева пекарной камеры печи в принципе может использоваться любой приемлемый теплоноситель. Наиболее предпочтительно, однако, применять в этих целях воздух, поскольку такой теплоноситель не оказывает никакого отрицательного влияния на свойства и качество хлебобулочных изделий. При этом нагрев воздуха может происходить, например, при его протекании через теплообменник или при обтекании им электрической нагревательной спирали. В другом варианте вместо воздуха в качестве теплоносителя можно также использовать газообразные продукты сгорания топлива в газовой горелке.
Таким образом, в предлагаемой в изобретении хлебопекарной печи несмотря на ее простую конструкцию обеспечивается возможность простого и точного регулирования расхода воздуха, проходящего через пекарную камеру.
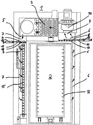
Ниже изобретение более подробно рассмотрено на примере одного из вариантов его осуществления со ссылкой на чертеж, на котором в разрезе схематично показана хлебопекарная печь, выполненная в виде хлебопекарного шкафа.
Хлебопекарная печь 1 имеет пекарную камеру 2, в которую помещают выпекаемый продукт. В показанном на чертеже варианте предусмотрена тележка 16, на которую можно помещать несколько противней и которую можно вкатывать в пекарную камеру 2 и выкатывать из нее. Процесс выпечки протекает в горячем воздухе, который нагревается в предусмотренном для этой цели устройстве 3 (в теплообменнике, в нагревательном регистре). При этом горячий воздух пропускается через пекарную камеру 2 по замкнутому контуру, т.е. хлебопекарная печь работает с циркуляцией в ней воздуха. С этой целью пекарная камера 2 соединена с нагревательным регистром 3 первым проточным каналом 6, который заканчивается у воздуховпускного отверстия 4 нагревательного регистра 3. В системе циркуляции воздуха предусмотрен также второй проточный канал 7, соединяющий нагревательный регистр 3 с пекарной камерой 2 и начинающийся у воздуховыпускного отверстия 5 нагревательного регистра 3. Создание потока воздуха, соответственно его перемещение обеспечивается вентилятором 14. Тем самым в хлебопекарной печи обеспечивается циркуляция воздуха, направление движения которого показано на чертеже стрелками.
Для простого и точного регулирования расхода воздуха, протекающего через пекарную камеру 2, на пути воздушного потока расположены два дроссельных устройства 8 и 9. Дроссельное устройство 8 расположено в первом проточном канале 6 непосредственно под впускным отверстием 4 нагревательного регистра 3, т.е. под вентилятором 14. Другое дроссельное устройство 9 расположено у воздуховыпускного отверстия нагревательного регистра 3, т.е. в начале второго проточного канала 7, если смотреть в направлении воздушного потока.
Такие дроссельные устройства 8, 9 имеют простое конструктивное исполнение. Так, в частности, каждое из них образовано соответствующей заслонкой 10, 11, расположенной на соответствующей нижней плите 17, 18, имеющей множество сквозных отверстий. Каждая такая заслонка 10, 11 соединена с соответствующим, управляющим ее перемещением приводным устройством 12, 13. В показанном на чертеже варианте подобным приводным устройством 12, соответственно 13 служит схематично показанный поршневой блок (гидро- или пневмоцилиндр). Однако во многих случаях для управления перемещением заслонок и приведения их в движение вполне допустимо также использование электродвигательного приводного устройства.
Приведением в действие приводного устройства 12, соответственно 13 связанную с ним заслонку 10, соответственно 11 можно смещать в ту или иную сторону, закрывая или открывая таким путем проходное сечение проточного канала 6, соответственно 7 на большую или меньшую величину. Прохождение через пекарную камеру 2 максимально возможного количества горячего воздуха в единицу времени, т.е. максимально возможный его расход, можно обеспечить, сместив заслонку 10, соответственно 11 в полностью выдвинутое из проточного канала 6, соответственно 7 положение, в котором она не создает сопротивления потоку воздуха.
Когда же заслонка 10, соответственно 11 вдвинута на некоторое расстояние внутрь проточного канала 6, соответственно 7, она создает некоторое сопротивление потоку воздуха, уменьшающее его расход. Таким образом, в зависимости от положения заслонки 10, соответственно 11 изменяется создаваемое ею в системе сопротивление потоку воздуха, и в результате через пекарную камеру проходит большее или меньшее его количество в единицу времени.
Тем самым появляется возможность простым путем регулировать количество пропускаемого через пекарную камеру в единицу времени горячего воздуха, что имеет важное значение для процесса выпечки. В результате отпадает необходимость изменять режим работы вентилятора 14 подачей соответствующих управляющих воздействий в систему управления его электродвигателем. Более того, электродвигатель вентилятора 14 может в этом случае работать с постоянной потребляемой мощностью.
Особое расположение обоих дроссельных устройств 8 и 9 вместе с их заслонками 10 и 11 обеспечивает также прежде всего возможность оптимальной работы хлебопекарной печи с использованием пара. Хлебопекарная печь 1 оснащена устройством 15 для увлажнения пекарной камеры, позволяющим добавлять воду к потоку горячего газа. Образующийся при этом пар способствует процессу выпечки.
Пекарную камеру 2 можно герметично изолировать от нагревательного регистра 3 путем полного перекрытия проходных сечений проточных каналов 6 и 7, полностью вдвинув в них заслонки 10 и 11. В этом случае при включении устройства 15 для увлажнения пекарной камеры 2 образующийся пар остается в ней, поскольку при этом он не может перетекать вверх в сторону нагревательного регистра 3, а задерживается в пекарной камере, где его наличие необходимо для собственно процесса выпечки. В отсутствие подобной возможности герметично изолировать пекарную камеру от нагревательного регистра пар улетучивался бы вверх в нагревательный регистр и тем самым лишь бесполезно расходовался бы, не влияя на процесс выпечки.
Формула изобретения
1. Хлебопекарная печь (1), выполненная преимущественно по типу хлебопекарного шкафа и имеющая пекарную камеру (2), предназначенную для помещения в нее выпекаемого продукта, устройство (3) для нагрева газообразного теплоносителя, преимущественно воздуха, с впускным отверстием (4) для забора теплоносителя из пекарной камеры (2) и выпускным отверстием (5) для подачи нагретого теплоносителя в пекарную камеру (2), первый проточный канал (6) для прохода потока теплоносителя на участке между пекарной камерой (2) и впускным отверстием (4), второй проточный канал (7) для прохода потока теплоносителя на участке между выпускным отверстием (5) и пекарной камерой (2) и вентилятор для обеспечения циркуляции теплоносителя в печи, расположенный вблизи проточного канала, отличающаяся тем, что в зоне, по меньшей мере, одного из проточных каналов (6, 7) расположено, по меньшей мере, одно дроссельное устройство (8, 9), позволяющее изменять сопротивление потоку теплоносителя в соответствующем проточном канале (6, 7).
2. Хлебопекарная печь по п.1, отличающаяся тем, что дроссельное устройство (8) расположено в первом проточном канале (6).
3. Хлебопекарная печь по п.2, отличающаяся тем, что дроссельное устройство (8) расположено непосредственно вблизи устройства (3) для нагрева теплоносителя.
4. Хлебопекарная печь по п.1, отличающаяся тем, что дроссельное устройство (9) расположено во втором проточном канале (7).
5. Хлебопекарная печь по п.4, отличающаяся тем, что дроссельное устройство (9) расположено непосредственно вблизи устройства (3) для нагрева теплоносителя.
6. Хлебопекарная печь по п.1, отличающаяся тем, что в каждом из проточных каналов (6, 7) расположено, по меньшей мере, по одному дроссельному устройству (8, 9).
7. Хлебопекарная печь по любому из пп.1-6, отличающаяся тем, что дроссельное устройство (8, 9) имеет заслонку (10, 11), позволяющую, по меньшей мере, частично перекрывать проходное сечение проточного канала (6, 7).
8. Хлебопекарная печь по п.7, отличающаяся тем, что заслонка (10, 11) соединена с управляющим ее перемещением приводным устройством (12, 13).
9. Хлебопекарная печь по п.8, отличающаяся тем, что приводное устройство (12, 13) выполнено в виде приводного устройства с ручным управлением.
10. Хлебопекарная печь по п.8, отличающаяся тем, что приводное устройство (12, 13) выполнено в виде электрического, пневматического или гидравлического приводного устройства.
11. Хлебопекарная печь по любому из пп.1-6, отличающаяся тем, что вентилятор (14) расположен непосредственно вблизи первого проточного канала (6).
12. Хлебопекарная печь по любому из пп.1-6, отличающаяся тем, что она имеет, по меньшей мере, одно устройство (15) для увлажнения пекарной камеры.
13. Хлебопекарная печь по любому из пп.1-6, отличающаяся тем, что теплоносителем служат газообразные продукты сгорания топлива в газовой горелке.
14. Хлебопекарная печь по любому из пп.1-6, отличающаяся тем, что теплоносителем служит воздух, нагреваемый при его протекании через теплообменник или при обтекании им электрической нагревательной спирали.
15. Хлебопекарная печь по любому из пп.1-6, отличающаяся тем, что она выполнена по типу стеллажной печи или по типу хлебопекарной печи для предприятий торговли.
РИСУНКИ
|
|