|
|
(21), (22) Заявка: 2003106455/12, 11.03.2003
(24) Дата начала отсчета срока действия патента:
11.03.2003
(43) Дата публикации заявки: 10.09.2004
(45) Опубликовано: 20.03.2006
(56) Список документов, цитированных в отчете о поиске:
US 2353798 А, 18.07.1944. SU 1616570 A1, 30.12.1990. SU 267377 A, 03.07.1970.
Адрес для переписки:
671710, Республика Бурятия, Северо-Байкальский р-н, п. Нижнеангарск, ул. Березовая, 1, Г.А. Янкусу
|
(72) Автор(ы):
Янкус Геннадий Андреевич (RU)
(73) Патентообладатель(и):
Янкус Геннадий Андреевич (RU)
|
(54) ЗВЕРОЛОВУШКА
(57) Реферат:
Изобретение относится к устройствам для отлова хищных животных. Звероловушка содержит вмонтированные в трубке снизу вверх пиропатрон, ударный и спусковой механизмы, поражающую головку с приманкой. Головка выполнена с гарпунными лепестками. Трубка установлена в наружной трубке, в нижней части которой выполнено донышко для фиксирования пиропатрона, а также для отражения газов. В верхней части трубки выполнен внутренний буртик для предотвращения вылета внутренней трубки и для обеспечения перемещения ее вверх на величину длины наружной трубки. Технический результат, достигаемый при реализации данного изобретения, заключается в снижении веса и уменьшении габаритов устройства, которое не нуждается в тщательной маскировке, а также обеспечивается при срабатывании устройства мгновенная смерть животного. 1 ил. 
Изобретение относится к устройствам для отлова хищных животных.
Наиболее близким аналогом предложенного изобретения по технической сущности является звероловушка, содержащая вмонтированные в трубке снизу вверх пиропатрон, ударный и спусковой механизмы, поражающую головку с приманкой. (US 2353798 А, 18.07.1944).
К недостаткам известной звероловушки можно отнести то, что она работает не при всех погодных условиях и подвергает животное мучениям.
Технический результат, достигаемый при реализации данного изобретения, заключается в снижении веса и уменьшении габаритов устройства, которое не нуждается в тщательной маскировке.
Указанный технический результат достигается тем, что в звероловушке, содержащей вмонтированные в трубке снизу вверх пиропатрон, ударный и спусковой механизмы, поражающую головку с приманкой, согласно изобретению головка выполнена с гарпунными лепестками, при этом трубка установлена в наружной трубке, в нижней части которой выполнено донышко для фиксирования пиропатрона, а также для отражения газов, причем в верхней части выполнен внутренний буртик для предотвращения вылета внутренней трубки и для обеспечения перемещения ее вверх на величину длины наружной трубки.
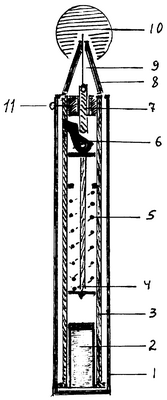
Сущность изобретения поясняется чертежом, где представлена звероловушка, содержащая наружную трубку 1 диаметром 26 мм и длиной 260 мм, являющуюся корпусом устройства и телескопически вмещающую в себя врутреннюю трубку 3. В верхней части внутренней трубки имеются отверстия для сброса давления газов. В нижней ее части имеется донышко для крепления устройства к палке (земле) и отражения газов пиропатронов 2 малой мощности, вмонтированных во внутреннюю трубку. Во внутренней трубке вмонтированы ударный механизм 4, спусковой механизм 6 и ударная головка 8 с неотделяющимися гарпунными лепестками. Также устройство содержит сторожевую нить 9 и сторожок 7 с предохранителем 11.
К ударной головке 8, расположенной в звероловушке, крепится приманка 10 размером с куриное или голубиное яйцо (в зависимости от размеров хищника). При попытке зверя снять приманку, пытаясь оторвать ее от субстрата, срабатывает через сторожевую нить 9 и сторожок 7 спусковой 6, ударный 4 механизмы и пиропатрон 2. Внутренняя трубка перемещается вверх на величину длины трубки и ударной головки, поражая мозг животного. Гарпунные лепестки 8 удерживают устройство в голове животного в положении конечной фазы действия. Устройство имеет предохранитель 11, препятствующий перемещение сторожка.
Для маскировки изделия на наружную трубку надевается трубка из бересты березы или коры другого дерева, или какой-либо другой природный материал. Для устойчивости наружная трубка может быть прикреплена к палке или части дерева. Для зарядки устройства отвинчивается донышко наружной трубки. Для ввода пружины ударник через нижнее отверстие перемещается вверх до фиксирования в верхнем положении спусковым крючком. После ввода пружины сторожок фиксируется предохранителем. После постановки устройства на предохранитель во внутреннюю трубку вставляется пиропатрон и завинчивается донышко наружной трубки.
Устройство изготавливается из стальных деталей. Возможно применение пластмасс, синтетики и композитных материалов.
Формула изобретения
Звероловушка, содержащая вмонтированные в трубке снизу вверх пиропатрон, ударный и спусковой механизмы, поражающую головку с приманкой, отличающаяся тем, что поражающая головка выполнена с гарпунными лепестками, при этом трубка установлена в наружной трубке, в нижней части которой выполнено донышко для фиксирования пиропатрона, а также для отражения газов, причем в верхней части выполнен внутренний буртик для предотвращения вылета внутренней трубки и для обеспечения перемещения ее вверх на величину длины наружной трубки.
РИСУНКИ
MM4A – Досрочное прекращение действия патента СССР или патента Российской Федерации на изобретение из-за неуплаты в установленный срок пошлины за поддержание патента в силе
Извещение опубликовано: 20.07.2007 БИ: 20/2007
|
|