|
|
(21), (22) Заявка: 2004120577/12, 05.07.2004
(24) Дата начала отсчета срока действия патента:
05.07.2004
(45) Опубликовано: 20.03.2006
(56) Список документов, цитированных в отчете о поиске:
SU 1280261 А, 30.12.1986. RU 2177110 C1, 20.12.2001. SU 1187771 A, 30.10.1985. SU 993836 А, 30.01.1983. SU 356426 А, 16.10.1972. SU 635938 A, 30.12.1978.
Адрес для переписки:
660049, г.Красноярск, пр. Мира, 88, КрасГАУ, патентоведу Т.А. Лобановой
|
(72) Автор(ы):
Долгих Павел Павлович (RU), Завей-Борода Владимир Русланович (RU), Кулаков Николай Васильевич (RU), Алтынова Ирина Михайловна (RU), Мисорина Светлана Александровна (RU), Голубева Анна Викторовна (RU)
(73) Патентообладатель(и):
Красноярский Государственный Аграрный Университет (RU)
|
(54) ОБЛУЧАТЕЛЬНОЕ УСТРОЙСТВО
(57) Реферат:
Устройство содержит пускорегулирующий аппарат с проводами контактной сети, патроном газоразрядной лампы, устройством крепления отражателя. В устройстве дополнительно установлены два фоторезистора, соединенных с катушкой индуктивности, которые установлены на внутренней поверхности отражателя. В центре на корпусе установлена катушка индуктивности с обмоткой и сердечником. Между корпусом и сердечником установлена изолирующая вставка. Приемная поверхность фоторезисторов повернута к внутренней поверхности отражателя и выполнена в форме волнообразной полосы, размещенной по всей длине отражателя с двух сторон симметрично по кромке облучателя. Корпус соединен с устройством крепления через виброизоляторы. Повышается эффективность защиты светотехнической арматуры от пылеосаждения и снижается энергопотребление. 2 ил. 
Изобретение относится к светотехнике, в частности к светильникам, защищенным от аэрозольных частиц, для облучения сельскохозяйственных животных.
Сельскохозяйственные помещения относятся к помещениям с тяжелыми условиями среды из-за большой концентрации пыли, пуха, влаги, химически активных газов. Такая среда – причина быстрой порчи материалов и выхода из строя электромонтажных деталей, используемых в облучательных установках. Частицы пыли и влаги, оседая на поверхности излучателей, полимеризируются и пригорают к ним вследствие воздействия температуры от источника излучения, что ухудшает стабильность искусственного оптического излучения. При обслуживании установок требуются значительные расходы на периодическую чистку ламп, замену их и ремонт облучателей. Кроме того, необходим постоянный контроль за качеством облучения из-за ухудшения (во времени) характеристик оптических элементов облучателей. В процессе эксплуатации в результате многократных загрязнений и чисток происходит необратимое снижение КПД светового прибора из-за старения светоотражающих материалов, которое тем меньше, чем тверже материал.
В настоящее время применяется чистка облучательных приборов – сухая протирка отражателей, мытье теплым мыльным раствором или очистка специальным раствором. Также используется чистка электрическим, механическим, ультразвуковым, тепловым методами. Многие из этих методов связаны с контактом чистящих частей с отражающими поверхностями, что приводит к снижению отражающих свойств облучателя и понижению коэффициента восстановление КПД облучательного прибора.
Известен промышленный открытый светильник с лампами накаливания или газоразрядной лампой высокого давления, предназначенный для работы в тяжелых условиях среды (А.с. №356426, МПК F 21 V 29/00, 1972 – аналог).
Недостатком известного светильника является сложность конструкции, так как необходимы дополнительные устройства для создания воздушного напора.
Известно устройство для освещения и облучения сельскохозяйственных животных (А.с. СССР №1280261, МПК F 21 V 31/00, 1986 – прототип), содержащее источники оптического излучения, светотехническую арматуру и средство для защиты от аэрозольных частиц в виде электродов и источника высокого напряжения.
Недостатком известного устройства является сложность конструкции облучательного устройства и неэффективный расход электроэнергии, так как для его осуществления необходимо иметь дополнительные электроды, источник высокого напряжения с надежным заземлением одного полюса, а источник высокого напряжения должен работать постоянно.
Целью изобретения является повышение эффективности защиты светотехнической арматуры от пылеосаждения за весь период эксплуатации и снижение энергопотребления облучателем.
Технический результат достигается тем, что облучательное устройство содержит пускорегулирующий аппарат с проводами контактной сети, патроном газоразрядной лампы, устройством крепления отражателя с виброизоляторами. По центру корпуса закреплена катушка индуктивности с обмотками и сердечником. Между корпусом и сердечником помещена изолирующая вставка. На внутренней поверхности отражателя с двух сторож дополнительно размещены два фоторезистора в форме волнообразной полосы с фотореле и подстроечное сопротивление с соединительными проводами. При этом приемная поверхность фоторезистора повернута к внутренней поверхности отражателя и размещена по всей длине отражателя с двух сторон симметрично по кромке облучателя, притом корпус соединен с устройством крепления через виброизоляторы.
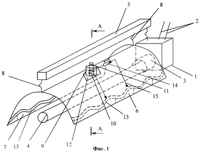
На фиг.1 представлено облучательное устройство, на фиг.2 – разрез А-А.
Облучательное устройство содержит пускорегулирующий аппарат 1 (фиг.1, 2) с проводами контактной сети 2, патроном 3 газоразрядной лампы 4, устройством крепления 5 корпуса 6 с отражателем 7 и виброизоляторами 8. По центру корпуса 6 снаружи закреплена катушка индуктивности 9 с обмотками 10 и сердечником 11. Между корпусом 6 и сердечником 11 помещена изолирующая вставка 12. На внутренней поверхности отражателя 7 с двух сторон размещены два фоторезистора 13 с фотореле (не показано) и подстроечным сопротивлением 14 с соединительными проводами 15. При этом фоторезисторы 13 выполнены в форме волнообразной полосы, размещены по всей длине отражателя с двух сторон симметрично по кромке облучателя и повернуты приемной поверхностью к отражателю 7.
Облучательное устройство работает следующим образом. При подаче напряжения на провода контактной сети 2 в пускорегулирующем аппарате 1 формируется импульс повышенного напряжения для зажигания газоразрядной лампы 4, которая закреплена на корпусе пускорегулирующего аппарата 1 с помощью патрона 3. При это сопротивление фоторезистора 13 настроено с помощью подстроечного сопротивления 14 таким образом, что при номинальном лучистом потоке, излучаемом газоразрядной лампой 4 в цепи катушки индуктивности 9 с обмотками 10, величина тока достаточна, чтобы сердечник 11 не был втянут в катушку и находился в верхнем положении. При снижении лучистого потока вследствие загрязнения поверхности отражателя 7 в фоторезисторах 13 снижается фототок, который вызывает срабатывание фотореле (не показано). При этом по соединительным проводам 15 на катушку индуктивности 9 с обмотками 10 и сердечником 11 подается напряжение. При прохождении по обмоткам 10 катушки индуктивности 9 электрического тока сердечник 11 втягивается и ударяет по изолирующей вставке 12, расположенной на корпусе 6. Последний при этом получает механический импульс, вследствие чего аэрозольные частицы, осевшие на поверхности отражателя 7, стряхиваются вниз. В результате отражатель 7 очищается от пыли, отраженный поток от лампы 4 возрастает и фоторезистор 13 с фотореле более не срабатывает. При этом газоразрядная лампа 4 не попадает под воздействие механического импульса, поскольку закреплена независимо на пускорегулирующем аппарате 1, а наличие виброизолирующих вставок 8 позволяет сбалансировать механический импульс, воздействующий на крепление 5 корпуса 6. Кроме того, наличие изолирующей вставки 12, расположенной между корпусом 6 и катушкой индуктивности 9, позволяет исключить шум и механическое повреждение корпуса 6 при втягивании сердечника 11, а положение катушки 9 в центре корпуса позволяет равномерно распределить воздействие механического импульса по всей поверхности отражателя. По мере неизбежного снижения оптических свойств отражателя за время эксплуатации во избежание постоянного срабатывания катушки индуктивности 9 с сердечником 11 настраивают с помощью подстроечного сопротивления 14 ток срабатывания фоторезисторы 13, выполненные в форме волнообразной полосы, с фотореле. Предлагаемое осветительное устройство позволяет значительно снизить расход электроэнергии, так как устройство очистки отражателя 7 от аэрозольных частиц, содержащее фоторезистор 13 с фотореле и соединительные провода 15 с подстроенным сопротивлением 14, катушку индуктивности 9 с обмотками 10 и сердечником 11 будет срабатывать не постоянно, а только по мере запыления отражателя 7.
Использование предлагаемого устройства обеспечивает по сравнению с существующими устройствами следующие преимущества:
1. Конструктивное исполнение фоторезистора в форме волнообразной полосы позволит контролировать степень загрязнения светильника по всей длине лампы.
2. Положение фоторезистора приемной поверхностью к отражателю позволит учесть отраженную составляющую эффективного потока излучения и избежать контактных методов чистки.
3. Независимое положение корпуса с отражателем, закрепленного на виброизоляторах, позволяет исключить действие механического импульса на лампу.
4. Положение катушки индуктивности на корпусе отражателя в центре позволяет равномерно распределить механический импульс и сохранить отражающие свойства облучателя за весь период его эксплуатации и избежать пригорания аэрозольных частиц к отражателю.
Облучательное устройство имеет простую конструкцию, надежно в эксплуатации и может быть легко реализовано в сельском хозяйстве.
Формула изобретения
Облучательное устройство, содержащее пускорегулирующий аппарат с проводами контактной сети, патроном газоразрядной лампы, устройством крепления отражателя, отличающееся тем, что в нем дополнительно установлены два фоторезистора, соединенных с катушкой индуктивности, которые установлены на внутренней поверхности отражателя, а в центре на корпусе установлена катушка индуктивности с обмоткой и сердечником, между корпусом и сердечником установлена изолирующая вставка, а приемная поверхность фоторезисторов повернута к внутренней поверхности отражателя и выполнена в форме волнообразной полосы по всей длине отражателя с двух сторон симметрично по кромке облучателя, при этом корпус соединен с устройством крепления через виброизоляторы.
РИСУНКИ
MM4A – Досрочное прекращение действия патента СССР или патента Российской Федерации на изобретение из-за неуплаты в установленный срок пошлины за поддержание патента в силе
Дата прекращения действия патента: 06.07.2006
Извещение опубликовано: 20.08.2007 БИ: 23/2007
|
|