|
| На основании пункта 3 статьи 13 Патентного закона Российской Федерации от 23 сентября 1992 г. № 3517-I патентообладатель обязуется передать исключительное право на изобретение (уступить патент) на условиях, соответствующих установившейся практике, лицу, первому изъявившему такое желание и уведомившему об этом патентообладателя и федеральный орган исполнительной власти по интеллектуальной собственности, – гражданину РФ или российскому юридическому лицу. |
|
(21), (22) Заявка: 2004124472/12, 10.08.2004
(24) Дата начала отсчета срока действия патента:
10.08.2004
(45) Опубликовано: 20.03.2006
(56) Список документов, цитированных в отчете о поиске:
SU 1181590 А, 30.09.1985. SU 1819522 A1, 07.06.1993. SU 753385 A, 09.08.1980. SU 471085 А, 28.08.1975. SU 79953 A, 31.05.1950. RU 2097959 С1, 10.12.1997. ЕР 0212185 А1, 04.03.1987.
Адрес для переписки:
190000, Санкт-Петербург, Главпочтамт, “до востребования”, Л.Н. Буркову
|
(72) Автор(ы):
Бурков Лев Николаевич (RU)
(73) Патентообладатель(и):
Бурков Лев Николаевич (RU)
|
(54) СПОСОБ УБОРКИ ЗЕРНОВЫХ КУЛЬТУР И УСТРОЙСТВО ДЛЯ ЕГО ОСУЩЕСТВЛЕНИЯ
(57) Реферат:
Изобретения предназначены для использования в сельском хозяйстве. Способ включает скашивание убираемой культуры на двух уровнях с получением колосовой и стеблевой частей. Затем колосовую часть обмолачивают и очищают зерно от длинных примесей, которые брикетируют и собирают в контейнер. Стеблевую часть собирают и укладывают в валок одновременно с обмолотом, очисткой и брикетированием. Комбайн имеет жатку с двухъярусным режущим аппаратом, молотильный аппарат и очистку в виде цилиндрического решета. Под очисткой эквидистантно установлена выполненная в виде полуцилиндра скатная доска. Под брикетировщиком длинных примесей установлен контейнер для брикетов. Для сбора очищенного зерна имеется выполненный из двух частей бункер. Между двумя режущими аппаратами расположена труба с вентилятором и валкообразующим устройством, установленным между колесами комбайна. Изобретения обеспечивают высокое качество очистки зерна и высокий уровень утилизации отходов. 2 н.п. ф-лы, 2 ил. 
Изобретение относится к области сельского хозяйства и может быть использовано при создании новых способов уборки зерновых культур и устройств для их осуществления.
Известен способ уборки зерновых культур, описанный в книге А.Н.Карпенко и В.М.Халанского “Сельскохозяйственные машины”, М.: ВО “Агропромиздат”, 1989 г., стр.242-243, 251-255. Он заключается в том, что сначала скашивают зерновую культуру, обмолачивают с разделением на зерновую и соломистую части и затем отдельно собирают зерно в бункер, а солому – в копнитель.
Здесь же приведено и устройство для осуществления указанного способа – комбайн “Дон-1200” или “Дон-1500”. Зерноуборочный комбайн включает энергетическую установку (двигатель), жатку, молотильный аппарат, очистку, соломотряс, копнитель и бункер для зерна.
Существенными недостатками указанного способа являются значительные потери зерна, некачественная очистка, сложность отделения зерна от соломы.
Существенными недостатками машины являются громоздкость устройства, некачественная очистка, недостаточная производительность, неудовлетворительная утилизация отходов.
Задачами данного изобретения являются улучшение качества очистки, более высокий уровень утилизации отходов, повышение производительности.
Указанные задачи решаются в способе тем, что скашивают зерновую культуру одновременно на двух уровнях: колосовую и стеблевую части, затем колосовую часть обмолачивают и отделяют длинные примеси и зерно, затем длинные примеси брикетируют и собирают в контейнер, а стеблевую часть собирают и укладывают в валок одновременно с обмолотом, очисткой и брикетированием.
Новые существенные признаки способа:
– жатка срезает зерновую культуру одновременно на двух уровнях: колосовую и стеблевую части,
– затем колосовую часть обмолачивают и отделяют длинные примеси и зерно,
– затем длинные примеси брикетируют и собирают в контейнер,
– стеблевую часть собирают и укладывают в валок одновременно с обмолотом, очисткой и брикетированием длинных примесей.
Перечисленные новые существенные признаки способа в совокупности с известными необходимы и достаточны для достижения технического результата во всех случаях, на которые распространяется испрашиваемой объем правовой защиты.
Указанные задачи решаются в устройстве тем, что зерноуборочный комбайн, включающий двигатель, молотильный аппарат, очистку, бункер для зерна, имеет жатку с двухъярусным режущим аппаратом косилочного типа, причем привод одного режущего аппарата находится с одной стороны жатки, а второго – с другой. Молотильный аппарат установлен наклонно к продольной оси симметрии комбайна между жаткой и очисткой, которая выполнена в виде наклонного к продольной оси комбайна цилиндрического решета с возможностью вращения, а под ним с тем же углом наклона эквидистантно установлена скатная доска в форме полуцилиндра, прикрепленного к стенкам комбайна на пружинных подвесках и входящего своим нижним концом в приемное отверстие зернового шнека, установленного снизу цилиндрического решета и поперек его продольной оси. К правому торцу зернового шнека по ходу комбайна жестко прикреплен наклонный элеватор, входящий своим верхним концом в бункер, выполненный из двух сообщающихся частей, одна из них расположена выше другой справа от кабины по ходу комбайна и соединена наклонной трубой с нижней частью, жестко прикрепленной слева от кабины к раме комбайна, угол наклона трубы больше, чем угол естественного откоса убираемого зерна, а нижняя часть бункера снабжена шиберной заслонкой для разгрузки самотеком, при этом между двумя ярусами режущего аппарата расположена труба с вентилятором и валкообразующим устройством на выходе, которое установлено между колесами комбайна, причем сзади очистки жестко прикреплен к раме комбайна брикетировщик, приемный бункер которого соединен наклонным элеватором с выходным окном колосового шнека, а разгрузочный патрубок брикетировщика входит в контейнер, жестко установленный снизу брикетировщика с возможностью съема.
Новые существенные признаки устройства:
– жатка комбайна выполнена с двухъярусным режущим аппаратом косилочного типа, причем привод одного режущего аппарата находится с одной стороны жатки, а второго – с другой,
– молотильный аппарат установлен наклонно к продольной оси симметрии комбайна между жаткой и очисткой,
– очистка комбайна выполнена в виде наклонного к продольной оси комбайна цилиндрического решета с возможностью вращения, а под ним с тем же углом наклона эквидистантно установлена скатная доска в форме полуцилиндра, прикрепленного к стенкам комбайна на пружинных подвесках и входящего своим нижним концом в приемное отверстие зернового шнека,
– зерновый шнек установлен снизу цилиндрического решета и поперек продольной оси его,
– к правому торцу зернового шнека по ходу комбайна жестко прикреплен наклонный элеватор, входящий своим верхним концом в бункер,
– бункер для зерна выполнен из двух сообщающихся частей, одна из них расположена выше другой справа от кабины по ходу комбайна и соединена наклонной трубой с нижней частью, жестко прикрепленной слева от кабины к раме комбайна, а угол наклона трубы больше, чем угол естественного откоса убираемого зерна,
– нижняя часть бункера снабжена шиберной заслонкой,
– между двумя ярусами режущих аппаратов расположена труба с вентилятором и валкообразующим устройством на выходе, которое размещено между колесами комбайна,
– сзади очистки жестко прикреплен к раме комбайна брикетировщик, приемный бункер которого соединен наклонным элеватором с выходным окном колосового шнека, а разгрузочный патрубок входит в контейнер, жестко установленный снизу брикетировщика, но с возможностью съема.
Перечисленные новые существенные признаки устройства в совокупности с известными необходимы и достаточны для достижения технического результата во всех случаях, на которые распространяется испрашиваемый объем правовой защиты.
Технический результат способа достигается за счет того, что
– срезание зерновой культуры жаткой осуществляется одновременно на двух уровнях: колосовую и стеблевую части для того, чтобы разгрузить молотильный аппарат от излишней работы по переработке соломы,
– затем колосовую часть обмолачивают и отделяют длинные примеси и зерно,
– затем длинные примеси брикетируют и собирают в контейнер для повышения уровня утилизации отходов, т.е. уменьшения количества разгрузок,
– стеблевую часть собирают и укладывают в валок одновременно с обмолотом, очисткой и брикетированием колосовой части для экономии времени и интенсификации способа.
Технический результат устройства достигается за счет того, что
– жатка выполнена с двухъярусным режущим аппаратом косилочного типа, причем привод одного режущего аппарата находится с одной стороны жатки, а второго – с другой с тем, чтобы не перегружать одну сторону жатки приводными механизмами и выравнить весовую нагрузку,
– молотильный аппарат установлен наклонно к продольной оси симметрии комбайна между жаткой и очисткой для того, чтобы сократить габариты комбайна и уменьшить вес машины,
– очистка выполнена в виде вращающегося наклонного к продольной оси комбайна цилиндрического решета, под которым с тем же углом наклона эквидистантно установлена скатная доска для зерна с тем, чтобы обеспечить технологический процесс машины, сократить габариты и улучшить качество очистки,
– скатная доска выполнена в виде полуцилиндра, прикрепленного к стенкам комбайна на пружинных подвесках и входящей своим нижним концом в приемное отверстие зернового шнека, установленного снизу цилиндрического решета и поперек его продольной оси для обеспечения подачи зерна на выгрузку в бункер,
– к правому торцу зернового шнека по ходу комбайна жестко прикреплен наклонный элеватор, входящий своим верхним концом в бункер для перегрузки зерна,
– зерновой бункер выполнен из двух сообщающихся частей, одна из них расположена выше другой справа от кабины по ходу комбайна и соединена наклонной трубой с нижней частью, жестко прикрепленной слева от кабины к раме комбайна, угол наклона трубы больше, чем угол естественного откоса убираемого зерна, а нижняя часть бункера снабжена шиберной заслонкой для обеспечения самозаполняемости обоих частей бункера и для разгрузки бункера самотеком,
– между двумя ярусами режущего аппарата расположена труба с вентилятором и валкообразующим устройством на выходе, которое установлено между колесами комбайна для разгрузки молотильного аппарата от излишнего перемалывания соломы и рационального расположения валка, чтобы он не мешал рабочему процессу,
– сзади очистки жестко прикреплен к раме комбайна брикетировщик, приемный бункер которого соединен наклонным элеватором с выходным окном колосового шнека, а разгрузочный патрубок брикетировщика входит в контейнер, жестко установленный снизу брикетировщика с возможностью съема.
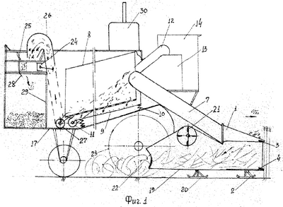
На фиг.1 дан боковой вид на комбайн с осевым разрезом; на фиг.2 дан вид спереди с местным вырывом для показа взаимосвязи частей бункера, для упрощения чертежа мотовило условно не показано на обеих фигурах.
Рассмотрим устройство зерноуборочного комбайна. Жатка 1 опирается на башмаки 2 и имеет двухъярусный режущий аппарат: верхний – 3 и нижний – 4, причем привод 5 одного режущего аппарата находится с одной стороны жатки 1, а второго 6 – с другой. Молотильный аппарат 7 установлен наклонно к продольной оси симметрии комбайна между жаткой 1 и очисткой, выполненной в виде наклонного к продольной оси комбайна цилиндрического решета 8 с возможностью вращения, под которым с тем же углом наклона эквидистантно установлена скатная доска 9 для зерна в форме полуцилиндра, прикрепленного к стенкам комбайна на пружинных подвесках 10 и входящего своим нижним концом в приемное отверстие зернового шнека 11, который установлен снизу цилиндрического решета 8 и поперек его продольной оси. К правому концу зернового шнека по ходу комбайна жестко прикреплен элеватор 12, входящий своим верхним концом в бункер, выполненный из двух сообщающихся частей, одна из которых 13 расположена выше другой и справа от кабины 14 по ходу комбайна и соединена наклонной трубой 15 с нижней частью 16, жестко прикрепленной слева от кабины 14 к раме 17 комбайна, а угол наклона трубы 15 больше, чем угол естественного откоса убираемого зерна, и нижняя часть бункера 16 снабжена шиберной заслонкой 18 для разгрузки самотеком, при этом в пространстве между двумя ярусами режущих аппаратов 3 и 4 расположена труба 19, которая опирается на свой башмак 20, имеет вентилятор 21 и валообразующее устройство 22 на выходе трубы 19, размещенное между колесами 23 комбайна. Сзади очистки 8 жестко прикреплен к раме 17 комбайна брикетировщик 24, приемный бункер 25 которого соединен наклонным элеватором 26 с выходным окном колосового шнека 27. Разгрузочный патрубок 28 брикетировщика 24 входит в контейнер 29, жестко установленный снизу брикетировщика 24, но с возможностью съема. Энергетическая установка 30 обеспечивает силовой привод для всех механизмов комбайна.
Рассмотрим работу, т.е. реализацию способа уборки зерновых культур. При движении машины по полю жатка 1 своим двухъярусным режущим аппаратом 3 и 4 срезает одновременно колосовую часть убираемой культуры и стеблевую часть, при этом колосовая часть поступает на молотильный аппарат 7, где происходит разделение на зерновую часть и длинные примеси, затем они вместе поступают на очистку 8 и разделяются на зерновую часть, которая поступает в зерновой шнек 11 и по элеватору 12 в бункер 13 (верхнюю часть) и по трубе 15 в нижнюю часть 16 и через шиберную заслонку 18 самотеком может быть выгружено в автомобиль или другое транспортное средство, а стеблевая часть убираемой культуры по трубе 19 вентилятором 21 направляется через валкообразующее устройство 22 на поле и укладывается в валок между колесами 22 комбайна, а затем этот валок подбирают и прессуют, а длинные примеси из очистки 8 поступают в колосовой шнек 27 и по элеватору 26 направляются бункер 25 брикетировщика 24, где происходит образование брикетов и по патрубку 28 они скатываются под собственным весом в контейнер 29.
Формула изобретения
1. Способ уборки зерновых культур, включающий скашивание, обмолот скошенной массы, очистку с отделением зерна от длинных примесей и сбор зерна, отличающийся тем, что скашивают зерновую культуру одновременно на двух уровнях – колосовую и стеблевую части, затем колосовую часть обмолачивают и отделяют длинные примеси и зерно, длинные примеси брикетируют и собирают в контейнер, а стеблевую часть собирают и укладывают в валок одновременно с обмолотом, очисткой и брикетированием.
2. Зерноуборочный комбайн, включающий жатку, молотильный аппарат, очистку, бункер для зерна и кабину, отличающийся тем, что жатка выполнена с двухъярусным режущим аппаратом косилочного типа, причем привод одного режущего аппарата находится с одной стороны жатки, а второго – с другой, молотильный аппарат установлен наклонно к продольной оси симметрии комбайна между жаткой и очисткой, которая выполнена в виде наклонного к продольной оси комбайна цилиндрического решета с возможностью вращения, а под ним с тем же углом наклона эквидистантно установлена скатная доска в форме полуцилиндра, прикрепленного к стенкам комбайна на пружинных подвесках и входящего своим нижним концом в приемное отверстие зернового шнека, который установлен снизу цилиндрического решета и поперек его продольной оси и к правому торцу которого по ходу комбайна жестко прикреплен наклонный элеватор, входящий своим верхним концом в бункер, выполненный из двух сообщающихся частей, одна из них расположена выше другой справа от кабины по ходу комбайна и соединена наклонной трубой с нижней частью, жестко прикрепленной слева от кабины к раме комбайна, угол наклона трубы больше, чем угол естественного откоса зерна, а нижняя часть бункера снабжена шиберной заслонкой для разгрузки самотеком, при этом между двумя режущими аппаратами расположена труба с вентилятором и валкообразующим устройством на выходе, которое размещено между колесами комбайна, причем сзади очистки жестко прикреплен к раме комбайна брикетировщик, приемный бункер которого соединен наклонным элеватором с выходным окном колосового шнека, а разгрузочный патрубок брикетировщика входит в контейнер, жестко установленный снизу брикетировщика с возможностью съема.
РИСУНКИ
|
|