|
|
(21), (22) Заявка: 2003136992/12, 22.12.2003
(24) Дата начала отсчета срока действия патента:
22.12.2003
(43) Дата публикации заявки: 10.06.2005
(45) Опубликовано: 20.03.2006
(56) Список документов, цитированных в отчете о поиске:
SU 361761 А, 01.01.1993. SU 933023 А, 07.06.1982. SU 683667 A, 05.09.1979. RU 2180993 C2, 10.04.2002. SU 126312 A, 20.01.1960.
Адрес для переписки:
641300, Курганская обл., Кетовский р-н, Лесниково, КГСХА
|
(72) Автор(ы):
Боровинских Николай Павлович (RU), Голощапов Анатолий Павлович (RU), Рахимов Раис Саитович (RU), Пономарева Ольга Анатольевна (RU)
(73) Патентообладатель(и):
Курганская государственная сельскохозяйственная академия имени Т.С. Мальцева (RU)
|
(54) СОШНИК ДЛЯ РАЗБРОСНОГО ПОСЕВА
(57) Реферат:
Изобретение предназначено для посева семян и может быть использовано в сельскохозяйственном машиностроении. Сошник включает культиваторную стрельчатую лапу, полую стойку-семяпровод и распределитель семян с виброприводом. Стойка-семяпровод помещена внутри корпуса стойки лапы. Пространство между стойкой-семяпроводом и корпусом заполнено эластичным материалом. На верхнем конце стойки-семяпровода установлен вибратор. На нижнем конце стойки-семяпровода смонтирован распределитель семян. Распределитель выполнен в виде заглушенной трубы с продольной по всей длине щелью в ее задней и боковых стенках для выполнения функции высевающего аппарата. Стойка-семяпровод соединена с распределителем семян и со стойкой лапы с помощью эластичных муфт. Приемный патрубок распределителя семян выполнен с возможностью регулировки по высоте, а его нижний конец расположен выше нижней кромки щели. Такое конструктивное выполнение позволит повысить качество распределения семян при снижении металлоемкости конструкции за счет исключения высевающего аппарата. 2 з.п. ф-лы, 3 ил. 
Изобретение относится к области сельскохозяйственного машиностроения, в частности к сошникам для подпочвенно разбросного посева.
Известен сошник для разбросного посева по а.с. СССР №409666 (автор А.С.Архипов) [1], включающий полую стойку-семяпровод, разделенную перегородкой на две половины, в нижней части переходящей в клиновидный рассеиватель с криволинейными рабочими поверхностями, к которому подводится струя газа для придания высевающему материалу большей траектории полета, равномерности распределения высеваемых материалов и предотвращения налипания его на рассеиватель.
Недостатком известного сошника является то, что он не обеспечивает желаемого равномерного распределения семян по поверхности семенного ложа, не дает максимального разброса по ширине, что связано с особенностями поверхностей с консервативными криволинейными образующими, работающими с семенами различных сельскохозяйственных культур, имеющих специфические свойства и размеры. Кроме того, оборудование стойки перегородкой внутри технологически сложно, само устройство не обеспечивает решения главной задачи достижения равномерности распределения семян и в комплексе с высевающим аппаратом значительно усложняет конструкцию.
Более близким по техническому исполнению и достигаемому результату является сошник для разбросного посева по а. с. СССР №361761 (авторы А.С.Архипов и Ю.В.Поздняков), выполненный в виде стрельчатой лапы с полой стойкой-семяпроводом, снабженной распределителем семян, изготовленным в виде горизонтальной полки, над которой установлена вертикальная пластина, совершающая колебания вокруг оси, проходящей через ее заднюю кромку [2].
Этот сошник имеет ряд недостатков. В частности, наблюдается неравномерное распределение семян по семенному ложу при боковых колебаниях вертикальной пластины вокруг оси, что недопустимо при посеве зерновых, поскольку это приводит к жесткой конкуренции в стеблестое и массовому поражению корневыми гнилями во время вегетации.
Общим и главным недостатком аналога и прототипа является то, что они работают только при наличии высевающих аппаратов в конструкции сеялок.
Целью предлагаемого изобретения является устранение ряда перечисленных недостатков, связанных с равномерностью распределения семян по семенному ложу, исключение из конструкции сеялок высевающих аппаратов и перенос их функций на сам сошник.
Поставленная цель достигается тем, что полая стойка-семяпровод установлена внутри корпуса стойки лапы, пространство между которыми заполнено эластичным материалом и снабжено в нижней части металлической втулкой-разделителем; на верхнем конце стойки-семяпровода установлен вибратор, а на нижнем – распределитель семян, выполненный в виде заглушенной с торцов трубы с продольной по всей длине щелью в ее задней и боковых стенках, выполняющий роль высевающего аппарата. Концы трубы слегка приспущены вниз, и угол их отклонения от горизонтали не должен превышать 5°, что значительно меньше угла трения сыпучих материалов. Стойка-семяпровод соединена со стойкой лапы и с приемным патрубком распределителя семян с помощью эластичных муфт, при этом патрубок распределителя семян выполнен регулируемым по высоте и нижний конец его расположен выше нижней кромки щели.
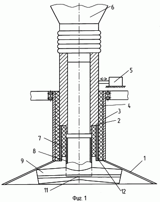
Сошник для разбросного посева (фиг.1-3) включает культиваторную стрельчатую лапу (1), полую стойку-семяпровод (2), помещенную внутри корпуса стойки лапы (3), между которыми находится эластичный материал (4). Верхний выступающий конец стойки-семяпровода (2) соединен с вибратором (5) и семенным бункером (6). Нижний конец стойки-семяпровода через эластичную муфту (7) соединен с приемным патрубком (8) распределителя семян (9), выполненным в виде заглушенной с торцов трубы, имеющей продольную по всей длине щель (10) в ее задней и боковых стенках, причем нижний конец приемного патрубка распределителя семян расположен выше нижней кромки щели на толщину зерна. Поскольку размеры зерна у разных культур различны (пшеница, рожь, горох, просо, и т.д.), то нижний конец приемного патрубка выполнен регулируемым по высоте за счет зазора (11). Для исключения контакта между эластичным материалом помещена металлическая втулка-разделитель (12).
Сошник для разбросного посева работает следующим образом. Высеваемый материал самотеком поступает из бункера, заполняет распределитель семян и стойку-семяпровод. При вибрации стойки-семяпровода и распределителя семян высеваемый материал переходит в псевдосжиженное состояние, в результате чего увеличивается текучесть семенного столба, поэтому он переполняет распределитель относительно продольной щели, зерно распределяется по всей длине распределителя семян 9 и пересыпается через кромку нижней горизонтальной щели 10, равномерно распределяясь по семенному ложу, т.е. по всей ширине захвата лапы. При прекращении вибрации стойки-семяпровода и распределителя семян, что необходимо при разворотах агрегата, высеваемый материал в распределителе остается неподвижным и выполняет роль «замка», при этом высев прекращается. Регулировка нормы высева осуществляется как путем изменения режимов работы вибратора, так и установкой величины зазора (11). При изменении частоты и амплитуды колебаний регулируется расход семян через щель распределителя, а при изменении зазора высев настраивается на различные культуры. При этом вредные воздействия вибрации гасятся муфтами из эластичного материала, между стойкой-семяпроводом (2) и корпусом стойки лапы (3), а также между стойкой-семяпроводом и приемным патрубком (8) распределителя семян (9).
Предлагаемое устройство обеспечивает следующие преимущества: улучшает равномерность распределения семян за счет большей длины распределителя, упрощает конструкцию сошника, исключает наличие высевающих аппаратов.
Источники информации
1. А.с. СССР №409666, М. кл. А 01 С 7/20.
2. А.с. СССР №361761, М. кл. А 01 С 7/20.
Формула изобретения
1. Сошник для разбросного посева, включающий культиваторную стрельчатую лапу, полую стойку-семяпровод и распределитель семян с виброприводом, отличающийся тем, что стойка-семяпровод помещена внутри корпуса стойки лапы, пространство между которыми заполнено эластичным материалом, на верхнем конце стойки-семяпровода установлен вибратор, а на нижнем – распределитель семян, выполненный в виде заглушенной трубы с продольной по всей длине щелью в ее задней и боковых стенках для выполнения функции высевающего аппарата.
2. Сошник по п. 1, отличающийся тем, что стойка-семяпровод соединена с распределителем семян и со стойкой лапы с помощью эластичных муфт.
3. Сошник по п.1, отличающийся тем, что приемный патрубок распределителя семян выполнен с возможностью регулировки по высоте, а его нижний конец расположен выше нижней кромки щели.
РИСУНКИ
MM4A – Досрочное прекращение действия патента СССР или патента Российской Федерации на изобретение из-за неуплаты в установленный срок пошлины за поддержание патента в силе
Дата прекращения действия патента: 23.12.2006
Извещение опубликовано: 20.06.2008 БИ: 17/2008
|
|