|
|
(21), (22) Заявка: 2004125120/12, 16.08.2004
(24) Дата начала отсчета срока действия патента:
16.08.2004
(45) Опубликовано: 20.03.2006
(56) Список документов, цитированных в отчете о поиске:
ЛАРЮХИН Г.А. и др. Механизация лесного хозяйства, М., «Лесная промышленность», 1975, с.180. SU 30011 А, 30.04.1933. RU 2064750 C1, 10.08.1998. SU 1692328 A1, 23.11.1991. SU 475972 A, 27.11.1975.
Адрес для переписки:
394613, г.Воронеж, ул. Тимирязева, 8, Воронежская государственная лесотехническая академия, патентный отдел
|
(72) Автор(ы):
Свиридов Леонид Тимофеевич (RU), Хрипченко Михаил Сергеевич (RU)
(73) Патентообладатель(и):
Воронежская государственная лесотехническая академия (RU)
|
(54) УСТРОЙСТВО ДЛЯ ПРЕДПОСЕВНОЙ ОБРАБОТКИ ПОЧВЫ И ПОСЕВА КРУПНОПЛОДНЫХ ЛЕСНЫХ СЕМЯН
(57) Реферат:
Изобретение относится к лесному хозяйству и может быть использовано для посева крупноплодных семян лесных культур, например, желудей дуба. Устройство состоит из рамы, сошника, высевающего аппарата, прикатывающего катка и полозовидных опор. В передней части рамы дополнительно установлены параллельно друг другу три дисковых ножа, непосредственно за ними установлен почвоуглубитель-дерносним. Следом за дерноснимом установлен с возможностью вращения на закрепленной на раме неподвижной оси волновой диск. Диаметры дисковых ножей определяются по формуле: D1=(2,5÷2,6)Н. Диаметр волнового диска D2 находится из соотношения D2=(1,05÷1,1)D1, где D1 – диаметры дисковых ножей, D2 – диаметр волнового диска, Н – глубина посевной бороздки. Такое конструктивное выполнение позволит обеспечить одновременно предпосевную обработку почвы и посев крупноплодных лесных семян. 1 ил. 
Изобретение относится к лесному хозяйству, в частности к устройствам для посева крупноплодных семян лесных культур, например, желудей дуба.
Для посева желудей на незадернелых вырубках и лесокультурных площадях используется сеялка (Г.А.Ларюхин, Л.С.Златостов, B.C.Раков. Механизация лесного хозяйства – М.: «Лесная промышленность», 1975, с.180), обеспечивающая непосредственно операцию высева семян. Она состоит из рамы, навесного устройства, сошника, ножа, катушечно-лопастного высевающего аппарата, прикатывающего катка и полозовидных опор. Сеялка обеспечивает высев по дну борозд, подготовленных двухотвальными плугами и по разрыхленным полосам (фрезами и другими рыхлителями). Предварительная обработка почвы обеспечивается комплексом орудий, а именно лесной плуг ПКЛ-70, фреза ФЛУ-0,8, корчеватель пней и прочие. Недостатком является необходимость использования большого числа орудий и, как следствие, высокие энергозатраты и низкая производительность.
Изобретение решает задачу создания устройства, обеспечивающего одновременно предпосевную обработку почвы и посев крупноплодных лесных семян.
Это достигается тем, что в устройстве для посева крупноплодных лесных семян (желудей), состоящем из рамы, сошника, высевающего аппарата, прикатывающего катка и полозовидных опор, согласно изобретению, в передней части рамы дополнительно установлены параллельно друг другу три дисковых ножа, непосредственно за ними установлен почвоуглубитель-дерносним, а следом установлен с возможностью вращения на закрепленной на раме неподвижной оси волновой диск, причем диаметры дисковых ножей определяются по формуле D1=(2,5÷2,6)H, а диаметр волнового диска D2 находится из соотношения D2=(1,05÷1,1)D1, где D1 – диаметры дисковых ножей, D2 – диаметр волнового диска, Н – глубина посевной бороздки.
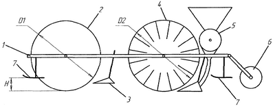
На чертеже изображено устройство для предпосевной обработки почвы и посева крупноплодных лесных семян – вид слева.
Устройство для предпосевной обработки почвы и посева крупноплодных лесных семян состоит из несущей рамы 1 с навесным устройством, трех дисковых ножей 2 для разрезания дернины, установленных с возможностью вращения на закрепленной на раме оси, почвоуглубителя-дерноснима 3, имеющего регулировки по высоте и углу атаки в зависимости от типа обрабатываемой почвы, рабочего органа для рыхления посевной бороздки 4, который представляет собой волновой диск, установленный с возможностью вращения на поперечно закрепленной на раме оси, высевающего аппарата 5 катушечно-лопастного типа с цепным приводом от колеса, снабженного грунтозацепами и прикатывающего катка 6. На раме закреплены четыре регулируемые по высоте полозовидные опоры 7.
Устройство работает следующим образом. При движении орудия по задернелой почве дисковые ножи под действием силы тяжести разрезают дернину и заглубляются в почву, при этом крайние образуют стенки посевной бороздки на заданную глубину Н, которая определяется высотой установки опорных лыж. Почвоуглубитель – дерносним, установленный непосредственно за дисковыми ножами подрезает слой дернины и удаляет его, отбрасывая влево и вправо в виде двух лент. При этом он создает дополнительную вертикальную силу, необходимую для работы дисковых ножей. Волновой диск при поступательном движении устройства входит в зацепление с почвой и совершает вращательное движение. При этом происходит рыхление посевной бороздки. Высевающий аппарат катушечно-лопастного типа приводится цепной передачей, изменением параметров которой регулируется норма высева семян. Приводное колесо высевающего аппарата закреплено на маятниковом рычаге и снабжено грунтозацепами, что позволяет ему копировать профиль почвы и снижает проскальзывание, а следовательно и неравномерность высева. Прикатывающий каток установлен в задней части рамы при помощи подпружиненных рычагов, удерживающих его в постоянном контакте с почвой. Это обеспечивает качественную заделку бороздки и требуемую степень уплотнения почвы.
В связи с тем, что устройству для работы требуется небольшое тяговое усилие, оно может агрегатироваться с трактором малой мощности или использоваться в ручном варианте.
Формула изобретения
Устройство для предпосевной обработки почвы и посева крупноплодных лесных семян, состоящее из рамы, сошника, высевающего аппарата, прикатывающего катка и полозовидных опор, отличающееся тем, что в передней части рамы дополнительно установлены параллельно друг другу три дисковых ножа, непосредственно за ними установлен почвоуглубитель-дерносним, а следом установлен с возможностью вращения на закрепленной на раме неподвижной оси волновой диск, причем диаметры дисковых ножей определяются по формуле D1=(2,5÷2,6)Н, а диаметр волнового диска D2 находится из соотношения D2=(1,05÷1,1)D1, где D1 – диаметр дисковых ножей; D2 – диаметр волнового диска; Н – глубина посевной бороздки.
РИСУНКИ
|
|