|
|
(21), (22) Заявка: 2004125018/12, 16.08.2004
(24) Дата начала отсчета срока действия патента:
16.08.2004
(45) Опубликовано: 20.03.2006
(56) Список документов, цитированных в отчете о поиске:
SU 1212336 A1, 23.02.1986. RU 2064741 C1, 10.08.1996. SU 1501934 A1, 23.08.1989. SU 1703538 A1, 07.01.1992.
Адрес для переписки:
350044, г.Краснодар, ул. Калинина, 13, КГАУ, ПИО
|
(72) Автор(ы):
Карсанов Батраз Хаджимурзаевич (RU)
(73) Патентообладатель(и):
Кубанский государственный аграрный университет (RU)
|
(54) САМОХОДНЫЙ РЫХЛИТЕЛЬ ПОЧВЫ
(57) Реферат:
Изобретение относится к сельскому машиностроению и может быть использовано для рыхления почвы без оборота пласта. Рыхлитель содержит раму, силовую установку, гусеничный движитель с опорными катками, траки и зубья. Движитель выполнен в виде двух секций. Зубья выполнены клыкообразными и расположены в шахматном порядке на траках. Секции движителя размещены относительно друг друга с интервалом, равным ширине одной секции. Каждая секция в вертикальном сечении имеет треугольную форму. В верхнем углу каждой секции расположено колесо-звездочка, которое жестко соединено с рамой и связано с редуктором. Колесо-звездочка имеет радиус, равный радиусу опорного катка, установленного в противоположном углу секции. В углу между колесом-звездочкой и опорным катком установлен опорный каток, имеющий радиус в два раза больше радиуса колеса-звездочки и опорного катка, имеющих одинаковый радиус. Рыхлитель имеет опорные колеса, установленные с возможностью регулирования их положения по высоте. Такое конструктивное выполнение позволит обеспечить поверхностное рыхление почвы без оборота пласта при самопередвижении агрегата. 3 ил. 
Изобретение относится к сельскохозяйственному машиностроению.
Известен гусеничный трактор для сельскохозяйственных работ (см. патент США №4174757, кл. А 01 В 35/14, 1979 г.), содержащий гусеничные шасси, кабину оператора и силовую установку, соединенную с сельскохозяйственной машиной.
Также известен почвообратывающий культиватор с зубовым ротором на тракторной тяге (см. SU 1212336, 23.02.1986), содержащий раму, силовую установку и гусеничный движитель, имеющий опорные катки, траки и зубья.
Недостатком известного технического решения является то, что для рыхления почвы необходимо сначала перевернуть пласт, а затем его рыхлить и, кроме того, необходимо дополнительно использовать сельскохозяйственную технику.
Техническим решением задачи является обеспечение поверхностного рыхления почвы без оборота пласта в сочетании с самопередвижением агрегата.
Поставленная задача достигается тем, что в самоходном рыхлителе почвы, содержащем раму, силовую установку и гусеничный движитель, имеющий опорные катки, траки и зубья, движитель выполнен в виде двух секций с интервалом между ними, равным ширине одной секции, имеющей в вертикальном сечении треугольную форму, в верхнем углу которой расположено колесо-звездочка, жестко соединенное через стойку с рамой, и связано с расположенным на последней редуктором и имеет радиус, равный радиусу опорного катка, установленного в противоположном углу, а в углу между ними, в месте вхождения зубьев в почву, установлен опорный каток с радиусом в два раза больше радиуса этих опорных катков, причем зубья выполнены клыкообразными с длиной, обеспечивающей необходимую глубину рыхления, и расположены в шахматном порядке на траках, при этом опорные колеса установлены с возможностью регулирования их положения по высоте.
Новизна заявляемого предложения обусловлена тем, что за счет конструктивных особенностей обеспечивается совмещение поверхностного рыхления почвы без оборота пласта и самопередвижение агрегата, при этом исключается уплотнение почвы от ходовых колес.
По данным патентной и научно-технической литературы не обнаружена заявляемая аналогичная заявляемой совокупность признаков, что позволяет судить об изобретательском уровне предложения.
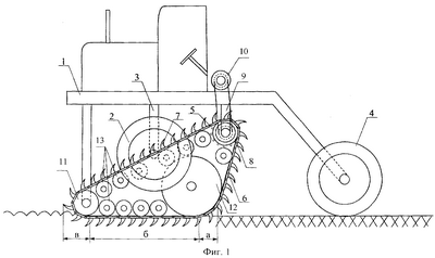
Сущность изобретения поясняется чертежами, где на фиг.1 изображен общий вид устройства, на фиг.2 – вид сверху, на фиг.3 – клыкообразный зуб.
Самоходный рыхлитель почвы содержит раму 1, опорные колеса 2 для транспортного передвижения, которые через гидроцилиндр 3 соединены с рамой 1. Гидроцилиндр 3 регулирует положение колес 2 на разной высоте в зависимости от режима работы. Рыхлитель также имеет колеса 4, которые в транспортном режиме являются ведущими и рулевыми, а в рабочем положении – только рулевыми. Рабочий орган выполнен в виде гусеничного движителя 5, выполненного из секций с расстоянием между ними, равным ширине секции, на траках 6 которых расположены клыкообразные зубья 7 в шахматном порядке, и имеют длину, обеспечивающую необходимую глубину рыхления почвы. Для обеспечения самоходности, секции гусеничного движителя в вертикальном сечении имеют треугольную форму.
В верхнем углу секции расположено колесо-звездочка 8, жестко соединенное через стойку 9 с рамой 1 и связано с размещенным на раме 1 редуктором 10. Колесо-звездочка 8 имеет радиус, равный радиусу опорного катка 11, установленного в противоположном углу секции. В углу секции, расположенном между колесом-звездочкой 8 и опорным катком 11, установлен передний опорный каток 12, имеющий радиус в два раза больше радиуса опорного катка 11 и колеса-звездочки 8 для обеспечения вхождения зубьев 7 в почву. Секция имеет также средние 13 опорные катки. Передний 12 и задний 11 опорные катки имеют диаметры с соотношением 1:2, а передний 12 и средние 13 катки – 1:3.
Самоходный рыхлитель почвы работает следующим образом.
В режиме “рыхление” опорные колеса 2 посредством гидроцилиндра 3 поднимаются и рыхлитель передвигается по полю с помощью гусеничного движителя 5. Перед передним опорным катком 12 начинается зона плавного вхождения в верхний слой почвы клыкообразных зубьев 7 длиной 10-12 см (см.фиг.1, интервал “а”), которые в процессе движения рыхлителя расшатывают этот слой (см.фиг.1, интервал “б” ). Перед задним 11 опорным катком начинается поддевание поверхностного слоя почвы (интервал “в”), затем зубья 7 выходят из почвы, в результате обеспечивается рыхление верхнего слоя пахотного горизонта без его оборота. Этому процессу способствует центробежная сила от катка 11. Рыхлитель одновременно обрабатывает две параллельные полосы почвы ограниченной ширины, которая лимитируется конструктивными возможностями траков 6 секций гусеничного движителя 5. При этом ширина необработанной полосы “прогалины” равняется ширине одной обработанной полосы. При обратном ходе, после разворота, одна из гусениц обрабатывает необработанную полосу “прогалину”. В результате общая ширина взрыхленной полосы равняется ширине четырех однопроходных полос.
Формула изобретения
Самоходный рыхлитель почвы, содержащий раму, силовую установку и гусеничный движитель, имеющий опорные катки, траки и зубья, отличающийся тем, что движитель выполнен в виде двух секций с интервалом между ними, равным ширине одной секции, имеющей в вертикальном сечении треугольную форму, в верхнем углу которой расположено колесо-звездочка, жестко соединенное через стойку с рамой, связано с расположенным на последней редуктором и имеет радиус, равный радиусу опорного катка, установленного в противоположном углу, а в углу между ними, в месте вхождения зубьев в почву, установлен опорный каток с радиусом в два раза больше радиуса колеса-звездочки и опорного катка, причем зубья выполнены клыкообразными длиной, обеспечивающей необходимую глубину рыхления почвы, и расположены в шахматном порядке на траках, при этом рыхлитель имеет опорные колеса, установленные с возможностью регулирования их положения по высоте.
РИСУНКИ
MM4A – Досрочное прекращение действия патента СССР или патента Российской Федерации на изобретение из-за неуплаты в установленный срок пошлины за поддержание патента в силе
Дата прекращения действия патента: 17.08.2006
Извещение опубликовано: 10.04.2008 БИ: 10/2008
|
|