|
|
(21), (22) Заявка: 2003122360/28, 13.11.2001
(24) Дата начала отсчета срока действия патента:
13.11.2001
(30) Конвенционный приоритет:
21.12.2000 (пп.1-18) EP 00204720.7
(43) Дата публикации заявки: 10.02.2005
(45) Опубликовано: 10.03.2006
(56) Список документов, цитированных в отчете о поиске:
US 5025346 А, 18.06.1991. US 4381672 А, 03.05.1983. US 4764244 А, 16.08.1988. US 5918354 А, 06.07.1999. US 3683213 A1, 08.08.1972. SU 919038 A1, 07.04.1982.
(85) Дата перевода заявки PCT на национальную фазу:
21.07.2003
(86) Заявка PCT:
CH 01/00665 (13.11.2001)
(87) Публикация PCT:
WO 02/51004 (27.02.2002)
Адрес для переписки:
103735, Москва, ул. Ильинка, 5/2, ООО “Союзпатент”, пат.пов. В.С.Ткаченко
|
(72) Автор(ы):
ЖИУЗУФ Метин (DE), КЮК Хайнц (DE), ПЛАТЦ Райнер (CH)
(73) Патентообладатель(и):
ЭТА СА МАНУФАКТЮР ОРЛОЖЭР СЮИС (CH)
|
(54) ГЕНЕРАТОР ЭТАЛОННОГО ВРЕМЕНИ НА ОСНОВЕ ИНТЕГРАЛЬНОГО МИКРОМЕХАНИЧЕСКОГО НАСТРАИВАЕМОГО КАМЕРТОННОГО РЕЗОНАТОРА
(57) Реферат:
Изобретение относится к генераторам эталонного времени. Техническим результатом изобретения является создание компактного генератора эталонного времени, который полностью интегрирован на одной подложке и в котором резонатор имеет большую добротность, лучшую стабильность частоты и низкое энергопотребление. Генератор (1) эталонного времени содержит резонатор (4) и интегральную электронную схему (3), предназначенную для возбуждения колебаний резонатора, а также для съема сигнала, имеющего определенную частоту, с резонатора. Резонатор представляет собой интегральный микромеханический настраиваемый камертонный резонатор (4), установленный наверху подложки (2) и выполненный с возможностью колебаний в плоскости, параллельной подложке. Настраиваемый камертонный резонатор содержит элемент (5) основы, проходящий перпендикулярно подложке, свободную колебательную структуру (6), соединенную с элементом основы и включающую, по меньшей мере, одну пару параллельных ножек (7, 8) камертона и электрод (9), расположенный рядом с ножками камертона и соединенный с интегральной электронной схемой (3). 17 з.п. ф-лы, 12 ил. 
Область техники, к которой относится изобретение
Настоящее изобретение относится к генератору эталонного времени, то есть устройству, содержащему резонатор и интегральную микросхему, предназначенную для возбуждения колебаний резонатора и для формирования на основе этих колебаний сигнала с определенной частотой.
Генераторы эталонного времени или стандарты частоты применяются в различных электронных устройствах, от наручных часов и других устройств измерения времени, до сложных устройств передачи данных. Такие генераторы эталонного времени обычно построены на основе генератора, содержащего кварцевый резонатор и электронную схему, предназначенную для возбуждения резонатора и формирования выходных колебаний. Дополнительная схема деления может использоваться для деления частоты сигнала, снимаемого с генератора, для получения более низкой частоты. Другие компоненты схемы могут использоваться для регулировки частоты, например, путем изменения коэффициента деления схемы деления. Компоненты электронной схемы предпочтительно интегрированы на единой полупроводниковой подложке, выполненной по технологии КМОП (CMOS) (комплементарный металлооксидный полупроводник). На этой же подложке могут быть интегрированы другие компоненты, выполняющие функции, не связанные непосредственно с обработкой частоты.
Преимущество кварцевых резонаторов состоит в высокой добротности Q, благодаря чему обеспечивается высокая стабильность частоты и низкое потребление энергии, а также достаточная температурная стабильность. Однако недостаток обычных генераторов эталонного времени на основе кварцевых резонаторов состоит в том, что для обеспечения высокой точности частоты необходимы два отдельные компонента, а именно кварцевый резонатор и интегральная электронная схема. Для дискретного кварцевого резонатора требуется место на подложке, которого во многих случаях недостаточно. Например, для размещения стандартного кварцевого резонатора для наручных часов требуется место порядка 2×2×6 мм3. Кроме того, сборка и подключение двух компонентов требует дополнительных затрат. А место и затраты на сборку являются существенными моментами в развивающейся отрасли производства портативных электронных устройств.
Уровень техники
Известно применение настраиваемого камертона в качестве резонансных элементов в различных типах датчиков, таких, как датчики ускорения, вращения или деформации. Такие датчики, однако, не оптимизированы для целей настоящего изобретения, которое прежде всего направлено на обеспечение высокого значения добротности для получения высокой точности эталонного времени.
Например, в американском патенте № US 5747691 авторов Yoshino и др. описан настраиваемый вибрирующий элемент в форме камертона, выполненный на единой подложке из кристалла кремния. Ножки настраиваемого камертона имеют тонкие и толстые области, что позволяет ножке изгибаться в направлении, перпендикулярном колебаниям при приложении внешнего усилия. Резонаторный элемент был оптимизирован для применения в качестве датчика.
В патенте Великобритании № GB 2300047 авторов Fitzpatrick и др. описан узел настройки камертонных датчиков, предназначенных для определения перемещения по трем осям пространства.
В других документах, например, WO 91/03716 авторов Jensen и др., GB 2162314 авторов Greenwood и др., US 4912990 авторов Norling и др., или в статье авторов Beeby и др. в Journal of Microelectromechanical Systems, том 9, Номер 1 (2000 г.), стр.104 и далее, описаны полученные способом микрообработки кремниевые резонансные датчики деформации, выполненные в форме настраиваемого камертона с двумя ножками.
Ни в одном из приведенных выше документов, однако, не указано или не предполагается использовать настраиваемый камертонный резонатор такого типа в качестве колебательной цепи, которая используется как стандарт частоты или эталон времени. Кроме того, ряд конструктивных особенностей настраиваемых камертонных резонаторов, описанных в этих документах, делает их мало пригодными для применения в качестве устройств измерения времени, где стабильность частоты и низкое потребление энергии являются существенными факторами.
Колебательные настраиваемые камертонные структуры, полученные способом анизотропного вытравливания, были описаны ранее авторами настоящей заявки. Анизотропное вытравливание структуры, однако, неизбежно приводит к получению ножек камертона различной длины, что, в свою очередь, обуславливает низкую добротность такого настраиваемого камертонного резонатора. Способ изготовления и недостатки таких настраиваемых камертонных резонаторов, полученных способом анизотропного вытравливания, более подробно описаны в статье авторов М. Giousouf и др., опубликованной в Proc. of Eurosensors XII, том 1 (1998 г.), стр.381-384 или в статье авторов М. Giousouf и др., опубликованной в Sensors and Actuators 76 (1999 г.), стр.416-424, обе статьи имеют название “Structuring of Convex Comers using a Reoxidation Process – Application to a Tuning Fork Resonator made from (110)-Sillicon”. Для специалистов в данной области техники будет очевидно, что резонаторные структуры такого типа в особенности непригодны для построения генераторов эталонного времени высокой точности. На таких структурах были измерены значения добротности Q порядка 1000 в вакууме, что, безусловно, является слишком низким показателем для применения в качестве стандарта частоты.
Таким образом, настоящее изобретение, в основном, направлено на решение вышеуказанных проблем с помощью генератора эталонного времени, содержащего интегральный резонатор.
Другой целью настоящего изобретения является генератор эталонного времени, который может быть полностью интегрирован на единой подложке, который подходит для массового производства и может быть выполнены с использованием технологии КМОП.
Еще одной целью настоящего изобретения является генератор эталонного времени, содержащий резонатор, имеющий улучшенную добротность Q и, таким образом, лучшую стабильность частоты и низкое потребление энергии.
Еще одной целью настоящего изобретения является такой генератор эталонного времени, который имеет низкую стоимость и требует использования очень небольшой площади поверхности полупроводникового кристалла.
В соответствии с этим предложен генератор эталонного времени, содержащий резонатор и интегральную электронную схему, предназначенную для возбуждения колебаний указанного резонатора для получения колебаний и для съема сигнала в ответ на указанные колебания, имеющего определенную частоту, отличающийся тем, что указанный резонатор представляет собой интегральный микромеханический настраиваемый камертонный резонатор, установленный над подложкой и выполненный с возможностью колебаний в первом режиме колебаний в плоскости, по существу, параллельной указанной подложке, причем указанный настраиваемый камертонный резонатор содержит элемент основы, проходящий, по существу, перпендикулярно от указанной подложки, свободную колебательную структуру, соединенную с указанным элементом основы и включающую, по меньшей мере, первую пару, по существу, параллельных ножек камертона, расположенных в указанной плоскости, и электрод, расположенный рядом с указанными ножками камертона и соединенный с указанной интегральной электронной схемой.
Преимущество такого генератора эталонного времени в соответствии с настоящим изобретением состоит в том, что микромеханический настраиваемый камертонный резонатор обладает высокой добротностью Q. Измерения показали, что такой резонатор может иметь добротность на уровне 50000, что составляет такой же уровень, который получается при использовании обычных кварцевых резонаторов.
Добротность Q определяется трением воздуха и собственными потерями в материале вибрирующего резонатора. Трением воздуха можно пренебречь, когда резонатор работает в условиях вакуума. Внутренние потери зависят от материала, а также от конструкции резонатора. Резонаторы, изготовленные из кристаллических материалов, таких, как кварц или кремний, как известно, могут колебаться с высокими значениями добротности Q. Кроме того, на динамическое поведение существенно влияет зажим, то есть часть механического держателя резонатора. В соответствии с настоящим изобретением настраиваемый камертонный резонатор построен и возбуждается таким образом, что центр тяжести всей структуры остается при колебаниях неподвижным и изгибающие моменты ножек камертона могут быть скомпенсированы в относительно небольшой области элемента основы.
Зависимые пункты формулы изобретения направлены на различные конструктивные особенности, обеспечивающие высокое значение добротности Q, которые будут подробно описаны ниже.
Кроме того, при заданной резонансной частоте площадь поверхности, необходимая для формирования на подложке настраиваемого камертонного резонатора, не велика по сравнению с резонаторами других типов. Например, для настраиваемого камертонного резонатора в соответствии с настоящим изобретением, рассчитанного для работы на частоте 32 кГц, требуется приблизительно 0,2 мм2 поверхности кристалла, что меньше, чем область на кристалле, занимаемая кремниевым кольцевым резонатором, который описан в находящейся на рассмотрении международной заявке № РСТ/СН 00/00583, поданной 1 ноября 2000 года настоящим Заявителем.
В соответствии с одним из аспектов настоящего изобретения электронная схема предпочтительно интегрирована на подложке вместе с микромеханическим настраиваемым камертонным резонатором, благодаря чему может быть получен генератор эталонного времени с низкой стоимостью. Низкая стоимость также обеспечивается благодаря вакуумной герметизации резонатора на уровне слоя подложки при способе производства партиями с использованием технологии соединения полупроводниковых пластин.
Настраиваемые камертонные резонаторы, в соответствии с настоящим изобретением, оптимизированы для получения колебаний с высоким значением добротности Q, низким уровнем потребления энергии и требуют очень небольшого места на кристалле. Возбуждение резонатора может осуществляться при низких напряжениях питания порядка 1 В, что дает возможность использовать в качестве источника питания батареи портативных электронных устройств. Кроме того, представленные конструктивные особенности позволяют обеспечить массовое производство таких резонаторов благодаря улучшенным возможностям получения характеристик устройства в пределах допустимых технологических отклонений.
В соответствии с другим аспектом настоящего изобретения на подложке может быть интегрирована схема измерения температуры, предназначенная для компенсации влияния температуры на частоту сигнала, получаемого с помощью генератора эталонного времени. Такая компенсация температурной зависимости резонатора может быть легко обеспечена, поскольку настраиваемый камертонный резонатор, в соответствии с настоящим изобретением, имеет преимущество, проявляющееся, по существу, в линейной температурной характеристике.
В соответствии с еще одним аспектом настоящего изобретения на той же подложке может быть построен второй микромеханический настраиваемый камертонный резонатор, который обеспечивает компенсацию температурной зависимости. В соответствии с другим аспектом настоящего изобретения компенсация температурной зависимости также достигается путем использования одного микромеханического настраиваемого камертонного резонатора, который работает одновременно в двух режимах колебаний с различными резонансными частотами.
Краткое описание чертежей
Другие аспекты, свойства и преимущества настоящего изобретения будут понятны из следующего подробного описания не ограничивающих примеров и вариантов выполнения со ссылками на прилагаемые чертежи, на которых:
фиг.1 изображает вид сверху, схематично иллюстрирующий генератор эталонного времени в соответствии с настоящим изобретением, содержащий микромеханический настраиваемый камертонный резонатор и интегральную электронную схему;
фиг.2 – вид сверху первого варианта выполнения генератора эталонного времени, содержащего микромеханический настраиваемый камертонный резонатор, реализованный с помощью технологии микрообработки поверхности кремния;
фиг.2а и 2b показаны два вида в разрезе на фиг.2 по линиям А-А и В-В соответственно;
фиг.3 – вид сверху второго варианта выполнения генератора эталонного времени, содержащего микромеханический настраиваемый камертонный резонатор, который изготовлен с использованием подложки с углубленным оксидным слоем, такой, как подложка типа “кремний на диэлектрике” (КНД) (SOI);
фиг.3а и 3b – два вида в разрезе на фиг.3 по линиям А-А и В-В соответственно;
фиг.4 – вид сверху третьего варианта выполнения генератора эталонного времени, содержащего микромеханический настраиваемый камертонный резонатор, который сформирован с использованием подложки с углубленным слоем окисла, путем вытравливания нижней стороны подложки для освобождения ножек камертона;
фиг.4а и 4b – два вида в разрезе на фиг.4 по линиям А-А” и В-В соответственно;
фиг.5 а и 5b – соответственно, первый и второй режимы колебаний в плоскости, когда ножки камертона колеблются асимметрично или “в фазе” и симметрично или в “противофазе” соответственно;
фиг.6а и 6b – два частичных вида сверху, иллюстрирующие примеры гребневидных структур камертона;
фиг.7 – график зависимости между напряжением и прикладываемым к электродам и получаемой электростатической силой F на ножках камертона;
фиг.8а-8с – частичные виды сверху трех различных конструкций, предназначенных для предотвращения прилипания ножек настраиваемого камертона к электродам;
фиг.9 – вид сверху, представляющий улучшение первого варианта выполнения, показанного на фиг.2;
фиг.9а – вид в разрезе на фиг.9 по линии А-А ;
фиг.10 – часть ножек камертона резонатора с отверстиями;
фиг.11 – два настраиваемых камертонных резонатора, в которых используется один элемент основы и которые разработаны для получения двух различных резонансных частот;
фиг.12 – вид сверху, иллюстрирующий второй режим колебаний, где ножки камертона выполняют вертикальные колебания в противоположных направлениях перпендикулярно плоскости подложки;
фиг.12а и 12b – два вида в разрезе на фиг.12 по линиям А-А и В-В соответственно.
Размеры деталей, представленных на чертежах, показаны не в масштабе.
Подробное описание изобретения
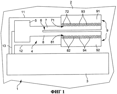
На фиг.1 схематично показан вид сверху генератора эталонного времени в соответствии с настоящим изобретением. Здесь представлен интегральный генератор эталонного времени, в общем обозначенный позицией 1, содержащий резонатор 4 и интегральную электронную схему 3, предназначенную для возбуждения резонатора, съема колебаний и для генерирования в соответствии с этими колебаниями сигнала, имеющего заданную частоту. Интегральная электронная схема 3 не показана подробно, поскольку такая схема может быть легко сконструирована специалистами в данной области техники. Предпочтительно как интегральная электронная схема 3, так и резонатор 4 сформированы и интегрированы на одной подложке, которая, в общем, на фиг.1 обозначена позицией 2. Предпочтительно в качестве материала для подложки использовать кремний, но другие аналогичные материалы, известные специалистам в данной области техники, также пригодны для построения генератора эталонного времени в соответствии с настоящим изобретением.
В соответствии с настоящим изобретением резонатор 4 реализован в форме монолитного микромеханического настраиваемого камертонного резонатора. Резонатор 4 установлен наверху подложки 2 и выполнен с возможностью колебаний в плоскости, параллельной подложке 2. Настраиваемый камертонный резонатор 4, по существу, содержит элемент 5 основы, проходящий перпендикулярно от подложки 2, и свободную колебательную структуру, обозначенную, в общем, позицией 6, соединенную с элементом 5 основы и включающую пару, по существу, параллельных ножек 7, 8 камертона, расположенных параллельно подложке 2. Следует отметить, что механическое соединение между настраиваемым камертонным резонатором 4 и подложкой 2 осуществляется только через элемент 5 основы настаиваемого камертона, в результате чего получаются свободные подвижные ножки 7, 8.
Настраиваемый камертонный резонатор 4 дополнительно содержит структуру 9 электрода, предназначенную для возбуждения колебаний резонатора 4 и съема сигнала, получаемого в результате этих колебаний, как будет более подробно описано ниже.
В соответствии с предпочтительным вариантом выполнения настоящего изобретения на ножках 7, 8 камертона сформированы гребневидные структуры 71, 81 соответственно. Такие гребневидные структуры 71, 81 формируют часть электрода 9 настраиваемого камертонного резонатора, и каждая из них содержит первые элементы 72, 82 электрода, проходящие, по существу, перпендикулярно стороне каждой ножки 7, 8 камертона. На изображении, показанном на фигуре 1, эти элементы 72, 82 электрода расположены на внешней стороне ножек 7, 8 камертона, то есть на сторонах, противоположных зазору, сформированному между ножками камертона. В качестве альтернативы гребневидные структуры могут быть сформированы на внутренней стороне ножек 7, 8 камертона. Такой вариант требует использовать более широкий зазор между ножками камертона для установки одного или двух электродов между ними (каждый из них рядом с одной из ножек 7 и 8 камертона). Однако более широкий зазор ухудшает связь между ножками и снижает добротность Q требуемого противофазного колебания (фигура 5b).
Электрод 9 в примере, показанном на фигуре 1, дополнительно содержит первую и вторую гребневидные структуры электрода, обозначенные соответственно позициями 91 и 92, которые расположены на подложке 2 рядом с ножками 7, 8 камертона так, что они взаимодополняют гребневидные структуры 71, 81. Более конкретно, первая гребневидная структура 91 электрода включает вторые элементы 93 электрода и взаимодополняет гребневидную структуру 71 так, что первые элементы 72 электрода расположены рядом со вторыми элементами 93 электрода, и вторая гребневидная структура 92 электрода содержит вторые элементы 94 электрода и взаимодополняет гребневидную структуру 81 так, что первые элементы 82 электрода расположены рядом со вторыми элементами 94 электрода.
Понятно, что гребневидные структуры, сформированные на обеих ножках 7, 8 камертона, и структуры 91, 92 электрода не являются абсолютно необходимыми. Использование взаимосоответствующих гребневидных структур, однако, является в особенности предпочтительным, поскольку при этом может быть получен высокий фазовый сдвиг при низком потреблении энергии. Кроме того, при использовании таких гребневидных структур существенно уменьшается зависимость резонансной частоты от прилагаемых напряжений.
В соответствии с первым вариантом первая гребневидная структура 91 электрода служит для электростатического возбуждения колебаний настраиваемого камертонного резонатора 4, и вторая гребневидная структура 92 электрода, расположенная на противоположной стороне настраиваемого камертонного резонатора 4, служит для емкостного съема сигнала колебаний резонатора. В соответствии этим проводники 11, 12, 13 соответственно служат для подключения первой гребневидной структуры 91 электрода, второй гребневидной структуры 92 электрода и настраиваемого камертона 4 через элемент 5 основы к интегральной электронной схеме 3, которая содержит схему генератора (не показана), осуществляющую возбуждение колебаний настраиваемого камертона в резонансе. Получаемый в результате сигнал с частотой высокой стабильности может быть дополнительно обработан с помощью интегральной схемы 3, например, путем деления частоты получаемого сигнала в делителе частоты для формирования сигнала с более низкой частотой.
Следует отметить, что, несмотря на то, что только одна структура электрода, а именно структура 91 электрода, используется в качестве электрода возбуждения, будет возбуждаться колебание обеих ножек камертона, поскольку колебания, индуцированные в одной ножке камертона, будут передаваться на другую ножку камертона через элемент 5 основы.
Следует также отметить, что резонатор, по существу, может возбуждаться в двух основных режимах колебаний в плоскости. Первый из этих режимов представляет собой асимметричные колебания двух ножек камертона, когда обе ножки колеблются в одном направлении. Второй вид колебаний состоит в симметричном колебании ножек камертона, когда обе ножки колеблются в противоположных направлениях. Эти два режима колебаний в плоскости схематично показаны на фигурах 5а и 5b, где амплитуда колебаний была преувеличена для наглядности пояснений. Следует отметить, что второй режим колебаний, который может быть описан как режим колебаний в “противофазе”, является предпочтительным по сравнению с первым, поскольку при таком втором режиме колебаний центр тяжести резонирующей структуры остается, по существу, неподвижным. В отличие от второго режима колебаний асимметричные колебания приводят к более высокому рассеянию энергии и поэтому более высокой степени демпфирования колебаний.
В соответствии с другим вариантом первая и вторая гребневидные структуры 91 и 92 электрода соединены вместе и используются в качестве электродов возбуждения. Таким образом предпочтительно возбуждается колебание в противофазе ножек 7, 8 камертона, которое показано на фигуре 5b. В этом случае съем сигнала колебаний резонатора предпочтительно осуществляется путем измерения полного внутреннего сопротивления и определения сдвига полного внутреннего сопротивления при резонансе.
Резонатор может быть построен с использованием большого количества различных технологических процессов. Может использоваться микрообработка поверхности кремния, а также комбинация микрообработки поверхности и объема. На фигурах 2, 3 и 4 показаны три не ограничивающих примера резонаторов, построенных с использованием трех различных технологий микрообработки. Другие технологии, известные специалистам в данной области техники, также могут использоваться для реализации настраиваемого камертонного резонатора в соответствии с настоящим изобретением. На фигурах 2а, 3а, 4а и 2b, 3b, 4b показаны виды в разрезе резонаторов по линиям А-А и В-В на фигурах 2, 3 и 4 соответственно.
На фигуре 2 схематично показан настраиваемый камертонный резонатор 4, изготовленный с использованием технологии поверхностной микрообработки верхней части соответствующей подложки 2, причем эта подложка предпочтительно представляет кремниевую полупроводниковую пластину. В соответствии с этой первой технологией, слой поликристаллического кремния наносят поверх так называемого временного слоя, например, окисла кремния. После формирования соответствующих элементов слоя поликристаллического кремния временный слой частично удаляют для освобождения ножек камертона и формирования резонатора.
В частности, как показано на примере, представленном на фигурах 2, 2а и 2b, на полупроводниковую подложку 2 наносят, например, первый изолирующий слой 20 окисла. Первый слой электропроводного материала 30, такого, как поликристаллический кремний, может быть нанесен поверх первого слоя 20 окисла. При формировании соответствующих элементов из этого слоя 30 формируются проводники 11, 12 и 13, подходящие к первой структуре 91 электрода, второй структуре 92 электрода и элементу 5 основы соответственно, как показано на чертежах. В качестве альтернативы проводники 11, 12 и 13 могут быть выполнены путем легирования или могут представлять собой металлизированные области внутри или на поверхности подложки. Затем поверх первого слоя 20 окисла и структурированного слоя 30 наносят другой слой 22 окисла. Этот второй слой 22 окисла избирательно вытравливают с тем, чтобы сформировать отверстия во втором слое 22 окисла, обеспечивающие электрический контакт с расположенным ниже слоем электропроводного материала 30. Затем второй слой электропроводного материала 32, например, поликристаллического кремния наносят поверх второго (временного) слоя 22 окисла, также заполняя соединительные отверстия, вытравленные в слое 22 окисла.
Наконец, во втором слое электропроводного материала 32 формируют соответствующие элементы и вытравливают для формирования резонатора 4, то есть элемента 5 основы и ножек 7, 8 камертона, а также структур 91 и 92 электрода. После формирования соответствующих элементов слоя 32 временный слой 22 частично удаляют для освобождения ножек 7, 8 камертона. Очевидно, что слой 22 также будет, по меньше мере, частично удален под элементом 5 основы и структурами 91, 92 электродов, как показано на фигурах 2а и 2b. Однако элемент 5 основы и структуры 91, 92 электрода будут удерживаться на не вытравленных участках 22а слоя 22 окисла, а также участках электропроводного материала 32а, соединяющих резонатор 4 и структуры 91, 92 электрода с расположенными ниже проводниками 11, 12, 13.
На фигуре 3 схематично показан настраиваемый камертонный резонатор 4, изготовленный с помощью несколько отличающейся технологии, в которой используется заглубленный слой окисла, например, так называемая подложка типа кремний на диэлектрике (КНД). После формирования соответствующих элементов верхнего слоя кремния слой окисла частично удаляют для освобождения ножек камертона.
Как более подробно показано на фигурах 3, 3а и 3b, верхний слой кремния, обозначенный позицией 35, обрабатывают так, чтобы был сформирован резонатор 4 и структуры 91 и 92 электрода. В случае необходимости проводники 11, 12 и 13 также могут быть сформированы в слое 35. После формирования соответствующих элементов верхнего слоя 35 кремния расположенный ниже изолирующий слой 25, открывшийся после вытравливания слоя 35 кремния, вытравливают так, что освобождаются ножки 7, 8 камертона. Как схематично показано на чертежах, элемент 5 основы и структуры 91, 92 электрода (а также проводники 11, 12, 13) должны быть сформированы так, чтобы они имели большую площадь поверхности, чем ножки 7, 8 камертона так, чтобы после вытравливания изолирующего слоя 25 остающиеся его участки поддерживали расположенный выше слой 35 кремния, как показано в разрезе на фигурах 3a и 3b.
На фигуре 4 схематично показан настраиваемый камертонный резонатор 4, изготовленный с использованием третьей технологии, в которой также используется заглубленный слой окисла, например, подложка КНД. Здесь после формирования элементов верхнего слоя кремния заднюю сторону подложки вытравливают так, чтобы сформировалось сквозное отверстие, которое позволяет освободить ножки камертона.
Как, в частности, показано на фигурах 4, 4а и 4b, верхнему слою 35 кремния придана структура, которая обеспечивает формирование резонатора 4 и структуры 91, 92 электрода. Этот этап аналогичен этапу, реализуемому в соответствии со второй технологией, показанной на фигуре 3. После этого, однако, с задней стороны подложки 2 вытравливают отверстие 27 с использованием химического травителя такого, как, например, КОН или ТМАН. Затем в изолирующем слое 25 вытравливают отверстие 26, освобождая, таким образом, ножки 7 и 8 камертона. Такой способ имеет преимущество, состоящее в том, что ножки камертона не прилипают к подложке (что позволяет изготовлять более длинные ножки, работающие на более низких частотах), но недостаток его состоит в том, что необходимо обеспечить герметизацию полости резонатора с обеих сторон (сверху и снизу) подложки для обеспечения работы резонатора в условиях вакуума.
Вакуумная герметизация резонатора на уровне кристалла интегральной схемы может осуществляться с помощью методик пакетной обработки, таких, как анодное соединение или соединение кремний-кремний, которые хорошо известны специалистам в данной области техники.
В отношении всех описанных способов производства следует понимать, что дополнительные этапы могут использоваться для формирования других электропроводных или неэлектропроводных слоев. Кроме того, что касается резонаторов, показанных на фигурах 3 и 4, следует понимать, что проводники 11, 12, 13, сформированные в слое 35 кремния, могут быть заменены дополнительными электропроводными слоями, соединенными с соответствующими элементами, или проводами, соединенными непосредственно с этими участками.
Как уже было указано выше, ножки резонатора предпочтительно содержат гребневидные структуры, которые взаимно соответствуют гребневидным структурам электродов. На фигуре 6а подробно показан вид части свободного конца 7а ножки 7 камертона резонатора в соответствии с первым вариантом конструкции. Здесь первый и второй элементы 72, 93 электрода первой ножки 7 камертона и структура 91 электрода соответственно (а также элементы 82, 94 электрода, которые не показаны на фигуре 6а), имеют форму дуги круга. Радиус этих окружностей выбирают так, чтобы он соответствовал движению фиксированной точки на линии изгиба ножки камертона в течение полного периода колебаний и поэтому представляет собой функцию положения на ножке 7 (соответственно 8) камертона или структуры 91 (соответственно 92) электрода.
На фигуре 6b подробно показан вид части другого варианта конструкции гребневидной структуры, в которой расстояние между соседними элементами электрода изменяется вдоль длины ножки камертона. Более конкретно, расстояние между соседними элементами электрода уменьшено ближе к свободному концу ножек камертона. Меньшее расстояние между соседними элементами электрода приводит к местному повышению емкостной связи и поэтому воздействию большей электростатической силы на соответствующую часть ножки. При конструировании гребневидной структуры, таким образом, достигается преимущество предпочтительного возбуждения фундаментального симметричного режима колебаний в плоскости, который показан на фигуре 5b, и устраняются колебания настраиваемого камертона на первой гармонике. В другом варианте (не показан) длина элементов электродов может изменяться вдоль длины ножки камертона для возбуждения требуемого режима колебаний. Как было указано выше, в соответствии с первым вариантом гребневидная структура 91 электрода, показанная в варианте выполнения по фигуре 1, используется для электростатического возбуждения колебаний настраиваемого камертонного резонатора, и расположенная напротив гребневидная структура 92 электрода служит для емкостного съема сигнала механических колебаний. К структуре 91 электрода подводится сигнал переменного напряжения, в результате чего образуются электростатические силы, воздействующие на первую ножку 7 камертона, что вызывает ее колебания, причем эти колебания передаются на другую ножку 8. Такое колебание второй ножки 8 камертона, в свою очередь, индуцирует переменный сигнал на противоположном наборе структуры 92 электрода при работе резонатора. Следует понимать, что структуры 91 и 92 электрода являются полностью взаимозаменяемыми.
В соответствии с принципом электростатического возбуждения колебаний резонатора существует параболическая взаимозависимость между напряжением, приложенным к электродам, и получаемой в результате силой, воздействующей на ножки настраиваемого камертона. Таким образом, предпочтительно добавлять постоянное напряжение к переменному напряжению для получения, по существу, линейной зависимости силы от напряжения. На фигуре 7 схематично представлена такая параболическая зависимость и зависимость при линеаризации взаимоотношения силы – напряжения при добавлении постоянного напряжения Udc к переменному напряжению Uac, когда амплитуда Uac гораздо меньше, чем Udc.
В схематичном представлении, показанном на фигуре 1, показаны три линии передачи сигналов или проводники 11-13, которые соответственно подключены к первой структуре 91 электрода, второй структуре 92 электрода и элементу 5 основы настраиваемого камертона.
В соответствии с первым вариантом проводник 13 может использоваться для приложения составляющей постоянного напряжения к настраиваемому камертонному резонатору через элемент 5 основы, в то время как составляющую переменного напряжения подают на первую структуру 91 электрода через проводник 11, и при этом проводник 12 используется для съема получаемого сигнала, индуцируемого на второй структуре 92 электрода. В соответствии со вторым вариантом переменное напряжение возбуждения и постоянный компонент напряжения могут накладываться друг на друга на первой структуре 91 электрода при подаче по проводнику 11, в то время как настраиваемый камертонный резонатор соединен с постоянным потенциалом, таким, например, как земля, через проводник 13. Проводник 12 в этом случае используется для съема сигнала. И снова понятно, что структуры 91 и 92 электрода являются взаимозаменяемыми, и вторая структура 92 электрода, в качестве альтернативы, может использоваться для возбуждения колебаний резонатора, при этом первая структура 91 электрода используется для съема сигнала.
В качестве альтернативы электрод 9 может использоваться только для возбуждения колебаний, и съем сигнала может осуществляться путем определения изменения полного внутреннего сопротивления при резонансе. Например, структуры 91 и 92 электрода могут быть соединены вместе, или даже может использоваться только одна структура электрода для возбуждения колебаний резонатора. В соответствии с первым вариантом переменное напряжение возбуждения колебаний используется для набора структур электрода, и постоянный компонент напряжения прикладывают к настраиваемому камертону. В соответствии с другим вариантом сумма переменного и постоянного напряжений возбуждения колебаний может быть приложена к набору структур электрода, при этом настраиваемый камертон соединен с постоянным потенциалом, таким, например, как земля.
Для специалистов в данной области техники будет очевидно, что может использоваться множество других компоновок электрода для возбуждения колебаний резонаторов и, в конце концов, для съема сигнала получаемого движения. Компоновку, показанную на фигуре 1, поэтому не следует рассматривать как ограничение настоящего изобретения. Например, зазор между ножками камертона может быть увеличен с тем, чтобы между ними можно было разместить структуру электрода, которая может использоваться либо как структура электрода возбуждения колебаний, либо как структура электрода съема сигнала.
На фигурах 8а-8с представлены три различных предпочтительных варианта конструкции, направленных на предотвращение прилипания ножек камертона резонатора к электродам в случае удара. В соответствии с первым вариантом, показанным на фигуре 8а, по меньшей мере, один 72* из элементов 72 электрода (то же самое относится к элементам 82 электрода) может быть выполнен более длинным, чем другие, благодаря чему уменьшаются силы прилипания, когда гребневидная структура 71 и гребневидная структура 91 электрода (или 81 и 93) входят в механический контакт друг с другом. Очевидно, что тот эффект может быть получен, когда один из элементов 93 электрода (или 94 для второй ножки камертона) будет выполнен более длинным, чем другие.
В качестве альтернативы, как показано на фигуре 8b, кончики 72а элементов 72 электрода и/или кончики 93а элементов 93 электрода могут быть выполнены заостренными или так, что они имеют, по меньшей мере, соответственно малую площадь поверхности, что необходимо для предотвращения прилипания ножек камертона. Очевидно, что то же самое относится ко второй ножке 8 камертона и второй структуре 92 электрода.
Наконец, как показано в варианте по фигуре 8с, возле свободного конца 7а ножки 7 камертона на подложке 2 может быть установлен упор 28, причем свободный конец 7а выполнен с удлинением 78, взаимодействующим с упором 28. Такой упор 28 ограничивает угловое движение ножки 7 камертона и поэтому предотвращает прилипание ее к структуре 91 электрода при возникновении излишних угловых движений, например, в случае механических ударов. И вновь отметим, что то же самое относится ко второй ножке 8 камертона.
Все вышеуказанные свойства могут быть скомбинированы соответствующим образом для формирования механизма, эффективно предотвращающего прилипание.
На фигурах 9 и 9а показана улучшенная конструкция микромеханического настраиваемого камертонного резонатора 4, который представлен на фигурах 2, 2а и 2b. На фигуре 9а представлен вид в разрезе по линии А-А на фигуре 9. Электропроводные элементы 31 сформированы на (или под) поверхности подложки 2 (в данном случае поверх первого слоя 20 окисла) под, по меньшей мере, частью свободной колебательной структуры 6, то есть под ножками 7 и 8 камертона, при этом форма таких электропроводных элементов 31, по существу, представляет собой проекцию свободной колебательной структуры 6 на поверхность подложки 2. Такие электропроводные элементы 31 могут быть сформированы одновременно с проводниками 11, 12, 13 первого слоя электропроводного материала 30. Кроме того, электропроводные элементы 31 могут находиться в непосредственном электрическом контакте с проводником 13, который соединен с элементом 5 основы, так что при этом электропроводные элементы 31 и свободная колебательная структура 6 будут иметь одинаковый потенциал. В качестве альтернативы электропроводные элементы 31 могут быть сформированы в ходе дополнительного этапа, например, из металла.
Подключение электропроводных элементов 31 к тому же потенциалу, к которому подключена свободная колебательная структура 6, подавляет силу, направленную перпендикулярно к подложке 2, между настраиваемым камертонным резонатором 4 и поверхностью подложки 2, что позволяет обеспечить независимость резонансной частоты от прилагаемых напряжений. Кроме того, электропроводные элементы 31 предотвращают прилипание ножек 7, 8 к подложке. Очевидно, что аналогичные электропроводные элементы также могут быть добавлены к резонаторам, изготовленным с использованием других технологий, таких, как резонаторы, представленные на фигурах 3, 3а и 3b или фигурах 4, 4а и 4b.
Резонансная частота настраиваемого камертонного резонатора может регулироваться в широком диапазоне путем изменения геометрических размеров устройства, а именно длины и ширины ножек камертона, что можно видеть из приведенного ниже так называемого выражения “Karolus” для резонансной частоты настраиваемого камертона с ножками длиной l, шириной w, изготовленными из материала с модулем Юнга Е и плотностью :

где с – постоянная, зависящая от точной формы и режима работы настраиваемого камертона.
При серийном производстве таких настраиваемых камертонных резонаторов важно обеспечить небольшой разброс значений резонансной частоты отдельных кристаллов. Резонансная частота настраиваемых камертонных резонаторов не зависит от толщины настраиваемого камертона, что легко можно видеть из приведенного выше выражения. Поэтому резонансная частота настраиваемых камертонов, изготовленных, например, с использованием поверхностной микрообработки поликристаллического кремния, не зависит от толщины нанесенного слоя поликристаллического кремния, что позволяет достичь существенного улучшения повторяемости параметров процесса.
Разброс значений резонансной частоты из-за незначительных изменений параметров процесса может быть значительно снижен путем тщательного выбора размеров настраиваемого камертона. В частности, как схематично показано на фигуре 10, в ножках 7, 8 камертона могут быть сформированы отверстия 65, предназначенные для уменьшения зависимости резонансной частоты от параметров процесса. Действительно, резонансная частота настраиваемого камертона будет ниже, чем проектируемая частота, если длина ножек 7, 8 после обработки будет меньшей, чем требуется, например, при избыточном вытравливании. При этом, однако, отверстия 65, сформированные в ножках 7, 8 камертона, также увеличиваются, уменьшая, таким образом, массу ножек 7, 8 камертона и компенсируя снижение резонансной частоты (следует отметить, что вышеприведенное выражение для резонансной частоты не относится к настраиваемому камертону, в котором сформированы отверстия, такие, как показаны на фигуре 10). Элементы 72, 82 электрода гребневидных структур 71, 81 влияют на резонансную частоту камертона таким же образом, как и отверстие 65 в случае избыточного вытравливания.
Предпочтительно, отверстия 65 должны быть сформированы ближе к свободному концу 7а, 8а ножек 7, 8 для того, чтобы обеспечить большее воздействие на резонансную частоту, без влияния на добротность настраиваемого камертонного резонатора.
Площадь поверхности, необходимая для микромеханического настраиваемого камертонного резонатора, в соответствии с настоящим изобретением очень невелика с учетом получаемой резонансной частоты. Например, для настраиваемого камертонного резонатора, в соответствии с настоящим изобретением, разработанного для относительно низкой частоты 32 кГц, требуется поверхность, равная приблизительно 0,2 мм2. Для обычных резонаторов, работающих на такой низкой частоте, требуется относительно большая площадь поверхности. Для заданной геометрической компоновки существует обратно пропорциональная зависимость между размерами и частотой, то есть, чем больше геометрические размеры, тем ниже частота.
Резонансная частота настраиваемого камертонного резонатора в пределах температурного диапазона от 0 до 60°С, при хорошей аппроксимации, представляет собой линейную функцию температуры. На резонансной частоте 65 кГц наблюдалось, что тепловой коэффициент изменения резонансной частоты составляет порядка 30 промилле/°С. При этом предпочтительно можно установить на одной подложке схему измерения температуры, выходной сигнал которой может использоваться для компенсации изменений частоты путем соответствующей регулировки получаемого сигнала частоты генератора эталонного времени.
С этой целью генератор эталонного времени, в соответствии с настоящим изобретением, предпочтительно может содержать интегральную схему для измерения температуры (не показана). Пример такой схемы для измерения температуры описан в статье “Smart Temperature Sensor in КМОП Technology” авторов P.Krumenacher и Н.Oguey, в публикации “Sensors and Actuators”, A21-A23 (1990 г.), страницы 636-638. Здесь компенсация температуры достигается путем изменения коэффициента деления схемы деления, например, с использованием методики задержки, хорошо известной специалистам в данной области техники.
В качестве альтернативы, два настраиваемых камертонных резонатора с различными резонансными частотами могут быть интегрированы на одном кристалле, причем такая компоновка позволяет точно определять температуру кристалла путем измерения разности частот этих двух резонаторов (оба настраиваемых камертонных резонатора имеют одинаковый температурный коэффициент изменения частоты, поскольку они изготовлены из одинакового материала). Предпочтительно, как показано на фигуре 11, два настраиваемых камертонных резонатора 4 и 4*, имеющих различные резонансные частоты, могут быть установлены на одном элементе 5 основы для снижения требуемой площади поверхности на кристалле.
Преимущество использования интегральных генераторов эталонного времени, в соответствии с настоящим изобретением, состоит в двух аспектах. Во-первых, зависимость от температуры настраиваемого камертонного резонатора является линейной, что упрощает обработку электронного сигнала, необходимую для компенсации температуры. Во-вторых, и что более важно, небольшой размер и монолитная интеграция настраиваемого камертонного резонатора позволяет устанавливать второй резонатор при незначительном увеличении размеров кристалла, без необходимости дополнительных внешних соединений.
В качестве альтернативы, в соответствии с особенно предпочтительным вариантом выполнения настоящего изобретения можно использовать одиночный настраиваемый камертонный резонатор, который одновременно работает в двух режимах колебаний. Первый из этих режимов представляет собой вышеописанный режим колебаний в плоскости (фигура 5b). Второй режим колебаний может представлять собой режим вертикальных колебаний, в котором ножки 7, 8 камертона выполняют, по существу, вертикальные колебания перпендикулярно к плоскости подложки. Такой режим вертикальных колебаний может возбуждаться электростатически, и сигнал может сниматься емкостным способом с использованием дополнительных электродов, расположенных на подложке под ножками настраиваемого камертона. Два режима выбирают таким образом, чтобы они имели разные частоты так, что компенсация температуры может быть обеспечена путем измерения разности частот, которая непосредственно зависит от температуры. Различные частоты резонансов для вертикального режима колебаний и режима колебаний в плоскости могут быть получены путем выбора прямоугольного поперечного сечения ножек камертона.
Предпочтительно режим вертикальных колебаний должен состоять в асимметричном вертикальном колебании ножек камертона, когда ножки колеблются в противоположных направлениях. Действительно, силы, прикладываемые обеими ножками камертона к основанию 5 во время колебаний в случае асимметричных вертикальных колебаний, компенсируют друг друга, в то время как они складываются в случае, когда ножки камертона колеблются вертикально в одном направлении, что приводит к повышению рассеивания энергии и поэтому к снижению добротности. Вертикальный режим колебаний, однако, также может представлять симметричные вертикальные колебания ножек камертона.
На фигурах 12, 12а и 12b схематично показана компоновка электрода, позволяющая выполнять вертикальные колебания ножек камертона в противоположных направлениях. Как показано на этих чертежах, два набора электродов 100 и 120 расположены на поверхности или в области под ножками 7, 8 камертона. Первый набор электродов 100 осуществляет возбуждение вертикальных колебаний ножек 7, 8 камертона и второй набор электродов 120 производит съем сигнала этих вертикальных колебаний. Набор электродов 100 расположен под областью свободного конца ножек 7, 8 камертона, в то время как набор электродов 120 съема сигнала расположен под ножками 7, 8 камертона между элементом 5 основы и набором электродов 100 возбуждения колебаний. Однако следует понимать, что электроды 100 и 120 являются полностью взаимозаменяемыми.
Более конкретно, для возбуждения колебаний ножек камертона так, чтобы ножки камертона колебались в противоположных направлениях, как показано на чертежах, предпочтительно разделить набор электродов 100 возбуждения колебаний на два электрода, расположенных под каждой из ножек 7, 8 камертона, как показано на чертежах, при этом на два электрода подают сигналы в противофазе. Очевидно, что набор электродов 120 съема сигналов аналогично должен быть разделен на два электрода, с которых снимают сигналы в противофазе.
Выше было приведено описание настоящего изобретения на примере его конкретных вариантов выполнения, при этом следует понимать, что эти варианты выполнения не предназначены для ограничения настоящего изобретения. Различные модификации и/или приспособления будут очевидны для специалистов в данной области техники, которые не отходят от объема прилагаемой формулы изобретения.
Формула изобретения
1. Генератор эталонного времени, содержащий резонатор (4) и интегральную электронную схему (3), предназначенную для возбуждения резонатора (4) и для съема сигнала в ответ на указанные колебания, имеющего определенную частоту, отличающийся тем, что резонатор представляет собой интегральный микромеханический настраиваемый камертонный резонатор (4), установленный наверху подложки (2) и выполненный с возможностью колебаний в первом режиме колебаний в плоскости, по существу, параллельной указанной подложке (2), причем указанный камертонный резонатор (4) содержит:
элемент (5) основы, проходящий, по существу, перпендикулярно от подложки (2);
свободную колебательную структуру (6), соединенную с элементом (5) основы и включающую, по меньшей мере, первую пару, по существу, параллельных ножек (7, 8) камертона, расположенных в плоскости; и
электрод (9), расположенный вблизи ножек (7, 8) камертона и соединенный с интегральной электронной схемой (3),
отличающийся тем, что каждая из ножек (7, 8) камертона имеет гребневидную структуру (71, 81), расположенную в указанной плоскости и включающую первые элементы (72, 82) электрода, проходящие, по существу, перпендикулярно от первой стороны ножек (7, 8) камертона, при этом электрод (9) содержит, по меньшей мере, одну гребневидную структуру (91, 92) электрода, соответствующую указанной гребневидной структуре (71, 81) ножек (7, 8) камертона и содержащую вторые элементы (93, 94) электрода, расположенные вблизи первых элементов (72, 82) электрода.
2. Генератор эталонного времени по п.1, отличающийся тем, что электронная схема (3) интегрирована на подложке (2) вместе с указанным микромеханическим настраиваемым камертонным резонатором (4).
3. Генератор эталонного времени по п.1, отличающийся тем, что элементы (72, 82, 93, 94) электрода имеет форму дуги окружности.
4. Генератор эталонного времени по п.1, отличающийся тем, что расстояние между соседними элементами (72, 82, 93, 94) электрода переменно вдоль длины ножки (7, 8) камертона так, что расстояние между соседними элементами (72, 82, 93, 94) электрода уменьшается в направлении к свободному концу (7а, 8а) указанных ножек (7, 8).
5. Генератор эталонного времени по п.1, отличающийся тем, что на подложке (2) установлен упор (28) вблизи свободного конца (7а, 8а) каждой из указанных ножек (7, 8) камертона, предназначенный для ограничения движения указанных ножек (7, 8) камертона и предотвращения прилипания их к электроду (9) в случае удара.
6. Генератор эталонного времени по п.1, отличающийся тем, что кончики (72а, 93а) элементов (72, 82, 93, 94) электрода выполнены заостренными или имеют, по существу, небольшую площадь поверхности для предотвращения прилипания ножек (7, 8) камертона к электроду (9) в случае удара.
7. Генератор эталонного времени по п.1, отличающийся тем, что, по меньшей мере, один (72*) из указанных элементов (72, 82, 93, 94) электрода выполнен более длинным, чем другие, для предотвращения прилипания ножек (7, 8) камертона к электроду (9) в случае удара.
8. Генератор эталонного времени по любому из предыдущих пунктов, отличающийся тем, что электрод содержит:
первую структуру (91) электрода, расположенную вблизи первой (7) из ножек (7, 8) камертона, предназначенную для возбуждения колебаний настраиваемого камертонного резонатора (4); и
вторую структуру (92) электрода, расположенную вблизи другой (8) из ножек (7, 8) камертона для съема сигнала, получаемого при колебаниях настраиваемого камертонного резонатора (4), при этом свободная колебательная структура (6) соединена через элемент (5) основы с постоянным потенциалом с возможностью подведений компонента (Udc) постоянного напряжения к одной или обеим из указанных первой структуры (91) электрода или свободной колебательной структуры (6).
9. Генератор эталонного времени по любому из пп.1-7, отличающийся тем, что электрод (9) содержит, по меньшей мере, одну структуру электрода, расположенную вблизи одной или обеих ножек (7, 8) камертона для возбуждения колебаний настраиваемого камертонного резонатора (4), при этом свободная колебательная структура (6) соединена через элемент (5) основы с постоянным потенциалом с обеспечением добавления компонента (Udc) постоянного напряжения к одной или к обеим из указанных, по меньшей мере, одной структуры (91, 92) электрода или свободной колебательной структуры (6) и съема сигнала путем изменения полного внутреннего сопротивления при резонансе.
10. Генератор эталонного времени по любому из предыдущих пунктов, отличающийся тем, что первый режим колебаний представляет собой режим симметричных колебаний, когда обе ножки (7, 8) камертона колеблются в противоположных направлениях.
11. Генератор эталонного времени по п.1, отличающийся тем, что на поверхности подложки (2), по меньшей мере, под частью свободной колебательной структуры (6), сформированы электропроводные элементы (31), имеющие, по существу, форму свободной колебательной структуры (6), причем свободная колебательная структура (6) и электропроводные элементы имеют одинаковый потенциал.
12. Генератор эталонного времени по п.1, отличающийся тем, что на ножках (7, 8) камертона сформированы отверстия (65), предназначенные для, по существу, компенсации воздействия недостаточного или избыточного травления на значение резонансной частоты настраиваемого камертонного резонатора (4).
13. Генератор эталонного времени по любому из предыдущих пунктов, отличающийся тем, что он дополнительно содержит интегральную схему для измерения температуры, предназначенную для компенсации влияния температуры на частоту сигнала, получаемого с использованием генератора эталонного времени.
14. Генератор эталонного времени по любому из пп.1-13, отличающийся тем, что он дополнительно содержит второй микромеханический настраиваемый камертонный резонатор (4*), установленный над подложкой (2) и выполненный с возможностью колебаний на резонансной частоте, отличающийся от резонансной частоты первого резонатора, причем зависящая от температуры разность между обеими резонансными частотами используется для компенсации влияния температуры на частоту сигнала, получаемого с использованием указанного генератора эталонного времени.
15. Генератор эталонного времени по п.14, отличающийся тем, что первый и второй настраиваемые камертонные резонаторы (4, 4*) установлены на одном элементе (5) основы.
16. Генератор эталонного времени по любому из пп.1-13, отличающийся тем, что электроды (100, 120) расположены под свободной колебательной структурой (6) таким образом, что они осуществляют возбуждение и съем сигнала второго режима колебаний, частота резонанса которого отличается от частоты резонанса указанного первого режима колебаний, причем зависящая от температуры разность между резонансными частотами обоих режимов колебаний используется для компенсации влияния температуры на частоту сигнала, получаемого с использованием генератора эталонного времени.
17. Генератор эталонного времени по п.16, отличающийся тем, что второй режим колебаний представляет собой режим вертикальных колебаний, когда обе ножки (7, 8) камертона колеблются в противоположных направлениях, по существу, перпендикулярно подложке (2).
18. Генератор эталонного времени по любому из предыдущих пунктов, отличающийся тем, что подложка (2) и настраиваемый камертонный резонатор (4) выполнены из кремния.
РИСУНКИ
MM4A – Досрочное прекращение действия патента СССР или патента Российской Федерации на изобретение из-за неуплаты в установленный срок пошлины за поддержание патента в силе
Дата прекращения действия патента: 14.11.2006
Извещение опубликовано: 20.12.2007 БИ: 35/2007
|
|