|
|
(21), (22) Заявка: 2002129887/11, 06.04.2001
(24) Дата начала отсчета срока действия патента:
06.04.2001
(30) Конвенционный приоритет:
07.04.2000 (пп.1-13) SE 0001302-9
(43) Дата публикации заявки: 10.03.2004
(45) Опубликовано: 10.03.2006
(56) Список документов, цитированных в отчете о поиске:
RU 2141570, 20.11.1999. GB 2219671, 13.12.1989. DE 19811075, 16.09.1999. US 5347186, 13.01.1994. US 5117142, 26.05.1992.
(85) Дата перевода заявки PCT на национальную фазу:
10.11.2002
(86) Заявка PCT:
SE 01/00774 (06.04.2001)
(87) Публикация PCT:
WO 01/78219 (18.10.2001)
Адрес для переписки:
129010, Москва, ул. Б. Спасская, 25, стр.3, ООО “Юридическая фирма Городисский и Партнеры”, пат.пов. Ю.Д.Кузнецову, рег.№ 595
|
(72) Автор(ы):
САДАРАНГАНИ Чандур (SE), ЕРТМАР Ларс (SE), АРШАД Вакас (SE)
(73) Патентообладатель(и):
ВОЛЬВО ТЕКНОЛОДЖИ АБ, (SE)
|
(54) ЭЛЕКТРИЧЕСКАЯ МАШИНА
(57) Реферат:
Изобретение относится к электрической машине. Машинный узел содержит статор, который включает в себя множество элементов (3 , 3 ) магнитопровода и электрический проводник, образующий обмотку, проходящую по замкнутому пути обмотки через каждый элемент магнитопровода и по меньшей мере один подвижный элемент (10), который включает в себя ряд элементов (12 , 12 ) постоянных магнитов и который выполнен с возможностью возвратно-поступательного движения относительно статора вдоль первого пути движения в пространстве, имеющем конечную длину и сформированному по меньшей мере некоторыми из элементов магнитопровода. Путь обмотки включает в себя первый токонесущий участок (6а), проходящий параллельно первому пути движения. Каждый элемент (3 , 3 ) магнитопровода установлен с возможностью образования вместе с одним из элементов (12 , 12 ) постоянных магнитов замкнутого контура магнитного потока, проходящего вокруг токонесущего участка. Технический результат заключается в получении компактной конструкции электрической машины. 12 з.п. ф-лы, 13 ил. 
Настоящее изобретение относится к электрической машине, включающей статор, который имеет элементы магнитопровода и обмотку, простирающуюся через упомянутые магнитные проводники, а также, по меньшей мере, один подвижный элемент, обладающий способностью двигаться относительно статора.
Уровень техники, к которой относится изобретение
В различных областях техники известны линейные электрические машины, например свободнопоршневые двигатели, т.е. двигатель с поршнем, который способен двигаться механически свободно в цилиндрическом корпусе. Следовательно, механический элемент, например, такой как соединительный стержень или коленчатый вал, предназначенный для передачи энергии от поршня, отсутствует, а кинетическая энергия от поршня непосредственно преобразуется в электрическую энергию с помощью линейной электрической машины. Такой линейный электрический генератор может, например, включать магнитный элемент в поршне, а также электромагнитный элемент в стенке цилиндрического корпуса.
Патент США №5788003 раскрывает подобный двигатель внутреннего сгорания свободнопоршневого типа, предназначенный для приведения в действие автомобильного двигателя. Двигатель объединяется с интегральным электрическим генератором, в котором поршень, имеющий электропроводную внутреннюю обмотку, устанавливается таким образом, чтобы осуществлять возвратно-поступательное движение по отношению к окружающей внешней обмотке. В процессе работы внешняя обмотка создает поле намагничивания, посредством которого генерируется электрический ток во внутренней обмотке. Генерируемый электрический ток получают из внутренней обмотки посредством механического коммутатора, где электрический ток затем может быть использован электрическим двигателем для приведения в действие автотранспортного средства. Подобный коммутатор подвержен износу и обладает ограниченным сроком службы.
Патент США №5347186 относится к линейному электрическому генератору, в котором магнит и обмотка имеют возможность двигаться по отношению друг к другу. Относительное движение обмотки в магнитном поле генерирует в ней ток, который может быть использован внешней электрической цепью. Указанный документ описывает основные принципы магнитной индукции, явления, давно известного. Новая сущность заключается в детали, предназначенной для того, чтобы сохранять нейтральное положение относительного движения.
Известные электрические машины работают по принципу продольного потока, что означает, что плоскость магнитного потока каждого элемента статора параллельна направлению движения ротора. Патент SE-B-463061 раскрывает электрическую машину, работающую по принципу поперечного потока. Указанная машина согласно уровню техники включает в себя ротор с рядом постоянных магнитов, а также статор с соответствующим числом элементов статора, которые устанавливаются таким образом, чтобы наведенный магнитный поток преимущественно следовал по пути, перпендикулярному направлению вращения ротора. Машина согласно уровню техники отличается высокой эффективной плотностью, т.е. получают высокую производительность работы по отношению к объему машины. Указанный документ раскрывает вращающиеся машины с поперечным потоком. Точнее, в патенте раскрыта линейная конструкция, но просто в целях иллюстрации. Патент не дает никакой информации о том, как поперечный принцип может быть преобразован по отношению к линейным машинам, в частности к линейным машинам с элементом, описывающим возвратно-поступательное движение по отношению к статору.
Патент DE-A-19811075 раскрывает линейную электрическую машину, имеющую статор со множеством элементов магнитопровода, и подвижный элемент с некоторым числом элементов постоянных магнитов. Замкнутый путь обмотки проходит по существу параллельно направлению движения подвижного элемента. Каждый элемент магнитопровода вместе с элементом постоянного магнита образует замкнутый контур для магнитного потока. Направление магнитных потоков одинаково в каждом контуре вдоль подвижного элемента, и, таким образом, элементы магнитопровода устанавливаются на таком расстоянии друг от друга, которое соответствует ширине элемента постоянного магнита.
Раскрытие изобретения
Задача настоящего изобретения заключается в том, чтобы создать усовершенствованную электрическую машину со статором и элементом, перемещаемым возвратно-поступательно. В частности, задачей является создание двигателя.
Указанная задача достигается посредством электрической машины, включающей, по меньшей мере, один первый машинный узел, который включает в себя:
– статор, включающий в себя множество элементов магнитопроводов, а также электрический проводник, образующий обмотку, проходящую по существу по замкнутому пути обмотки через каждый элемент магнитопровода, и
– по меньшей мере, один первый подвижный элемент, который включает в себя ряд элементов постоянных магнитов и который выполнен с возможностью возвратно-посупательного движения относительно к статору вдоль первого пути движения в пространстве, имеющем конечную длину и сформированном, по меньшей мере, некоторыми из элементов магнитопроводов,
в которой по существу замкнутый путь обмотки включает в себя первый токонесущий участок, проходящий по существу параллельно пути движения,
причем каждый элемент магнитопровода устанавливается таким образом, чтобы вместе с одним из элементов постоянных магнитов образовать замкнутый контур магнитного потока, проходящий вокруг токонесущего участка, и
при этом элементы магнитопровода устанавливаются в чередующемся порядке по отношению к направлению магнитного потока относительно элементов постоянных магнитов в соответствующем контуре магнитного потока.
За счет такой конструкции достигается электрическая машина, которая работает в соответствии с принципом поперечного потока и которая включает в себя элемент, движущийся возвратно-поступательно и предпочтительно выполненный с возможностью образовывать поршень или жестко соединяться с поршнем механической машины, например, такой как двигатель или насос. Благодаря тому, что обмотка по существу располагается по замкнутому пути, проходящему через каждый элемент магнитопровода статора, общее количество витков обмотки может быть уменьшено, что приводит к меньшим потерям. Более того, элементы магнитопровода статора могут быть расположены относительно тесно друг к другу, что обеспечивает высокую эффективную плотность по отношению к весу, а также к объему электрической машины. Таким образом может быть достигнута высокая эффективность электрической машины.
Благодаря чередующемуся порядку гарантируется, что напряжение, индуцированное в обмотке в каждый момент времени, имеет одно и то же направление, а также то, что напряжение на обмотке изменяет направление одновременно для каждого контура магнитного потока, когда подвижный элемент перемещается так, что элементы постоянных магнитов смещаются на один шаг по отношению к элементам магнитопровода.
Согласно варианту воплощения изобретения каждый контур магнитного потока включает в себя магнитный поток, являющийся параллельным плоскости, проходящей по существу перпендикулярно к направлению движения. Следовательно, расстояние между центральными точками смежных элементов постоянных магнитов по существу может быть равным расстоянию между центральными точками смежных элементов магнитопровода. Таким образом, электрическая машина согласно изобретению будет включать на определенной длине статора такое же число элементов статора, т.е. элементов магнитопровода, что и число элементов постоянных магнитов подвижного элемента. Таким образом, достигается высокая эффективная плотность электрической машины. Указанная конструкция может быть обеспечена с помощью расположения элементов постоянных магнитов в чередующемся порядке по отношению к направлению магнитного поля элементов постоянных магнитов.
Согласно дополнительному варианту воплощения изобретения каждый контур магнитного потока включает в себя первый зазор между полюсом элемента постоянного магнита контура и торцевой поверхностью элемента магнитопровода контура, а также второй зазор между вторым полюсом элемента постоянного магнита контура и второй торцевой поверхностью элемента магнитопровода контура. Следовательно, элементы постоянных магнитов могут быть расположены таким образом, что направление магнитного поля проходит по существу перпендикулярно к направлению движения подвижного элемента по пути движения. Подобным способом можно сконструировать подвижный элемент с относительно небольшой шириной и весом, поскольку подвижному элементу не требуется каких-либо существенных дополнительных компонентов. Таким образом, подвижный элемент может иметь малый вес, что является важным преимуществом для подвижного элемента, описывающего возвратно-поступательное движение.
Согласно дополнительному варианту воплощения изобретения подвижный элемент соединяется, по меньшей мере, с одним поршнем, который устанавливается в корпусе с возможностью перемещения. Таким образом, электрическая машина может использоваться в качестве электрогенератора, в котором поршень перемещается в корпусе под действием известного процесса сгорания. Электрическая машина также может быть использована в качестве электрического двигателя, например, для приведения в действие поршневого насоса.
Согласно дополнительному варианту воплощения изобретения, первый машинный узел включает в себя второй подвижный элемент, который содержит ряд элементов постоянных магнитов и выполнен с возможностью возвратно-поступательного движения по отношению к статору вдоль второго пути движения, проходящего параллельно первому пути движения, и в котором по существу замкнутый путь обмотки включает в себя второй токонесущий участок, проходящий по существу параллельно второму пути движения. Таким образом, очень большая часть по существу замкнутого пути обмотки может быть использована для генерации тока, и, таким образом, потери поддерживаются на очень низком уровне. Предпочтительно второй подвижный элемент также присоединяется к поршню. Однако следует отметить, что два подвижных элемента могут быть присоединены к соответствующему поршню или более точно к отдельному поршню на каждом конце подвижного элемента. Кроме того, первый токонесущий участок пути обмотки связан по существу с первой половиной элементов магнитопровода, а второй токонесущий участок пути обмотки связан по существу со второй половиной элементов магнитопровода. Предпочтительно элементы постоянных магнитов первого подвижного элемента устанавливаются так, чтобы совместно функционировать с элементами магнитопровода, которые связаны с первым токонесущим участком, а элементы постоянных магнитов второго подвижного элемента устанавливаются так, чтобы совместно функционировать с элементами магнитопровода, которые связаны со вторым токонесущим участком.
Согласно следующему варианту воплощения изобретения смежные элементы постоянных магнитов подвижных элементов отделены друг от друга промежуточным элементом, который по существу не обладает магнитной проводимостью. Таким образом, элементы постоянных магнитов и промежуточные элементы подвижного элемента устанавливаются так, чтобы образовать структуру, которая оказывает сопротивление силам, действующим на подвижный элемент во время использования электрической машины. Предпочтительно подобная конструкция может иметь форму удлиненного стержня, проходящего между двумя поршнями и соединяющего их. Подобный стержень может быть сконструирован просто из элементов постоянных магнитов и промежуточных элементов в чередующейся конфигурации. Более того, смежные элементы магнитопровода статора могут быть отделены друг от друга промежуточным элементом, который является магнитоизолирующим.
Согласно еще одному варианту воплощения изобретения электрическая машина также включает в себя второй машинный узел, содержащий:
– статор, включающий в себя множество элементов магнитопроводов и электрический проводник, образующий обмотку, проходящую по существу по замкнутому пути обмотки через каждый элемент магнитопровода, и
– по меньшей мере, один первый подвижный элемент, который включает в себя ряд элементов постоянных магнитов и который выполнен с возможностью возвратно-поступательного движения по отношению к статору вдоль первого пути движения в пространстве, имеющем конечную длину и сформированном, по меньшей мере, некоторыми из элементов магнитопровода,
в которой по существу замкнутый путь обмотки включает в себя первый токонесущий участок, проходящий по существу параллельно первому пути движения,
причем каждый элемент магнитопровода устанавливается таким образом, чтобы вместе с одним из элементов постоянных магнитов образовать замкнутый контур магнитного потока, проходящий вокруг токонесущего участка, и
при этом первый машинный узел устанавливается так, чтобы работать в первом фазовом положении, а второй машинный узел устанавливается так, чтобы работать во втором фазовом положении, смещенном относительно первого фазового положения на фазовый угол.
С помощью такого дополнительного машинного узла электрическая машина может быть сконструирована как двухфазная машина, причем два машинных узла могут быть смещены друг относительно друга на подходящий фазовый угол, например 90°. Следует отметить, конечно же, можно сконструировать электрическую машину с несколькими фазами, например тремя фазами, причем машина включает три таких машинных узла. Различные машинные узлы могут устанавливаться друг за другом так, чтобы подвижные элементы перемещались параллельно друг другу. Следовательно, можно присоединять подвижные элементы разных машинных узлов к одному или двум общим поршням или к двум отдельным поршням для каждого машинного узла.
Краткое описание чертежей
В дальнейшем изобретение поясняется описанием конкретных вариантов его воплощения со ссылками на сопровождающие чертежи, на которых:
Фиг.1 схематически изображает вид в поперечном разрезе электрической машины согласно первому варианту воплощения настоящего изобретения,
Фиг.2 изображает другой разрез машины фиг.1,
Фиг.3 схематически изображает разрез вдоль линии III-III фиг.1 и 2,
Фиг.4 схематически изображает разрез вдоль линии IV-IV фиг.1 и 2,
Фиг.5 схематически изображает вид в разрезе, подобно фиг.4, электрической машины согласно второму варианту воплощения настоящего изобретения,
Фиг.6 схематически изображает вид в поперечном разрезе электрической машины согласно третьему варианту воплощения настоящего изобретения,
Фиг.7 изображает другой поперечный разрез машины фиг.6,
Фиг.8 схематически изображает вид в разрезе, подобно фиг.1, электрической машины согласно четвертому варианту воплощения настоящего изобретения,
Фиг.9 изображает другой поперечный разрез машины фиг.8,
Фиг.10 изображает вид в разрезе, подобно фиг.1, электрической машины согласно пятому варианту воплощения настоящего изобретения,
Фиг.11 изображает другой разрез машины фиг.10,
Фиг.12 схематически изображает вид в разрезе, подобно фиг.1, электрической машины согласно шестому варианту воплощения настоящего изобретения,
Фиг.13 изображает другой разрез машины фиг.12.
Подробное описание предпочтительных вариантов воплощения
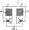
Далее, со ссылкой на фиг.1-4 описывается первый вариант воплощения электрической машины с первым машинным узлом 1 и вторым машинным узлом 2. Машинные узлы 1 и 2 имеют по существу одинаковую конструкцию, и поэтому более подробно будет описан только первый машинный узел 1.
Первый машинный узел 1 включает в себя статор, который содержит множество элементов 3 , 3 , 4 , 4 магнитопровода. Первый машинный узел 1 также включает в себя электрический проводник, образующий обмотку 6а, 6b, 6с, 6d, которая может состоять из одной или нескольких катушек. Обмотка 6а, 6b, 6с, 6d образует по существу замкнутый путь, который проходит через каждый элемент 3 , 3 , 4 , 4 магнитопровода. Замкнутый путь обмотки образует удлиненное кольцо, имеющее первый токонесущий участок 6а и второй токонесущий участок 6b. Первый токонесущий участок 6а проходит через элементы 3 и 3 магнитопровода, а второй токонесущий участок 6b проходит через элементы 4 и 4 магнитопровода. Два токонесущих участка 6а и 6b являются по существу прямолинейными и проходят по существу параллельно друг другу и продольной оси х первого машинного узла 1. Два участка 6а и 6b соединяются друг с другом посредством двух токонесущих соединительных участков 6с и 6d, которые образуют плавную кривизну. Половина соединительных участков 6с и 6d видна из фиг.4.
Элементы 3 , 3 , 4 , 4 магнитопровода устанавливаются парами, причем элемент 3 магнитопровода проходит вокруг первого токонесущего участка 6а, а элемент 4 магнитопровода проходит вокруг второго токонесущего участка 6b. Аналогично элемент 3 магнитопровода проходит вокруг первого токонесущего участка 6а, а элемент 4 магнитопровода проходит вокруг второго токонесущего участка 6b в смежной паре элементов магнитопровода. В каждой такой паре элементы магнитопровода образуют единый узел, изготовленный из материала, обладающего магнитной проводимостью. Таким образом, два элемента 3′ и 4 магнитопровода включают в себя общую часть 5, которая проходит между двумя элементами магнитопровода, и выступающую часть 5 которая выступает между элементами 3 и 4 магнитопровода. Выступающая часть 5 образует первую торцевую поверхность 7 каждого из элементов 3 и 4 магнитопровода. На расстоянии от торцевой поверхности 7 и по существу противоположно ей каждый элемент 3 и 4 магнитопровода имеет вторую торцевую поверхность 8. Смежные элементы 3 и 4 магнитопровода конструируются соответствующим образом с общей частью 5 и выступающей частью 5 , причем выступающая часть 5 проходит в противоположном направлении относительно выступающей части 5 .
Предпочтительно элементы 3 , 3 , 4 , 4 магнитопровода изготавливают из магнитомягкого спеченного порошкового материала, в котором каждая частица может быть окружена изолирующим слоем. Такой материал приводит к малым потерям, обусловленным вихревыми токами, особенно на высоких частотах. Также порошковый материал можно простым способом формовать в любую желательную форму в трех измерениях. Между смежными элементами магнитопровода имеется промежуточный элемент 9, который не обладает магнитной проводимостью и электрической проводимостью. Таким образом, каждая пара элементов 3 и 4 магнитопровода отделена от смежной пары элементов 3 и 4 магнитопровода посредством такого промежуточного элемента 9, который ясно виден из фиг.3.
Первый машинный узел 1 также включает в себя два подвижных элемента 10, 11. Каждый такой подвижный элемент 10, 11 включает в себя ряд элементов 12 , 12 постоянных магнитов и между каждым элементом 12 , 12 постоянных магнитов промежуточный элемент 13. Элементы 12 , 12 постоянных магнитов и промежуточные элементы 13 выполнены в стержневидной конфигурации так, что эти элементы располагаются в ряд друг за другом. Элементы 12 постоянных магнитов имеют северный магнитный полюс N, направленный в одном направлении, тогда как смежные элементы 12 постоянных магнитов имеют северный магнитный полюс N, направленный в противоположном направлении. Промежуточные элементы 13, которые разделяют смежные элементы 12 , 12 постоянных магнитов, по существу не обладают магнитной проводимостью и электрической проводимостью. Удлиненные подвижные элементы 10 и 11 проходят по существу параллельно продольной оси х и выполнены с возможностью возвратно-поступательного движения относительно элементов 3 , 3 , 4 , 4 магнитопровода вдоль первого и второго пути движения соответственно, т.е. параллельно продольной оси х.
Как видно из фиг.1, 2 и 3, подвижные элементы 10 и 11 устанавливаются между первой торцевой поверхностью 7 и второй торцевой поверхностью 8 соответствующего элемента 3 , 3 , 4 , 4 магнитопровода, и, более точно, элементы 12 , 12 постоянных магнитов располагаются между торцевыми поверхностями 7 и 8 так, что образуется воздушный зазор между одним полюсом элементов 12 , 12 постоянных магнитов и первой торцевой поверхностью 7, а также воздушный зазор между другим полюсом элементов 12 , 12 постоянных магнитов и второй торцевой поверхностью 8. Таким образом, каждый элемент 3 , 3 , 4 , 4 магнитопровода располагается так, чтобы вместе с одним из элементов 12 , 12 постоянных магнитов сформировать замкнутый контур магнитного потока, который проходит вокруг одного из токонесущих участков 6а и 6b.
Таким образом, магнитный поток в каждом магнитном контуре будет параллелен плоскости, которая по существу перпендикулярна продольной оси х, т.е. направлению двух токонесущих участков 6а и 6b, а также соответствующему пути движения подвижных элементов 10, 11.
Расстояние между центральными точками смежных элементов 12 , 12 постоянных магнитов по существу равно расстоянию между центральными точками смежных элементов 3 , 3 , 4 , 4 магнитопровода. Аналогично площади поперечного сечения торцевых поверхностей 7 и 8 и полюсов элементов 12 , 12 постоянных магнитов по существу являются одинаковыми относительно как размера, так и формы. Определенная длина статора будет включать такое же число элементов 3 , 3 , 4 , 4 магнитопровода, что и число элементов 12 , 12 постоянных магнитов соответствующей длины подвижного элемента 10, 11.
Как видно из фиг.1 и 2, элементы 3 , 3 , 4 , 4 магнитопровода установлены в чередующемся порядке относительно направления магнитного потока по отношению к элементам 12 , 12 постоянных магнитов в соответствующем контуре магнитного потока. Это означает, что 3 , 3 , 4 , 4 магнитопровода располагаются так, что направление магнитного потока относительно обмотки 6а, 6b, 6c, 6d, т.е. первый токонесущий участок 6а и второй токонесущий участок 6d по существу одинаковы в каждом контуре магнитного потока при статическом отражении. Однако, когда подвижные элементы 10, 11 продвигаются на один шаг от одного элемента 3, 4 магнитопровода до смежного элемента 3 , 4 магнитопровода, магнитный поток в каждом контуре магнитного потока 3 , 3 , 4 , 4 , будет изменять направление, и в результате индуцированное напряжение в обмотке 6а, 6b, 6с, 6d также изменит направление.
Элементы 12 , 12 постоянных магнитов и промежуточные элементы 13 подвижных элементов 10, 11 устанавливаются так, чтобы образовать конструкцию, которая может оказывать сопротивление большим усилиям, действующим на подвижные элементы 10, во время использования. Следует отметить, что подвижные элементы 10, 11 в раскрытых вариантах воплощения не содержат каких-либо дополнительных упрочняющих конструкционных элементов. Однако можно снабдить подвижные элементы 10, 11 такими упрочняющими конструкционными элементами, например удлиненными упрочняющими стержнями, которые устанавливаются над или под подвижными элементами 10, 11, см. фиг.1 и 2. Такие удлиненные упрочняющие стержни не будут влиять на электрические или магнитные свойства электрической машины, поскольку воздушные зазоры между магнитными полюсами N, S и торцевыми поверхностями 7, 8 не подвергаются влиянию. Также выгодно выполнять подвижные элементы 10, 11 настолько легкими, насколько это возможно, поскольку они должны описывать возвратно-поступательное движение, включающее непрерывные ускорения, и, следовательно, конечно же желательно избегать слишком большого количества дополнительных деталей. Подвижные элементы 10, 11 могут быть изготовлены путем прикрепления элементов 12 , 12 постоянных магнитов и промежуточных элементов 13 друг к другу. Также можно намагничивать части удлиненного элемента в противоположных направлениях так, чтобы получить описанную структуру.
В раскрытых вариантах воплощения подвижные элементы 10, 11 присоединяются к поршням 20, 21. Фиг.3 изображает общий поршень 20 для двух подвижных элементов 10, 11 на одном конце, и другой общий поршень 21 для двух подвижных элементов 10, 11 на другом конце. Каждый поршень 20, 21 устанавливается так, что он может перемещаться соответственно в цилиндрическом корпусе 22 и 23. Следует отметить, что также можно снабдить каждый подвижный элемент 10, 11 отдельными поршнями на каждом конце.
Электрическую машину можно использовать для работы в качестве генератора, в котором цилиндрические корпуса 22, 23 образуют соответствующую расширительную камеру для ускорения поршня 20, 21. Подходящее применение описано в шведской заявке №9904733-4, в которой описан двигатель внутреннего сгорания с электрической машиной для генерации электрического тока для управления положением поршня двигателя внутреннего сгорания. В таком варианте применения генератора цилиндрические корпуса 22, 23 могут включать в себя, например, впускные каналы 24 для подачи топлива или топливно-окислительной смеси и выпускные каналы 25 для выпускания газообразных продуктов сгорания. В раскрытом варианте воплощения камеры сгорания устанавливают так, чтобы они работали по двухтактному принципу, но, конечно же, в рамках изобретения можно также использовать четырехтактные двигатели. Следует отметить, что все типы двигателей внутреннего сгорания можно объединить с электрической машиной, и это особенно относится к так называемым HCCI двигателям (Homogenous Charge Combusion Jgnition-зажигание сгорания однородным зарядом), которые можно считать средним между четырехтактным карбюраторным двигателем и дизельным двигателем, в котором смесь окислителя и топлива вводится в камеру сгорания и воспламеняется при высоком сжатии путем самовоспламенения. Также можно использовать другие типы поршневых двигателей, например двигатели Стирлинга. Также следует отметить, что установка поршня-цилиндра на одном конце подвижных элементов 10, 11 может быть заменена установкой пружины, которая устанавливается с возможностью заставлять поршень возвращаться в другой конец, например, для выпускания газообразных продуктов сгорания или для сжатия топливно-воздушной смеси. Электрическая машина также может быть использована в качестве электродвигателя для приведения в действие поршневого насоса, в котором впускной клапан и выпускной клапан (не показаны) устанавливаются на каждом цилиндрическом корпусе 22, 23 для подачи и выпускания откачиваемой среды.
Как видно из фиг.1, 2 и 4, второй машинный узел 2 устанавливается позади первого машинного узла 1 так, чтобы подвижные элементы 10, 11 были по существу параллельны друг другу. Фиг.4 иллюстрирует, каким образом элементы 12 , 12 постоянных магнитов подвижных элементов 10, 11 первого машинного узла 1 могут смещаться относительно элементов 12 , 12 постоянных магнитов подвижных элементов 10, 11 второго машинного узла 2. Таким образом, можно получить фазовое смещение между двумя машинными узлами 1, 2, и таким образом, двумя машинными узлами, изображенными на фиг.4, можно создать электрическую машину, генерирующую двухфазное напряжение. Фазовый угол может быть выбран таким, как требуется, например равным 90°. Следует отметить, что электрическая машина может быть снабжена принципиально произвольным числом машинных узлов, которые могут работать в частично одинаковых или в разных фазовых положениях.
На фиг.4 подвижные элементы 10, 11 двух машинных узлов 1 и 2 присоединены к общему поршню 20 на одном конце, и ко второму общему поршню 21 на другом конце. Таким образом, в этом варианте воплощения имеется четыре подвижных элемента 10, 11, которые совместно действуют с двумя общими поршнями 20, 21.
Фиг.5 изображает еще один вариант воплощения двухфазной машины с отдельными поршнями 20, 21 и 20 , 21 соответственно. Что касается всего остального, данный вариант воплощения эквивалентен варианту воплощения, раскрытому на фиг.1-4.
Фиг.6 и 7 изображают следующий вариант воплощения, который иллюстрируют, как два машинных узла могут быть установлены друг за другом латерально, т.е. четыре подвижных элемента 10, 11 включают в себя общую плоскость.
Фиг.8 и 9 изображают четвертый вариант воплощения, который отличается от предыдущих тем, что обмотки 6а, 6b полностью расположены за пределами подвижных элементов 10, 11. Таким образом, соединительные участки 6с и 6d не обязательно должны быть изогнуты наружу способом, описанным на фиг.4.
Фиг.10 и 11 изображают пятый вариант воплощения изобретения, который отличается от предыдущих вариантов воплощения тем, что элементы 12 , 12 постоянных магнитов наклонены относительно направления магнитного потока, входящего в элемент постоянного магнита и выходящего из него. В указанном варианте воплощения подвижные элементы 10 и 11 включают в себя элементы 31, 32 магнитопровода для пропускания магнитного потока через подвижные элементы 10, 11 в элементы 12 , 12 постоянных магнитов и из них. В описанном варианте воплощения все элементы 12 , 12 постоянных магнитов наклонены в одном направлении. Также можно допустить, чтобы элементы 12 , 12 постоянных магнитов одного из подвижных элементов 10 были наклонены в первом направлении, а элементы 12 , 12 постоянных магнитов другого из подвижных элементов 11 были наклонены в другом направлении, проходя по существу под углом 90° относительно первого направления.
На фиг.12 и 13 изображают шестой вариант воплощения изобретения, подобный пятому варианту воплощения, но где магнитные полюса 7 и 8 наклонены на такой же угол наклона, как подвижные элементы 10, 11.
Следует отметить, что компоненты и элементы, имеющие соответствующие функции, были снабжены одинаковыми номерами позиций во всех вариантах воплощения.
Изобретение не ограничивается раскрытыми вариантами воплощения, а может варьироваться и модифицироваться в рамках формулы изобретения.
Раскрытые варианты воплощения включают прямолинейные машины, т.е. когда путь движения подвижных элементов 10, 11 является линейным. Однако возможно допустить, чтобы эти пути движения были искривлены. Существенно то, что подвижные элементы 10, 11 описывают возвратно-поступательное движение.
На поперечных разрезах фиг.1, 2 и 6 элементы 3 , 3 , 4 , 4 магнитопровода схематично изображены с острыми краями. Однако следует отметить, что эти элементы 3 , 3 , 4 , 4 могут быть успешно сконструированы с закругленными углами, что улучшает магнитную проницаемость.
Формула изобретения
1. Электрическая машина, работающая по принципу поперечного потока и включающая в себя по меньшей мере один первый машинный узел (1), который содержит
статор, включающий в себя множество элементов (3 , 3 ) магнитопровода и электрический проводник, образующий обмотку (6а, 6b, 6с, 6d), проходящую по замкнутому контуру через каждый элемент магнитопровода, и
первый подвижный элемент (10), который включает в себя ряд элементов (12 , 12 ) постоянных магнитов, выполненных в стержневидной конфигурации, и выполнен с возможностью возвратно-поступательного движения относительно статора вдоль первого пути движения в пространстве, имеющем конечную длину и образованном по меньшей мере некоторыми из элементов магнитопровода,
второй подвижный элемент (11), который включает в себя ряд элементов (12 , 12 ) постоянных магнитов, выполненных в стержневидной конфигурации, и выполнен с возможностью возвратно-поступательного движения относительно статора вдоль второго пути движения, проходящего параллельно первому пути движения,
в которой, по существу, замкнутый путь обмотки включает в себя первый токонесущий участок (6а), проходящий, по существу, параллельно первому пути движения, и второй токонесущий участок (6b) проходящий, по существу, параллельно второму пути движения,
причем каждый элемент (3 , 3 ) магнитопровода установлен таким образом, чтобы вместе с одним из элементов (12 , 12 ) постоянных магнитов образовать замкнутый контур магнитного потока, проходящий вокруг токонесущего участка (6а),
при этом элементы (3 , 3 ) магнитопровода установлены в чередующемся порядке по отношению к направлению магнитного потока относительно элементов (12 , 12 ) постоянных магнитов в соответствующем контуре магнитного потока, и
причем каждый контур магнитного потока включает в себя первый зазор между полюсом (N, S) элемента (12 , 12 ) постоянного магнита контура и торцевой поверхностью (7, 8) элемента (3 , 3 ) магнитопровода контура и второй зазор между вторым полюсом (N, S) элемента (12 , 12 ) постоянного магнита контура и второй торцевой поверхностью (7, 8) элемента магнитопровода контура.
2. Электрическая машина по п.1, в которой каждый контур магнитного потока расположен параллельно плоскости, проходящей, по существу, перпендикулярно первому пути движения.
3. Электрическая машина по любому из пп.1 и 2, в которой расстояние между центральными точками смежных элементов (12 , 12 ) постоянных магнитов, по существу, равно расстоянию между центральными точками смежных элементов (3 , 3 ) магнитопровода.
4. Электрическая машина по любому из пп.1-3, в которой элементы (12 , 12 ) постоянных магнитов установлены в чередующемся порядке относительно направления магнитного поля элементов (12 , 12 ) постоянных магнитов.
5. Электрическая машина по любому из пп.1-4, в которой элементы (3 , 3 ) магнитопровода расположены так, что направление магнитного потока относительно обмотки (6а, 6b, 6с, 6d), по существу, одинаково в каждом контуре магнитного потока.
6. Электрическая машина по любому из пп.1-5, в которой первый подвижный элемент (10, 11) соединен по меньшей мере с одним поршнем (20, 21), который установлен с возможностью перемещения в корпусе (22, 23).
7. Электрическая машина по п.6, в которой второй подвижный элемент (11) также соединен с поршнем (20, 21).
8. Электрическая машина по любому из предшествующих пунктов, в которой первый токонесущий участок (6а) пути обмотки связан, по существу, с первой половиной элементов (3 , 3 ) магнитопровода, а второй токонесущий участок (6b) пути обмотки связан, по существу, со второй половиной элементов (4 , 4 ) магнитопровода.
9. Электрическая машина по п.8, в которой элементы (12 , 12 ) постоянных магнитов первого подвижного элемента (10) установлены с возможностью совместного функционирования с элементами (3 , 3 ) магнитопровода, связанными с первым токонесущим участком (6а) и в которой элементы (12 , 12 ) постоянных магнитов второго подвижного элемента (11) установлены с возможностью совместного функционирования с элементами (4 , 4 ) магнитопровода, связанными со вторым токонесущим участком (6b).
10. Электрическая машина по любому из пп.1-9, в которой смежные элементы (12 , 12 ) постоянных магнитов подвижных элементов (10, 11) отделены друг от друга промежуточным элементом (13), который, по существу, не обладает магнитной проводимостью.
11. Электрическая машина по п.10, в которой элементы постоянных магнитов (12 , 12 ) и промежуточные элементы (13) подвижного элемента (10, 11) установлены с возможностью образования структуры, которая оказывает сопротивление усилиям, действующим на подвижный элемент во время использования электрической машины.
12. Электрическая машина по любому из пп.1-11, в которой смежные элементы (3 , 3 , 4 , 4 ) магнитопровода статора отделены друг от друга промежуточным элементом (9), который является магнитоизолирующим.
13. Электрическая машина по любому из пп.1-12, которая содержит второй машинный узел (2), который включает в себя
статор, содержащий множество элементов (3 , 3 ) магнитопровода и электрический проводник, образующий обмотку (6а, 6b, 6с, 6d), проходящую по замкнутому контуру через каждый элемент (3 , 3 ) магнитопровода, и
по меньшей мере один первый подвижный элемент (10), который включает в себя ряд элементов (12 , 12 ) постоянных магнитов и выполнен с возможностью возвратно-поступательного движения относительно статора вдоль первого пути движения в пространстве, имеющем конечную длину и образованном по меньшей мере некоторыми из элементов (3 , 3 ) магнитопровода,
в которой, по существу, замкнутый путь обмотки включает в себя первый токонесущий участок (6а), проходящий, по существу, параллельно первому пути движения,
причем каждый элемент (3 , 3 ) магнитопровода установлен с возможностью образования вместе с одним из элементов (12 , 12 ) постоянных магнитов замкнутого контура магнитного потока, проходящего вокруг токонесущего участка,
при этом первый машинный узел (1) установлен с возможностью работы в первом фазовом положении, а второй машинный узел (2) установлен с возможностью работы во втором фазовом положении, смещенном относительно первого фазового положения на фазовый угол.
РИСУНКИ
|
|