|
|
(21), (22) Заявка: 2002128927/11, 28.03.2001
(24) Дата начала отсчета срока действия патента:
28.03.2001
(30) Конвенционный приоритет:
29.03.2000 (п.1) KR 2000-16211
(43) Дата публикации заявки: 27.02.2004
(45) Опубликовано: 10.03.2006
(56) Список документов, цитированных в отчете о поиске:
SU 587576 A1, 05.01.1978. SU 924810 A1, 30.04.1982. US 4177509, 04.12.1979. JP 10285951, 23.10.1998.
(85) Дата перевода заявки PCT на национальную фазу:
29.10.2002
(86) Заявка PCT:
KR 01/00497 (28.03.2001)
(87) Публикация PCT:
WO 01/73925 (04.10.2001)
Адрес для переписки:
103735, Москва, ул. Ильинка, 5/2, “Союзпатент”, В.С.Ткаченко
|
(72) Автор(ы):
БАЕ Юн Су (KR)
(73) Патентообладатель(и):
ЭНЕРТЕК КОРЕЯ КО., ЛТД (KR)
|
(54) МАГНИТНАЯ ЦЕПЬ С ПЕРЕКЛЮЧЕНИЕМ
(57) Реферат:
Изобретение относится к области электротехники и направлено на усовершенствование переключаемой электромагнитной схемы, в которой катушки намотаны в прямом (по часовой стрелке) и обратном (против часовой стрелки) направлении. Полупроводниковые переключатели установлены перед соответствующими катушками так, что линия отсутствия индукции становится местом изменения полярности переменного магнитного потока при воздействии управляющими токами. Технический результат заключается в обеспечении большого крутящего момента за счет лучшего использования электрической энергии при использовании устройства в качестве инвертора для питания электродвигателя. 12 ил. 
ОБЛАСТЬ ТЕХНИКИ
Настоящее изобретение относится к магнитной цепи в виде электромагнита с сердечником, включая электродвигатели с обмотками, намотанными вокруг ферромагнитного сердечника, или в виде электромагнита без сердечника, содержащего только обмотку, и в частности, к электрической цепи и магнитной цепи, построенной с использованием двух или большего количества электромагнитных обмоток, из которых одна намотана по часовой стрелке (направление S) и другая обмотка намотана против часовой стрелки (направление Z), и к способу последовательного управления однонаправленным постоянным током с использованием переключения магнитных полюсов в соответствии с направлением намотки при протекании электрического тока под управлением полупроводникового переключающего устройства или сверхпроводящего переключающего устройства, включенного перед обмотками, намотанными в соответствующих направлениях, а также к способу индуцирования переменного магнитного потока.
ПРЕДПОСЫЛКИ ИЗОБРЕТЕНИЯ
Способ индуцирования переменного магнитного потока, используемый до настоящего времени, состоит в том, что генерируют переменную электродвижущую силу синусоидальной формы за счет изменения потокосцепления магнитного потока индуцированного в обмотке якоря, в которой индуцируется переменный магнитный поток системы поля якоря, установленного на валу, при приложении механической мощности для вращения системы поля, и получения механической мощности с использованием сил притяжения и отталкивания, образующихся при подаче переменных напряжений на выводы обмоток электродвигателя, или в другой магнитной цепи.
Генерируемое или прикладываемое напряжение в соответствии с вышеприведенным описанием называется переменным напряжением. В дополнение к вышеприведенному описанию можно привести следующий конкретный пример со ссылкой на фиг.1, на которой представлена цепь обычного трансформатора.
Способ периодического переключения напряжения состоит в том, что к входному выводу 4 обмоток 2 и 3, намотанных на сердечник 1 из ферромагнитного вещества, подключают постоянное напряжение в течение определенного периода времени в направлении А и затем отключают и сразу же после отключения, постоянное напряжение прикладывают к противоположному входному выводу 5 в направлении В. В результате этого на выходных выводах 6 и 7 генерируется переменная электродвижущая сила.
Способ периодического переключения напряжения требует применения высоких напряжений для получения вращающей силы с большим крутящим моментом из-за реактивного сопротивления, то есть функционального сопротивления (сопротивления переменному току), которое возникает из-за противодействия токов, протекающих в противоположном направлении, и действует помимо активного сопротивления материала обмотки, причем величина реактивного сопротивления переменному току пропорциональна частоте.
Теоретически полное электрическое сопротивление разделяют на сопротивление R материала и реактивное сопротивление X, которое существенно изменяется в зависимости от частоты, причем реактивное сопротивление разделяют на индуктивное реактивное сопротивление и емкостное реактивное сопротивление. Полное электрическое сопротивление Z может быть выражено следующей формулой, где R – активное сопротивление материала, L – индуктивность и С – емкость соединены последовательно:
и

В вышеприведенной формуле, если переменный магнитный поток может быть индуцирован без использования переменного тока, член jX, представляющий реактивное сопротивление, может быть исключен так, что останется только активное сопротивление R материала.
Двухтактный инвертор, показанный на фиг.2а, обычно используемый для подачи напряжения, позволяет получить переменную электродвижущую силу на выводе выходной обмотки 3 при питании постоянным напряжением, однако в такой схеме возникает проблема управления переключением одновременно на обоих выводах, поскольку ток протекает в обмотку, соединенную с левым переключателем, и обмотку, соединенную с правым переключателем, через общее заземление, так, что генерируется переменная электромагнитная сила, что ухудшает эффективность использования энергии, поскольку происходит отсечка токов из-за противодействия токов, в момент, когда оба переключателя включены, а также в результате фазового сдвига между генерируемыми напряжением и током из-за времени запаздывания, и в результате возникает реактивное сопротивление, связанное с прерыванием тока из-за инерционности тока, когда оба переключателя, установленные с обеих сторон, быстро включают и выключают для получения переменной электродвижущей силы.
Ниже приведено подробное описание изображения, представленного на фиг.2а, b.
Как следует из фиг.2а, когда переключатель 24 S1 включен, в то время, как переключатель 25 S2 выключен, формируется цепь, в которой положительное напряжение источника 23 напряжения подключено в направлении С от общей точки 26 заземления к части 21 обмотки, соединенной с переключателем S1, и к отрицательному полюсу источника 23 напряжения через переключатель 24 S1.
В это время в выходной обмотке 3 генерируется переменный ток, имеющий форму кривой 27, показанной на фиг.2b, и, наоборот, если переключатель 24 S1 выключен и переключатель 25 S2 включен, формируется цепь, в которой положительный полюс источника 23 постоянного напряжения подключен через общее заземление 26 к части 22 обмотки, соединенной с переключателем S2, и к отрицательному выводу источника 23 напряжения через переключатель 25 S2, так, что в выходной обмотке 3 формируется переменный ток с формой, показанной на фиг.2b.
При повторении вышеописанного, в выходной обмотке 3 генерируется электродвижущая сила благодаря действию взаимной индукции. Если описать все это с использованием цифровой логики, двухтактный инвертор может быть интерпретирован как комбинация логической переключающей цепи типа ИСКЛЮЧАЮЩЕЕ ИЛИ.
Однако при использовании такого способа подвода энергии с переключением с электромагнитом или трансформатором с железным сердечником возникает взаимная индукция, которая искажается из-за мгновенного насыщения магнитного вещества, а также происходит задержка электрического тока из-за противодействия токов в моменты, когда все переключатели включены, из-за несбалансированности, возникающей между пиковыми значениями двух переключаемых токов из-за разного времени переключения переключателей 24 и 25, и это приводит к увеличению потребления энергии за счет индуктивности тока утечки, вызываемой взаимной индукцией, и потерь на гистерезис, которые возникают при переключении полюсов N и S.
В частности, поскольку данный способ может быть реализован только с использованием способа управления с параллельной структурой требуются значительно большие токи, чем в способе с последовательной структурой, при подаче токов с соответствующими фазами, при этом значительно увеличивается потребление электроэнергии, а также количество выделяемого тепла повышается пропорционально силе тока, и нагрев становится причиной ухудшения рабочих характеристик.
Кроме того, способ управления инвертором используют для двухфазного гибридного электродвигателя с двумя источниками питания, как показано на фиг.3, для обеспечения быстрого увеличения токов при приложении к электрическому двигателю напряжения, превышающего максимально допустимое напряжение, что приводит к мгновенным изменениям в якоре из-за включений и выключений переключающего транзистора для обеспечения быстрого переключения направления вращения по часовой стрелке (ЧС(CW)) или против часовой стрелки (ПЧС(CCW)).
То есть, в состоянии, когда приложено напряжение 24В от источника 31 питания, схема имеет такую структуру, что создается вращение по часовой стрелке (ЧС) благодаря включению транзистора (TR1) 33-1 (когда транзистор (TR2) 33-2 выключен), при этом транзистор (TR3) 35-1 и транзистор (TR4) 35-2 поочередно переключаются, и, наоборот, вращение против часовой стрелки (ПЧС) создается при выключении транзистора (TR1) 33-1 и поочередном переключении транзистора (TR5) 35-3 и транзистора (TR6) 35-4.
Такая схема позволяет увеличить скорость отклика благодаря быстрому повышению токов с использованием источника 32 питания с напряжением 6,3 В при переключении направления вращения с вращения по часовой стрелке на вращение против часовой стрелки.
Однако с такой схемой управления связана проблема, состоящая в том, что необходимо прикладывать высокое напряжение сразу после фазы работы с низким напряжением, и она не позволяет достичь максимальной эффективности использования тока, поскольку цепь работает с применением способа управления переключением фазы с параллельной структурой подачи напряжения.
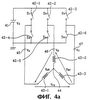
На фиг.4а и фиг.4b изображена схема инвертора трехфазного электродвигателя электропроводного типа со смещением между полюсами на 180 градусов, и ниже приведено пояснение способа формирования вращающегося магнитного поля с помощью последовательного управления.
На фиг.4а, если последовательно включать переключатель 42-1 S1, переключатель 42-3 S5 и переключатель 42-5 S4 для формирования вращающегося магнитного поля, благодаря переключению источника 41 питания, в соответствии с диаграммой временной последовательности, представленной на фиг.4b, половина напряжения будет приложена к обмотке 43-1 фазы V-, соединенной с точкой 45 VА, и остальная часть напряжения, то есть вторая половина напряжения будет приложена к обмотке 43-3 фазы W-, соединенной с точкой 47 VС.
Напряжения объединяются к нулевой точке 44 совместного заземления, проходят к отрицательному выводу через переключатель 42-5 S4, через точку 46 VВ, соединенную с обмоткой 43-2 фазы U- так, что генерируется исходное вращающееся магнитное поле.
Далее, если переключатель 42-3 S5 будет выключен с помощью схемы управляющего вентиля, который не показан на чертеже, при использовании следующей последовательности переключений (электрические углы от 60 градусов до 120 градусов) переключатель 42-1 S1, переключатель 42-5 S4 и переключатель 42-6 S6 включены, напряжение от источника 41 энергии будет разделено в нулевой точке 44 общего соединения, которая подключена к источнику питания через обмотку 43-1 фазы V-, точку 45 VА, через переключатель 42-1 S1 так, что половина напряжения от источника 41 питания будет приложена к переключателю 42-5 S4, через точку 46 VВ, соединенную с обмоткой 43-2 фазы U-, и проходит на отрицательный вывод источника питания, и вторая половина напряжения поступает на переключатель 42-6 S6 через точку 47 VC, соединенную с обмоткой 43-3 фазы W-, и затем возвращается на отрицательный вывод источника питания, создавая таким образом второй этап вращения магнитного поля.
Переключение повторяют в соответствии с временной последовательностью, показанной на фиг.4b, так, что образуется вращательная энергия.
Однако такой способ переключения создает противодействие между напряжениями при переключении токов, поскольку половина напряжения проходит через обмотку 43-3 фазы W-, подключенную через включенный переключатель 42-3 S5, точку 47 VC и нулевую точку 44 общего соединения с соответствующими фазами для формирования первого этапа (электрические углы от 0 градусов до 60 градусов на диаграмме временной последовательности) вращения магнитного поля, и переключатель 42-6 S6 включается в то время, как переключатель 42-3 S5 быстро выключается, для обеспечения возврата напряжения на отрицательный вывод через переключатель 42-5 S4, точку 46 VB, соединенную с обмоткой 43-2 фазы U-, на втором этапе (электрические углы от 60 градусов до 120 градусов на диаграмме временной последовательности).
То есть, если переключатель (42-3) S5 выключен, и переключатель 42-6 S6 включен, напряжение поступает на нулевую точку общего соединения через соответствующие фазы, через обмотку 43-1 фазы V-, соединенную через переключатель 42-1 S1 и точку 45 VA, при этом напряжение, поступающее в нулевую точку, делится пополам. На первом этапе половина напряжения приложена к обмотке 43-2 фазы U- в направлении повышения напряжения, и вторая половина напряжения приложена к обмотке 43-3 фазы W- в противоположном направлении так, что напряжение повышается на первом этапе и противодействует напряжению, образующемуся в результате переключения первого этапа так, что такое противодействие становится фактором, прерывающим протекание токов. Для снижения такого прерывания переключение производят с определенным запаздыванием, что позволяет только предотвратить повреждение устройства, но не позволяет предотвратить функциональное сопротивление, препятствующее образованию различающихся фаз напряжения и тока и протекающих токов.
В соответствии с этим происходит повышение напряжения при высокой скорости вращения.
На фиг.4b показана диаграмма временной последовательности управления углами переключения в режиме реального времени схемы инвертора электродвигателя, используемой в известном уровне техники, которая представлена для пояснения времени запаздывания.
На диаграмме временной последовательности для изменения фазы U+ с состояния 48 на состояние 49 фазы U+, то есть при переключении полярностей между соответствующими положительными и отрицательными фазами требуется время запаздывания из-за противодействия обратно направленной электродвижущей силы, и стабильность привода, и вероятность повреждения устройства определяются требуемой величиной времени запаздывания.
В соответствии с этим структура инвертора с использованием такого способа управления может быть представлена комбинационной логической схемой переключения, в которой останутся проблемы, свойственные последовательному управлению, поскольку в ней не учитывается реактивное сопротивление, образующееся при преобразовании частоты, а только производится замена электродвигателя щеточного типа на электродвигатель с коммутатором электронного типа.
ОПИСАНИЕ ИЗОБРЕТЕНИЯ
Настоящее изобретение направлено на решение вышеописанной проблемы так, что целью настоящего изобретения является снижение реактивного сопротивления благодаря применению соответствующего управления, позволяющего получить динамические силы и электродвижущую силу при индуцировании переменного магнитного потока даже, если токи протекают только в одном направлении (постоянный ток, последовательное управление) благодаря использованию множества обмоток с различным направлением намотки или дополнительных обмоток в однофазной, трехфазной и многофазной конфигурации.
Кроме того, настоящее изобретение направлено на формирование тройного сигнала электрической мощности, получаемого в результате приложения напряжения к магнитной цепи со схемой переключения комбинаторной логики типа ИЛИ.
Кроме того, настоящее изобретение направлено на уменьшение потерь на магнитный гистерезис путем увеличения и уменьшения значения плотности (В) магнитного потока по отношению к точке отсутствия индукции в магнитной цепи, в которой используется ферромагнитный материал.
Настоящее изобретение дополнительно направлено на формирование новой точки переключения полярности с использованием характеристик постоянного тока, проявляющихся при подключении положительного напряжения и отрицательного напряжения к обмоткам, намотанным в различных направлениях, благодаря использованию различных кривых магнитного гистерезиса, проявляющихся в зависимости от направления обмотки.
Кроме того, настоящее изобретение направлено на достижение максимальной эффективности использования электрического тока с помощью схемы управления с последовательными фазами.
Для достижения вышеуказанных целей в соответствии с одним аспектом настоящего изобретения электромагнитная цепь, в которой скомбинированы электрическая цепь и магнитная цепь, содержит блок управления переключением в виде магнитной цепи и схему управления переключением, построенную в виде комбинационной логики типа ИЛИ, предназначенную для управления соответствующими последовательными фазами постоянного тока, а также блок переключения индукции магнитного потока, предназначенный для изменения индукции магнитного потока с формированием колебаний m-образной формы характеристики постоянного тока, подключаемого таким образом, что переключатели включаются поочередно, и переключатели включаются одновременно в точке переключения полюса, вновь появляющейся на линии отсутствия индуктивности или точке отсутствия индуктивности.
В блоке управления переключением одна обмотка магнитной цепи намотана в направлении по часовой стрелке (направление S) и другая обмотка намотана в направлении против часовой стрелки (направление Z). Если полупроводниковый переключатель или сверхпроводящий переключатель, установленный перед обмоткой, намотанной в направлении по часовой стрелке (направление S), будет включен (другой полупроводниковый переключатель будет выключен), положительное напряжение источника постоянного напряжения проходит через диод или устройство, предотвращающее обратное смещение, подключенное к выводу обмотки, намотанной в направлении S, и затем возвращается на отрицательный вывод источника постоянного напряжения, чтобы таким образом индуцировать магнитный поток с полярностью N в магнитной цепи. Если будет включен полупроводниковый переключатель или сверхпроводящий переключатель, установленный перед обмоткой, намотанной в направлении Z (другой полупроводниковый переключатель или сверхпроводящий переключатель будет выключен), положительное напряжение источника постоянного напряжения проходит через диод или устройство, предназначенное для предотвращения обратного смещения, которое соединено с выводом обмотки с намоткой в направление Z, и затем возвращается на отрицательный вывод источника постоянного напряжения, чтобы таким образом индуцировать магнитный поток с полярностью S. Если полупроводниковые переключатели или сверхпроводящие переключатели подключенные в цепи обмоток, намотанных в направлении S и в направлении Z, будут одновременно включены, напряжения будут приложены в обоих направлениях так, что в обмотках будет отсутствовать индукция, и появится нейтральная зона. Постоянный ток такой же величины, что и входной ток, вернется на отрицательный вывод источника постоянного напряжения в точке общего соединения, соединения выходных выводов диодов или устройств, предназначенных для предотвращения отрицательного смещения, которые включены в цепь после обмоток.
Если в блоке переключения индукции магнитного потока полупроводниковый переключатель или сверхпроводящий переключатель, соединенный с обмоткой, намотанной в направлении S, которая является одной из обмоток, намотанных в противоположных друг к другу направлениях, включен (полупроводниковый переключатель для обмотки направления Z выключен) для подачи напряжения, при этом ток увеличивается до требуемой величины в положительном направлении от нейтральной линии в течение времени включения и после увеличения до требуемого значения поддерживается на одном уровне параллельно координате времени. В это время, если будут включены все полупроводниковые переключатели или сверхпроводящие переключатели, включенные в цепь перед обмотками направления S и направления Z, ток в обмотке, намотанной в направлении S, падает до половины установившегося значения, и ток с половинной силой протекает в обмотке, намотанной в направлении Z так, что в магнитном веществе обмоток не образуется индукция. В таком состоянии, если полупроводниковый переключатель или сверхпроводящий переключатель, включенный в цепь перед обмоткой, намотанной в направлении S, будет выключен, ток в обмотке, намотанной в направлении Z, повысится. При повторении описанного выше переключения формируются кривые напряжения на обмотках, намотанных в направлении S и намотанных в направлении Z, расположенные над или под нейтральной линией характеристики постоянного тока, в отличие от формы колебаний переменного тока так, что точка отсутствия индукции или линия отсутствия индукции появляется приблизительно в точке половины приложенного напряжения.
КРАТКОЕ ОПИСАНИЕ ЧЕРТЕЖЕЙ
Описанные выше цели и другие преимущества настоящего изобретения будут более понятны при подробном описании его предпочтительного варианта воплощения со ссылкой на чертежи, на которых:
фиг.1 изображает обычную электрическую схему индуцирования переменного магнитного потока;
фиг.2а – структуру обычного двухтактного инвертора;
фиг.2b – форму выходных колебаний обычного двухтактного инвертора;
фиг.3 – структуру схемы инвертора для обычного двухфазного гибридного электродвигателя с двумя источниками питания;
фиг.4а – схему инвертора для обычного электродвигателя;
фиг.4b – временную диаграмму инвертора для обычного электродвигателя;
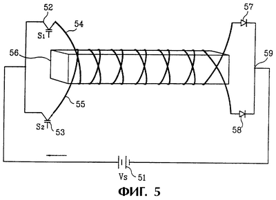
фиг.5 – в перспективе структуру намотки магнитной цепи и подключения переключателей в соответствии с одним из вариантов воплощения настоящего изобретения;
фиг.6а – схему переключения в соответствии с другим вариантом воплощения настоящего изобретения;
фиг.6b – диаграмму, представляющую моменты переключения для подачи напряжения схемы переключения по фиг.6а;
фиг.6с – форму колебаний магнитного потока в соответствии с другим вариантом воплощения настоящего изобретения;
фиг.7а – схему переключения в соответствии с еще одним вариантом воплощения настоящего изобретения;
фиг.7b – временную диаграмму, соответствующую дополнительному варианту воплощения настоящего изобретения.
ЛУЧШИЙ СПОСОБ ОСУЩЕСТВЛЕНИЯ НАСТОЯЩЕГО ИЗОБРЕТЕНИЯ
Ниже будет описана работа вариантов воплощения настоящего изобретения при рассмотрении их структуры.
На фиг.5 изображен вид в перспективе, представляющий структуру обмоток магнитной цепи и подключение переключателей в соответствии с одним из вариантов воплощения настоящего изобретения, в состоянии, когда напряжение от источника VS 51 напряжения приложено к магнитной цепи, состоящей из обмоток на ферромагнитном магнитопроводе 56 (типа сердечника) или только из обмоток 54 и 55 (без сердечника). При этом, если переключатель 52 S1 будет включен и переключатель 53 S2 будет выключен, токи в обмотке 54 протекают в одном направлении (по направлению часовой стрелки) так, что в магнитопроводе 56 будет индуцирован магнитный поток с полярностью S.
И, наоборот, если переключатель 52 S1 будет выключен, а переключатель 53 32 будет включен, ток в обмотке 55 протекает в другом направлении, противоположном направлению S (в направлении против часовой стрелки), так, что в магнитопроводе 56 будет индуцирован магнитный поток с полярностью N. Если переключатель 52 S1 и переключатель 53 S2 будут включены одновременно, магнитный поток в магнитной цепи 56 не будет индуцирован обмотками 54 и 55, имеющими различные направления намотки, при этом токи, создающие магнитный поток, вернутся в источник 51 через общую точку 59, образованную путем соединения выводов диодов 57 и 58 или устройств, предназначенных для предотвращения обратного смещения.
В такой структуре напряжение прикладывается только в направлении постоянного тока, независимо от переменной индукции магнитного потока, что представляет собой способ поочередного подключения токов к обоим выводам обмоток (обмоток, намотанных одним или множеством проводников) в группе. Этот способ имеет преимущество, состоящее в том, что при этом существенно снижаются потери энергии из-за уменьшения потерь на гистерезис, без учета снижения реактивного сопротивления, поскольку обеспечивает меньшую величину электрических противодействий и магнитного гистерезиса в обмотках, чем при использовании способа индуцирования переменного магнитного потока.
Далее будет описана структура в соответствии с одним из вариантов воплощения настоящего изобретения.
Как показано на фиг.6а и фиг.6b, если подаваемое напряжение имеет вид кривой 61-1 (фиг.6b), при включении переключателя 61 и выключении переключателя 62 с использованием схемы управляющего вентиля, управляемого последовательностью сигналов управления, которая не показана на чертеже, когда напряжение от источника 51 напряжения приложено в направлении Е, напряжение возвращается к источнику 51 напряжения в направлении F через диод 57 или устройство, предназначенное для предотвращения обратного смещения, проходя через обмотку 54, намотанную по часовой стрелке и соединенную с переключателем 61, для индуцирования магнитного потока с полярностью N, и, если переключатель 61 и переключатель 62 будут одновременно включены, половина напряжения, проходящего через переключатель 61, будет падать, в соответствии с кривой 64 на фиг.6с по отношению к новой линии 63 изменения приложенного напряжения, обозначенной на фиг.6b, при этом половина напряжения повышается, как показано кривой 65 повышения напряжения по фиг.6с, на переключателе 62, показанном на фиг.6а, и напряжение возвращается к источнику 51 напряжения в направлении F через диоды 57 и 58 или устройство, предотвращающее обратное смещение, через обмотку 54, намотанную по часовой стрелке, и обмотку 55, намотанную против часовой стрелки, изображенные на фиг.6а, и при этом магнитный поток не индуцируется.
Если только переключатель 61, показанный на фиг.6а, будет выключен, и переключатель 62 останется включенным, напряжение, приложенное в виде кривой 62-1 входного напряжения для переключателя 62, как показано на фиг.6b, возвращается к источнику 51 напряжения в направлении F через диод 57, предназначенный для предотвращения обратного смещения, через обмотку 55, намотанную против часовой стрелки, и таким образом формируется магнитный поток с полярностью S.
Магнитный поток, формируемый в соответствии с вышеприведенным описанием, индуцируется в железном сердечнике 56, и под действием этого переменного магнитного потока во вторичной обмотке 3 вырабатывается переменная электродвижущая сила.
На фиг.6b изображена кривая прикладываемого напряжения, формируемого при переключении, где по координате Х отложено время (t) и по координате Y – тока. Как видно из графика, способ приложения напряжения в соответствии с одним из вариантов настоящего изобретения, представляет собой способ индуцирования переменного магнитного потока благодаря подаче напряжения с m-образным изменением по отношению к линии 63 изменения прикладываемого напряжения, сформированной в верхней части нейтральной линии 66, в отличие от способа приложения переменного напряжения по отношению к нейтральной линии 66 подачи напряжения.
Таким образом, в соответствии с настоящим изобретением представлен новый способ получения переменного магнитного потока в форме кривой 61-1 приложения напряжения по фиг.6b, получаемой при использовании переключателя 61 по фиг.6а, и кривой 62-1 приложения напряжения по фиг.6b, получаемой при использовании переключателя 62 по фиг.6а, в котором сохраняется включение и выключение соответствующих переключателей в соответствии с порядком временной последовательности по отношении к линии 63 изменения прикладываемого напряжения (линия отсутствия индуктивности магнитного потока).
Три формы 64, 65 и 66 или большее количество форм выходных колебаний магнитного потока, получаемые с помощью способа, управляемого переключения напряжения, по фиг.6с, используют для изменения электродвижущих сил трансформатора, для повышения и уменьшения напряжений или в качестве генераторов сигналов, а также могут использоваться в генераторах тепла, работающих на принципе индукционного нагрева в случае добавления магнитной цепи, создающей вихревые токи, а в также блоках управления с высокочастотным переключением или в других вариантах использования.
На фиг.7а изображена схема трехфазного инвертора электродвигателя в соответствии с другим вариантом воплощения настоящего изобретения, в котором цепь построена таким образом, чтобы обеспечить переключение напряжений вдоль соединительного узла распределения напряжения путем выпрямления напряжения источника 71 переменного напряжения в блоке 72 выпрямителя с получением напряжения постоянного тока, при этом, если переключатели S1, S3 и S5 будут включены и переключатели S2, S4 и S6 будут выключены при управлении переключателями с помощью схемы управляющего вентиля, магнитный поток с полярностью N будет индуцироваться в обмотках 75-1, 75-3, 75-5 магнитной цепи. Тем временем, если переключатели S1, S3 и S5 будут выключены и переключатели S2, S4 и S6 будут включены, в обмотках 75-2, 75-4 и 75-6 магнитной цепи будет индуцироваться магнитный поток с полярностью S.
Кроме того, если все переключатели S1, S3 и S5 и переключатели S2, S4, S6 будут включены, в обмотках 75-1, 75-3, 75-5, 75-2, 75-4 и 75-6 магнитной цепи не будет индуцироваться магнитный поток, несмотря на подключение напряжений.
Поскольку изменения магнитного потока происходят по отношению к линии отсутствия индукции переключения полюса, настоящее изобретение позволяет построить схему инвертора, предназначенную для генерирования механической мощности на основе переменного магнитного потока в соответствии со способом подачи переключаемых напряжений постоянного тока или при использовании серии последовательных шин, который отличается от обычного способа изменения магнитного потока по отношению к нейтральной линии переменного тока.
На фиг.7b показана временная диаграмма для 4-х полюсного 3-х фазного управления электродвигателем в соответствии с другим вариантом воплощения настоящего изобретения. Этот вариант воплощения настоящего изобретения будет подробно описан ниже со ссылкой на фиг.7а и фиг.7b.
На фиг.7а, если напряжение от источника 71 переменного напряжения будет выпрямлено в постоянное напряжение в блоке 72 выпрямителя и поступит на переключатели через соединительный узел 73 распределения напряжения, переключатель 74-1 S1, показанный на фиг.7а, будет действовать в соответствии с порядком временной последовательности по фиг.7b с использованием импульсно-амплитудной модуляции (ИАМ(РАМ)) или широтно-импульсной модуляции (ШИМ(PWM)), и производится комбинирование ИАМ и ШИМ на участке от 0 градусов до 94 градусов, как показано в последовательности приложения напряжения для фазы А+ на фиг.7b.
В вышеописанном способе, если напряжение фазы В- по фиг.7b приложено к переключателю 74-4 S4 по фиг.7а в период от 0 градусов до 64 градусов (85), и напряжение фазы С+ по фиг.7b будет приложено к переключателю 74-5 S5 по фиг.7а в период от 0 градусов до 34 градусов (86), токи в обмотках, соединенных с выводами переключателей соответствующих фаз возвращаются к источнику 71 напряжения через диод 76-5 или устройство, предназначенное для предотвращения обратного смещения, в соответствующих фазах после индуцирования магнитного потока в магнитной цепи, состоящей из ферромагнитного вещества, для выполнения исходного управления, и затем, если напряжение фазы А- по фиг.7b будет приложено к переключателю 74-2 S2, по фиг.7а, в период от 86 градусов до 184 градусов (82), напряжение фазы В+ по фиг.7b будет приложено к переключателю 74-3 S3, по фиг.7а во время периода от 56 градусов до 154 градусов (84), и напряжение фазы С- по фиг.7b будет приложено к переключателю 74-6 S3, по фиг.7а в течение периода от 26 градусов до 124 градусов (87), при этом токи обмоток, соединенных с выводами переключателей соответствующих фаз, индуцируют магнитный поток в магнитной цепи, состоящий из ферромагнитного вещества, затем возвращаются к источнику 71 напряжения через диод 76-6 или устройство, предназначенное для предотвращения обратного смещения, по отношению к фазе С-, чтобы таким образом продолжить управление переключением.
При этом в обычном 4-х полюсном двигателе, представленном на фиг.4b, механический угол и электрический угол 180 градусов соотносятся с углом 90 градусов структуры управления последовательностью, но, так как в действительности подаваемые на вход напряжения приходят на несколько градусов раньше соответствующего угла (0°, 90°, 180° и 270° в конструкции с полюсами магнитопровода, расположенными через 180°, и 0°, 120° и 240° в конструкции с полюсами магнитопровода, расположенными через 120°), при учете времени запаздывания, а также в связи с тем, что напряжение подают на несколько градусов после угла отсчета из-за действия обратной электродвижущей силы, возникающей в течение следующей операции переключения полюсов, приложенное напряжение отключается в течение периода времени запаздывания с образованием сдвига фазы между напряжением и током. Для преодоления этого эффективность источника напряжения должна быть улучшена путем использования схемы компенсации коэффициента мощности или подобной схемы.
Однако в варианте воплощения в соответствии с настоящим изобретением, который показан на фиг.7b, используют больший угол, чем 4 градуса до и после механического угла 90° и электрического угла 180° (угол отсутствия индукции может быть изменен с помощью конструкционных параметров).
То есть, переключатель выключается после приложения напряжения на несколько градусов позже, чем угол отсчета на временной диаграмме приложения напряжения в фазе А+ при изменении напряжения для переключения полярности по фиг.7b, и после приложения напряжения фазы А- в течение следующего переключения полярности переключатель включается с опережением на несколько градусов от угла отсчета последовательности, что формирует область 83 приложения напряжения с перекрытием между фазой А+ и фазой А-.
Область зоны отсутствия индукции (новая линия 63 изменения приложения напряжения), и, как показано на фиг.6b, кривая 61 приложения напряжения формируется с учетом этой области.
В соответствии с этим способ приложения напряжения в соответствии с одним из вариантов воплощения настоящего изобретения, поскольку способ подачи напряжения с переключением полярности типа шины постоянного тока не образует сдвиг фазы между напряжением и током в связи с тем, что отсутствует отсечка напряжения при работе, переменный магнитный поток индуцируется с помощью включения двух или большего количества переключателей в способе подачи напряжения с m-образной формой колебания, как показано на фиг.6b, с использованием источника постоянного напряжения относительно линии преобразования приложения напряжения на линии отсутствия индукции, сформированной выше или ниже нейтральной линии, в отличие от способа индукции переменного магнитного потока, основанного на подключении переменного напряжения относительно нейтральной линии, но отличается от обычного способа переключения с помощью инвертора тем, что в нем отсутствует сопротивление, создаваемое электрическим полем, в отличие от способа индукции переменного магнитного потока, создаваемого преобразованием частоты, поскольку в настоящем способе используется подача постоянного напряжения вместо использования переменного напряжения.
ПРОМЫШЛЕННАЯ ПРИМЕНИМОСТЬ
Схема, имеющая структуру, в соответствии с настоящим изобретением позволяет получать описанный ниже эффект с использованием нескольких вариантов воплощения.
Поскольку точки пересечения магнитных полюсов находятся на новой описанной в настоящем изобретении линии отсутствия индукции, и переменный магнитный поток может быть индуцирован не с помощью блока переменного тока, но с использованием блока постоянного тока для получения силы притяжения и силы отталкивания магнитного потока, реактивное сопротивление, возникающее из-за переменного тока, может быть существенно снижено для обеспечения возможности получения высокого уровня тока при низком напряжении, и, в частности, благодаря наличию точки отсутствия индукции становится возможным уменьшить вибрации в электродвигателе, возникающие при изменении полярности и потери в железе из-за магнитного гистерезиса ферромагнитного вещества, и способ подключения постоянного напряжения не приводит к образованию сдвига фаз между напряжением и током, что позволяет уменьшить потери энергии из-за сдвига фаз (повысить показатель мощности).
Кроме того, поскольку способ подачи напряжения с помощью блока переключения в соответствии с настоящим изобретением позволяет построить последовательные цепи, настоящее изобретение имеет существенный эффект максимального использования эффективности тока по сравнению с параллельной цепью.
Формула изобретения
Магнитная цепь, содержащая обмотку, намотанную по часовой стрелке (направление S), и вторую обмотку, намотанную против часовой стрелки (направление Z), переключатели, включенные последовательно перед соответствующими обмотками с возможностью переключения в требуемом порядке, средство управления переключением в виде инвертора или преобразователя, предназначенное для управления постоянным током, или многофазное средство управления, выполненное с использованием комбинационной логики типа “ИЛИ” для переключения соответствующих фаз, в котором схема инвертора или преобразователя построена с возможностью индуцирования магнитного потока с полярностью N, магнитного потока с полярностью S или отсутствия индукции, когда постоянный ток протекает к отрицательному выводу источника напряжения через обе обмотки, и устройства, предотвращающие обратное смещение, соединенные с выводами обмоток, и блок индуцирования переменного магнитного потока, предназначенный для индуцирования переменного магнитного потока с использованием колебания m-образной формой с характеристиками постоянного тока, которое получают путем поочередного включения переключателей и одновременного включения переключателей в точке переключения полюса, вновь появляющейся относительно линии отсутствия индукции или точки отсутствия индукции, в котором линия отсутствия индукции или точка отсутствия индукции сформирована в точке половины прикладываемого напряжения в верхней или нижней части нейтральной зоны, если переключатели включают поочередно, или все переключатели включены в соответствии с требуемым порядком относительно точки переключения полярности.
РИСУНКИ
MM4A – Досрочное прекращение действия патента СССР или патента Российской Федерации на изобретение из-за неуплаты в установленный срок пошлины за поддержание патента в силе
Дата прекращения действия патента: 29.03.2006
Извещение опубликовано: 20.12.2007 БИ: 35/2007
|
|