|
|
(21), (22) Заявка: 2004126979/28, 09.09.2004
(24) Дата начала отсчета срока действия патента:
09.09.2004
(45) Опубликовано: 10.03.2006
(56) Список документов, цитированных в отчете о поиске:
US 5410910, 02.05.1995. RU 2159454C1, 20.11.2000. JP 6208841, 26.07.1994. US 4162401, 24.07.1979.
Адрес для переписки:
124460, Москва, Зеленоград, корп.167, ЗАО “НТ-МДТ”, В.А. Быкову
|
(72) Автор(ы):
Божко Сергей Иванович (RU), Быков Виктор Александрович (RU), Саунин Сергей Алексеевич (RU), Соколов Дмитрий Юрьевич (RU)
(73) Патентообладатель(и):
ЗАО “НТ-МДТ” (RU)
|
(54) КРИОГЕННЫЙ СКАНИРУЮЩИЙ ЗОНДОВЫЙ МИКРОСКОП
(57) Реферат:
Изобретение относится к измерительной технике, а более конкретно к приборам для исследования образцов на атомарном уровне в условиях сверхнизких температур. Криогенный сканирующий зондовый микроскоп содержит первый фланец, на котором установлены привод вращения со штоком, а также линейный привод с первым захватом, ориентирующее устройство, второй фланец, систему виброзащиты, держатель зонда с зондом и держатель образца с образцом. Ориентирующее устройство выполнено в виде стержней. Стержни имеют шаровые наконечники, закреплены на первом фланце и соединены со вторым фланцем. Стержни сопряжены с ловителями. Ловители закреплены на первой платформе с возможностью сопряжения с шаровыми наконечниками. Система виброзащиты соединена с первым фланцем. Блок анализа выполнен в виде первой, второй и третьей платформ. Первая платформа неподвижно соединена со второй платформой. Третья платформа установлена на второй платформе посредством опор с шаровыми наконечниками. Шаровые наконечники сопряжены с V-образными направляющими, расположенными в третьей платформе. Винт с шаровым толкателем гладкой поверхностью сопряжен с первой платформой. Технический результат – повышение точности измерений и надежности работы устройства. 5 з.п. ф-лы, 6 ил. 
Изобретение относится к измерительной технике, а более конкретно к приборам для исследования образцов на атомарном уровне в условиях сверхнизких температур.
Известна криогенная высоковакуумная установка для проведения сканирующей туннельной микроскопии [1]. Конструкция СТМ предполагает использование шагового пьезодвигателя, что приводит к недостаточной надежности работы устройства, кроме этого, описанная конструкция содержит недостаточную систему виброзащиты, что снижает точностные характеристики прибора.
Известен также криогенный сканирующий зондовый микроскоп [2], содержащий первый фланец, на котором установлены привод вращения со штоком и блоком передачи вращения, а также линейный привод с первым захватом и второй фланец, соединенный с первым фланцем, блок анализа, сопряженный посредством виброзащиты со вторым фланцем. Ориентирующее устройство в виде стержней с иглообразными наконечниками, закрепленными на блоке анализа и сопряженными с ловителями, установленными на втором фланце второго захвата, установленного на блоке анализа и сопряженного с первым захватом, при этом блок анализа, содержащий держатель зонда с зондами, держатель образца с образцом, выполнен в виде первой платформы, неподвижно соединенной со второй платформой посредством двух опор с шаровыми наконечниками, закрепленными на третьей платформе и сопряженными со второй платформой, посредством винта с шаровым толкателем, установленным подвижно на второй платформе и сопряженным с блоком передачи вращения, а также вторых пружин, соединенных со второй и третьей платформами.
Недостатки описанного устройства
Выполнение стержней ориентирующего устройства с игольчатыми наконечниками и закрепление их на блоке анализа ухудшают ориентацию блока анализа при предварительном сближении зонда с образцом, что может вызвать перенос и заклинивание в цепи от привода вращения до винта. Использование виброзащиты между вторым фланцем и блоком анализа за счет ее недостаточной длины ухудшает ее характеристики и точность измерений.
Установка двух опор на третьем фланце ухудшает резонансные характеристики устройства и также точность измерений.
Установка винта на второй платформе и его сопряжение с блоком передачи вращения, размещенным на первой платформе, может вызвать перенос блока и заклинивание винта при его движении.
Технический результат изобретения заключается в повышении точности измерений и надежности работы устройства.
Указанный технический результат заключается в том, что в криогенном сканирующем зондовом микроскопе, содержащем первый фланец, на котором установлены привод вращения со штоком, а также линейный привод с первым захватом, ориентирующее устройство в виде стержней, сопряженных с ловителями, второй фланец, систему виброзащиты, соединенную первыми концами первых пружин с блоком анализа, сопряженным вторым захватом с первым захватом, содержащим держатель зонда с зондом и держатель образца с образцом и выполненным в виде первой платформы, неподвижно соединенной со второй платформой, и третьей платформы, подвижно соединенной со второй платформой посредством двух опор с шаровыми наконечниками, винта со шлицом, сопряженным с блоком передачи вращения с шаровым толкателем, установленным подвижно на второй платформе и сопряженного с третьей платформой, а также вторых пружин, соединенных со второй и третьей платформами, стержни ориентирующего устройства имеют шаровые наконечники, закреплены на первом фланце и соединены со вторым фланцем, ловители конусного типа закреплены на первой платформе блока анализа с возможностью сопряжения с шаровыми наконечниками, система виброзащиты вторыми концами первых пружин соединена с первым фланцем, две опоры установлены на втором фланце и сопряжены шаровыми наконечниками с V-образной направляющей, расположенной в третьей платформе, а винт с шаровым толкателем гладкой поверхностью сопряжен с первой платформой.
Существуют варианты, в которых блок передачи вращения выполнен в виде упругого штифта, закрепленного в штоке и сопряженного со шлицем винта, первые пружины системы виброзащиты соединены с первым фланцем посредством первых зацепов и витонового переходника, с первой платформой блока анализа посредством вторых зацепов, при этом вторые пружины соединены со второй и третьей платформами третьими и четвертыми зацепами, V-образные направляющие выполнены из твердых вставок, третья платформа содержит пластину из твердого материала, сопряженную с шаровым толканием винта, причем винт, первый, второй, третий и четвертый зацепы, твердые вставки, а также пластина из твердого материала выполнены из материалов с низкой теплопроводностью.
Возможны также варианты, где стержни выполнены пустотелыми, а твердые вставки V-образных направляющих и пластина изготовлены из сапфира.
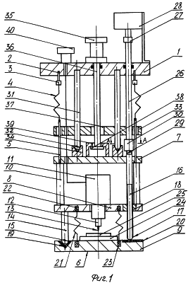
На фиг.1 изображен криогенный сканирующий зондовый микроскоп.
На фиг.2 – вариант выполнения линейного привода.
На фиг.3 – вариант выполнения захвата.
На фиг.4 представлена схема размещения КСЗМ в заливном криостате.
На фиг.5 – схема размещения КСЗМ в вакуумной камере.
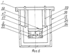
На фиг.6 – схема размещения КСЗМ в откачном криостате.
Криогенный сканирующий зондовый микроскоп содержит первый фланец 1, на котором посредством системы виброзащиты, содержащей первые зацепы 2, переходники 3, первые пружины 4 и вторые зацепы 5, установлен блок анализа 6. В качестве переходников 5 могут быть использованы витоновые кольца. Блок анализа 6 выполнен в виде первой 7, второй 8 и третьей 9 платформ. Причем первая 7 и вторая 8 платформы соединены посредством стоек 10. В зависимости от конкретного конструктивного использования могут быть использованы две или, например, три стойки 10. На второй платформе 8 закреплен сканер 11 с держателем зонда 12 зонда 13. Третья платформа 9 установлена на второй платформе 8 посредством опор 14 с шаровыми наконечниками 15 и с использованием винта 16 с шаровым толканием 17, сопряженного с гайкой 18. Опоры 14 и гайка 18 закреплены на платформе 8.
На третьей платформе 9 могут быть расположены V-образные направляющие 19 и пластина 20, выполненная, например, из поликора, твердого сплава или сапфира. Третья платформа 9 поджата ко второй платформе 8 вторыми пружинами 21 с использованием третьих 22 и четвертых зацепов 23.
Держатель образца 24 с образцом 25 могут быть установлены на третьей платформе 9 путем клея, пружинных лапок (не показаны) и т.п.
Винт 16 с гайкой 18 и первый шток 26, установленный с возможностью взаимодействия с винтом 16 и сопряженный муфтой 27 с приводом вращения 28, представляют собой механизм предварительного сближения зонда 13 с образцом 25. В качестве привода вращения 28 можно использовать шаговый двигатель. Винт 16 со штоком 26 могут быть сопряжены посредством шлица 29 и блока передачи вращения 30. На первом фланце 1 закреплены стержни 31 с шаровыми наконечниками 32, соединенные со вторым фланцем 33 и расположенные с возможностью взаимодействия с конусными ловителями 34, закрепленными с возможностью котировочной подвижки по платформе 7 (например, в зазорах установочных винтов (не показаны)).
На фланце 1 установлен линейный привод 35 со штангой 36, расположенной в отверстии 37 фланца 33, и содержащий первый захват 38, разъемно сопряженным со вторым захватом 39, закрепленным на первой платформе 7. Сканер 11, зонд 13 и в некоторых случаях образец 25 подключены к разъему 40.
Шток 26 и штанга 36 герметизированы во фланце 1 посредством, например, фторопластовых уплотнений.
Разъем 40 и привод вращения 28 подключены к блоку управления (не показан).
Более подробно СЗМ и его элементы описаны в работах [3-5].
Вариант выполнения линейного привода 35 (фиг.2) может содержать в виде корпуса 41, в котором установлена штанга 36 со штифтом 42, расположенным с возможностью взаимодействия с пазами 43, выполненными в корпусе 41. Винт 44 имеет резьбовое соединение со штоком 36.
Вариант выполнения блока передачи вращения (фиг.3) может содержать упругий штифт 45, закрепленный в штоке 26, расположенный с возможностью взаимодействия с пазом 29 винта 16.
В заливном криостате 46 (фиг.4) КСЗМ 47 размещают непосредственно в жидком гелии или азоте, залитом в емкость 48, соединенной с системами подвода 49 и отвода 50.
В вакуумной камере 51 (фиг.5) КСЗМ 47, расположенный в непосредственной близости от криогенного ввода 52 (см., например, [6]), соединен с ним гибкими хладопроводами 53, выполненными, например, из жгута медной проволоки. Следует заметить, что в вакуумной камере 51 целесообразно использовать в КСЗМ измеритель температуры 54 и нагреватель 55, подключенные к блоку управления (не показан).
В откачном криостате 56 (фиг.6) КСЗМ 47 расположен в емкости 57 с, например, гелием, соединенной с системой подвода 58 и откачки 59 хладогента. В этом случае также можно измеритель 54 и нагреватель 55.
Более подробно конструкции криостатов описаны в [7-10].
Устройство работает следующим образом. Закрепляют образец 25 на держателе 24 и, соответственно, держатель 24 на платформе 9. Устанавливают зонд 13 в держателе 12 сканера 11. После этого фланец 1 с анализирующим блоком 6 помещают в криостат и формируют требуемую температуру зоны измерений. Используя линейный привод 35 и захваты 38 и 39, поднимают блок 6 и осуществляют его ориентацию ловителями 34 на стержнях 31. При этом шлиц 29 винта 16 сопрягается с блоком передачи вращения 30 штока 26. Включают привод 28 и осуществляют перемещение винта 16 относительно платформы 8. Платформа 9, перемещаясь на опорах 14, осуществляет сближение образца 25 с зондом 13. После этого, используя привод 35 рассоединяют захваты 38 и 39, при этом, соответственно, размыкаются ловители 34 и стержни 31, а также шлиц 29 и блок 30. В результате блок 6 оказывается подвешенным на пружинах 4. После этого осуществляют сканирование зондом 13 образца 25 и, соответственно, анализ его поверхности (подробнее работу СЗМ см. в [3-5]).
Существует несколько вариантов исполнения отдельных элементов КСЗМ, в зависимости от типа используемого криостата.
В первом случае образец 25 (фиг.4) и зонд 13 могут быть расположены в заливном криостате 46 непосредственно в жидком гелии или азоте. В этом случае целесообразно минимизировать теплоотвод в направлении фланца 1. Для этого первые 2, вторые 5, третьи 22 и четвертые 23 (фиг.1) зацепы, ловители 34, а также направляющие 19 и пластины 20 должны быть выполнены из материала с низкой теплопроводностью. Для зацепов это может быть керамика, а для ловителей 34, направляющих 19 и пластины 20 – поликор. Кроме этого, шток 26, штанга 36, стойки 10, а также винт 16 и опоры 14 могут быть выполнены из тонкостенных нержавеющих трубок. Шаровые опоры 15 и 32 в этом случае могут быть изготовлены из шариков. Теплопроводностью шариков можно пренебречь и изготовить их из стали с целью увеличения долговечности контактов поликор-сталь. Следует заметить, что указанное исполнение деталей целесообразно также в случае размещения КСЗМ в вакуумной камере 51 (фиг.5) и охлаждения платформы 9 с образцом 25 гибкими хладопроводами 53, соединенными с криогенным вводом 52. Нагреватель 55 позволяет регулировать температуру измеряемого объекта, которая фиксируется измерителем 54.
Если КСЗМ размещают в откачном криостате 56 (фиг.6) и охлаждение зоны измерений осуществляется парами, например гелия, возможен нежелательный теплоотвод со стороны платформы 9. В этом случае более разумно осуществить отвод тепла от платформы 9 к центру КСЗМ. При этом опоры 14 (фиг.1) и винт 16 могут быть не пустотелыми, а направляющие 19 и пластина 20 изготовлены из сапфира, имеющего высокую теплопроводность при низких температурах.
Выполнение стержней ориентирующего устройства с шаровыми наконечниками, закрепление их на первом фланце и соединение их со вторым фланцем, выполнение ловителей конусными и закрепление их на первой платформе с возможностью сопряжения с шаровыми наконечниками повышает точность ориентации блока анализа для процесса предварительного сближения зонда и образца и, соответственно, надежность работы устройства. Оптимальное предварительное сближение в середину диапазона сканера повышает точность измерений (см. подробно [3, 4]).
Соединение блока анализа с первым фланцем пружинами позволяет увеличивать их длину, уменьшает жесткость, уменьшает резонансную частоту устройства и, соответственно, повышает точность и надежность работы устройства. (Подробнее влияние резонансной частоты на точность измерений см. в [5]).
Установка двух опор на втором фланце и сопряжение их шаровыми наконечниками с V-образной направляющей увеличивает резонансную частоту устройства и, соответственно, повышает точность и надежность его работы. Одновременно V-образная направляющая позволяет осуществлять точную однокоординатную подвижку внешним устройством третьей платформы относительно второй, что расширяет функциональные возможности устройства.
Сопряжение гладкой поверхности винта с первой платформой улучшает его ориентацию при предварительном сближении зонда с образцом и повышает надежность сближения.
Выполнение блока передачи вращения в виде упругого штифта повышает надежность сближения зонда с образцом.
Выполнение элементов КСЗМ с низкой теплопроводностью уменьшает теплоотвод от зоны измерений и стабилизируют ее температуру.
Низкая теплопроводность материала наиболее часто связана с его пористостью, а это, соответственно, изменяет полосу пропускания частот внешних колебаний, что улучшает виброзащиту устройства.
Использование витоновых переходников позволяет также одновременно и уменьшать передачу темпа и изменять полосу пропускания внешних частот.
Выполнение стержней пустотелыми позволяет в отдельных случаях работать без использования системы виброзащиты. Это может быть необходимым в случае использования предложенного устройства при фотостимуляции зоны измерений внешним источником излучения, что потребует ориентированной установки КСЗМ.
Изготовление твердых вставок V-образных направляющих и пластины из сапфира, имеющего коэффициент теплопроводности при низких температурах, соизмеримый с медью, позволяет оптимально использовать предложенное устройство в откачных криостатах, что расширяет его функциональные возможности.
Литература
1. Криогенная высоковакуумная установка для проведения сканирующей туннельной микроскопии. И.Н.Хлюстиков, B.C.Эдельман.
2. Патент US 5410910, G 01 B 5/28, 1995.
ПТЭ, 1996 г., №1 с.158-165.
3. Зондовая микроскопия для биологии и медицины. В.А.Быков Сенсорные системы т.12, 31, 1998 г., с.99-121.
4. Сканирующая туннельная и атомно-силовая микроскопия в электрохимии поверхностью А.И.Данилов, Успехи химии 64 (8), 1995 г., с.818-833.
5. Scanning tunneling microscope instrumentation. Y. Kyk, P. Sulverman. Rev. Sci. Instrum. 60 (1989), No.2, 165-180.
6. Патент US 4162401, G 01 N 23/00, 1979 г.
7. Патент US 3747365, F 25 B 19/00, 1973 г.
8. Патенти US 4689970, F 25 B 19/00, 1987 г.
9. Патенти US 5735127, F 25 В 9/00, 1988 г.
10. Патент US4 689970, F 25 B 19/00, 1987 г.
Формула изобретения
1. Криогенный сканирующий зондовый микроскоп, содержащий первый фланец, на котором установлены привод вращения со штоком, а также линейный привод с первым захватом, ориентирующее устройство в виде стержней, сопряженных с ловителями, второй фланец, систему виброзащиты, соединенную первыми концами первых пружин с блоком анализа, который сопряжен вторым захватом с первым захватом, содержит держатель зонда с зондом, держатель образца с образцом и выполнен в виде первой платформы, неподвижно соединенной со второй платформой, и третьей платформы, подвижно соединенной со второй платформой посредством двух опор с шаровыми наконечниками, винта со шлицом, сопряженным с блоком передачи вращения с шаровым толкателем, установленным подвижно на второй платформе, и сопряженного с третьей платформой, а также вторых пружин, соединенных со второй и третьей платформами, отличающийся тем, что стержни ориентирующего устройства имеют шаровые наконечники, закреплены на первом фланце и соединены со вторым фланцем, ловители конусного типа закреплены на первой платформе с возможностью сопряжения с шаровыми наконечниками, система виброзащиты вторыми концами первых пружин соединена с первым фланцем, третья платформа установлена на второй платформе посредством опор с шаровыми наконечниками, сопряженными с V-образными направляющими, расположенными в третьей платформе, а винт с шаровым толкателем гладкой поверхностью сопряжен с первой платформой.
2. Устройство по п.1, отличающееся тем, что блок передачи вращения выполнен в виде упругого штифта, закрепленного в штоке и сопряженного со шлицом винта, с низкой теплопроводностью.
3. Устройство по п.1, отличающееся тем, что первые пружины системы виброзащиты соединены с первым фланцем посредством первых зацепов и винтового переходника, а с первой платформой блока анализа посредством вторых зацепов, причем первые и вторые зацепы выполнены из материала с низкой теплопроводностью.
4. Устройство по п.1, отличающееся тем, что вторые пружины соединены со второй и третьей платформами третьими и четвертыми зацепами с низкой теплопроводностью, V-образные направляющие выполнены из твердых вставок с низкой теплопроводностью, третья платформа содержит пластину из твердого материала с низкой теплопроводностью, сопряженную с шаровым толкателем винта.
5. Устройство по п.1, отличающееся тем, что стержни выполнены пустотелыми.
6. Устройство по п.4, отличающееся тем, что твердые вставки V-образных направляющих и пластина изготовлены из сапфира.
РИСУНКИ
|
|