|
|
(21), (22) Заявка: 2004119112/28, 23.06.2004
(24) Дата начала отсчета срока действия патента:
23.06.2004
(45) Опубликовано: 10.03.2006
(56) Список документов, цитированных в отчете о поиске:
БОНДАРЕНКО С.И., ШЕРЕМЕТ В.И, ПРИМЕНЕНИЕ СВЕРХПРОВОДИМОСТИ В МАГНИТНЫХ ИЗМЕРЕНИЯХ, Л., ЭНЕРГОАТОМИЗДАТ, 1982, с.132. SU 876006 А, 15.11.1986. US 5373275 А, 13.13.1994. DE 3829175 А1, 16.03.1989. RU 2089973 С1, 10.09.1997.
Адрес для переписки:
424024, г.Йошкар-Ола, пл. Ленина, 3, МарГТУ, отдел интеллектуальной собственности
|
(72) Автор(ы):
Игумнов Владимир Николаевич (RU), Буев Андрей Романович (RU), Иванов Валерий Васильевич (RU), Филимонов Виталий Евгеньевич (RU)
(73) Патентообладатель(и):
Марийский государственный технический университет (RU)
|
(54) МАГНИТНЫЙ СВЕРХПРОВОДНИКОВЫЙ ЭКРАН И СПОСОБ ЕГО ОХЛАЖДЕНИЯ
(57) Реферат:
Изобретение относится к области криоэлектроники и может быть использовано для получения объемов повышенной магнитной чистоты. Техническим результатом изобретения является повышение качества магнитного экрана, коэффициента его ослабления, за счет уменьшения остаточных магнитных полей. Этот результат обеспечивается за счет того, что дно экрана выполняется в виде полого конуса с углом при вершине менее 90°. При этом экран с нагревателем опускают в хладагент, выдерживают до полного охлаждения, затем нагревают до перехода в нормальное состояние Т=Тс+3…5К, где Тc – температура перехода материала экрана из сверхпроводящего состояния в нормальное, после чего нагреватель удаляют из экрана со скоростью, равной скорости температурного фронта охлаждения материала экрана. 2 н.п. ф-лы, 6 ил. 
Изобретение относится к криоэлектронике и может быть использовано для получения объемов повышенной магнитной чистоты.
Известны магнитные экраны из ферромагнитных материалов, представляющие собой оболочки в виде сфер, цилиндров и т.д. [1, с.61]. Такие экраны имеют большие остаточные поля, температурную и временную нестабильность.
Наиболее близким техническим решением является магнитный сверхпроводниковый экран в форме цилиндрического стакана с дном сферической формы. Такой экран охлаждают, равномерно и направленно переводя в сверхпроводящее состояние, начиная от центра дна; опускают его в хладагент так, чтобы градиент температуры был достаточно высоким [1, с.75-77]. Теплопроводность стенок экрана не позволяет получить необходимый градиент температуры; ограниченность кривизны сферического дна и кипение хладагента приводит к обширному асимметричному (не точечному) контакту дна с хладагентом, что вызывает неравномерный, несимметричный переход стенок экрана в сверхпроводящее (СП) состояние, замораживание магнитного потока в полости экрана, то есть снижение коэффициента ослабления. Кроме того, этот способ охлаждения требует прецизионной механики для медленного равномерного и направленного опускания экрана в хладагент.
Техническим результатом изобретения является повышение качества магнитного экрана, коэффициента его ослабления, за счет уменьшения остаточных («вмороженных») магнитных полей.
Технический результат достигается тем, что при переводе в сверхпроводящее состояние уменьшают температурные неоднородности в стенках экрана, возникающие при его погружении в хладагент вследствие большой разности температур хладагента и экрана (кипение) и теплопроводности, а также ограничивая скорость охлаждения до скорости перемещения температурного фронта. Экран с нагревателем помещают в хладагент и выдерживают до полного охлаждения. Затем нагревают экран до его перехода в нормальное состояние. В этом случае разность температур экрана и хладагента оказывается много меньше, чем при погружении экрана комнатной температуры, кипение хладагента минимальное, температурное поле более однородно. Затем нагреватель вынимают из экрана так, что скорость охлаждения (температурного фронта) определена не теплофизическими параметрами материала экрана, а скоростью удаления нагревателя. В этом случае неоднородности в стенках экрана не искажают температурный фронт – кольцо, перпендикулярное оси экрана. В этом кольце возникает экранирующий сверхпроводящий ток, который постоянно, упорядоченно продвигаясь, заполняет всю поверхность экрана, последовательно выталкивая магнитное поле, повышается коэффициент ослабления К экрана, связанный с выталкиванием магнитного поля из полости экрана при его переходе в сверхпроводящее состояние и захватом части магнитного потока в виде замороженных магнитных полей в полости экрана. Коэффициент ослабления равен отношению напряженности постоянного внешнего поля Не к напряженности постоянного остаточного поля Ht, измеренной в центре экранируемого объекта [1, с.62-63]:

Указанный технический результат достигается также тем, что в известном экране дно выполняется в виде полого конуса, чтобы фиксировать и минимизировать начальную область контакта экрана с хладагентом, то есть область возникновения сверхпроводящего тока. В этом случае сверхпроводящий ток образуется на вершине конуса, и в тем меньшей области, чем меньше угол при вершине конуса. Предельным можно считать угол 90°, когда кривизна центра конического дна экрана приближается к кривизне конического дна. Именно такая конструкция экрана позволяет эффективно реализовать описанный способ охлаждения. Это позволяет сделать вывод, что технические решения связаны между собой единым изобретательским замыслом.
Сопоставительный анализ признаков, изложенных в технических решениях, с признаками прототипов показывает, что заявленный экран отличается от прототипа формой дна в виде полого конуса с углом при вершине менее 90°, а способ охлаждения экрана отличается тем, что после погружения экрана и нагревателя в хладагент и температурной релаксации экран нагревают до его перехода в нормальное состояние (Т=Тс+3…5К), где Тс – температура перехода материала экрана из сверхпроводящего состояния в нормальное, а затем нагреватель вынимают так, чтобы скорость вынимания нагревателя равнялась скорости температурного фронта. Все это говорит о соответствии технических решений критерию «новизна».
Сравнение заявленных технических решений с другими в данной области техники показало, что экран с дном в виде полого конуса с углом менее 90°, охлаждаемый путем погружения в хладагент, тепловой релаксации с последующим нагревом до температуры Тс+3…5К и удалением нагревателя со скоростью, равной скорости температурного фронта охлаждения, неизвестен. Кроме того, совокупность существенных признаков вместе с ограничительными позволяет обнаружить у заявляемых решений иные, в отличие от известных, свойства, к числу которых можно отнести следующие:
– обеспечение повышенного коэффициента ослабления;
– обеспечение более высокой однородности остаточного магнитного поля;
– возможность использования экрана с теплофизическими неоднородностями стенок;
– нет необходимости в прецизионной механике для погружения экрана.
Таким образом, иные, в отличие от известных, свойства, присущие предложенным техническим решениям, доказывают наличие существенных отличий, направленных на достижение технического результата.
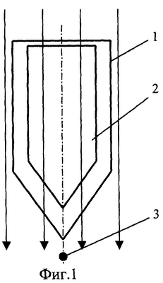
На фиг.1 представлена схема экрана с нагревателем внутри в хладагенте (условно не показан) в магнитном поле, параллельном оси, на фиг.2 – та же схема с полем, перпендикулярным оси экрана. На фиг.3, 4 представлен экран в стадии извлечения нагревателя в параллельном и перпендикулярном оси магнитном поле, на фиг.5 и 6 представлена схема экрана и магнитного поля после извлечения экрана.
Магнитный сверхпроводниковый экран может иметь тонко-, толстопленочные или объемные стенки. В данном случае был изготовлен толстопленочный экран 1 из порошка высокотемпературного сверхпроводника YBa2Cu3O7 по толстопленочной технологии. В качестве подложки использовался стакан с дном цилиндрической формы из керамики MgO: длина 100 мм, диаметр 40 мм, толщина стенок 3 мм, угол при вершине конуса 45°. Подложку изготавливали по типовой керамической технологии: гидростатическое прессование 5 МПа и обжиг в печи (Т=1500°С). Пасту готовили из порошка Y123 и органической связки, далее подвергали термообработке (Тmax=950°С). Нагреватель 2 – медный стержень с нихромовой катушкой (условно не показана, находится вне экрана). Экран с нагревателем погружают в хладагент – жидкий азот (Т 77K). После температурной релаксации экрана его нагревают до температуры 95К (температура перехода Y123 – Тс=92К). Температуру контролировали с помощью термопары 3 (фиг.1). Скорость удаления нагревателя выбирается такой, чтобы температурный фронт охлаждения представлял собой кольцо, перпендикулярное оси экрана, и не возникали температурные неоднородности, приводящие к замораживанию магнитного поля. Эту задачу можно решать эмпирически [1, с.77] или аналитически. Здесь было использовано выражение [2, с.334], связывающее температуропроводность материала экрана , расстояние до точки максимальной температуры xm и время достижения такой температуры tm:

Для материала Y123 скорость движения нагревателя составила 8×10– 3м/с. С такой скоростью нагреватель был выведен из экрана. В процессе вывода нагревателя нижняя область (фиг.3, 4) конического дна переходила в сверхпроводящее состояние, где образовывались сверхпроводящие экранирующие токи 4. После полного вывода нагревателя в сверхпроводящем состоянии оказывался весь экран (фиг.5, 6). Измерение коэффициента ослабления экрана показало, что коэффициент для данного примера составил 5×103, что существенно больше, чем для аналогичного экрана со сферическим дном при обычном способе охлаждения (К=300).
Использование предложенного экрана и способа его охлаждения позволяет повысить качество экрана, в частности коэффициент ослабления поля.
Источники информации
1. Бондаренко С.И., Шеремет В.И. Применение сверхпроводимости в магнитных измерениях – Л.: Энергоатомиздат, 1982. – 132 с.
2. Лыков А.В. Теория теплопроводности. – М.: Госиздательство технико-теоретической литературы, 1952. – 392 с.
Формула изобретения
1. Магнитный сверхпроводниковый экран, имеющий форму цилиндрического стакана с дном, отличающийся тем, что дно стакана имеет форму полого конуса с углом при вершине менее 90°.
2. Способ охлаждения магнитного сверхпроводникового экрана, при котором экран погружают в хладагент, отличающийся тем, что перед погружением в экран помещают нагреватель и после температурной релаксации нагревают экран до перехода в нормальное состояние, такое, что Т=Тс+3…5К, где Тc – температура перехода материала экрана из сверхпроводящего состояния в нормальное, после чего нагреватель удаляют со скоростью, равной скорости температурного фронта охлаждения материала экрана.
РИСУНКИ
MM4A – Досрочное прекращение действия патента СССР или патента Российской Федерации на изобретение из-за неуплаты в установленный срок пошлины за поддержание патента в силе
Дата прекращения действия патента: 24.06.2006
Извещение опубликовано: 27.01.2008 БИ: 03/2008
|
|