|
|
(21), (22) Заявка: 2004120775/09, 12.12.2002
(24) Дата начала отсчета срока действия патента:
12.12.2002
(30) Конвенционный приоритет:
14.12.2001 NO 20016100
(43) Дата публикации заявки: 27.10.2005
(45) Опубликовано: 10.03.2006
(56) Список документов, цитированных в отчете о поиске:
US 6128214 A, 03.10.2000. RU 2143752 C1, 27.12.1999. EP 1045435 A2, 18.10.2000. RU 2127005 C1, 27.02.1999.
(85) Дата перевода заявки PCT на национальную фазу:
14.07.2004
(86) Заявка PCT:
NO 02/00476 (12.12.2002)
(87) Публикация PCT:
WO 03/052762 (26.06.2003)
Адрес для переписки:
191186, Санкт-Петербург, а/я 230, “АРС-ПАТЕНТ”, пат.пов. В.М.Рыбакову, рег. № 90
|
(72) Автор(ы):
ГУДЕСЕН Ханс Гуде (BE), НОРДАЛ Пер-Эрик (NO)
(73) Патентообладатель(и):
ТИН ФИЛМ ЭЛЕКТРОНИКС АСА (NO)
|
(54) СПОСОБ НЕРАЗРУШАЮЩЕГО ХРАНЕНИЯ И ИЗВЛЕЧЕНИЯ ДАННЫХ И УСТРОЙСТВО ДЛЯ ОСУЩЕСТВЛЕНИЯ ДАННОГО СПОСОБА
(57) Реферат:
Изобретение относится к устройству хранения данных, к способу осуществления бездеструктивного считывания данных и способу придания поляризации парам субъячеек памяти. Техническим результатом является сокращение времени для получения доступа к устройству хранения данных, отсутствие влияния пьезоэлектрической активации ячеек памяти конкретной запоминающей матрицы на другие запоминающие матрицы, входящие в состав пакета, улучшение соотношение сигнал/шум. Устройство содержит совокупность ячеек памяти, первый и второй наборы электродов, причем электроды второго набора ориентированы ортогонально электродам первого набора и выполнены в виде параллельных сдвоенных электродов, расположенных во взаимно параллельных углублениях, или выемках, выполненных в электродах первого набора, при этом в выемке между электродами первого набора и параллельными сдвоенными электродами второго набора, по обе стороны от этих сдвоенных электродов, формируются ячейки памяти с субъячейками. Способы описывают осуществление бездеструктивного считывания данных из указанного устройства и возможность придания поляризации парам субъячеек памяти. 3 н. и 18 з.п. ф-лы, 8 ил. 
Область техники, к которой относится изобретение
Настоящее изобретение относится к устройству хранения данных, снабженному средствами для запоминания и извлечения данных путем выполнения операций записи и считывания соответственно. Данные хранятся в энергонезависимом режиме в ферроэлектрических или электретных ячейках памяти в виде состояний поляризации этих ячеек. При этом совокупность ячеек памяти представляет собой массив с пассивной матричной адресацией, в котором индивидуальная адресация ячеек осуществляется через скрещенные электроды, входящие в состав первого и второго электродных наборов, каждый из которых содержит взаимно параллельные полосковые электроды. Электроды первого набора ориентированы ортогонально электродам второго набора. Изобретение относится также к способу осуществления бездеструктивного (неразрушающего) считывания из устройства по изобретению в соответствии с п.1 формулы изобретения, а также к способу придания поляризации парам субъячеек ячеек памяти для выполнения операций записи в устройстве хранения данных в соответствии с п.1 формулы изобретения.
Уровень техники
Запоминающие устройства, основанные на ферроэлектрическом или электретном полимерном материале, обладают многими достоинствами, в том числе малой площадью поперечного сечения, возможностью сборки большого количества запоминающих слоев в стопу, пригодностью для обработки по технологии “с катушки на катушку” с применением струйной печати, возможностью обработки при низких температурах и низкой стоимостью. В типичном случае данные считываются из памяти посредством так называемого деструктивного считывания, в процессе которого происходит изменение поляризации на обратную, что делает необходимым повторную запись информации в память для ее последующего использования. Данный режим деструктивного считывания является нежелательным для многих применений, например, потому, что происходит удвоение числа рабочих циклов, усиливающее усталостные явления. Данные явления могут представлять проблему, поскольку память на базе ферроэлектриков или электретов способна выдерживать только конечное количество циклов записи. Кроме того, необходимость двукратного переключения полимерной пленки означает рост энергопотребления, а также усложнение электрической схемы для придания ей способности осуществлять повторную запись.
Деструктивное считывание само по себе является довольно медленным процессом (занимающим обычно, в зависимости от приложенного поля, от сотен наносекунд до нескольких микросекунд). Это означает, что при использовании деструктивного считывания полимерная память является непригодной для ряда важных применений, таких как замена быстрой кэш-памяти на базе SRAM (Static Random Access Memory). Кроме того, по мере уменьшения ячеек памяти в размерах соответствующее уменьшение интенсивности сигнала может привести к трудностям при встраивании полимерной памяти в современные схемы или при использовании ее в сочетании с литографией сверхвысокой плотности (с шагом менее 0,15 мкм).
Хорошо известно, что многие известные ферроэлектрические и электретные материалы, включая хорошо изученные полимер поливинилидендифторид (ПВДФ) и сополимер поли(винилидендифторид-трифторэтилен) (П(ВДФ-ТрФЭ)) обладают пьезоэлектрическими свойствами. В этой связи может быть дана ссылка на монографию Sessler and Gerhard-Multhaupt (editors). Electrets, Vol.1, 2, Chapters 5, 8, 11 and 12 (3 rd ed.), Laplacian Press, (1998).
В европейской патентной заявке ЕР 0166938 А2 описан способ записи и считывания (в сочетании с устройством хранения данных, основанным на запоминающем слое ферроэлектрического полимера), направленный на повышение плотности записи и сокращение времени доступа. С этой целью данные хранятся в ячейках памяти, образованных единственным доменом в полимерном запоминающем материале устройства. Подобные домены кодируются путем придания им посредством приложения электрического поля постоянной поляризации. При этом значение кода задается направлением приложенного поля, т.е. наличием положительной или отрицательной поляризации в запоминающем слое. В указанной заявке описано также использование пироэлектрической или пьезоэлектрической активации поляризованных доменов. Предлагается осуществлять подобную активацию с помощью соответствующих электродных средств, взаимодействующих с массивом ячеек памяти с матричной адресацией, построенным на основе ферроэлектрического запоминающего материала, например поли(винилидендифторида-трифторэтилена) (П(ВДФ-ТрФЭ)). При этом активация ячейки памяти должна производиться пироэлектрическим или пьезоэлектрическим путем, соответственно при подаче нагревающего токового импульса или при приложении усилия сжатия или растяжения.
В случае применения матричной адресации способы записи и считывания, предложенные в документе ЕР 0168938, обеспечивают также возможность записи/считывания в параллельном режиме.
Указывается на достижимость плотности хранения данных, соответствующей 108 бит/см2. Отмечается также, что время доступа при пироэлектрическом считывании должно составлять порядка 10-9 с. Не приводится никаких сведений о достижимом времени доступа при считывании, основанном на пьезоэлектрических эффектах.
Кроме того, в данной заявке не содержится никаких сведений о характеристиках (таких как скорость доступа, применимые уровни напряжения, частоты, надежность детектирования сигналов и нечувствительность к шумам), достижимых в диапазоне малых сигналов. Однако, поскольку предусматривается, что способы бездеструктивного считывания из памяти, основанной на ферроэлектрических полимерах, могут применяться в диапазоне слабых сигналов, такие характеристики, как отношение сигнал/шум или уровни обнаружения сигнала, должны рассматриваться как особо важные.
Раскрытие изобретения
Соответственно главная задача, на решение которой направлено настоящее изобретение, состоит в том, чтобы разработать устройство хранения данных, обеспечивающее бездеструктивное считывание на основе пьезоэлектрических эффектов, которые могут быть созданы в ферроэлектрическом или электретном запоминающем материале.
Еще одной важной задачей, решаемой настоящим изобретением, является разработка очень быстрого способа бездеструктивного считывания, основанного на пьезоэлектрических эффектах и обеспечивающего значительное повышение отношения сигнал/шум по сравнению с известными способами.
Решение перечисленных задач, а также другие преимущества и свойства достигнуты созданием устройства хранения данных согласно настоящему изобретению. Данное устройство характеризуется тем, что в первом наборе электродов выполнено множество параллельных выемок, ориентированных в горизонтальной плоскости ортогонально указанным электродам и отходящих в вертикальной плоскости вниз от верхней поверхности первого набора электродов на глубину, меньшую чем толщина электродов. В выемки, имеющие, по существу, прямоугольный профиль, введен, по меньшей мере, ферроэлектрический или электретный материал, покрывающий их боковые стенки. Второй набор электродов выполнен в виде набора сдвоенных электродов, расположенных внутри выемок параллельно им при отсутствии контакта с электродами первого набора.
При этом ферроэлектрический или электретный материал, занимающий, по меньшей мере, часть объема выемок, свободного от электродов, является мягким или упругим ферроэлектрическим или электретным материалом. Данный материал обладает пьезоэлектрическими свойствами, а также обеспечивает электрическую изоляцию между электродами второго набора и электродами первого набора. В результате сдвоенные электроды второго набора при приложении к ним соответствующего усилия могут смещаться в поперечном направлении внутри ферроэлектрического или электретного материала, обладающего пьезоэлектрическими свойствами, с созданием в указанном пьезоэлектрическом материале пьезоэлектрического эффекта. Мягкий ферроэлектрический или электретный материал с пьезоэлектрическими свойствами образует при этом в объемах между сдвоенными электродами второго набора электродов и электродами первого набора электродов внутри выемок субъячейки ячеек памяти. Субъячейки способны поляризоваться для осуществления операции записи при приложении электрического поля между соответствующими сдвоенными электродами и пересекающими их электродами первого набора электродов. Как следствие, ячейки памяти поляризуются для хранения, по меньшей мере, одного из двух или большего числа логических значений в форме набора состояний поляризации в указанных субъячейках.
Ячейки памяти обеспечивают также возможность бездеструктивного считывания путем приложения электрического потенциала между сдвоенными электродами и/или между, по меньшей мере, одним из сдвоенных электродов и, по меньшей мере, одним из электродов первого набора, примыкающих к считываемой субъячейке. Указанный потенциал воздействует на ферроэлектрический или электретный материал субъячеек, которые в результате подвергаются воздействию механических напряжений сжатия и/или растяжения, позволяющему осуществить детектирование параметров, зависящих от состояний поляризации субъячеек, по пьезоэлектрическому эффекту, возникающему в субъячейках как отклик на воздействие указанных механических напряжений. Тем самым обеспечивается возможность определить логическое состояние субъячеек ячейки памяти, т.е. логическое значение (логические значения), хранящееся (хранящиеся) в ячейке памяти, содержащей указанные субъячейки.
Решение перечисленных задач, а также другие преимущества и свойства достигнуты также созданием способа, который характеризуется тем, что считывание осуществляют путем приложения усилия растяжения и/или сжатия к субъячейкам ячеек памяти, выбранных для осуществления считывания, при одновременном детектировании фазы и/или полярности, и/или уровня напряжения или тока, сгенерированного пьезоэлектрическим образом в ячейках в качестве отклика на механические напряжения, обусловленные приложением указанного усилия растяжения и/или сжатия.
И, наконец, решение перечисленных задач, а также другие преимущества и свойства достигнуты и созданием способа придания поляризации парам пьезоэлектрических субъячеек ячеек памяти для выполнения операций записи/считывания в устройстве хранения данных в соответствии с изобретением. Согласно данному способу каждую субъячейку из пары субъячеек поляризуют в одном из двух направлений, ортогональных по отношению к сдвоенным электродам, противолежащим каждой субъячейке указанной пары, с обеспечением возможности реализации в субъячейках, образующих указанную пару, любой из четырех возможных комбинаций направлений поляризации.
Дальнейшие особенности и преимущества настоящего изобретения станут ясны из дополнительных пунктов формулы изобретения.
Краткое описание чертежей
Настоящее изобретение далее будет описано более подробно на примерах различных предпочтительных вариантов своего осуществления и со ссылкой на прилагаемые чертежи.
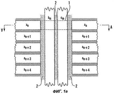
На фиг.1а и 1b представлена соответственно на виде сверху и в сечении плоскостью А-А часть массива ячеек памяти, соответствующих первому варианту осуществления изобретения.
На фиг.2а, 2b аналогичным образом схематично представлена модификация варианта по фиг.1а, 1b.
Фиг.3 схематично изображает на виде сверху пассивный матричный массив, выполненный в соответствии с вариантом, показанным на фиг.1а, 1b.
На фиг.4a-4d представлены отдельные шаги последовательности, соответствующей осуществлению поляризации в составе операции записи применительно к части запоминающего массива в устройстве согласно изобретению.
На фиг.5а, 5с и 5b, 5d соответственно на виде сверху и в сечении плоскостью А-А схематично иллюстрируется принцип осуществления считывания в устройстве по настоящему изобретению посредством способа по настоящему изобретению.
На фиг.6а и 6b представлена соответственно на виде сверху и в сечении плоскостью А-А часть второго предпочтительного варианта осуществления устройства по настоящему изобретению.
На фиг.7a-7d иллюстрируется операция записи применительно к варианту устройства по фиг.6а, 6b, причем на фиг.7а, 7с представлен вид сверху, а на фиг.7b, 7d – соответствующие матричные массивы.
На фиг.8а, 8с и 8b, 8d соответственно на виде сверху и в сечении плоскостью А-А схематично иллюстрируется принцип осуществления считывания в варианте устройства по фиг.6а, 6b с использованием последовательности шагов, проиллюстрированной на фиг.7a-7d.
Осуществление изобретения
Далее будут кратко рассмотрены общие предпосылки для создания настоящего изобретения, после чего будут более подробно описаны различные предпочтительные варианты устройства и способа в соответствии с изобретением.
В своей основе настоящее изобретение обеспечивает возможность бездеструктивного считывания содержимого из ферроэлектрических или электретных ячеек памяти за счет использования пьезоэлектрического эффекта в ферроэлектрических или электретных материалах для оказания активного физического воздействия на индивидуальные ячейки и детектирования отклика от этих ячеек в форме напряжения, обусловленного поляризацией (т.е. логическим состоянием).
Будут описаны базовые варианты архитектуры устройства по изобретению, обеспечивающие возможность плотного расположения пьезоэлектрического драйверного (активирующего) блока и ячеек памяти в массиве с матричной адресацией.
Данные варианты предусматривают поляризацию ферроэлектрического или электретного материала в поперечном направлении, т.е. параллельно несущей подложке, и используют комбинацию совместимых микромеханических структур, резонансных или нерезонансных.
Далее будут описаны различные предпочтительные варианты осуществления изобретения. Должно быть понятно, что графические материалы иллюстрируют только принципы построения структурных частей устройства по изобретению, а также общие принципы, лежащие в основе способа по изобретению. Для облегчения понимания запоминающий материал в дальнейшем будет именоваться ферроэлектрическим, хотя он может представлять собой и электретный материал (в действительности ферроэлектрические материалы могут рассматриваться как подкласс электретных материалов).
На фиг.1а на виде сверху представлена часть массива ячеек памяти в соответствии с одним из предпочтительных вариантов изобретения. На фиг.1b эта же часть изображена в сечении плоскостью А-А. Расположение отдельной ячейки 1 памяти обозначено штриховой линией. Набор электродов an, an+1, an+2, … пересекает двойной набор электродов bm и сm, которые внедрены внутрь изолирующего, механически мягкого и упругого материала 2, заполняющего выемку 3, сформированную в электродах an, как это лучше всего видно на фиг.1b. Материал 2, находящийся в выемке 3, предпочтительно является ферроэлектрическим полимером, который может быть поляризован в электрическом поле, более интенсивном, чем его собственное коэрцитивное поле. Будучи поляризованным, ферроэлектрический полимер сохраняет свою поляризацию, направление и степень которой представляют логическое значение в энергонезависимом массиве ячеек памяти, сформированном с помощью матрицы пересекающихся, внедренных в материал электродов, как это показано на фиг.1а. Каждое пересечение между электродом an и парой электродов bm и сm задает три субъячейки ячейки 1 памяти, обладающие пьезоэлектрической активностью. На фиг.1b эти субъячейки обозначены как n1, n2 и n. Субъячейки n1 и n2 соответствуют объему ферроэлектрического полимера, подвергающемуся воздействию сильных электрических полей при приложении напряжения между общим электродом an и электродами bm и cm соответственно.
Хотя эти субъячейки являются малыми, субъячейка n соответствует объему, который вытянут в продольном направлении между электродами bm и cm и который подвергается воздействию сильного электрического поля при приложении напряжения между этими электродами. Поляризация сообщает ферроэлектрическому полимеру пьезоэлектрическую реакцию, которая в конфигурации, показанной на фиг.1а, 1b, заставляет сдвоенные электроды bm и cm смещаться в поперечном направлении внутри выемки 3 (т.е. в направлении электрода an). Конкретное направление и величина данного перемещения зависят от направления поляризации в ферроэлектрическом материале 2 и от направления и напряженности электрического поля в субъячейках n1, n2 и n.
На фиг.2а на виде сверху представлена модификация базовой конструкции, изображенной на фиг.1а, 1b. В этой модификации дно выемки 3 заполнено несущим материалом, отличным от ферроэлектрического материала 2, который находится внутри субъячеек n1, n2 и n. Это хорошо видно на фиг.2b, которая соответствует сечению данной модификации плоскостью А-А, показанной на фиг.2а. Как и раньше, ячейка 1 памяти выделена штриховой линией. За счет соответствующего выбора несущего материала, находящегося на дне выемки 3, механическая реакция электродов bm и сm может быть оптимизирована для конкретных применений. При этом не требуется, чтобы данный материал был ферроэлектриком или пьезоэлектриком, причем он может выбираться из широкого класса материалов. Так, например, он может быть мягким и упругим и тем самым лишь в малой степени ограничивать поперечное смещение электродов bm и сm. В некоторых случаях его способность рассеивать механическую энергию может быть выбрана таким образом, чтобы он оказывал влияние на характеристики механического движения электродов bm и сm. В качестве примера эти свойства несущего материала могут быть настроены таким образом, чтобы получить желаемое значение Q механического смещения при резонансном возбуждении субъячеек n1, n2 и n. Для того чтобы получить конкретные желаемые механические характеристики, слой материала 4 на дне выемки может быть или не быть прикрепленным к расположенному над ним ферроэлектрическому материалу 2 субъячеек n1, n2 и n и/или к электродам bm и cm.
На фиг.3 схематично представлен пассивный матричный массив, выполненный в соответствии с предпочтительным вариантом настоящего изобретения. Приводится только расположение электродов. Ячейка 1 памяти, соответствующая одной из ячеек, показанных на фиг.1b и 2b, выделена штриховой линией. Схема адресации, представленная на фиг.3, отличается от традиционных схем с пассивной матричной адресацией тем, что вертикально расположенные на фиг.3 электроды теперь представляют собой сдвоенные электроды bm и cm (1 m М), где М – это количество ячеек 1 памяти вдоль каждого горизонтального электрода an. При этом 1 n N, где N – это количество ячеек 1 памяти вдоль вертикальных сдвоенных электродов bm, cm.
Должно быть понятно, что данные могут быть записаны в М×N точках матрицы, соответствующих пересечениям указанных электродов, путем придания соответствующей поляризации ферроэлектрическому материалу 2 в ячейках памяти, задаваемых каждой точкой пересечения.
Согласно настоящему изобретению субъячейки ячейки 1 памяти, хранящие данные, – это ячейки типа ячеек n1, n2, тогда как макроскопические субъячейки n используются для считывания хранящихся данных (как это будет описано далее). Как можно видеть из фиг.1b и 2b, каждая из субъячеек n1, n2 может быть поляризована таким образом, что направление поляризации ориентировано либо от боковой стенки выемки 3 в сторону одного из сдвоенных электродов bm и сm, либо в противоположном направлении. В этом случае в принципе обеспечиваются четыре различных комбинации поляризаций, а также возможность перестановок направлений поляризации в субъячейках n1, n2. Однако по опыту работы с известными матрицами, в которых адресация как в горизонтальном, так и в вертикальном направлениях производится через единичные электроды, хорошо известно, что в случае, когда матричная адресация используется для осуществления поляризации ферроэлектрика в точках матрицы, соответствующих пересечению (скрещиванию) электродов, напряжения, которые прикладываются к скрещивающимся электродам при осуществлении поляризации (т.е. при записи), должны подбираться с осторожностью.
Это необходимо для того, чтобы избежать создания помех в невыбранных ячейках, расположенных в других точках пересечения электродов в матрице. В этой связи может быть приведена ссылка на норвежскую патентную заявку №20003508 (соответствующую международной заявке WO 02/205287) и на приводимые в ней ссылки. Более детальное изучение данного вопроса показывает, что помехи на не адресуемых ячейках могут быть минимизированы за счет координированной подачи напряжения на все электроды матрицы. Одно из решений данной проблемы, которое иллюстрируется фиг.3, состоит в том, что к невыбранным ячейкам прикладывают напряжение, не превышающее 1/3 напряжения Vp, используемого для осуществления поляризации выбранных ячеек во время цикла записи.
На фиг.4a-4d показаны первые шаги последовательности действий при осуществлении поляризации, что соответствует операциям активации и записи применительно к части запоминающей матрицы, содержащей 5 ячеек 1 памяти. Каждая из этих ячеек занимает положение, соответствующее положению аналогичной ячейки на фиг.1а и 2а. Сначала производится поляризация субъячейки n с целью подготовки ее к выполнению функции драйверной ячейки во время последующей операции считывания данных (как это описано далее). На фиг.4а показано, что данный шаг выполняется приложением напряжения Vp между электродами bm и cm. Значение этого напряжения выбирают таким образом, чтобы создать в ферроэлектрике электрическое поле, превосходящее его коэрцитивное поле. В результате ферроэлектрик поляризуется в направлении, обозначенном стрелками на фиг.4а. Как показано, ко всем электродам an, пересекающим названные электроды, приложено напряжение Vp/2, которое не создает никакого поляризационного отклика или только слабый поляризационный отклик во всех субъячейках в связи со значительной нелинейностью гистерезисной характеристики ферроэлектрика. Значение данного напряжения может быть выбрано другим или же электроды an могут быть отключены от источника напряжения.
На фиг.4b показано, как осуществляется поляризация субъячеек n1, n2 для электрода an при выполнении операции записи с целью закодировать состояние поляризации, которое в данном конкретном случае принимается представляющим 1 бит информации, т.е. логическую единицу. Как можно видеть, приложенные напряжения приводят к тому, что поляризация направлена симметрично от сдвоенных электродов наружу, т.е. в направлении боковых стенок выемки 3. В то же время значения напряжения на всех других субъячейках , расположенных вдоль сдвоенных электродов, остается ниже уровня Vp/3, т.е. ниже порога переключения поляризации.
Фиг.4с иллюстрирует кодирование логического нуля на электроде an+1. Как можно видеть, поляризация в субъячейках n1, n2 для электрода an+1 имеет обратное направление по сравнению с ее направлением для электрода an. Локальный набор напряжений, приложенных к электродам матрицы, в этом случае показан на фиг.4с, тогда как набор для полной матрицы совпадает с показанным на фиг.3. Значения в скобках на фиг.3 соответствуют набору напряжений, которые были бы использованы для записи бита, означающего логическую единицу, в ячейку 1 памяти, заданную электродами an+1, (bm, сm) и отмеченную кружком, выполненным штриховыми линиями. Фиг.4d иллюстрирует следующий шаг записи в матрицу. При этом можно отметить, что в данном случае не используется мультибитовое кодирование, которое в принципе возможно путем изменения направлений поляризации в субъячейках n1, n2, как это было описано выше. Более детальное рассмотрение показывает, что для этого необходимо, чтобы напряжения между электродами bm и сm превышали Vp/3, как это показано на фиг.3. В этой связи можно, однако, отметить обсуждение другого предпочтительного варианта, приводимое далее.
На фиг.5a-5d показано, как может осуществляться считывание данных из матрицы. При этом на фиг.5а и 5с приведен вид запоминающей матрицы сверху в два различных момента времени, тогда как на фиг.5b и 5d представлены соответствующие сечения матрицы плоскостью А-А. Примерное положение ячейки 1 памяти, как и раньше, отмечено штриховыми линиями. Сдвоенные электроды bm и сm выполняют функцию блока возбуждения, с помощью которого субъячейки n1, n2 для всех электродов, расположенных по длине этих сдвоенных электродов, подвергаются сжатию/растяжению вдоль направления поляризации ферроэлектрического материала. Как хорошо известно из литературы, от субъячеек n1, n2 может быть получен пьезоэлектрический отклик с полярностью, зависящей от напряжения поляризации ячеек. На фиг.5а и 5 с показаны положения электродов в моменты, соответствующие двум предельным точкам вибрационного цикла. На фиг.5а сдвоенные электроды bm и сm удалены друг от друга, а все субъячейки n1, n2, расположенные по длине этих электродов, подвергаются сжатию в поперечном направлении.
Фиг.5b соответствует более позднему моменту времени, к которому сдвоенные электроды bm и сm сместились с уменьшением зазора между ними, растягивая тем самым субъячейки n1, n2, расположенные с противоположных сторон этих электродов. За счет пьезоэлектрического эффекта, действующего между субъячейками n1 и n2 и для каждого электрода an…, между каждым электродом an… и соответствующей точкой сравнения (например, средним потенциалом или медианой потенциала между электродами bm и сm) генерируется напряжение. Фаза и мгновенное значение полярности таких напряжений могут быть однозначным образом привязаны к логическому состоянию каждой ячейки 1 памяти, задаваемой точкой пересечения между электродом an… и сдвоенными электродами bm, сm. На этой базовой схеме генерации вибраций могут быть основаны несколько различных схем считывания, которые будут описаны далее.
Пример 1. Резонансное возбуждение
Вибрационное движение, проиллюстрированное фиг.5a-5d, может быть осуществлено в режиме резонансного возбуждения с учетом используемых материалов, размеров и выбранной геометрии. Нетрудно убедиться, что при соответствующем выборе материала собственные частоты колебаний для показанных на фиг.5a-5d структур, в которых поперечные размеры ячеек лежат в диапазоне микрометров, могут быть весьма велики, т.е. составлять от сотен килогерц до сотен мегагерц. В зависимости от достигаемого значения Q, считывание может производиться при возбуждении низким напряжением, подаваемым на электроды bm, сm, т.е. при низком уровне наводок и перекрестных помех в считываемых сигналах. В заключение можно отметить, что схема, приведенная на фиг.5a-5d, обеспечивает возможность параллельного считывания в широких масштабах и соответственно высоких скоростей вывода данных.
Пример 2. Детектирование затухания
При условии достижения достаточно высокого значения Q, вибрации будут иметь место в течение некоторого времени после прекращения электрического возбуждения, подаваемого на сдвоенные электроды bm, cm. Это позволяет производить считывание при отсутствии мешающего влияния напряжений возбуждения.
Пример 3. Импульсное детектирование
Вместо того чтобы подавать возбуждение на электроды bm, сm в виде синусоидального или какого-либо иного периодического напряжения, по аналогии с пьезоэлектрическими искровыми генераторами может быть использован единственный прямоугольный импульс или дельта-импульс, обеспечивающий сжатие или растяжение субъячеек n1, n2. Такой подход обеспечивает быстрый режим считывания, поскольку длительность переходного процесса для звуковой волны сжатия, проходящей по субъячейкам n1, n2, для типичных запоминающих структур лежит в субнаносекундном диапазоне.
На фиг.6а и 6b показана соответственно на виде сверху и в сечении плоскостью А-А структура запоминающего устройства, которая во многих отношениях аналогична структурам по фиг.1а-1b и 2а-2b, но в которой возбуждение сдвоенных электродов bm, сm во время считывания данных осуществляется иным образом. Как следствие, между этими структурами имеются и определенные физические различия, а также различия в кодировании (записи) и считывании данных. Объем зазора (субъячейки) n между сдвоенными электродами bm и сm теперь заполнен материалом, который помимо того, что он является электрически изолирующим и не имеющим пьезоэлектрических свойств, обладает хорошим сцеплением с обоими сдвоенными электродами и, следовательно, удерживает их на постоянном расстоянии друг от друга. Поляризация субъячеек n1, n2 ячейки 1 памяти у каждого электрода an, an+1, аn+2 … производится так, как это показано на фиг.7a-7d, аналогично протоколам скоординированной подачи напряжения, упоминавшимся ранее со ссылками на фиг.7a-7d при описании фиг.3 и 4.
На фиг.7a-7d показано, как можно поляризовать субъячейки n1, n2 ячейки 1 при взаимно противоположных направлениях поляризации по отношению к противолежащему электроду пары сдвоенных электродов. Фиг.7а (на виде сверху) и фиг.7b (на примере матричного массива) иллюстрируют придание поляризации субъячейке n1 ячейки 1 памяти, отмеченной штриховыми линиями; аналогично, фиг.7 с и 7d иллюстрируют придание поляризации субъячейке n2 в той же схеме. Поскольку в данном случае отсутствует опасность придания поляризации также ферроэлектрическому материалу в ячейке n, становится возможным осуществить данную операцию даже в пассивной матрице, не подвергая при этом невыбранные субъячейки воздействию мешающих напряжений, превышающих Vp/3. Таким образом, обеспечивается возможность реализовать все четыре альтернативных комбинации (перестановки) направлений поляризации в двух субъячейках n1, n2.
На фиг.8a-8d иллюстрируется считывание данных из ячейки 1 памяти в устройстве, показанном на фиг.6 и 7. На фиг.8а и 8с показана часть устройства по изобретению на виде сверху, тогда как на фиг.8b и 8d эта же часть представлена в сечении плоскостью А-А. Как и ранее, ячейка 1 памяти, содержащая субъячейки n1,… n, выделена штриховыми линиями. Как видно из чертежей, субъячейки n– n+5, примыкающие к электродам аn-аn+5, поляризованы таким образом, что когда к этим электродам, а также к сдвоенным электродам bm, сm подается напряжение, на сдвоенные электроды bm, сm действует равнодействующая сила, которая стремится сместить их в ту или другую сторону. При приложении синусоидального напряжения сдвоенные электроды bm, сm вибрируют в поперечном направлении, как одно целое. Это иллюстрируется фиг.8а, 8с, соответствующими различным моментам времени. Понятно, что количество и положение драйверных (активирующих) блоков, таких как находящиеся на электродах аn и an+5, может подбираться индивидуально в каждом конкретном случае таким образом, чтобы обеспечить адекватное суммарное возбуждение, не теряя при этом слишком большого объема для записи данных.
На фиг.8а ячейки 1 памяти на электродах an+2, an+3 и аn+4 закодированы такими данными, которые в изображенный момент в цикле возбуждения генерируют отклики, соответственно равные +V, -V и 0В. Эти напряжения генерируются пьезоэлектрически, причем к данному случаю полностью применимо обсуждение различных режимов возбуждения, приведенное выше при рассмотрении фиг.5. При этом можно отметить, что возможность мультибитового кодирования в рассматриваемом случае до некоторой степени компенсирует неудобство использования субъячеек n1, n2 для целей возбуждения.
На рассмотренных чертежах не показано, каким образом можно использовать слой изолирующего материала для герметизации и защиты ячеек памяти и вспомогательных контуров. На практике материал, расположенный поверх подвижных элементов устройства в целом, должен быть подобран и нанесен таким образом, чтобы избежать чрезмерного демпфирования или подавления перемещений. Кроме того, поверх изолирующего слоя может быть нанесен электропроводящий слой, обеспечивающий электрическое экранирование от шумов и наводок. В тех случаях, когда предпочтительным вариантом является сборка описанных структур в пакет поверх первого слоя, который был описан выше, может оказаться необходимым предусмотреть дополнительные операции, в частности планаризацию и нанесение дополнительных материалов между функциональными слоями пакета. Эта необходимость представляется очевидной для специалистов данной отрасли, и ее дальнейшее обсуждение будет опущено.
Как должно быть понятно из вышеизложенного, настоящее изобретение обеспечивает новые возможности для построения пьезоэлектрических микроструктур с высокой плотностью расположения, которые являются, по существу, планарными и допускают их сборку в пакеты. Микромеханическое движение имеет место в точно определенном объеме с применением прецизионно контролируемых материалов и размеров. Новая архитектура пассивной матрицы со сдвоенными электродами позволяет реализовать большое количество различных конструктивных вариантов ячеек памяти, а также записи данных в эти ячейки и извлечения этих данных с возможностью повторной записи в те же ячейки. Специалистам в данной области должны быть очевидны модификации и варианты технических решений, представленных как предпочтительные варианты изобретения, причем все подобные модификации и варианты охватываются прилагаемой формулой изобретения.
Настоящее изобретение обеспечивает создание массива ячеек памяти с пассивной матричной адресацией, многие аспекты которого уже известны из устройств, соответствующих уровню техники. Как и в этих решениях, слой запоминающего материала, например ферроэлектрического полимера, расположен между первым электродным слоем с параллельными полосковыми электродами и вторым слоем, также с параллельными полосковыми электродами, которые, однако, ориентированы перпендикулярно электродам первого слоя. Благодаря этому обеспечивается возможность уникальной адресации к любой ячейке памяти в данном массиве. В упомянутых известных устройствах может быть достигнута очень высокая плотность хранения данных, поскольку толщина устройства может составлять доли микрометра, а электроды выполнены с высокой плотностью расположения. При этом достижимый шаг расположения ячеек памяти приближается к ширине линии, т.е. к минимальному размеру, который может быть достигнут при предельном разрешении современных технологий фотолитографии и травления, применяемых при профилировании электродов. Запоминающий слой естественно наносится в виде цельного, не имеющего разрывов слоя, покрывающего всю поверхность устройства, причем он не требует какого-либо профилирования (нанесения рисунка). Из возможности получения ячеек памяти с размерами и шагом, приближающимися к минимальному размеру, достижимому с помощью современных методов микрофотолитографии и травления, вытекает возможность достижения плотности хранения данных порядка 25 бит/мкм2 или даже более при записи в ячейку одного бита.
Для того чтобы при осуществлении изобретения разместить в выемке 3 сдвоенные электроды b и с, профилирование которых осуществляется принятыми для этой цели методами, ширина этой выемки должна вдвое превышать минимальный размер, технологически достижимый при принятых правилах конструирования. Однако, как и в случае известных решений, электроды в устройстве по изобретению могут быть выполнены с использованием так называемой схемы с высокой плотностью расположения, описанной, например, в международной заявке PCT/NO 02/00414 (WO 03/041084), которая принадлежит заявителю настоящего изобретения. При этом расстояния между параллельными смежными выемками, которые ориентированы ортогонально по отношению к электродам а, могут на практике быть очень малыми, поскольку предусматривается, что выемки 3 также могут быть выполнены по схеме с высокой плотностью расположения. Тем не менее, подразумевается, что плотность хранения данных в устройстве по изобретению будет составлять менее половины плотности хранения, достижимой в известных запоминающих устройствах с высокой плотностью расположения электродов.
Однако при этом необходимо принять во внимание, что толщина запоминающей матрицы согласно изобретению будет равна толщине электродов а. Другими словами, все функциональные части устройства по изобретению заключены внутри электродного слоя, который образует электроды а, и в этом состоит одно из отличий настоящего изобретения от известных устройств, в которых, как уже упоминалось, запоминающая матрица состоит из трех наложенных друг на друга слоев. Это открывает возможность создания устройства по настоящему изобретению, обладающего повышенной объемной плотностью хранения данных по сравнению с известными трехмерными устройствами, за счет сборки матриц по настоящему изобретению в пакет, т.е. их установки одна на другую. Такое решение становится возможным благодаря тому, что смещения, или движения электродов b, с имеют место в поперечном (т.е. в горизонтальном направлении), так что векторы напряжений в слоях запоминающего материала имеют одинаковое направление. Таким образом, отсутствуют какие-либо вертикальные перемещения вверх или вниз; следовательно, отсутствует вредное влияние пьезоэлектрической активации какой-либо ячейки памяти конкретной запоминающей матрицы на другие запоминающие матрицы, входящие в состав пакета. При этом общая концепция сборки устройств в стопу хорошо известна из уровня техники, так что в ее дальнейшем обсуждении нет необходимости.
Кроме того, должно быть понятно, что настоящее изобретение обладает дополнительным достоинством, состоящим в том, что использование пьезоэлектрических свойств ферроэлектрического запоминающего материала должно обеспечить более короткое время доступа и существенно улучшенное отношение сигнал/шум по сравнению с известными ферроэлектрическими и электретными матричными запоминающими устройствами, основанными на ферроэлектрических или электретных полимерных материалах. Как уже было указано выше, подобные материалы, например поли(винилидендифторид-трифторэтилен) представляются наиболее предпочтительными. Однако настоящее изобретение не ограничивается использованием указанных материалов или сополимеров того же семейства. В качестве других возможных материалов, обладающих как ферроэлектрическими, так и пьезоэлектрическими свойствами, заявителем рассматриваются, в частности, найлоны с нечетными номерами марки (т.е. с нечетным количеством атомов углерода в основной цепи), сополимеры винилидена и цианида, полимочевина и полимеры, содержащие полинитридные или имидные группы.
Формула изобретения
1. Устройство хранения данных, снабженное средствами для запоминания и извлечения данных путем выполнения операций записи и считывания соответственно, данные в котором хранятся в энергонезависимом режиме в ферроэлектрических или электретных ячейках памяти в виде состояний поляризации этих ячеек, при этом совокупность ячеек памяти представляет собой массив с пассивной матричной адресацией, в котором индивидуальная адресация ячеек осуществляется через скрещенные электроды, входящие в состав первого и второго электродных наборов, каждый из которых содержит взаимно параллельные полосковые электроды, причем электроды первого набора ориентированы ортогонально электродам второго набора, отличающееся тем, что в первом наборе электродов (а) выполнено множество параллельных выемок (3), ориентированных в горизонтальной плоскости ортогонально указанным электродам (а), отходящих в вертикальной плоскости вниз от верхней поверхности первого набора электродов на глубину, меньшую, чем толщина электродов, и имеющих, по существу, прямоугольный профиль, причем в выемки (3) введен, по меньшей мере, ферроэлектрический или электретный материал, покрывающий их боковые стенки, а второй набор электродов выполнен в виде набора сдвоенных электродов (b, с), расположенных внутри выемок (3) параллельно им при отсутствии контакта с электродами (а) первого набора, при этом указанный ферроэлектрический или электретный материал (2), занимающий, по меньшей мере, часть объема выемок (3), свободного от электродов (b, с), является мягким или упругим ферроэлектрическим или электретным материалом, обладающим пьезоэлектрическими свойствами, а также обеспечивающим электрическую изоляцию между электродами (b, с) второго набора и электродами (а) первого набора, так что сдвоенные электроды (b, с) второго набора при приложении к ним соответствующего усилия могут смещаться в поперечном направлении внутри ферроэлектрического или электретного материала (2), обладающего пьезоэлектрическими свойствами, с созданием в указанном пьезоэлектрическом материале пьезоэлектрического эффекта, причем мягкий ферроэлектрический или электретный материал с пьезоэлектрическими свойствами образует в объемах между сдвоенными электродами (b, с) второго набора электродов и электродами (а) первого набора электродов внутри выемок (3) субъячейки ( 1, 2) ячеек (1) памяти, способные поляризоваться для осуществления операции записи при приложении электрического поля между соответствующими сдвоенными электродами (b, с) и пересекающими их электродами (а) первого набора электродов, в результате чего ячейки (1) памяти поляризуются для хранения, по меньшей мере, одного из двух или большего числа логических значений в форме набора состояний поляризации в указанных субъячейках ( 1, 2) и обеспечивают возможность бездеструктивного считывания путем приложения электрического потенциала между сдвоенными электродами (b, с) и/или между, по меньшей мере, одним из сдвоенных электродов и, по меньшей мере, одним из электродов (а) первого набора, примыкающих к считываемой субъячейке, причем указанный потенциал воздействует на ферроэлектрический или электретный материал субъячеек ( 1, 2), которые в результате подвергаются воздействию механических напряжений сжатия и/или растяжения, позволяющему осуществить детектирование параметров, зависящих от состояний поляризации субъячеек, по пьезоэлектрическому эффекту, возникающему в субъячейках как отклик на воздействие указанных механических напряжений, и тем самым определить логическое состояние субъячеек ( 1, 2) ячейки (1) памяти, т.е. логическое значение (логические значения), хранящееся (хранящиеся) в ячейке (1) памяти, содержащей указанные субъячейки ( 1, 2).
2. Устройство по п.1, отличающееся тем, что мягкий ферроэлектрический или электретный материал (2) представляет собой полимер.
3. Устройство по п.1, отличающееся тем, что ферроэлектрический или электретный материал (2) и сдвоенные электроды (b, с) поддерживаются нижним несущим слоем материала (4), который не является ферроэлектрическим или электретным материалом, расположенным на дне выемок (3).
4. Устройство по п.1, отличающееся тем, что нижний несущий слой материала (4) может быть связан или не связан с другими материалами и структурами, находящимися в выемке, при этом указанный материал предпочтительно является эластомером.
5. Устройство по п.4, отличающееся тем, что зазор ( ) между сдвоенными электродами (b, с) заполнен ферроэлектрическим или электретным материалом (2).
6. Устройство по п.4, отличающееся тем, что зазор ( ) между сдвоенными электродами (b, с) заполнен материалом, связанным с обоими указанными электродами и не являющимся пьезоэлектрическим материалом.
7. Устройство по п.4, отличающееся тем, что сдвоенные электроды (b, с) образуют механическую резонансную структуру, в которой сдвоенные электроды совершают колебания относительно друг друга с увеличением или уменьшением зазора между ними.
8. Устройство по п.1, отличающееся тем, что сдвоенные электроды (и, с) образуют механическую резонансную структуру, в которой сдвоенные электроды совершают колебания в поперечном направлении относительно выемки (3) при сохранении постоянного расстояния между ними.
9. Устройство по п.1, отличающееся тем, что на верхнюю поверхность электродов (а, b, с) и ячеек (1) памяти нанесен один или более механически или электрически изолирующих слоев.
10. Способ осуществления бездеструктивного считывания из устройства хранения данных в соответствии с п.1, отличающийся тем, что считывание осуществляют путем приложения усилия растяжения и/или сжатия к субъячейкам ( 1, 2) ячеек (1) памяти, выбранных для осуществления считывания, при одновременном детектировании фазы, и/или полярности, и/или уровня напряжения или тока, сгенерированного пьезоэлектрическим образом в ячейках ( 1, 2) в качестве отклика на механические напряжения, обусловленные приложением указанного усилия растяжения и/или сжатия.
11. Способ по п.10, отличающийся тем, что указанное усилие растяжения и/или сжатия передается за счет движения электродов (b, с), которые образуют часть физической структуры, задающей выбранную ячейку (1) памяти.
12. Способ по п.11, отличающийся тем, что указанное движение осуществляют параллельно поверхности, на которой расположен указанный массив ячеек (1) памяти.
13. Способ по п.11, отличающийся тем, что усилие растяжения и/или сжатия создают приложением электрических полей к поляризованному ферроэлектрическому или электретному материалу, прилегающему к указанным электродам (b, с).
14. Способ по п.13, отличающийся тем, что феррозлектрический или электретный материал (2) представляет собой полимер.
15. Способ по п.14, отличающийся тем, что указанный ферроэлектрический или электретный материал (2) идентичен материалу, использованному в субъячейках ( 1, 2).
16. Способ по п.10, отличающийся тем, что усилие растяжения и/или сжатия циклично изменяют во времени.
17. Способ по п.16, отличающийся тем, что детектирование напряжения или тока, сгенерированного пьезоэлектрическим образом, осуществляют с применением когерентного усреднения или синхронного детектирования.
18. Способ по п.10, отличающийся тем, что усилие растяжения и/или сжатия прикладывают в форме единственного прямоугольного импульса.
19. Способ по п.10, отличающийся тем, что усилие растяжения и/или сжатия прикладывают в форме дельта-импульса или пачки дельта-импульсов.
20. Способ по п.11, отличающийся тем, что указанные электроды (b, с) при своем движении одновременно воздействуют на две или более ячеек (1) памяти.
21. Способ придания поляризации парам субъячеек ячеек (1) памяти для выполнения операций записи в устройстве хранения данных в соответствии с п.1, характеризующийся тем, что каждую субъячейку из пары субъячеек ( 1, 2) поляризуют в одном из двух направлений, ортогональных по отношению к сдвоенным электродам (b, с), противолежащим каждой субъячейке ( 1, 2) указанной пары, с обеспечением возможности реализации в субъячейках ( 1, 2), образующих указанную пару, любой из четырех возможных комбинаций направлений поляризации.
РИСУНКИ
MM4A – Досрочное прекращение действия патента СССР или патента Российской Федерации на изобретение из-за неуплаты в установленный срок пошлины за поддержание патента в силе
Дата прекращения действия патента: 13.12.2007
Извещение опубликовано: 20.11.2010 БИ: 32/2010
|
|