|
|
(21), (22) Заявка: 2001131726/28, 05.02.2001
(24) Дата начала отсчета срока действия патента:
05.02.2001
(30) Конвенционный приоритет:
24.02.2000 EP 00200639.3
(43) Дата публикации заявки: 20.08.2003
(45) Опубликовано: 10.03.2006
(56) Список документов, цитированных в отчете о поиске:
US 4959824 A, 25.09.1990. US 4553227 A, 12.11.1985. US 5001694 A, 19.03.1991. SU 1403830 A1, 30.08.1990.
(85) Дата перевода заявки PCT на национальную фазу:
26.11.2001
(86) Заявка PCT:
EP 01/01230 (05.02.2001)
(87) Публикация PCT:
WO 01/67440 (13.09.2001)
Адрес для переписки:
129010, Москва, ул. Б. Спасская, 25, стр.3, ООО “Юридическая фирма Городисский и Партнеры”, пат.пов. Ю.Д.Кузнецову, рег.N 595
|
(72) Автор(ы):
АРТС Ян В. (NL)
(73) Патентообладатель(и):
КОНИНКЛЕЙКЕ ФИЛИПС ЭЛЕКТРОНИКС Н.В. (NL)
|
(54) ОПТИЧЕСКОЕ СКАНИРУЮЩЕЕ УСТРОЙСТВО И ОПТИЧЕСКИЙ ПРОИГРЫВАТЕЛЬ, СОДЕРЖАЩИЙ ОПТИЧЕСКОЕ СКАНИРУЮЩЕЕ УСТРОЙСТВО
(57) Реферат:
Оптическое сканирующее устройство для носителя информации содержит источник излучения, узел коллиматорной линзы, узел линзы объектива и привод для смещения узла коллиматорной линзы, привод содержит неподвижную и подвижную части, движение которых относительно друг друга ограничено, причем неподвижная и подвижная части привода находятся в одной общей магнитной цепи, имеющей неподвижную намагничиваемую часть, содержащуюся в неподвижной части привода, и подвижную намагничиваемую часть, содержащуюся в подвижной части привода, упомянутые первое и второе положения являются положениями равновесия. При этом устройство выполнено с возможностью управления посредством регулирования электрического тока взаимодействием между электромагнитным полем катушки индуктивности и магнитным полем постоянного магнита. Технический результат – создание надежного и функционального привода для смещения узла коллиматора. 2 н. и 4 з.п. ф-лы, 5 ил. 
Изобретение относится к оптическому сканирующему устройству для сканирования оптически сканируемого носителя информации, каковое сканирующее устройство содержит источник излучения, узел коллиматора, имеющий первую оптическую ось, узел объектива, имеющий вторую оптическую ось, и привод для смещения узла коллиматора в направлении, параллельном первой оптической оси, из первого положения в, по меньшей мере, второе положение, каковой привод содержит первую часть и вторую часть, движение которых относительно друг друга ограничено смещением в направлении, параллельном первой оптической оси.
Изобретение также относится к оптическому проигрывателю, содержащему стол, способный вращаться вокруг оси вращения, оптическое сканирующее устройство для сканирования оптически сканируемого носителя информации, находящегося на столе, и устройство смещения, позволяющее, в ходе эксплуатации, смещать, по меньшей мере, узел объектива сканирующего устройства относительно оси вращения, главным образом, в радиальном направлении.
Оптический проигрыватель и оптическое сканирующее устройство, подобные упомянутым во вводных абзацах, известны из патента США 5,754,513. Носитель информации, который можно сканировать посредством известного оптического сканирующего устройства, содержит прозрачную подложку и находящийся на ней информационный слой с информационными дорожками. Сканирующее устройство сканирует информационный слой с той стороны носителя информации, где находится прозрачный носитель, и в процессе сканирования, пучок излучения, формируемый источником излучения, проходит через прозрачную подложку. Известное оптическое сканирующее устройство можно использовать для сканирования носителей информации двух типов, отличающихся друг от друга толщиной подложки. Для этого, узел коллиматора известного сканирующего устройства позиционируют в двух положениях, разнесенных в направлении, параллельном первой оптической оси. Смещение узла коллиматора позволяет привести угол схождения пучка излучения, в промежутке между узлом объектива и подложкой, в соответствие с толщиной подложки, чтобы пучок излучения, сфокусированный на информационном слое носителя информации, давал минимальное сканирующее пятно. Более подробное описание привода известного сканирующего устройства, посредством которого можно смещать узел коллиматора, не содержится в патенте США 5,754,513.
Задачей изобретения является оптическое сканирующее устройство и оптический проигрыватель, подобные упомянутым во вводных абзацах, снабженные функциональным, надежным и эффективным приводом для смещения узла коллиматора.
В качестве решения этой задачи, изобретение предусматривает оптическое сканирующее устройство, отличающееся тем, что первая часть привода содержит постоянный магнит и первую намагничиваемую деталь магнитной цепи, а вторая часть привода содержит катушку индуктивности и вторую намагничиваемую деталь магнитной цепи, причем, при отключенной катушке, две части привода в заданных зонах первого положения и второго положения взаимодействуют магнитной силой, под действием которой две части привода перемещаются относительно друг друга, соответственно, в первое и второе положение.
В качестве решения этой задачи, изобретение предусматривает оптический проигрыватель, отличающийся тем, что используемое в нем оптическое сканирующее устройство представляет собой оптическое сканирующее устройство, отвечающее изобретению.
Ввиду того, что магнитная сила в упомянутых зонах обуславливает перемещение двух частей привода относительно друг друга, соответственно, в первое и второе положение, благодаря магнитному взаимодействию, первое и второе положения двух частей привода относительно друг друга являются положениями устойчивого равновесия. Поскольку положения равновесия имеют место при отключенной катушке, для поддержания положений равновесия не требуется пропускать через катушку электрический ток, т.е. расходовать электроэнергию. Для того чтобы сместить две части привода относительно друг друга из первого положения во второе положение или наоборот, требуется пропустить через катушку ток в течение сравнительно короткого времени. Взаимодействие между током и магнитным полем постоянного магнита обуславливает электромагнитную движущую силу, под влиянием которой две части привода смещаются относительно друг друга, преодолевая действие магнитных сил, из одного положения равновесия в другое положение равновесия. Это обеспечивает функциональную, надежную и эффективную работу привода.
Один вариант осуществления изобретения предусматривает оптическое сканирующее устройство, отличающееся тем, что первая намагничиваемая деталь магнитной цепи выполнена в виде буквы U и содержит два плеча, практически перпендикулярных к первой оптической оси, и между двумя плечами находится постоянный магнит, намагниченный в направлении, практически параллельном плечам, а катушка индуктивности прикреплена ко второй намагничиваемой детали магнитной цепи и содержит участки провода, проходящие практически перпендикулярно первой оптической оси и практически перпендикулярно плечам. Согласно этому варианту осуществления, магнитная цепь содержит магнитное поле, силовые линии которого, в переходной области, изгибаются в виде буквы U, проходя от концов обоих плеч U-образной детали магнитной цепи, внутрь, т.е. по направлению к постоянному магниту. В переходной области движение второй намагничиваемой детали магнитной цепи относительно U-образной детали ограничено смещением в направлении, параллельном первой оптической оси, т.е. в направлении, практически перпендикулярном плечам U-образной детали. В месте расположения каждого из двух плеч, положение устойчивого равновесия второй намагничиваемой детали по отношению к U-образной детали достигается там, где в переходной области имеется максимальная концентрация силовых линий. Данный частный вариант осуществления обеспечивает простую конструкцию привода и весьма устойчивые положения равновесия.
Другой вариант осуществления изобретения предусматривает оптическое сканирующее устройство, отличающееся тем, что движение первой и второй частей привода относительно друг друга ограничено смещением в направлении, параллельном первой оптической оси посредством двух плоских пружин, проходящих перпендикулярно первой оптической оси. Плоские пружины обеспечивают весьма жесткую взаимную поддержку двух частей в направлениях, перпендикулярных первой оптической оси, а также обеспечивают чрезвычайно простую конструкцию привода.
Еще один вариант осуществления изобретения предусматривает оптическое сканирующее устройство, отличающееся тем, что в первом положении и во втором положении плоские пружины подпружинивают обе части привода, в результате чего две части привода стремятся переместиться относительно друг друга, соответственно, во второе положение и в первое положение. Поскольку подпружиненные части привода, находящиеся в первом положении и во втором положении, стремятся переместиться относительно друг друга, соответственно, во второе положение и в первое положение, подпружинивание способствует взаимному смещению двух частей из одного положения равновесия в другое положение равновесия, тем самым ограничивая ток через катушку, необходимый для такого смещения.
Другой вариант осуществления изобретения предусматривает оптическое сканирующее устройство, отличающееся тем, что сканирующее устройство содержит блок управления, способный регулировать управляющий электрический ток в катушке таким образом, чтобы позиционирование двух частей привода по отношению друг к другу вблизи первого положения и вблизи второго положения обеспечивало определенную коррекцию сферической аберрации пучка излучения, формируемого источником излучения, в прозрачной подложке носителя информации. Согласно этому варианту осуществления изобретения привод используют не только для настройки оптического сканирующего устройства на ту или иную толщину подложки носителей информации посредством сравнительно больших смещений узла коллиматора, но также для корректировки сферических аберраций пучка излучения в прозрачной подложке носителя информации посредством сравнительно небольших смещений узла коллиматора вблизи первого и второго положения. Согласно этому варианту осуществления, привод выполняет двоякую функцию и, следовательно, используется оптимально.
Эти и другие аспекты изобретения явствуют из описанных ниже вариантов изобретения и поясняются со ссылкой на них.
На чертежах:
фиг.1 – схема оптического проигрывателя, отвечающего изобретению;
фиг.2 – схема оптического сканирующего устройства, отвечающего изобретению, которое используется в оптическом проигрывателе, показанном на фиг.1;
фиг.3 – вид в разрезе привода оптического сканирующего устройства, показанного на фиг.2;
фиг.4 – вид в разрезе, проведенном по линии IV-IV на фиг.3; и
фиг.5 – график зависимости магнитной силы, развиваемой приводом, показанным на фиг.3, от положения привода.
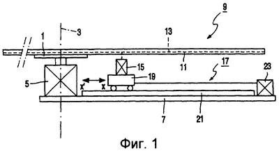
На фиг.1 показана схема оптического проигрывателя, отвечающего изобретению, который содержит стол 1, способный вращаться вокруг оси 3 вращения под действием электромотора 5, закрепленного на раме 7. На столе 1 может находиться оптически сканируемый носитель 9 информации, например, ЦВД (цифровой видеодиск), содержащий дискообразную прозрачную подложку 11 и информационный слой 13, на котором имеется спиралевидная информационная дорожка. Оптический проигрыватель дополнительно содержит оптическое сканирующее устройство 15, соответствующее изобретению, для оптического сканирования информационной дорожки носителя 9 информации. С помощью устройства 17 смещения, входящего в состав оптического проигрывателя, сканирующее устройство 15 можно смещать относительно оси 3 вращения, в основном, в противоположных радиальных направлениях Х и X’. С этой целью, сканирующее устройство 15 прикреплено к каретке 19 устройства 17 смещения, которое дополнительно содержит прямую направляющую 21, по которой может смещаться каретка 19, каковая прямая направляющая проходит параллельно направлению Х и установлена на раме 7, и электромотор 23, обеспечивающий смещение каретки 19 по направляющей 21. В состав оптического проигрывателя входит блок электрического управления, не показанный на чертеже, который, в ходе эксплуатации, управляет работой моторов 5 и 23 таким образом, чтобы, в результате вращения носителя 9 информации вокруг оси 3 вращения с одновременным смещением сканирующего устройства 15 в направлении, параллельном направлению X, сканирующее устройство 15 сканировало спиралевидную информационную дорожку, находящуюся на носителе 9 информации. В процессе сканирования, сканирующее устройство 15 может считывать информацию, содержащуюся на информационной дорожке, или записывать информацию на информационную дорожку.
На фиг.2 изображена схема оптического сканирующего устройства 15, соответствующего изобретению, используемого в оптическом проигрывателе, отвечающем изобретению. Сканирующее устройство 15 содержит источник 25 излучения, например, полупроводниковый лазер с оптической осью 27. Сканирующее устройство 15 дополнительно содержит расщепитель 29 пучка излучения, представляющий собой прозрачную пластину 31, отражающая поверхность 33 которого обращена к источнику 25 излучения, каковая прозрачная пластина 31 расположена под углом 45° к оптической оси 27 источника 26 излучения. Сканирующее устройство 15 дополнительно содержит узел 35 коллиматора с первой оптической осью 37 и узел 39 объектива со второй оптической осью 41, причем узел 35 коллиматора расположен между расщепителем 29 пучка излучения и узлом 39 объектива. В показанном примере, узел 35 коллиматора содержит единственную коллиматорную линзу 43, тогда как узел 39 объектива содержит линзу 45 объектива и вспомогательную линзу 47, расположенную между линзой 45 объектива и носителем 9 информации. В показанном примере, первая оптическая ось 37 и вторая оптическая ось 41 совпадают и образуют угол 90° с оптической осью 27 источника 25 излучения. Сканирующее устройство 15 дополнительно содержит известный и широко применяемый фотоприемник 49, который расположен по другую сторону расщепителя 29 пучка излучения относительно узла 35 коллиматора. В ходе эксплуатации, источник 25 излучения генерирует пучок 51 излучения, который отражается отражающей поверхностью 33 расщепителя 29 пучка излучения и фокусируется узлом 39 объектива в сканирующее пятно 53 на информационном слое 13 носителя 9 информации. При отражении пучка 51 излучения от информационного слоя 13 образуется отраженный пучок 55 излучения, который фокусируется, посредством узла 39 объектива, узла 35 коллиматора и расщепителя 29 пучка излучения, на фотоприемник 49. Для считывания информации, содержащейся на носителе 9 информации, источник 25 излучения генерирует непрерывный пучок 51 излучения, а фотоприемник 49 выдает сигнал обнаружения, соответствующий ряду элементарных информационных характеристик информационной дорожки носителя 9 информации, последовательно попадающих в сканирующее пятно 53. Для записи информации на носитель 9 информации, источник 25 излучения генерирует пучок 51 излучения, соответствующий записываемой информации, при этом в сканирующем пятне 53 генерируется ряд последовательных элементарных информационных характеристик информационной дорожки носителя 9 информации. Следует заметить, что изобретение также охватывает оптические сканирующие устройства, отличающиеся от вышеописанного взаимным расположением источника 25 излучения, узла 35 коллиматора и узла 39 объектива. Например, изобретение предусматривает варианты осуществления, в которых первая оптическая ось 37 и вторая оптическая ось 41 образуют между собой угол 90° и в которых между узлом 35 коллиматора и узлом 39 объектива находится дополнительное зеркало. Эти варианты осуществления позволяют уменьшить размеры оптического сканирующего устройства в направлении, параллельном второй оптической оси 41. Изобретение также предусматривает, например, варианты осуществления, в которых источник 25 излучения и узел 35 коллиматора не располагаются на каретке 19, но находятся в фиксированном положении относительно рамы 7, и в которых первая оптическая ось 31 направлена параллельно радиальным направлениям X, X’. Согласно этим вариантам осуществления изобретения, на каретке 19 находятся только узел 39 объектива и дополнительное зеркало, что снижает смещаемую массу каретки 19.
Как дополнительно показано на фиг.2, оптическое сканирующее устройство 15 содержит первый привод 57 и второй привод 59. Первый привод 57 позволяет смещать узел 39 объектива на сравнительно небольшие расстояния параллельно второй оптической оси 41 и на сравнительно небольшие расстояния параллельно направлению X. Смещая узел 39 объектива параллельно второй оптической оси 41 посредством первого привода 57, можно с нужной степенью точности фокусировать сканирующее пятно 53 на информационном слое 13 носителя 9 информации. Смещая узел 39 объектива посредством первого привода 57 в направлении, параллельном направлению X, можно удерживать, с нужной степенью точности, сканирующее пятно 53 на сканируемой информационной дорожке. Для этого, упомянутый блок управления оптического проигрывателя управляет первым приводом 57, когда на блок управления поступает сигнал ошибки фокусировки и сигнал ошибки трекинга от фотоприемника 49. С помощью второго привода 59 можно смещать коллиматорную линзу 43 узла 35 коллиматора в направлении, параллельном первой оптической оси 37, из первого положения во второе положение, которое схематически указано на фиг.2 пунктирными линиями А и В, соответственно, и из упомянутого второго положения в первое положение. Коллиматорную линзу 43, показанную на фиг.2, позиционируют между первым положением А и вторым положением В. Поскольку коллиматорная линза 43 может находиться в двух положениях А и В, оптическое сканирующее устройство 15 можно соответственно использовать обычным образом для избирательного сканирования носителей информации двух типов, отличающихся друг от друга толщиной подложки, или для избирательного сканирования двух параллельных информационных слоев двухслойных носителей информации. Смещая коллиматорную линзу 43, можно регулировать угол схождения пучка 51 излучения в промежутке между узлом 39 объектива и подложкой 11 в соответствии с толщиной подложки, чтобы пучок 51 излучения фокусировался в минимальное сканирующее пятно 53 на информационном слое 13 выбранного носителя 9 информации или на выбранном информационном слое двухслойного носителя информации.
На фиг.3 и 4 показаны два разных вида в разрезе второго привода 59. Второй привод 59 содержит первую часть 61, которая закреплена в фиксированном положении по отношению к каретке 19, и вторую часть 63, которая прикреплена к держателю 65 коллиматорной линзы 43. Вторая часть 63 присоединена к первой части 61 двумя параллельными плоскими пружинами 67 и 69, каждая из которых располагается, в расслабленном состоянии, в плоскости, перпендикулярной направлению Y, параллельному первой оптической оси 37. Таким образом, две плоские пружины 67, 69 весьма жестко ограничивают движение второй части 63 относительно первой части 61 смещением в направлении, параллельном направлению Y. Плоские пружины 67, 69 весьма жестко ограничивают движение второй части 63 относительно первой части 61, что, по существу, лишает вторую часть 63 возможности смещаться относительно первой части 61 в направлениях, перпендикулярных направлению Y, и наклоняться по отношению к первой части 61.
Согласно фиг.3 и 4, первая часть 61 второго привода 59 содержит постоянный магнит 71 и первую намагничиваемую деталь 73, которые образуют часть магнитной цепи 75 второго привода 59. Вторая часть 63 второго привода 59 содержит катушку 77 индуктивности и вторую намагничиваемую деталь 79 магнитной цепи 75. Первая намагничиваемая деталь 73 магнитной цепи 75 выполнена в форме буквы U и снабжена двумя плечами 81 и 83, которые проходят практически перпендикулярно направлению Y. Постоянный магнит 71 располагается между двумя плечами 81 и 83 первой намагничиваемой детали 73 и намагничен в направлении М, практически параллельном плечам 81, 83. Вторая намагничиваемая деталь 79 магнитной цепи 75 выполнена в виде пластины. Катушка 77 индуктивности закреплена на второй намагничиваемой детали 79 и содержит участки провода 85 и 87, проходящие практически перпендикулярно направлению Y и практически перпендикулярно направлению намагниченности М постоянного магнита 71. На фиг.3 схематически показано несколько силовых линий 89, 91 магнитного поля, которое генерируется вблизи концов плеч 81, 83 постоянным магнитом 71 и магнитной цепью 75. В переходной области между концами плеч 81, 83 и постоянным магнитом 71 силовые линии 89, 91 магнитного поля имеют вид дуги, изогнутой в виде буквы U, и идут от концевых участков двух плеч 81, 83 внутрь, т.е. по направлению к постоянному магниту 71. Упомянутое магнитное поле действует на вторую намагничиваемую деталь 79 магнитной силой FM, которая имеет составляющую FM,Y, параллельную направлению Y. На фиг.5 показан график зависимости величины составляющей FM,Y от положения второй части 63 относительно первой части 61 в направлении Y. На фиг.5 показаны также вышеупомянутые первое положение А и второе положение В. Вблизи первого положения А, плоские пружины 67, 69 действуют на вторую часть 63 силой подпружинивания FS в направлении Y’, противоположном направлению Y. В первом положении А эта сила подпружинивания FS уравновешивает составляющую FM,Y магнитной силы, которая действуют в направлении Y. Вблизи второго положения В плоские пружины 67, 69 действуют силой подпружинивания FS на вторую часть 63 в направлении Y. Во втором положении В эта сила подпружинивания FS уравновешивает составляющую FM,Y магнитной силы, которая действует в направлении Y’. При небольшом смещении второй части 63 из первого положения А в направлении Y’ под влиянием, например, внешней мешающей силы, составляющая FM,Y возрастает в большей степени, чем уменьшается сила подпружинивания FS, и равнодействующая этих сил стремится возвратить вторую часть 63 в первое положение А. При небольшом смещении второй части 63 из первого положения А в направлении Y, составляющая FM,Y уменьшается в большей степени, чем возрастает сила подпружинивания FS, и равнодействующая этих сил также стремится возвратить вторую часть 63 в первое положение А. При небольшом смещении второй части 63 из второго положения B в направлении Y под влиянием, например, внешней мешающей силы, составляющая FM,Y возрастает в большей степени, чем уменьшается сила подпружинивания FS, и равнодействующая этих сил стремится возвратить вторую часть 63 во второе положение В. При небольшом смещении второй части 63 из второго положения B в направлении Y’, составляющая FM,Y уменьшается в большей степени, чем возрастает сила подпружинивания FS, и равнодействующая этих сил также стремится возвратить вторую часть 63 во второе положение В. Таким образом, при отключенной катушке 77, в определенной окрестности каждого из положений А и В на вторую часть 63 всегда действует сила, возвращающая ее в положение, соответственно, А и В, что является результатом изменения составляющей FM,Y, обусловленной упомянутым магнитным полем. Таким образом, составляющая FM,Y обеспечивает положение устойчивого равновесия второй части по отношению к первой части 61 в обоих положениях А и В. Поскольку эти положения равновесия достигаются при отключенной катушке 77, для поддержания этих положений равновесия не требуется пропускать ток через катушку 77, т.е. расходовать электроэнергию. Чтобы сместить вторую часть 63 из одного из положений А и B в другое положение, необходимо лишь кратковременно пропустить ток через катушку 77. Поскольку участки 85, 87 провода катушки проходят практически перпендикулярно направлению Y и перпендикулярно направлению намагниченности М, ток в этих участках 85, 87 проводника порождает силу Лоренца со сравнительно большой составляющей в направлении Y или Y’, под действием которой вторая часть 63 смещается из одного положения в другое положение. Поскольку сила подпружинивания FS плоских пружин 67, 69 в положениях А и В направлена, соответственно, в положение В и положение А, упомянутая сила подпружинивания FS способствует смещению второй части 63 из одного положения в другое положение, что ограничивает необходимый ток через катушку 77.
Согласно вышеприведенному описанию, второй привод 59 смещает коллиматорную линзу 43 на сравнительно большие расстояния параллельно направлению Y из первого положения А во второе положение В или наоборот. Необходимый ток через катушку 77 обеспечивается источником тока, который не показан на фигурах и действует под управлением вышеупомянутого блока управления оптического проигрывателя. Согласно частному варианту осуществления оптического проигрывателя и оптического сканирующего устройства 15, отвечающих изобретению, второй привод 59 также используется для корректировки сферических аберраций пучка 51 излучения в прозрачной подложке 11 носителя 9 информации. Такие сферические аберрации обусловлены, главным образом, флуктуациями толщины подложки, и их можно скорректировать общеизвестным способом, смещая коллиматорную линзу 43 на сравнительно небольшие расстояния. Для этого, в каждом из двух положений А и В, упомянутый блок управления оптического проигрывателя управляет вторым приводом 59 посредством управляющего электрического тока, вырабатываемого при поступлении от датчика, не показанного на фигурах, сигнала ошибки, с помощью которого можно измерять, например, толщину прозрачной подложки 11 в окрестности сканирующего пятна 53. Блок управления способен регулировать электрический ток в катушке 77 таким образом, чтобы позиционирование коллиматорной линзы 43 вблизи двух положений А и В позволяло корректировать упомянутую сферическую аберрацию определенным способом, который общеизвестен и широко применяется. Таким образом, привод 59 выполняет двоякую функцию, обеспечивая эффективную структуру оптического сканирующего устройства 15.
Вышеописанный оптический проигрыватель, отвечающий изобретению, позволяет, сканируя информационный слой 13 носителя 9 информации, считывать информацию, присутствующую на информационном слое 13, или записывать информацию на информационный слой 13. Следует заметить, что изобретение также относится к оптическим проигрывателям, которые можно использовать исключительно для считывания информации, содержащейся на информационном слое носителя информации.
Заметим также, что изобретение также предусматривает варианты осуществления, в которых второй привод 59 имеет другую структуру. Например, два положения устойчивого равновесия узла коллиматорной линзы можно получить посредством привода, первая часть которого содержит два постоянных магнита, разнесенных друг от друга на некоторое расстояние в направлении, параллельном направлению Y, а вторая часть которого содержит намагничиваемую деталь и катушку для взаимодействия с двумя магнитами. Вместо привода с двумя положениями устойчивого равновесия можно использовать привод с более чем двумя положениями устойчивого равновесия, что позволило бы использовать оптическое сканирующее устройство для сканирования носителей информации более чем двух типов, отличающихся толщиной подложки. Например, первая часть привода может содержать два постоянных магнита, расположенных между тремя плечами Е-образной намагничиваемой детали, причем упомянутые три плеча практически перпендикулярны оптической оси узла коллиматорной линзы. В этом случае, вторая часть привода содержит катушку индуктивности и намагничиваемую деталь для взаимодействия с двумя постоянными магнитами и Е-образной намагничиваемой деталью. Такая конструкция обеспечивает три положения устойчивого равновесия.
Формула изобретения
1. Оптическое сканирующее устройство для сканирования оптически сканируемого носителя информации, содержащее источник излучения, узел коллиматорной линзы, имеющий первую оптическую ось, узел линзы объектива, имеющий вторую оптическую ось, и привод для смещения узла коллиматорной линзы в направлении, параллельном первой оптической оси, из первого положения в, по меньшей мере, второе положение, привод содержит неподвижную и подвижную части, движение которых относительно друг друга ограничено смещением в направлении, параллельном первой оптической оси, причем неподвижная и подвижная части привода находятся в одной общей магнитной цепи, имеющей неподвижную намагничиваемую часть, содержащуюся в неподвижной части привода, и подвижную намагничиваемую часть, содержащуюся в подвижной части привода, неподвижная часть привода содержит постоянный магнит и подвижная часть привода содержит катушку индуктивности, упомянутые первое и второе положения являются положениями равновесия, неподвижная и подвижная части привода взаимодействуют в заданных зонах вблизи первого и второго положений равновесия таким образом, что при отключенной катушке индуктивности подвижная часть привода, расположенная в заданной зоне вблизи первого и второго положений, под магнитным воздействием смещается, соответственно, в первое или второе положение равновесия, при этом устройство выполнено с возможностью управления посредством регулирования электрического тока в катушке индуктивности взаимодействием между электромагнитным полем катушки индуктивности и магнитным полем постоянного магнита, создавая электромагнитную движущую силу, под воздействием которой подвижная часть привода перемещается относительно неподвижной части привода из первого положения равновесия во второе положение равновесия или наоборот.
2. Устройство по п.1, отличающееся тем, что первая намагничиваемая деталь магнитной цепи выполнена в виде буквы U и содержит два плеча, практически перпендикулярные первой оптической оси, и между двумя плечами находится постоянный магнит, намагниченный в направлении, практически параллельном плечам, а катушка индуктивности прикреплена ко второй намагничиваемой детали магнитной цепи и содержит участки провода, проходящие перпендикулярно первой оптической оси и практически перпендикулярно плечам.
3. Устройство по п.1 или 2, отличающееся тем, что движение подвижной части привода относительно неподвижной части привода осуществляется в направлении, параллельном первой оптической оси, посредством двух плоских пружин, проходящих перпендикулярно первой оптической оси.
4. Устройство по п.3, отличающееся тем, что в первом положении равновесия и во втором положении равновесия соответственно плоские пружины оказывают упругое воздействие на подвижную часть для ее упругого смещения.
5. Устройство по любому из пп.1-4, отличающееся тем, что оно содержит блок управления, обеспечивающий регулировку электрического тока управления в катушке индуктивности таким образом, чтобы подвижная часть привода вблизи первого положения равновесия и вблизи второго положения равновесия, соответственно, позиционировалась посредством сравнительного небольшого смещения по отношению к каждому из положений равновесия для коррекции сферической аберрации пучка излучения, формируемого источником излучения, в прозрачной подложке носителя информации.
6. Оптический проигрыватель, содержащий стол, способный вращаться вокруг оси вращения, оптическое сканирующее устройство для сканирования оптически сканируемого носителя информации, находящегося на столе, и устройство смещения, позволяющее в ходе эксплуатации смещать, по меньшей мере, узел объектива сканирующего устройства относительно оси вращения главным образом в радиальном направлении, отличающийся тем, что оптическое сканирующее устройство представляет собой оптическое сканирующее устройство по любому из пп.1-5.
РИСУНКИ
MM4A – Досрочное прекращение действия патента СССР или патента Российской Федерации на изобретение из-за неуплаты в установленный срок пошлины за поддержание патента в силе
Дата прекращения действия патента: 06.02.2009
Извещение опубликовано: 27.07.2010 БИ: 21/2010
|
|