|
|
(21), (22) Заявка: 2003124805/09, 01.08.2003
(24) Дата начала отсчета срока действия патента:
01.08.2003
(43) Дата публикации заявки: 10.02.2005
(45) Опубликовано: 10.03.2006
(56) Список документов, цитированных в отчете о поиске:
RU 2115169 C1, 10.07.1998. RU 2172982 C1, 27.08.2001. RU 2149763 C1, 27.05.2000. RU 2123722 C1, 20.12.1998. EP 155982 A1, 02.10.1985. US 6176522 A, 23.01.2001. WO 0100426 A1, 04.01.2001. DE 19928059, 21.12.2000. GB 1179483, 28.01.1970.
Адрес для переписки:
194044, Санкт-Петербург, ул. Чугунная, 20, ЗАО “ГИЗЕКЕ & ДЕВРИЕНТ-ЛОМО, ЗАО”, Генеральному директору
|
(72) Автор(ы):
Хесс Фолькер (RU)
(73) Патентообладатель(и):
Закрытое акционерное общество “ГИЗЕКЕ & ДЕВРИЕНТ-ЛОМО, ЗАО” (RU)
|
(54) СПОСОБ ОПРЕДЕЛЕНИЯ ПОДЛИННОСТИ БАНКНОТ И УСТРОЙСТВО ДЛЯ ЕГО ОСУЩЕСТВЛЕНИЯ
(57) Реферат:
Изобретение относится к средствам распознавания подлинности банкнот. Технический результат заключается в повышении точности распознавания банкнот с поперечной полосой, коэффициент отражения которой незначительно превышает основной фон банкноты. В способе измеряют уровни яркости световых потоков, отраженных от банкноты, освещение под разными углами. В качестве участков для сравнения уровней яркости отраженных от контролируемой банкноты, на фоне которой нанесена поперечная полоса с коэффициентом отражения, превышающим коэффициент отражения фона, на котором она нанесена, используют указанный фон и фрагменты банкноты с уровнем яркости, превышающим основной фон. 2 н. и 1 з.п. ф-лы, 6 ил. 
Изобретения относятся к области специального машиностроения, а именно к средствам распознавания подлинности банкнот, и могут быть использованы при разработке устройств, позволяющих определять подлинность банкнот, а также обнаруживать наличие отражающей клейкой ленты (скотча), наклеенной на поверхность банкнот, контролировать форматные характеристики банкнот и обнаруживать недостающие части банкноты.
Особенностью настоящего периода времени является, с одной стороны, совершенствование элементов защиты банкнот от подделок, а с другой стороны, повышение уровня выполнения подделок банкнот и других ценных бумаг. Эти обстоятельства требуют непрерывного совершенствования средств контроля банкнот, позволяющих надежно отличать подлинную банкноту от фальшивой, в частности, от суперподделки. Указанная проблема становится особенно актуальной в связи с появлением на европейском рынке новых банкнот – EURO, ряд номиналов которых, а именно 5, 10 и 20 EURO, оснащен дополнительным средством защиты – нанесенной на поверхность банкноты поперечной полосой, коэффициент отражения которой лишь незначительно превышает коэффициент отражения основного фона банкноты. Распознавание упомянутой полосы – это распознавание нового признака подлинности. Традиционно известные в настоящее время признаки подлинности банкнот распознаются в ИК- и УФ-областях спектра и являются машиночитаемыми признаками. Появление новых типов банкнот, например EURO, с упомянутым новым специальным способом защиты зачастую не позволяет использовать технику для проверки подлинности. Таким образом, возрастает нагрузка на кассиров (операторов) и возникает возможность появления на рынке сомнительных (или фальшивых) банкнот. Это обстоятельство усиливает актуальность упомянутой выше проблемы. В патентной литературе описано множество способов и устройств, позволяющих определять подлинность денежных купюр, контролировать форму, ветхость, целостность, а также определять степень их загрязнения. Рассмотрим некоторые из них.
Известен способ контроля ценных бумаг [1], состоящий в перемещении денежного билета относительно источника оптического излучения, облучении денежного билета оптическим излучением, приеме отраженного от денежного билета сигнала и сравнении принятого сигнала с эталонным. Перед перемещением денежного билета его ориентируют белой полосой к источнику оптического излучения, облучают оптическим излучением в диапазоне 400-1100 нм и дополнительно с отраженным принимают оптическое излучение, прошедшее сквозь белую полосу денежного билета.
В литературе [1] описано также устройство, предназначенное для контроля ценных бумаг, которое состоит из источника оптического излучения, транспортирующих роликов, подвижной и неподвижной направляющих пластин, интегрирующей фотометрической камеры и фотоэлектронных преобразователей, соединенных параллельно. Благодаря расположению источника оптического излучения вблизи неподвижной направляющей при контроле облучается часть денежного билета в области его белой полосы. Внутренняя поверхность интегрирующей фотометрической камеры имеет диффузно рассеивающее покрытие с высоким коэффициентом отражения. Освещенность стенок камеры при наличии в ней части денежного билета с белой полосой пропорциональна потоку излучения, рассеянного этой частью. Освещенность контролируется фотоэлектронными преобразователями, установленными в камере, в качестве которых используются кремниевые фотодиоды. Фотооткликом фотодиодов является генерируемый ими при освещении ток. Величина тока на выходе фотодиодов характеризует ветхость контролируемого денежного билета. Указанные способ и устройство для его осуществления позволяют проводить контроль только ветхости ценных бумаг. Такие ограниченные функциональные возможности являются недостатком способа и устройства [1].
Известен также способ определения подлинности и достоинства банкнот, описанный в литературе [2]. Сущность известного способа заключается в том, что банкноты сканируются с помощью специально разработанных сканирующих устройств, предназначенных для получения изображения банкнот в трех спектрах – видимом, инфракрасном и ультрафиолетовом. Полученные изображения передаются в компьютер, в котором происходит сравнение полученных образов банкноты с эталонными и принимается решение о подлинности, достоинстве и ветхости банкноты в соответствии с компьютерной программой распознавания образов. Компьютерная программа распознавания образов является программным средством, позволяющим обучать компьютер распознавать предъявленные ему изображения и давать ответ на вопрос, в какой степени введенное изображение соответствует эталонному. Это является несомненным достоинством способа. Известный способ [2] реализован в машине пересчета и сортировки банкнот БАРС, в которой установлены сканирующие устройства для получения изображений банкнот в трех спектрах, а также компьютер с компьютерной программой распознавания образов для принятия решения о подлинности, достоинстве и ветхости банкнот и передачи решения на диверторы для направления банкноты в один из приемных бункеров. Однако известные способ и реализующее его устройство имеют недостатки, обусловленные относительно высокими затратами на технические средства, необходимые для сканирования банкноты лучами в трех спектрах – видимом, инфракрасном и ультрафиолетовом. Для реализации способа [2] потребовалось разработать специальное сканирующее устройство для получения изображений банкноты в видимом и инфракрасном спектрах, а также сканирующее устройство для получения изображений банкноты в инфракрасном и ультрафиолетовом спектрах. Это существенно повысило надежность определения подлинности банкноты. Однако известные способ и устройство не позволяют определить наличие поперечной полосы на банкнотах EURO.
Известно устройство [3] для проверки толщины банкнот, которое содержит несколько датчиков, размещенных поперек пути перемещения бумажных листов. Устройство корректирует и усиливает включенный в сигнал датчика компонент эквивалента толщины постороннего материала, прикрепляющегося к бумажному листу, на основании установленных заранее характеристик. Компаратор толщины сравнивает скорректированный сигнал датчика с сохраненной в блоке памяти стандартной толщиной бумажного листа. Решающее устройство определяет норму толщины бумажного листа, исходя из толщины, определенной датчиком, и из результата сравнения толщины. Таким образом, известное устройство [3] способно определить наличие на банкноте постороннего материала, толщина которого соизмерима с толщиной банкноты. Определить с помощью устройства [3] наличие на банкноте EURO нанесенной на ее поверхность поперечной полосы, практически не имеющей толщины, не представляется возможным, что является недостатком устройства [3], так как существенно ограничивает его функциональные возможности.
Из литературы [4] известны также устройство и способ для проверки листового материала, в частности банкнот или ценных бумаг. Сущность известного способа [4] состоит в перемещении листового материала с определенной скоростью в направлении подачи. Листовой материал непрерывно освещают во всех исследуемых областях спектра. Отраженный от листового материала и/или прошедший через него свет, по меньшей мере, в одной видимой и одной невидимой областях спектра преобразуют в цифровые сигналы с помощью двух расположенных параллельно друг другу ПЗС-матриц, снабженных соответствующими фильтрами с определенной полосой пропускания. Для проверки листового материала цифровые сигналы подвергают обработке и сравнивают с контрольными данными. Описанное в том же патенте устройство [4] состоит из осветительной системы для непрерывного освещения материала во всех исследуемых областях спектра и приемника, содержащего, по меньшей мере, две линейные параллельные ПЗС-матрицы. Каждая ПЗС-матрица снабжена фильтром с определенной полосой пропускания, причем отдельные фильтры выполнены таким образом, что, по меньшей мере, один из них пропускает излучение видимой области, а один пропускает излучение невидимой области спектра. Для детектирования света, отраженного от листового материала или прошедшего через него, отдельные ПЗС-матрицы формируют из принятого света электрические сигналы, которые затем обрабатываются в специальном блоке и для проверки листового материала сравниваются с базовыми данными. По сравнению с описанным выше устройством [3] способ и устройство по патенту [4] обладают значительно большими функциональными возможностями, такими как определение параметров формы листового материала (длина, ширина или площадь), определение типа банкноты, определение таких параметров, как количество пятен, целостность листового материала, количество обрывов, проверка показателей загрязненности. Однако описанные способ и устройство для его осуществления являются сравнительно сложными, а кроме того, не обеспечивают возможность определения наличия поперечной полосы на банкнотах EURO.
Наиболее близким по своей технической сущности к предлагаемому способу является способ [5] определения подлинности банкноты, который заключается в том, что контролируемая банкнота освещается источником ультрафиолетового излучения. Отраженный от контролируемой банкноты световой поток принимается фотодатчиком и измеряется уровень его яркости. Прием фотодатчиком отраженного от контролируемой банкноты светового потока и измерение его уровня яркости осуществляют в ультрафиолетовой области спектра, соответствующего спектру источника ультрафиолетового излучения. О подлинности контролируемой банкноты судят по результатам сравнения измеренных уровней яркостей световых потоков, отраженных от контролируемой и образцовой банкнот в ультрафиолетовой области спектра. Рассмотренный способ [5] существенно упрощен в сравнении с вышеуказанными известными способами, так как он основан на освещении и приеме одного вида излучения – ультрафиолетового, при этом он обладает высокой достоверностью контроля подлинности банкнот. Однако, как и все вышеуказанные способы, известный способ [5] не позволяет определить подлинность банкноты на основе распознавания нового признака подлинности банкнот EURO – поперечной полосы, коэффициент отражения которой лишь незначительно превышает коэффициент отражения основного фона банкноты.
Наиболее близким по своей технической сущности к предлагаемому устройству является устройство [6], предназначенное для считывания изображений банкнот. Известное устройство [6] содержит узел транспортировки банкнот, осветительный блок, создающий равномерное освещение банкноты в зоне ее контроля, приемное устройство (видеокамеру), блоки преобразования сигналов и вычислительное устройство для обработки сигналов и сравнения с эталонными данными. Приемное устройство выполнено с разделением светового потока после объектива с помощью полупрозрачного зеркала так, что одинаковые элементы изображения одновременно проецируются на одинаковые ячейки фотоматриц. Осветительный блок устройства [6] может содержать люминесцентные лампы для освещения зоны контроля в видимой части спектра и инфракрасные излучающие диоды, которые расположены с двух сторон зоны контроля и предназначены для создания равномерного и бестеневого освещения зоны контроля. Известное устройство [6] обладает высокой точностью и достоверностью контроля мятых и ветхих банкнот, однако его оптическая схема очень сложна и громоздка. Кроме того, в памяти устройства предполагается хранение большого объема эталонных данных, необходимых для работы вычислительного устройства, что также усложняет и удорожает устройство. При этом основным недостатком известного устройства [6], как и всех рассмотренных выше устройств, является то, что с помощью устройства [6] невозможно распознать на банкноте EURO поперечную полосу с коэффициентом отражения, лишь незначительно превышающим коэффициент отражения основного фона банкноты, то есть определить подлинность банкноты на основе нового признака подлинности.
Задачей предлагаемых изобретений является разработка такого способа и устройства для его реализации, которые позволили бы осуществить проверку подлинности банкнот с высокой достоверностью результатов контроля, а также ввести новый признак защиты банкноты EURO в область машиночитаемых признаков проверки подлинности банкнот при одновременном упрощении способа и устройства и снижении затрат на технические средства.
Для достижения этого технического результата предлагаются способ определения подлинности банкнот и устройство для его осуществления.
Способ определения подлинности банкнот заключается в том, что контролируемая банкнота освещается источником излучения, фотоприемником принимается отраженный от банкноты световой поток и измеряется уровень его яркости, по результатам сравнения уровней яркости световых потоков, отраженных от контролируемой банкноты, принимается решение о подлинности контролируемой банкноты. Предложенный способ отличается от известного способа [5], выбранного в качестве прототипа, тем, что освещение контролируемой банкноты, прием фотоприемником отраженного от банкноты светового потока и измерение его уровня яркости осуществляют в видимой области спектра. Освещение контролируемой банкноты производят под разными углами. В качестве участков для сравнения уровней яркости отраженных от контролируемой банкноты световых потоков используют основной фон и фрагменты банкноты с уровнем яркости, превышающим основной фон.
Сущность предлагаемого способа заключается в следующем.
Как было указано выше, на европейском рынке появились новые банкноты – EURO, ряд номиналов которых, а именно 5, 10 и 20, оснащен дополнительным средством защиты – нанесенной на поверхность банкноты поперечной полосой со специальным покрытием. Полоса представляет собой нанесенную на поверхность банкноты матовую полоску, на которой находятся блестящие точечные элементы, сформированные определенным образом для каждого номинала. Полоска дает отражающие блики только в определенных зонах и при определенных углах падения световых лучей. Определить значения упомянутых углов падения не представляется возможным. Именно это обстоятельство навело на мысль осветить контролируемую банкноту в процессе ее движения под разными углами в отличие от прототипа, в котором банкнота освещается под определенным углом. Поставленные эксперименты показали, что при направлении на контролируемую банкноту лучей видимого света под разными углами формируется широкий спектр отраженных лучей. Вследствие этого происходит распознавание наличия полосы со специальным покрытием на контролируемой банкноте. Полоса становится хорошо видимой приемником излучения, несмотря на то, что коэффициент отражения от ее поверхности лишь незначительно превышает коэффициент отражения от основного фона банкноты. Кроме того, в отличие от способа-прототипа, в котором о подлинности контролируемой банкноты судят по результатам сравнения измеренных уровней яркостей световых потоков, отраженных от контролируемой и образцовой банкнот, что предполагает хранение большого объема эталонных данных, в предлагаемом способе найдено более простое решение, а именно: для сравнения используется основной фон контролируемой банкноты и определенные зоны этой же банкноты с уровнем яркости, превышающим основной фон.
Устройство для определения подлинности банкнот, как и наиболее близкое к нему, выбранное в качестве прототипа, содержит узел транспортировки банкнот, расположенные по одну сторону от него первый осветитель, представляющий собой линейку светодиодов, и приемное устройство, выполненное в виде видеокамеры с детектором изображения, выход которого электрически связан с блоком обработки данных. Особенностью предлагаемого устройства, отличающей ее от известного устройства [6], принятого за прототип, является то, что оно дополнено вторым осветителем, выполненным в виде линейки светодиодов, и оптически сопряженной с ним второй видеокамерой. Второй осветитель и вторая видеокамера расположены относительно первых осветителя и видеокамеры по другую сторону от ремней узла транспортировки банкнот. Первый и второй осветители установлены под углами к плоскости транспортировки банкнот. Линейки светодиодов первого и второго осветителей сформированы из светодиодов, излучающих в видимой области спектра. Оптические оси светодиодов образуют веер лучей. В устройство введен также датчик светового барьера, состоящий из оптически сопряженных излучателя и приемника светового барьера, расположенных по разные стороны от ремней узла транспортировки банкнот. Приемник и излучатель светового барьера электрически связаны с блоком обработки данных. Для расширения функциональных возможностей устройства, например оценки ветхости и форматных характеристик банкноты, оно может быть дополнено третьим осветителем – осветителем формата, и оптически сопряженной с ним третьей видеокамерой, расположенными по разные стороны от ремней узла транспортировки банкнот, при этом осветитель формата и детектор изображения третьей видеокамеры подключены к блоку обработки данных.
Основной задачей, которая решалась при конструктивной реализации описанного выше способа, было обеспечение освещения банкноты под разными углами по отношению к контролируемой поверхности. Поставленная задача была решена за счет следующих конструктивных особенностей устройства. Во-первых, это установка оптически сопряженных пар осветитель-видеокамера под углом к плоскости транспортирования банкнот. Однако этого оказалось недостаточно для надежной работы устройства для выявления такого слабо различимого на общем фоне банкноты объекта, как матовая полоска, нанесенная на банкноте – EURO. В связи с этим для расширения спектра лучей, отраженных от поверхности банкноты, в формулу изобретения введен признак, касающийся расположения оптических осей светодиодов, на базе которых построены осветители, а именно: оптические оси светодиодов, образующих осветители, направлены под разными углами, образуя веер лучей, сходящихся в направлении к банкноте. Это проиллюстрировано на фиг.6, на которой схематично представлена схема расположения светодиодов в осветителях устройства. Из рассмотрения фиг.6, видно, что ни одна из осей практически не образует прямого угла с плоскостью транспортирования банкноты. Поэтому каждый элемент полосы освещается одновременно сразу несколькими светодиодами и под разными углами. Величина угла А между осями крайних светодиодов не имеет принципиального значения и выбирается исходя из конструктивных требований, а именно: он должен обеспечить освещение самой широкой банкноты, транспортируемой по тракту банкнотообрабатывающей машины. В конкретной заявляемой конструкции он составил примерно 50°. Введение в формулу изобретения датчика светового барьера является необходимым для обеспечения синхронизации работы блока обработки данных, являющегося центральным узлом электронной части устройства. Устройство дополнено второй сопряженной парой: осветитель-видеокамера, установленной по другую сторону от узла транспортирования, что расширяет область применения устройства, позволяя контролировать банкноту с двух сторон. Введенный в дополнительный (третий пункт формулы) признак третий – осветитель формата и сопряженная с ним третья видеокамера – значительно расширяют функциональные возможности устройства, позволяя контролировать форматные характеристики банкноты.
Таким образом, совокупность указанных выше признаков позволяет решить поставленные задачи.
Предлагаемые способ определения подлинности банкнот и устройство для его осуществления иллюстрируются чертежами.
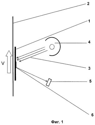
На фиг.1 изображена схема, поясняющая заявляемый способ, на которой введены следующие обозначения:
1 – контролируемая банкнота;
2 – система транспортирования;
3 – лучи видимого света;
4 – источник видимого света;
5 – детектор изображения;
6 – участок банкноты с уровнем яркости, превышающим основной фон;
на фиг.2 представлена принципиальная схема одного из конкретных примеров выполнения устройства для осуществления способа в соответствии с пунктом 2 формулы предлагаемого изобретения;
на фиг.3 – принципиальная схема второго примера выполнения устройства для осуществления способа в соответствии с пунктом 3 формулы предлагаемого изобретения;
на фиг.4 представлена конструкция устройства для определения подлинности банкнот (общий вид), принципиальная схема которого изображена на фиг.3;
на фиг.5 – вид сверху на фиг.4;
на фиг.6 схематично представлена схема расположения светодиодов в осветителях устройства.
При осуществлении заявляемого способа (см. фиг.1) контролируемую банкноту 1, перемещающуюся со скоростью V с помощью системы транспортирования 2 (изображена на всех фигурах условно в виде линии транспортирования) в направлении, указанном стрелкой, освещают лучами 3, исходящими от источника 4 видимого излучения под разными углами. Достигнув поверхности контролируемой банкноты 1, лучи 3 отразятся от ее поверхности под разными углами и попадут на детектор изображения 5. Детектор изображения 5 генерирует электрические сигналы, прямо пропорциональные уровню яркости отраженных от поверхности банкноты 1 лучей. При попадании в зону контроля участка 6 банкноты с уровнем яркости, превышающим уровень яркости основного фона, в детекторе изображения также возникнут соответствующие электрические сигналы. После сравнения упомянутых уровней яркости отраженных световых потоков принимается решение о подлинности контролируемой банкноты.
Предлагаемый способ реализован в устройстве, изготовленном и проверенном в работе в составе банкнотообрабатывающей системы ИСС 300.
Принципиальная схема одного из конкретных примеров выполнения устройства для определения подлинности банкнот, представленная на фиг.2, содержит два канала обнаружения участков банкноты с уровнем яркости, превышающим основной фон – левый 7 и правый 8, по одному на каждую сторону банкноты. Каналы 7 и 8 располагаются по разным сторонам от ремней системы транспортирования 2. Левый и правый каналы содержат осветители 9 (первый) и 10 (второй), которые обеспечивают подсветку поверхности банкноты, а также видеокамеры: первую 11 и вторую 12, с детекторами изображений, формирующими видеосигналы, соответствующие световым потокам, отраженным от поверхности контролируемой банкноты 1. Первый 9 и второй 10 осветители оптически сопряжены с соответствующими видеокамерами: первой 11 и второй 12. Центральным элементом устройства для определения подлинности банкнот является блок обработки данных (БОД) 13, электрически связанный с осветителями 9, 10 и видеокамерами 11, 12. БОД 13 обеспечивает аналого-цифровое преобразование видеосигналов, их цифровую предобработку и сегментацию, а также реализует следующие алгоритмы: обработки измеряемых параметров, классификации банкнот, управления составными частями устройства и обмена с банкнотообрабатывающей системой ИСС 300. Первый 9 и второй 10 осветители установлены под углами к плоскости транспортировки банкнот. Линейки светодиодов первого 9 и второго 10 осветителей сформированы из светодиодов, излучающих в видимой области спектра. Оптические оси светодиодов образуют веер лучей, о чем со ссылкой на фиг.6 было подробно изложено выше. Правый канал 8 устройства содержит также излучатель потока светового барьера 14, а левый канал 7 содержит приемник излучения светового барьера 15, расположенный напротив излучателя потока светового барьера 14. Синхронизация работы БОД 13 осуществляется сигналом машинных тактов, поступающим от системы ИСС 300, а также импульсом светового барьера, вырабатываемым приемником излучения светового барьера 15. Описанное устройство позволяет осуществить распознавание нанесенной на поверхность банкноты EURO поперечной полосы, коэффициент отражения которой лишь незначительно превышает коэффициент отражения основного фона банкноты.
Представленная на фиг.3 принципиальная схема второго примера выполнения устройства для определения подлинности банкнот состоит из дополнительно введенного канала измерения форматных параметров банкнот, содержащего осветитель формата 16 и третью видеокамеру 17, и двух каналов обнаружения участков банкноты с уровнем яркости, превышающим основной фон – левого 18 и правого 19. Каналы 18 и 19 располагаются по разные стороны от ремней системы транспортирования 2. Осветитель формата 16 и третья видеокамера 17 канала измерения форматных параметров банкнот также пространственно разнесены по разные стороны от ремней системы транспортирования 2. Левый 18 и правый 19 каналы обнаружения участков банкноты с уровнем яркости, превышающим основной фон, содержат первый 9 и второй 10 осветители, которые обеспечивают подсветку поверхности банкноты, а также оптически сопряженные с соответствующими осветителями первую 11 и вторую 12 видеокамеры, формирующие видеосигналы, соответствующие световым потокам, отраженным от поверхности контролируемой банкноты. Центральным элементом устройства для определения подлинности банкнот, представленного на фиг.3, является БОД 13, обеспечивающий аналого-цифровое преобразование видеосигналов, их цифровую предобработку и сегментацию, а также реализующий следующие алгоритмы: обработки измеряемых параметров, классификации банкнот, управления составными частями устройства и обмена с банкнотообрабатывающей системой ИСС 300. Правый канал 19 устройства содержит также излучатель потока светового барьера 14, а левый канал 18 содержит приемник излучения светового барьера 15. Излучатель потока светового барьера 14 и приемник излучения светового барьера 15 оптически сопряжены. Синхронизация работы БОД 13 осуществляется сигналом машинных тактов, поступающим от системы ИСС 300, а также импульсом светового барьера, вырабатываемым приемником излучения светового барьера 15.
На фиг.4 и 5, изображающих конструкцию устройства для определения подлинности банкнот, приняты те же обозначения, что и на фиг.2 и 3. Кроме того, введены следующие обозначения:
20 – датчик левый, выполняющий функцию обнаружения участков банкноты с уровнем яркости, превышающим основной фон на левой стороне банкноты;
21 – датчик правый, предназначенный для обнаружения упомянутых участков банкноты на ее левой стороне;
22 – разъем, соединяющий между собой левый 20 и правый 21 датчики;
23 – основание, на котором смонтирован левый датчик 20;
24 – основание, на котором смонтирован правый датчик 21;
25 – разъем, предназначенный для соединения устройства с банкнотообрабатывающей системой ИСС 300;
26 – технологический разъем для подключения настроечно-диагностического стенда (не показан);
27 – печатная плата со светодиодами второго осветителя 10;
28 – печатная плата со светодиодами первого осветителя 9;
29 – кронштейн второго осветителя 10;
30 – кронштейн первого осветителя 9;
31 – винты крепления печатной платы 27 второго осветителя 10 к кронштейну 29, предназначенные для регулировки угла наклона платы 27 второго осветителя 10;
32 – винты крепления печатной платы 28 первого осветителя 9 к кронштейну 30, предназначенные для регулировки угла наклона платы 28 первого осветителя 9;
33 – винт крепления второго осветителя 10 к основанию 24, предназначенный для регулировки расстояния осветителя 10 до банкноты;
34 – винт крепления первого осветителя 9 к основанию 23, предназначенный для регулировки расстояния осветителя 9 до банкноты;
35 – винт, предназначенный для регулировки угла падения лучей от второго осветителя 10 на контролируемую банкноту;
36 – ось поворота кронштейна с линейкой светодиодов;
37 – винт, предназначенный для регулировки угла падения лучей от первого осветителя 9 на контролируемую банкноту;
38 – винты, предназначенные для фиксации угла падения лучей видимого света от второго осветителя 10 на контролируемую банкноту;
39 – винты, предназначенные для фиксации угла падения лучей видимого света от первого осветителя 9 на контролируемую банкноту;
40 – основание, на которое устанавливается первая видеокамера 11 левого датчика 20, предназначенное для перемещения первой видеокамеры 11 вдоль оптической оси при осуществлении регулировки взаимного положения первой видеокамеры 11 и первого осветителя 9;
41 – основание, на которое устанавливается вторая видеокамера 12 правого датчика 21, предназначенное для перемещения второй видеокамеры 12 вдоль оптической оси при осуществлении регулировки взаимного положения второй видеокамеры 12 и второго осветителя 10;
42 – основание, на которое устанавливается третья видеокамера 17, сопряженная с третьим осветителем 16 – осветителем формата, предназначенное для перемещения видеокамеры 17 вдоль оптической оси при осуществлении регулировки взаимного положения видеокамеры 17 и осветителя формата 16;
43 – объектив видеокамеры 11;
44 – объектив видеокамеры 12;
45 – объектив видеокамеры 17; с помощью объективов 43, 44, 45 регулируется фокусное расстояние соответствующих видеокамер 11, 12 и 17;
46 – гайка объектива 43 видеокамеры 11;
47 – гайка объектива 44 видеокамеры 12;
48 – гайка объектива 45 видеокамеры 17; с помощью гаек 46, 47, 48 фиксируется положение объективов 43, 44, 45 после осуществления фокусировки;
49 – винты крепления основания 41 видеокамеры 12 к основанию 24 правого датчика, ослабив которые осуществляется регулировка положения видеокамеры 12 (винты крепления видеокамер 11 и 17 к соответствующим основаниям на фиг.4 и 5 не показаны);
50 – гайка для регулировки наклона видеокамеры 11;
51 – гайка для регулировки наклона видеокамеры 12;
52 – гайка для регулировки наклона видеокамеры 17 (с помощью гаек 50, 51, 52 осуществляется регулировка угла наклона ПЗС – линеек соответствующих видеокамер 11,12 и 17).
Устройство работает следующим образом.
Перед началом работы проводится настройка устройства на настроечно-диагностическом стенде, к которому оно присоединяется при помощи разъема 26. Настройка осуществляется по следующим основным параметрам:
– размах и контраст видеосигнала в левом канале 20;
– размах и контраст видеосигнала в правом канале 21;
– размах и контраст видеосигнала в канале формата, состоящем из осветителя формата 16 и видеокамеры 17;
– комплексная настройка канала формата, включающая настройку краевых линий, настройку измерителя ширины банкноты, настройку измерителя длины банкноты, проверку измерителя загнутых углов, а также проверку измерителя малых и больших недостающих частей банкноты.
В процессе настройки устройства по вышеупомянутым параметрам сначала настраиваются оптические системы каждого из каналов: левого, правого и канала формата. Настройка оптических систем каналов производится путем регулировки взаимного положения соответствующей видеокамеры 11, 12, 17 и осветителя 9, 10, 16, а также регулировки фокусного расстояния объектива 43, 44, 45 видеокамеры. Для регулировки положения видеокамеры необходимо ослабить винты крепления основания 40, 41, 42, на котором она установлена, к основанию устройства 23, 24. Для регулировки наклона видеокамеры ослабляются гайки 50, 51, 52 ее крепления. Для регулировки положения осветителей 9, 10 необходимо ослабить соответствующие винты 33, 34 их крепления к основанию устройства 23, 24. Регулировка высоты платы первого 9 и второго 10 осветителей осуществляется специальным регулировочным винтом с внутренней шестигранной головкой (не показан), находящемся в одном из кронштейнов 29, 30, к которому крепится плата 27, 28. Для регулировки угла наклона платы 27, 28 со светодиодами необходимо ослабить винты 31, 32 ее крепления к кронштейну 29, 30. Регулировка фокусного расстояния объективов 43, 44, 45 соответствующих видеокамер 11, 12, 17 осуществляется с помощью поворота объектива в держателе и последующей его фиксации при помощи гайки 46, 47, 48 на объективе. После настройки оптических систем с помощью потенциометров осветителей и видеокамер (не показаны) устанавливают размах и контраст соответствующих видеосигналов. По окончании настройки проверяют затяжку всех резьбовых соединений, ослаблявшихся в процессе настройки, и стопорят их. После этого устройство устанавливается в банкнотообрабатывающую систему ИСС 300, с которой устройство соединяется при помощи разъема 25. В банкнотообрабатывающей системе контролируемая банкнота 1 перемещается со скоростью 2 м/сек с помощью устройства транспортировки 2. С левой стороны банкнота освещается первым осветителем 9, а справой стороны – вторым осветителем 10. Осветители 9 и 10 построены в виде линеек светодиодов с повышенной яркостью свечения, причем для обеспечения требуемых характеристик отраженного светового потока используется локальная пространственная коррекция яркости свечения отдельных светодиодных групп осветителя. Освещение банкноты линейками светодиодов происходит под углом к плоскости ее транспортирования, а кроме того, оси светодиодов, которые образуют веер лучей, сходящихся в направлении к банкноте, попадают на банкноту также под разными углами. Отраженные от поверхности банкноты лучи принимаются детекторами изображений первой 11 и второй 12 видеокамер, оптически сопряженных с соответствующими осветителями. Детекторы генерируют электрические сигналы, прямо пропорциональные уровню яркости отраженных от поверхности банкноты 1 лучей. При попадании в зону контроля участка банкноты с уровнем яркости, превышающем уровень яркости основного фона, в детекторе изображения возникают соответствующие электрические сигналы. После сравнения уровней яркости отраженных световых потоков принимается решение о подлинности контролируемой банкноты. В том случае, если устройство не обнаруживает специальную полосу в определенной зоне банкноты, то такая банкнота считается «сомнительной» и требует экспертизы на подлинность.
При попадании переднего края банкноты в зону действия осветителя формата 16, по сигналам с третьей видеокамеры 17 формируется форматный образ банкноты (ширина, наличие загнутых углов, недостающих частей и др.). После прохождения задней кромки банкноты через зону измерений по сигналам с третьей видеокамеры 17 формируется такой параметр, как длина банкноты. Осветитель формата 16 построен в виде линейки светодиодных полос с повышенной яркостью свечения. Все видеокамеры в устройстве – однострочные. Они построены на базе ПЗС-линеек с частотой строчной развертки порядка 6 кГц, что обеспечивает устойчивое формирование видеоизображения контролируемых устройством банкнот при скорости их движения по транспортной системе 2 м/с. В качестве ПЗС-линеек могут быть использованы, например, выпускаемые японской фирмой Sony линейные фоточувствительные приборы типа ILX-503A. Строчная развертка всех видеокамер синхронизирована: видеокамера 11, расположенная в левом датчике 20, работает в ведущем режиме, две другие 12, 17, расположенные в правом датчике 21, – в ведомом. Синхронизация центрального блока устройства – блока обработки данных 13 – осуществляется сигналом машинных тактов, поступающим от системы ИСС 300, а также импульсом светового барьера ИСБ, вырабатываемым приемником излучения светового барьера 15, расположенным в левом датчике 20, напротив излучателя 14 светового барьера, находящегося в правом датчике 21. Информационный обмен устройства с системой ИСС 300 происходит циклически, каждый цикл соответствует прохождению через устройство одной банкноты.
Таким образом, описанное устройство, в основу которого положен заявляемый способ определения подлинности банкнот, позволяет не только осуществить распознавание нанесенной на поверхность банкноты EURO поперечной полосы, коэффициент отражения которой лишь незначительно превышает коэффициент отражения основного фона банкноты, а также осуществляет обработку измеряемых параметров для последующих оценок:
– наличия и площади скотча по каждой стороне банкноты;
– признаков наличия сплошной поперечной полосы скотча на каждой стороне банкноты;
– длины и ширины банкноты;
– наличия загнутых углов;
– площади недостающих частей банкноты;
– признака высокого хода банкноты.
В настоящее время изготовлены опытные образцы описанного устройства и проверен в действии заявляемый способ определения подлинности банкнот на банкнотообрабатывающей системе ИСС 300.
ИСПОЛЬЗОВАННЫЕ ИСТОЧНИКИ
1. Авт. св. СССР 1336063, кл. G 07D 7/00, опубл. 1987 г.
2. Патент РФ 2158443, кл. G 07 D 7/00, G 06 К 9/00, опубл. 2000 г.
3. Заявка Японии 2908116 В2, кл. G 07 D 7/00, опубл. 1999 г.
4. Патент РФ 2169393, кл. G 07D 7/12, опубл. 2000 г.
5. Патент РФ 2115169, кл. G 07D 7/00, опубл. 1998 г. – прототип способа.
6. Патент РФ 2172982, кл. G 07D 7/12, G 06 К 9/58, 9/78, 9/80, опубл. 1998 г. – прототип устройства.
Формула изобретения
1. Способ определения подлинности банкнот, включающий освещение контролируемой банкноты источником излучения, прием фотоприемником отраженного от банкноты светового потока, измерение его уровня яркости, принятие решения о подлинности контролируемой банкноты по результатам сравнения уровней яркости световых потоков, отраженных от контролируемой банкноты, отличающийся тем, что освещение контролируемой банкноты, прием фотодатчиком отраженного от банкноты светового потока и измерение его уровня яркости осуществляют в видимой области спектра, причем освещение контролируемой банкноты производят под разными углами, а в качестве участков для сравнения уровней яркости световых потоков, отраженных от контролируемой банкноты, на фоне которой нанесена поперечная полоса с коэффициентом отражения, превышающим коэффициент отражения фона, на котором она нанесена, используют указанный фон и фрагменты банкноты с уровнем яркости, превышающим этот фон.
2. Устройство для определения подлинности банкнот, содержащее узел транспортировки банкнот, расположенные по одну сторону от него первый осветитель, представляющий собой линейку светодиодов, и приемное устройство, выполненное в виде видеокамеры с детектором изображения, выход которого электрически связан с блоком обработки данных, отличающееся тем, что устройство дополнено вторым осветителем, выполненным в виде линейки светодиодов, и оптически сопряженной с ним второй видеокамерой, расположенными относительно первых осветителя и видеокамеры по другую сторону от ремней узла транспортировки банкнот, при этом первый и второй осветители установлены под углами к плоскости транспортировки банкнот, линейки светодиодов первого и второго осветителей сформированы из светодиодов, излучающих в видимой области спектра, при этом оптические оси светодиодов образуют веер лучей, в устройство также введен датчик светового барьера, состоящий из оптически сопряженных излучателя и приемника светового барьера, расположенных по разные стороны от ремней узла транспортировки банкнот, при этом приемник и излучатель светового барьера электрически связаны с блоком обработки данных.
3. Устройство для определения подлинности банкнот по п.2, отличающееся тем, что оно дополнено третьим осветителем – осветителем формата, и оптически сопряженной с ним третьей видеокамерой, расположенными по разные стороны от ремней узла транспортировки банкнот, при этом осветитель формата и детектор изображения третьей видеокамеры подключены к блоку обработки данных.
РИСУНКИ
|
|