|
|
(21), (22) Заявка: 2004110977/28, 13.04.2004
(24) Дата начала отсчета срока действия патента:
13.04.2004
(43) Дата публикации заявки: 20.09.2005
(45) Опубликовано: 10.03.2006
(56) Список документов, цитированных в отчете о поиске:
V.I.Afanasjev et al, preprint of Ioffe Physical-Technical Institute 1406, 1989. W.Hermann, Plasma Phys. Contr. Fusion 32, 1990, р.605. SU 696638 A1, 05.11.1979. US 5804965 А, 08.09.1998. Воронов Г.С., Попрядухин А.П., Экспериментальные исследования действия возмущений на винтовое магнитное поле, – “Техническая физика”, т.34, №10, 1964, c.1786.
Адрес для переписки:
123182, Москва, пл. Курчатова, 1, Центр по внешнеэкономической деятельности, Директору В.П. Кочеткову
|
(72) Автор(ы):
Медведев Александр Александрович (RU), Стрелков Вячеслав Сергеевич (RU)
(73) Патентообладатель(и):
Российский научный центр “Курчатовский институт” (RU)
|
(54) СПОСОБ ИЗМЕРЕНИЯ НАПРАВЛЕНИЯ МАГНИТНОГО ПОЛЯ В ВАКУУМНЫХ УСТАНОВКАХ
(57) Реферат:
Изобретение относится к бесконтактному измерению направления магнитного поля в вакуумных установках с большим объемом, в частности в реакторах термоядерного синтеза типа “Токамак”. Согласно способу инжектируют пучок атомов в объем, содержащий плазму в виде плазменного шнура и являющийся мишенью для упомянутого пучка, для образования атомарных ионов в результате взаимодействия атомов пучка с мишенью, причем ось пучка пересекает ось плазменного шнура под прямым углом, с последующей перезарядкой атомарных ионов в атомы, и измеряют детектором преимущественное направление вылета атомов, образовавшихся в результате перезарядки атомарных ионов, по которому судят о направлении магнитного поля. Может использоваться пучок атомов водорода или инертных газов с энергией 1-300 кэВ. Преимущественное направление вылета атомов может измеряться одним или несколькими коллимированными полупроводниковыми детекторами. Этим повышается точность, пространственное и временное разрешение измерений. 4 з.п. ф-лы, 2 ил. 
Изобретение относится к способу бесконтактного измерения направления магнитного поля в вакуумных установках, содержащих плазму в виде плазменного шнура. К таким установкам относятся установки типа Токамак. Работа промышленного термоядерного реактора-токамака невозможна без надежных измерений конфигурации магнитного поля в плазме. В настоящее время такие способы измерений отсутствуют.
Известен способ измерения конфигурации магнитного поля, основанный на динамическом эффекте Штарка (Motional Stark Effect, MSE) [F.Levinton et al. Rev. Sci. Instr., 61 (1990) p.2914]. Способ основан на следующих физических принципах. Пучок атомов водорода с энергией 20 кэВ-1 МэВ инжектируют в вакуумный объем по касательной к направлениям магнитного поля. В этом вакуумном объеме существует магнитное поле и нейтральный газ и/или заряженные частицы (мишень). При движении атомов в магнитном поле происходит штарковское расщепление электронных уровней. Такое расщепление приводит к расщеплению спектральной линии Н , излучаемой при возбуждении атома, на несколько компонент. Центральная компонента штарковского спектра линейно поляризована, причем вектор поляризации направлен так же, как и силовая линия магнитного поля в области измерений. Для измерения направления магнитного поля в зоне измерений сначала при помощи диспергирующих приборов выделяют из спектра центральную компоненту, затем при помощи поляриметра измеряют направление вектора поляризации. Этим способом невозможно измерять конфигурацию магнитного поля в больших вакуумных системах, таких как, например, токамак-реактор, по следующим причинам.
– Применение пучка с энергией порядка десятков кэВ приводит в условиях большого размера и высокой плотности плазмы к неприемлемо большому ослаблению пучка. С повышением энергии инжектируемых атомов падают скоростные коэффициенты возбуждения, что приводит к малой яркости линии Н и низкой контрастности полезного сигнала над уровнем континуума.
– Низкая фотонная статистика влечет за собой необходимость применения оптической системы с большой светосилой. Увеличение оптической эффективности неизбежно связано с увеличением размеров входных зеркал и окна в бланкете, большим необходимым объемом диагностического канала. Срок службы первого зеркала в таких условиях не может быть достаточным, а оптические свойства будут нестабильными. Эффективность нейтронной защиты снижается из-за большого объема диагностического канала.
– Входная оптическая система в условиях реактора включает минимум 4-5 зеркал. При отражении от поверхности металла линейная поляризация света, в общем случае, превращается в эллиптическую. Таким образом, многократные отражения существенно снижают точность измерений. Скомпенсировать этот эффект в системе с большой численной апертурой невозможно.
– Ряд рефрактивных оптических элементов (вакуумные окна, линзы, поляриметр) необходимо размещать в области, где существует значительное рассеянное магнитное поле. Необходимо учитывать фарадеевское вращение в этих элементах, что практически можно сделать только при помощи калибровки in-situ.
– Необходимо учитывать радиальное электрическое поле, возникающее в режимах с улучшенным удержанием. На практике это делается при помощи измерений на другой энергетической фракции пучка, либо посредством дополнительной оптической системы. В ряде случаев (ITER) предполагается использовать ионные источники на отрицательных ионах, энергетические фракции в пучках отсутствуют. Использование дополнительного оптического тракта удваивает перечисленные проблемы.
Также известен способ [V.I.Afanasjev et al. Preprint of Ioffe Physical-Technical Institute 1406, 1989; W.Hermann, Plasma Phys. Contr. Fusion 32 (1990) p.605], сущность которого заключается в следующем. Пучок водородных молекул инжектируют в вакуумный объем, в котором существует магнитное поле и нейтральный газ и/или заряженные частицы, которые (как молекулы и атомы газа, так и заряженные частицы) служат мишенью для ионизации молекул с образованием молекулярных ионов:



Образовавшийся молекулярный ион движется по окружности, лежащей в плоскости примерно перпендикулярной направлению магнитного поля. Время жизни молекулярного иона невелико, происходит диссоциация иона на атомарный ион и атом: раектория образовавшегося атома лежит в той же плоскости, что и круговая траектория

молекулярного иона. Измерение преимущественного направления движения атомов, возникающих в процессе диссоциации, при помощи масс-спектрометрического анализатора позволяет определить направление магнитного поля в зоне измерений.
Указанный способ не позволяет проводить измерения в случае, если мишень (область, занятая газом или плазмой) имеет большие размеры и/или высокую плотность, например в токамаке-реакторе, по следующим причинам.
– Для измерений в мишени с высокой оптической плотностью необходимы молекулярные пучки с высокими энергией и плотностью тока, получение таких пучков по ряду причин крайне затруднено.
– Частота регистрируемых событий, определяемая сечениями соответствующих атомных процессов, невелика; это ограничивает временное и пространственное разрешение измерений, снижает точность измерений.
Техническим результатом, на которое направлено изобретение, является повышение точности бесконтактного измерения направления магнитного поля в вакуумных установках, содержащих плазму в виде плазменного шнура с большими размерами магнитного поля и с высокой плотностью мишени, таких как токамак-реактор.
Для достижения указанного результата предложен способ измерения направления магнитного поля в вакуумной установке, содержащей плазму в виде плазменного шнура, согласно которому инжектируют пучок атомов в объем, содержащий плазму, и являющийся мишенью для упомянутого пучка для образования атомарных ионов в результате взаимодействия атомов пучка с мишенью, причем ось пучка пересекает ось плазменного шнура под прямым углом с последующей перезарядкой атомарных ионов в атомы, и измеряют детектором преимущественное направление вылета атомов, образовавшихся в результате перезарядки атомарных ионов, по которому судят о направлении магнитного поля.
Кроме того, инжектируют пучок атомов водорода или инертных газов.
В частности, инжектируют пучок атомов с энергией 1-300 кэВ.
Преимущественное направление вылета атомов перезарядки измеряют полупроводниковым коллимированным детектором.
Преимущественное направление вылета атомов можно измерять несколькими коллимированными полупроводниковыми детекторами, установленными в плоскости, пересекающей ось пучка в области измерений, причем оси коллимированных полупроводниковых детекторов пересекаются в одной точке, лежащей на оси инжектируемого пучка.
Предлагаемый способ основан на инжекции пучка атомов, имеющих энергию от единиц до сотен кэВ, в вакуумный объем, в котором существует магнитное поле и заряженные частицы (и, возможно, нейтральный газ), которые (как заряженные частицы, так и молекулы и атомы газа) служат мишенью для образования атомарных ионов. Оптимальная энергия инжектируемых атомов зависит от конкретных условий, в которых проводятся измерения (размеров и плотности мишени), и выбирается таким образом, чтобы, с одной стороны, не допустить чрезмерного ослабления пучка в мишени до области измерений (проникающая способность пучка, как правило, растет с увеличением энергии), с другой стороны, обеспечить достаточно высокую скорость реакции перезарядки, также зависящую от энергии пучка. Для повышения пространственного и временного разрешений инжекцию осуществляют таким образом, чтобы ось пучка была примерно перпендикулярна направлению магнитного поля в области измерений (предполагается, что изменение направления магнитного поля происходит таким образом, что вектор магнитной индукции все время находится в одной плоскости, причем ориентация последней примерно известна).
В результате взаимодействия атомов пучка с частицами мишени образуются атомарные ионы, имеющие энергию, близкую к энергии атомов пучка. Ионы захватываются магнитным полем и движутся по окружности, лежащей в плоскости, перпендикулярной направлению магнитного поля.
По крайней мере часть траектории таких ионов лежит в объеме пучка, поэтому существует вероятность перезарядки иона на атоме пучка. Если в мишени присутствуют атомы или молекулы, то перезарядка будет происходить и на этих частицах.
Образовавшийся в результате перезарядки атомарного иона атом будет двигаться по прямой, лежащей в той же плоскости, что и круговая траектория исходного иона, т.е. перпендикулярно направлению магнитного поля.
Измеряя при помощи различных коллимированных детекторов (полупроводниковых, вторично-эмиссионных, сцинтилляционных и т.д.) преимущественное направление вылета атомов, образовавшихся в результате перезарядки атомарных ионов, из некоторой области пересечения пучка с мишенью, можно получить информацию о направлении вектора магнитной индукции в этой области и соответственно о конфигурации магнитного поля в установке.
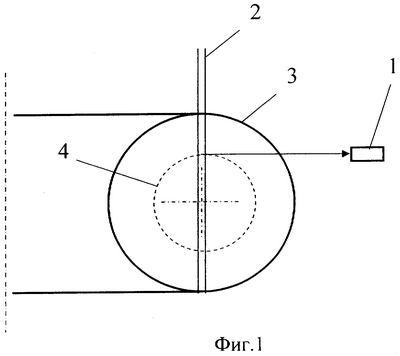
На Фиг.1 показан вертикальный разрез, а на Фиг.2 – горизонтальный разрез токамака, где:
1 – детектор,
2 – пучок атомов,
3 – вакуумная камера токамака,
4 – магнитная поверхность,
5 – магнитная силовая линия,
6 – ось плазменного шнура.
Способ осуществляется следующим образом.
Пучок водородных атомов 2 с энергией 30 кэВ и эквивалентным током 2,5 А инжектируется в дейтериевую плазму через центр сечения плазменного шнура в установке токамак Т-10. Ось пучка пересекает ось плазменного шнура под прямым углом. При выполнении этих условий ось пучка практически перпендикулярна всем магнитным поверхностям 4 плазмы, имеющим тороидальную форму.
Атомы пучка подвергаются ионизации в результате столкновений с электронами и ионами, а также перезарядке на ионах плазмы:
H0+e H++2e
Н0+D+ H++D++e
H0+D+ H++D0
Образующиеся атомарные ионы водорода захватываются магнитным полем и двигаются по окружности диаметром в несколько мм. Затем ионы перезаряжаются на атомах пучка:
H++H0* H0+H+*
и покидают плазменный шнур, причем их траектории (на фиг.2 показаны стрелкой) лежат в плоскости, перпендикулярной магнитной силовой линии 5 в точке перезарядки. На Фиг.2 угол m – это угол наклона магнитной силовой линии (вектора магнитной индукции) по отношению к оси плазменного шнура.
Для определения преимущественного направления вылета атомов, образовавшихся в результате перезарядки атомарных ионов, используются линейки коллимированных кремниевых полупроводниковых детекторов 1, установленных в одной плоскости, пересекающей ось пучка в области измерений под прямым углом, причем оси коллиматоров пересекаются в одной точке, лежащей на оси инжектируемого пучка.
Таким образом, предложенный способ измерения, основанный не на процессе диссоциации молекулярных ионов, а процессе перезарядки атомарных ионов на нейтралах пучка (и мишени, если последняя состоит частично из атомов или молекул) позволяет при любых размерах вакуумных установок и любой плотности мишени измерить направление магнитного поля с высокой точностью.
Формула изобретения
1. Способ измерения направления магнитного поля в вакуумной установке, содержащей плазму в виде плазменного шнура, согласно которому инжектируют пучок атомов в объем, содержащий плазму и являющийся мишенью для упомянутого пучка, для образования атомарных ионов в результате взаимодействия атомов пучка с мишенью, причем ось пучка пересекает ось плазменного шнура под прямым углом, с последующей перезарядкой атомарных ионов в атомы и измеряют детектором преимущественное направление вылета атомов, образовавшихся в результате перезарядки атомарных ионов, по которому судят о направлении магнитного поля.
2. Способ по п.1, отличающийся тем, что инжектируют пучок атомов водорода или инертных газов.
3. Способ по п.1, отличающийся тем, что инжектируют пучок атомов с энергией 1-300 кэВ.
4. Способ по п.1, отличающийся тем, что преимущественное направление вылета атомов измеряют полупроводниковым коллимированным детектором.
5. Способ по п.1, отличающийся тем, что преимущественное направление вылета атомов измеряют несколькими коллимированными полупроводниковыми детекторами, установленными в плоскости, пересекающей ось пучка в области измерений, причем оси коллимированных полупроводниковых детекторов пересекаются в одной точке, лежащей на оси инжектируемого пучка.
РИСУНКИ
|
|