|
|
(21), (22) Заявка: 2002103517/15, 04.08.2000
(24) Дата начала отсчета срока действия патента:
04.08.2000
(30) Конвенционный приоритет:
20.04.2000 CA 2306315
(43) Дата публикации заявки: 10.10.2003
(45) Опубликовано: 10.03.2006
(56) Список документов, цитированных в отчете о поиске:
US 5587295 A, 24.12.1996. E.A.СТРОЕВ «Биологическая химия», 1986, стр.269-274.
(85) Дата перевода заявки PCT на национальную фазу:
06.03.2002
(86) Заявка PCT:
CA 00/00918 (04.08.2000)
(87) Публикация PCT:
WO 01/11359 (15.02.2001)
Адрес для переписки:
191036, Санкт-Петербург, а/я 24, “НЕВИНПАТ”, пат.пов. А.В.Поликарпову
|
(72) Автор(ы):
ИВЛИ Майкл Дж. (CA)
(73) Патентообладатель(и):
ПреМД Инк. (CA)
|
(54) СПЕКТРОФОТОМЕТРИЧЕСКИЕ ИЗМЕРЕНИЯ В БИОХИМИЧЕСКИХ И ИММУНОЛОГИЧЕСКИХ ИСПЫТАНИЯХ, ОСНОВАННЫХ НА НАЛИЧИИ ОКРАСКИ
(57) Реферат:
Изобретение относится к области биологической химии. Сущность изобретения состоит в том, что разработан способ анализа образца биологического материала при проведении биохимического или иммунологического теста в тех случаях, когда при обработке образца образуется окраска, насыщенность которой коррелирует с количеством определяемого вещества. При этом измеряют, по меньшей мере, одну характеристику цвета, выбранную из группы: угол окраски, цветности, насыщенности и яркости полученного цвета. Описаны конкретные применения по определению раковых и предраковых аномалий при анализе слизи легких, горла, шейки матки или семенной жидкости. Технический результат – расширение арсенала диагностических средств, предназначенных для выявления раковых и предраковых состояний. 5 н. и 19 з.п. ф-лы, 4 ил. 
Данное изобретение относится к биохимическим и иммунологическим испытаниям и тестам, основанным на наличии окраски, в которых образец, являющийся предметом определения или испытания, подвергают спектрофотометрическим измерениям для определения его цветовых характеристик, в частности угла окраски и/или степени насыщенности цвета. Доказано, что испытания, в которых используются такие измерения, являются полезными для получения количественных или полуколичественных результатов в широком диапазоне медицинских тестов и процедур по выявлению заболеваний, а также методов диагностики.
Как более подробно описано ниже, многие диагностические тесты зависят от визуального наблюдения и оценки цвета, который появляется в образце биологического материала при обработке этого образца реагентами, которые вызывают образование цвета в положительной корреляции с количеством анализируемого вещества, то есть конкретного соединения, содержание которого должно быть оценено (например, холестерина), или специфических молекулярных маркеров, присутствующих в образце и являющихся показателем патологического состояния, например рака.
Испытания, которые требуют визуального определения и оценки изменений цвета, являются удобными и часто адекватны в качестве предварительной, субъективной оценки наличия определяемого соединения или маркера заболевания, но они по существу не являются количественными.
Автор настоящего изобретения неожиданно обнаружил, что измерение угла цветового тона и/или цветности, а также связанных с этим цветовых характеристик с помощью отражательной спектрофотометрии позволяют проводить по меньшей мере полуколичественные измерения результатов испытания. Из таких измерений одной или более конкретных характеристик цвета испытуемого образца получают много ценной информации, связанной с наличием или отсутствием прогрессирующих заболеваний, таких как рак, а также со стадией их развития.
Тест на рак на основе измерения окраски
Из патента США 5162202 известно, что для определения рака прямой кишки и раковых заболеваний толстого кишечника у пациентов-людей необходимо обследовать слизистую прямой кишки. Эту слизистую отбирают на мембранный фильтр. Мембранный фильтр из целлюлозы предварительно подготавливают путем его пропитки раствором энзима галактозооксидазы в фосфатном буфере с последующей лиофилизацией. При использовании мембранный фильтр из целлюлозы смачивают, а затем приводят в контакт с мембранным фильтром, на который нанесен образец слизистой, на 1-2 часа. Затем фильтр с нанесенной слизистой промывают и обрабатывают основным фуксином в течение 15 минут, промывают и сушат. Обесцвечивание фуксина указывает на наличие в слизистой углеводных маркеров раковых и предраковых состояний. Такой тест является продолжительным и сложным в исполнении и не обеспечивает высокой степени чувствительности, поэтому он может дать ложные отрицательные результаты.
Усовершенствованный тест слизистой прямой кишки описан в патенте США 5348860 (Shamsuddin), опубликованном 20 сентября 1994 г. В этой процедуре образец слизистой отбирают и иммобилизуют на мембранном фильтре и обрабатывают галактозооксидазой для того, чтобы провести окисление всех вицинальных групп галактозы в образце до вицинальных альдегидных групп. Их визуализируют реагентом Шиффа. Это более быстрая процедура. Образцы, которые при этом способе дали отрицательный результат, можно окислить дополнительно йодной кислотой, а затем визуализировать реагентом Шиффа, чтобы уменьшить вероятность получения ложных отрицательных результатов.
Постоянной проблемой известных тестов слизистой является необходимость визуально определить и оценить результаты окрашивания. В то время как такие исследования являются адекватными в качестве предварительных, субъективных оценок наличия или отсутствия маркеров рака, они являются лишь качественными. Они не дают надежной количественной информации о количестве и концентрации маркеров, которые были обнаружены и которые могли бы указать на степень развития ракового состояния, если оно присутствует. Кроме того, среда, на которую наносятся образцы, обычно мембрана из целлюлозы, такая как бумажный фильтр, сама может содержать соединения, способные участвовать в реакциях, связанных с появлением цвета. Это может дать “фон”, усложняющий интерпретацию результатов испытания и снижающий его чувствительность. Это требует квалифицированного персонала, обученного интерпретировать результаты испытания.
Основанное на наличии окраски испытание на уровень холестерина
Связь высокого уровня холестерина в сыворотке пациентов со склонностью к развитию атеросклероза и, следовательно, увеличенной опасности поражения коронарных сосудов сердца, инфаркта и PVD, твердо установлена, поэтому желательно часто контролировать уровень холестерина у пациентов. Обычно уровень холестерина определяют в отобранных образцах крови. Чаще всего на отобранных образцах крови также проводят и многие другие диагностические тесты, но большую часть из них необходимо проводить через более длительные интервалы времени, чем определение холестерина. Инвазивный характер процедуры отбора крови для анализа на холестерин лишает многих пациентов желания проводить проверку на холестерин так часто, как это необходимо. Соответственно существует потребность проводить тест на холестерин без инвазии.
Оценено, что кожа содержит около 11% от общего холестерина тела, что в значительной степени является результатом эпидермального образования стероидов и диффузии холестерина из кровеносных сосудов. Было постулировано, что уровень холестерина в коже может более точно отражать степень развития атеросклероза, чем количество холестерина в сыворотке.
Никитин Ю.П., Горденко И.А., Долгов А.В. и Филимонова Т.А. (“Содержание холестерина в коже и его корреляция с оценкой липидов в сыворотке в норме и у пациентов с ишемической болезнью сердца”, Кардиология, 1987, №10, с.48-51) и другие показали, что имеется тесная корреляция между содержанием холестерина в стенках артерий и содержанием холестерина в коже пациента. Это предполагает возможность разработки тестов на коже для определения уровня холестерина у пациента.
Однако способ, описанный Никитиным и др., включает удаление и анализ образцов кожи in vitro, что является непрактичным в клиническом применении.
В патентах США 5489510 и 5587295 (Лопухин и др.) описан диагностический тест без инвазии, который проводят на поверхности кожи пациента и который показывает уровень холестерина в коже. В тесте, описанном в этих патентах, применяют реагенты в виде соединений, обладающих сродством к ферментам, бифункциональных по своей природе. Такое бифункциональное соединение А-В включает связующий агент А (например, дигитонин), который способен избирательно образовывать стабильные комплексы с холестерином кожи, чтобы придать бифункциональному соединению в целом сродство к холестерину; и визуализирующий агент В, например фермент, такой как пероксидаза, позволяющий определить наличие бифункциональных соединений, связанных с холестерином кожи. При практическом использовании этого теста комплекс из связующего агента А и визуализирующего агента В, возможно, в сочетании с мостикообразующим агентом С для улучшения чувствительности теста, например бифункциональное соединение А-С-В, может быть нанесен на кожу ладони руки пациента. Мостикообразующий агент С может представлять собой высокомолекулярное полифункциональное соединение, такое как полисахарид или протеин; оно служит для разделения визуализирующего агента и связующего агента с целью свести к минимуму стерическое затруднение реакции связывающего холестерин агента. После соответствующего инкубационного периода для обеспечения связи комплекса с холестерином кожи поверхность полностью промывается чистой водой для удаления несвязанных реагентов. Затем прореагировавшую поверхность обрабатывают агентом-индикатором D с целью проведения реакции с визуализирующим агентом В для образования цвета. Чем выше уровень холестерина, тем выше степень образования связей бифункционального соединения с кожей и тем выше степень появления цвета.
Тест на холестерин, основанный на вышеупомянутых патентах Лопухина и др., был разработан на коммерческом уровне и внедрен в коммерческую практику. Он включает обеспечение набора, включающего реагенты, и цветовой карты или считывающего устройства. Большинство реагентов содержатся в флаконе, который пользователь прикладывает к испытуемой поверхности на ладони руки после удаления защитной крышки. После выдержки пользователь накладывает агент-индикатор и визуально оценивает степень происходящего изменения цвета с помощью цветовой карты или использует считывающее устройство.
Одним из недостатков такого теста является необходимость визуальной оценки изменений цвета. Поскольку предполагается, что тест может быть проведен неквалифицированным персоналом, например пациентом, то визуальная оценка полученного изменения цвета является субъективной и в существенной степени неколичественной. Это может дать значимое показание уровней холестерина и, следовательно, потенциально существующих проблем, но не количественные измерения такого типа, который обычно предпочитает лечащий врач. На эту оценку легко может повлиять природа и цвет фона, а именно кожи.
Задачей данного изобретения является создание нового способа определения и измерения результата биохимического или иммунологического испытания, основанного на образовании окраски, не связанного с субъективной визуальной оценкой. Более конкретно задачей является создание способа измерения, поддающегося количественной оценке, количества определяемого соединения в образце биологического материала, который был подвергнут биохимическому или иммунологическому испытанию, вызывающему образование цвета в положительной корреляции с количеством указанного определяемого соединения.
Задачей данного изобретения является также создание нового теста жидких и полужидких секреций тела, а также набора для использования в этом тесте, пригодных для диагностики рака.
Кроме того, более специфической задачей данного изобретения является создание нового теста ректальных слизистых и других секреций, жидких и полужидких, включая стул, и их смесей, и набора для использования в этом тесте, в котором преодолены или по меньшей мере значительно уменьшены один или более из приведенных выше недостатков. В последующем описании термин “контактирующие с толстой кишкой полутвердые вещества” используются для обозначения слизи, стула и других жидких и полутвердых веществ, полученных из прямой кишки или толстой кишки пациента и их смесей, которые обеспечивают пригодный для анализа материал для использования в способе по данному изобретению.
Задачей данного изобретения является также обеспечение нового диагностического, проводимого без инвазии теста на холестерин.
Кроме того, более специфической задачей является создание такого теста на холестерин, который способен дать по меньшей мере полуколичественные результаты.
С позиции преодоления недостатков предшествующих диагностических тестов, основанных на необходимости визуальной оценки изменений цвета, данное изобретение в его самом широком аспекте использует некоторые специфические параметры, которые можно определить с помощью спектрофотометра, но которые ранее не использовались для данных областей применения. Эти колориметрические параметры исследуют и анализируют для обеспечения исследований и диагнозов с повышенной чувствительностью и специфичностью. Цвет, образующийся при испытании или тесте, измеряют при различных длинах волн; измеряют угол цветового тона и/или цветность с целью обеспечения значимой информации, относящейся к наличию или отсутствию определяемых соединений, болезненных состояний или других условий, которые являются целью испытания или теста, основанного на образовании окраски. В некоторых случаях измерение дополнительных характеристик цвета, таких как яркость или насыщенность, может еще более улучшить чувствительность теста или испытания.
В соответствии с другим аспектом данного изобретения предложен способ диагностирования жидких или полутвердых образцов секреций тела пациента для доказательства нарушений в тканях или органах, из которых выделяются эти секреции, который включает отбор образца жидкой или полутвердой секреции тела у пациента, размещение по меньшей мере части этого образца на субстрат, как правило, белый, окрашивание образца на субстрате и проявление цвета окрашенного образца, определение конкретной цветовой характеристики проявленной окраски образца с помощью спектрофотометрии и классифицирование образца как нормального или аномального в зависимости от значения полученной таким образом конкретной характеристики окраски.
В соответствии с еще одним аспектом данного изобретения предложена система для анализа жидких и полутвердых образцов секреции тела, полученных от пациентов-людей, с целью диагностики наличия или отсутствия отклонений у пациентов путем использования определения конкретной характеристики цвета, полученного в образце, выбранной из угла окраски, цветности или насыщенности и яркости, причем указанная система включает:
белый, не содержащий целлюлозы субстрат с пористой “зернистой” поверхностью, для принятия и удерживания образца при обработке;
источник галактозооксидазы, приспособленный для нанесения галактозооксидазы на поверхность субстрата для селективного ферментативного окисления образца, нанесенного на эту поверхность;
источник реагента Шиффа, приспособленный для нанесения реагента Шиффа на окисленный образец на субстрате для проявления пригодных для анализа характеристик;
и средства для представления образца с проявленной окраской в портативный отражательный спектрофотометр, способный определить и выдать конкретную характеристику цвета, выбранную из угла цветового тона, цветности или насыщенности цвета и яркости, в окрашенных образцах на указанном субстрате.
В соответствии с еще одним, более конкретным аспектом изобретения предложен способ диагностирования ректальных полутвердых образцов, контактирующих с толстой кишкой, для доказательства аномалий у пациента, который включает отбор контактирующего с толстой кишкой полутвердого образца у пациента, помещение по меньшей мере части этого образца на субстрат, обычно белый, окрашивание образца на субстрате галактозооксидазой, проявление цвета окрашенного образца с помощью реагента Шиффа, определение конкретной цветовой характеристики проявленного цвета образца с помощью спектрофотометрии и классифицирование образца как нормального или аномального в соответствии со значением полученной таким образом определенной характеристики цвета.
В соответствии с еще одним аспектом данного изобретения предложен набор для анализа полутвердых образцов, контактирующих с толстой кишкой и полученных от пациентов-людей, с целью диагностирования на наличие или отсутствие ректальных аномалий у пациента, включающий:
обычно белый, не содержащий целлюлозы субстрат для приема образца;
источник галактозооксидазы;
источник реагента Шиффа;
и портативный отражательный спектрофотометр, способный определять и выдавать конкретную характеристику цвета, выбранную из угла цветового тона, цветности или насыщенности цвета и яркости окрашенных образцов на указанном субстрате.
В соответствии с другим аспектом данного изобретения предложен тест, в котором жидкие или полутвердые реагенты наносят на кожу пациента, чтобы связать холестерин кожи с последующим проявлением окраски в реагентах, причем степень проявления окраски непосредственно связана с количеством холестерина в коже. Однако вместо визуальной оценки жидкие или полутвердые реагенты, в которых проявился цвет, анализируют колориметрически с целью определения степени проявления окраски, откуда можно по меньшей мере полуколичественно получить уровень холестерина. Выбранные колориметрические параметры, такие как угол цветового тона или оттенок, не зависят от плотности окраски, интенсивности или яркости (L) и просто измеряют оттенок цвета. Это в значительной степени устраняет неопределенности, вносимые фоновым цветом кожи, поэтому этот тест можно проводить на поверхности кожи пациента. Инструментальный колориметрический (спектрофотометрический) анализ дает объективные цифры, которые являются по меньшей мере полуколичественными и показывают уровень холестерина у пациента.
В соответствии с данным изобретением еще в одном аспекте предложен способ определения уровней холестерина в коже пациента, который включает:
нанесение на поверхность кожи человека реагента, который селективно связывается с холестерином кожи;
осуществление химической реакции проявления окраски с образованным таким образом соединением холестерин кожи – связывающий реагент с образованием окрашенного комплекса;
и проведение спектрофотометрического анализа полученного таким образом окрашенного комплекса с целью получения заданной характеристики цвета окрашенного комплекса.
Еще одним аспектом данного изобретения является набор для определения уровней холестерина в коже пациента-человека, включающий:
источник агента-детектора, способного к связыванию с холестерином кожи пациента с образованием их соединения на поверхности кожи;
источник визуализирующего агента, способного к реакции с соединением агент-детектор – связывающий агент с образованием при этом оптически измененного комплекса;
источник проявляющего агента и средства для нанесения проявляющего агента на оптически измененный комплекс для проявления в нем окраски;
и средства для удерживания и для представления указанного оптически измененного комплекса в портативный отражательный спектрофотометр для определения конкретной характеристики его цвета, выбранной из угла цветового тона, цветности или насыщенности.
КРАТКОЕ ОПИСАНИЕ ЧЕРТЕЖЕЙ
При последующем описании предпочтительного варианта выполнения данного изобретения в части, касающейся вышеупомянутого аспекта изобретения, относящегося к способу и к набору для определения уровней холестерина у пациента, приведены ссылки на фигуры чертежей, где:
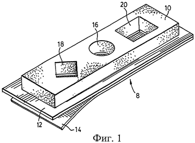
фиг.1 представляет собой схематическое изображение полоски для проведения теста, используемой по данному изобретению при определении уровней холестерина в коже пациента;
фиг.2 представляет собой изображение спектрофотометрического считывающего устройства при его использовании для измерения уровня холестерина в коже по данному изобретению и в его открытом положении;
фиг.3 изображает то же, что и фиг.2, но спектрофотометр находится в закрытом положении;
фиг.4 представляет собой подробное изображение нижней части или колодки, спектрофотометра, показанного на фиг.2 и фиг.3.
Как очевидно из вышеприведенного обсуждения, основное изобретение заявителя – использование колориметрических измерений, в частности насыщенности цвета и/или угла цветового тона для определения результатов испытаний и тестов, основанных на образовании окраски, – находит применение в целом ряде аспектов и вариантов выполнения. Таким образом, ниже будут описаны два аспекта данного изобретения и предпочтительные варианты их выполнения, раздельно и под отдельными заголовками.
Спектрофотометрами, пригодными для применения во всех аспектах данного изобретения, являются портативные, основанные на отражении приборы, обеспечивающие точное измерение цветовых характеристик, таких как угол цветового тона, яркость и цветность или насыщенность цвета, в которых падающий луч спектрофотометра отражается от окрашенного образца и попадает на приемное устройство прибора. Они имеются в продаже. Конкретным примером подходящего прибора является спектрофотометр “Model CA22”, распространяемый X-Rite, Grand Falls, Michigan, U.S.A. Он снабжен соответственным программным обеспечением, так что его можно соединить с компьютером для обеспечения точного считывания угла цветового тона окрашенного образца при проведении испытания. Этот спектрофотометр воспринимает отраженный свет с длиной волны приблизительно 400-700 нм, то есть в большей части видимого спектра, обычно с интервалами примерно в 20 нм.
Известно, что цвет можно определить и выразить с точки зрения угла цветового тона. Концепция “угла цветового тона ” определена и обсуждена в стандартных учебниках, таких как “Принципы технологии цвета” (“Principles of Color Technology”, Fred W. Billmeyer and Max Saltzman; Ed. John Wiley and Sons) (см. особенно главы 1 и 2), включенном здесь путем ссылки. “Цветовой тон” – то цвет или тон образца, не зависящий от его яркости или интенсивности, а “угол цветового тона” для цвета или тона – это определение длины волны его отраженного цвета с помощью его углового положения относительно стандартной трехмерной эллипсоидальной системы координат континуума общего спектра видимого света. Континуум видимого света (цвета) представлен на угловой шкале от 0 до 360°, а угловые значения, считываемые спектрофотометром, работающим в отраженном свете, преобразуются в линеаризованную форму с получением трансформированного “угла цветового тона”, используемого в способе по данному изобретению.
(i) Тест на рак
Неожиданно было обнаружено, в соответствии с данным изобретением, что наличие всего диапазона патологий, включая патологии кишечника, легких, шейки матки и другие, можно определить путем определения угла цветового тона или другой определенной упомянутой выше цветовой характеристики цвета, полученного на жидкой или полутвердой секреции тела из соответствующей ткани или органа тела. Реакция и спектрофотометрический анализ слизи из прямой кишки будет служить для диагностики рака толстого кишечника. Так, у индивидуумов с раком прямой кишки образцы слизи из прямой кишки после окрашивания и проявления цвета, как это описано, имеют более высокие значения угла цветового тона, чем у тех, кто имеет нормальный кишечник. Таким образом, угол цветового тона или другая конкретная цветовая характеристика окрашенного образца может использоваться для того, чтобы отличить индивидуумов с раковыми поражениями кишечника от тех, которые не имеют таких поражений. Более конкретно было обнаружено, что образцы, взятые при раковых поражениях, имели углы цветового тона обычно в интервале 375-425°, верхняя квартиль измерений для клинических образцов. Кроме того, поскольку результат теста интерпретируется с помощью портативного спектрофотометра, отсутствует требование, чтобы результаты теста были получены квалифицированным, обученным персоналом.
Подобным образом рак легких и предраковые состояния легких можно диагностировать, подвергая слизь и мокроту из легких подобному же окрашиванию и спектрофотометрическому анализу. Рак и предраковое состояние шейки матки можно диагностировать с помощью таких же процедур, примененных к слизи из шейки матки. Семенные секреции, например сперму, можно проанализировать таким же образом на рак репродуктивных органов, например рак яичек. Слизь из горла можно подобным же образом проанализировать для обнаружения и диагностики рака горла. Слизь из горла и легких можно получить с помощью известных процедур, таких как бронхоскопия или бронхо-альвеолярные смывы. Жидкость, отобранная из сосков груди, является жидкостью тела, которую подобным же образом можно проанализировать способом по данному изобретению при проведении теста на рак груди.
Существенным моментом предпочтительных вариантов выполнения данного изобретения является применение пористой мембраны из стекловолокна, на которой образец окисляется и его цвет проявляется. Такой материал из стекловолокна в значительной степени лишен частиц, образующих окраску, поэтому в нем нет частиц, которые будут подвергаться ферментативному окислению и принимать участие в последующей реакции проявления цвета. В соответствии с этим эффективно устраняется проявление фоновой окраски, которая может исказить диагностические тесты или препятствовать им. Кроме того, эта мембрана является по существу чисто белой по цвету, что дополнительно снижает фоновый “шум”, относительно которого считываются результаты.
Дополнительной характеристикой мембраны из стекловолокна в этом аспекте данного изобретения является пористость поверхности, которая позволяет осуществить дополнительное распространение образца слизи на нем таким образом, чтобы экспонировать дополнительные углеводные маркеры в образце для участия их в реакциях окислении и проявления цвета и, следовательно, для улучшения чувствительности способа испытания.
Конкретным, предпочтительным примером пористой мембраны из стекловолокна для использования в данном изобретении является материал, поступающий в продажу от Лабораторного отдела фирмы Whatman Inc. под названием “Фильтр из стеклянного микроволокна Whatman 934-AH”, фильтрующая среда из боросиликатного стекла, имеющая высокую емкость загрузки и высокую эффективность удерживания при высоких скоростях потока. Его рекомендуют для использования при сборе клеток, выросших в культуре, и при способах подсчета сцинтилляции в жидкости. Это, однако, лишь пример, а применяться также могут и другие, в основном чисто белые, не содержащие углеводов субстраты из стекловолокна с поверхностной пористостью, способные к эффективному распределению по поверхности контактирующего с толстой кишкой полутвердого образца.
В конкретном способе, использующем предпочтительный аспект данного изобретения, применительно к определению рака толстой кишки с использованием ферментативной реакции окисления для выявления цвета сначала у пациента отбирают образец для испытания. На покрытый перчаткой палец оператора наносят смазку. Палец вводят в задний проход пациента и поворачивают на 360°, чтобы получить представительный образец контактирующего с толстой кишкой полутвердого вещества, такого как слизь из прямой кишки. Палец удаляют из прямой кишки, и образец намазывают на поверхность описанного выше белого мембранного фильтра, наложенного на карту испытания слизи из прямой кишки с соответствующим покрытием, защитным слоем и идентификацией, и эту карту анализируют.
Для анализа подложку карты испытания слизи из прямой кишки удаляют и на карту испытания наносят 50 мкл стандартного раствора галактозооксидазы. При стандартном процессе инкубация длится 10 минут. Затем карту погружают в бидистиллированную воду на 30 секунд, а затем наносят 1 мл реагента Шиффа на 3 минуты. Затем цвет проявляют путем пропускания карты через четыре промывки водой, по 10 минут каждая промывка. Затем карте дают высохнуть и производят определение путем считывания угла цветового тона с помощью портативного спектрофотометра описанного ранее типа. Величина угла цветового тона ниже некоторого установленного значения (350° в случае образцов слизи из прямой кишки) указывает на нормальную, здоровую природу ткани. Величины свыше некоторого установленного значения (370° в случае слизи из прямой кишки) указывают на раковую природу ткани.
Образцы, дающие промежуточные значения, можно подвергнуть универсальному окислению, чтобы способствовать окончательному диагнозу. Основываясь на знании того, что в любом образце только некоторая доля вицинальных гидроксильных групп на углеводном маркере окисляется ферментативно с образованием окраски, можно впоследствии окислить все оставшиеся такие группы мощным окислителем, таким как периодат, а затем снова проявить цвет и провести его определение. Если при этом получается большое различие по сравнению с первоначальным результатом, это указывает на то, что этот образец следует классифицировать, как если бы он дал сначала более высокий результат. Если получается лишь небольшое различие или не получается заметной разницы, то этот образец более безопасно сгруппировать с образцами, которые дали более низкие результаты.
Из значений угла цветового тона, которые просто считываются на спектрофотометре указанным образом, оператор может без какой-либо субъективной интерпретации определить, взят ли образец у пациента, имеющего здоровый, нормальный толстый кишечник, или же зараженный раком толстый кишечник, при значительно сниженной вероятности ошибочного позитивного или ошибочного негативного определений по сравнению с предшествующими способами диагностики. Применяются те же стандартные стадии отбора, окрашивания, инкубации и проявления цвета и те же стандартные реагенты, так что новый способ по данному изобретению может быть принят существующими диагностическими лабораториями с минимальным перерывом и экономическими затратами.
Весьма схожие способы применяются в отношении других образцов слизи из других органов и тканей тела. Ферментативное окисление галактозооксидазой с последующей реакцией с реагентом Шиффа является предпочтительным в качестве способа проведения реакции проявления цвета для последующего анализа цвета по данному изобретению. Однако данное изобретение этим не ограничено. Можно применять любой способ, который позволяет осуществить селективную реакцию, приводящую к проявлению цветовой характеристики при развитии рака. Например, для проявления цвета можно использовать прямую реакцию образца с реагентом Шиффа без стадии ферментативной реакции. Во всех случаях спектрофотометрического анализа проявившегося цвета с целью определения объективного параметра оттенка или тона цвета, например угла цветового тона, используемого в данном изобретении, такие параметры цвета, как было обнаружено, коррелируют с наличием и степенью развития различных видов рака.
(ii) Тест на холестерин, проводимый без инвазии
В предпочтительном способе этого аспекта данного изобретения используют жидкие или полутвердые биохимические реагенты, проявляют в них цвет, являющийся показателем содержания холестерина в коже пациента, и подвергают проявленный таким образом цвет спектрофотометрическому анализу. В соответствии с данным изобретением точная природа и сущность или оттенок полученного таким образом цвета, которые характеризуются, например, его углом цветового тона, коррелирует с количеством образовавшегося связанного комплекса и, следовательно, с содержанием холестерина в коже. Это измерение характеристики цвета является объективным и по меньшей мере полуколичественным. Соответственно оно проводится независимо от фонового цвета кожи, который не влияет на это измерение в какой-либо значительной степени.
Обычно бывает удобным наносить все реагенты в соответствующей последовательности на поверхность кожи пациента, осуществить проявление окраски на поверхности кожи, а затем спектрофотометрически исследовать обуславливающий окраску комплекс, в то время как он остается на коже. Весь тест можно провести менее чем за пять минут. Поверхность кожи, выбранная для проведения теста, должна быть в значительной степени свободной от сальных желез, так как такие железы привносят холестеринсодержащий секрет, который может искажать результаты. Подошва ноги и ладонь руки являются такими подходящими участками кожи, причем ладонь руки является наиболее удобной для использования в данном тесте.
Комплект включает средства для удержания и представления образующего окраску комплекса для анализа с помощью портативного спектрофотометра. Эти средства могут быть контейнером в форме прилипающей к коже полоски с одним или более окном, проходящим через нее таким образом, чтобы реагенты, содержащиеся в окнах, могли контактировать с кожей пациента. Конструкция контейнера будет в значительной степени определяться физическими характеристиками спектрофотометра. Вместо использования контейнера для реагентов инертный тиксотропный агент может быть добавлен к реагентам, чтобы ограничить их распространение по поверхности кожи и предохранить от смешивания реагентов для теста с контрольными реагентами, наносимыми на прилегающие участки кожи.
Как и в случае других тестов и испытаний на основе цвета, к которым применимо данное изобретение, отличительной чертой проводимого без инвазии теста на холестерин в соответствии с данным аспектом изобретения является то, что угол цветового тона окрашенного комплекса, связанного с холестерином кожи, коррелирует с содержанием холестерина в коже.
Подходящими химическими реагентами для применения в соответствии с этим аспектом изобретения обычно являются те, которые описаны в вышеупомянутых патентах Лопухина и др., описания которых включены сюда путем ссылок. Их точный выбор не является существенным или ограничительным признаком данного изобретения; их применение в сочетании друг с другом должно приводить к химическому проявлению цвета в результате образования связи с холестерином кожи. Термин “образование связи” используется здесь в его широком смысле протекания химической реакции с присоединением одной химической частицы к другой, а также специфического взаимодействия типа “захвата” (на основе сродства), которое часто происходит в биохимических системах.
Таким образом, связывающий агент А выбирают из группы веществ, способных избирательно образовать стабильные комплексы со свободным холестерином кожи, для того, чтобы придать всему бифункциональному соединению, в которое он включен, сродство к холестерину. Он может образовывать стабильный комплекс путем прямой реакции с холестерином до или после того, как он химически присоединится к визуализирующему агенту В – непосредственно или через мостикообразующий агент С.
Представительные классы соединений, пригодных в качестве связывающего холестерин агента А, включают:
стероидные гликозиды, содержащие в качестве агликона циклопентанпергидрофенантреновый фрагмент рядов фуростанола или спиростанола, и олигосахаридный фрагмент, включающий от 3 до 10 моносахаридных остатков с линейными или разветвленными структурами (Hinta P.H. “Структура и биологическая активность стероидных гликозидов рядов спиростана и фуростана”, Кишинев, Штиинца, 1987, с.142), конкретными предпочтительными примерами которых являются функозиды С, D, Е, F, G и I, диосцин, рокозиды С, D и Е, ланотигонин, дигитонин и томатин;
тритерпеновые гликозиды, содержащие агликон рядов альфа- или бета-амирила, люпана, хопана, доммарана, линостана или холостана, и олигосахариды, содержащие сахаридные остатки разветвленной или линейной структуры (Деканосидзе Г.Е., Чирва В.Ю., Сергиенко Т.В., Уварова Н.Л. “Исследование тритерпеновых гликозидов”, Тбилиси, Мецниереба, 1982);
гидрофобные протеины, способные избирательно образовывать комплексное соединение с холестерином (Химов A.Н., Титова Г.В., Кожевников Х.А., Biochemistry, 1982, Т.47, №2, с.226-232; Химов А.Н., Кожевников Х.А., Клюева Н.Н. и др. Вопросы Мед. Химии, 1984, Т.30, №3, с.86-90; Титова Г.В., Хилюева Н.Н., Кожевников Х.А. и др., Biochemistry, 1980, Т.45, №1, с.51-55);
протеиновые токсины, способные избирательно образовывать комплексные соединения с холестерином. Их получают из бактерий, морских микроорганизмов, насекомых или змей (Далин М.В., Фиш Н.Г. “Протеиновые токсины микроорганизмов”, Москва, Медицина, 1980); или
полиеновые антибиотики, способные избирательно образовывать комплексные соединения с холестерином (I.J.Katzenstein, A.M.Spielvogel, A.W.Norman, J. Antibiot, 27, 12, 1874, pp.943-951; Jong Shan Shyng, Wang Hsi-Hua, Clin. J. Microbiol., 1976, 9, (1-2), pp.19-30; Readio Josphine D. et al. Biochim. Biophys. Acta, 1982, 685 (2), pp.219-24); или
ферменты с высоким сродством, субстратом которых является холестерин, и которые имеют к нему высокое сродство. Все вышеупомянутые публикации включены сюда путем ссылок.
Наиболее предпочтительным выбором для связывающего холестерин агента А является дигитонин.
Визуализирующим агентом В является обычно фермент, так как особенно полезными являются реакции фермент/субстрат, приводящие к изменению цвета. Конкретные примеры подходящих ферментов включают ацетилхолинэстеразу, тирозиназу, глюкоза-6-фосфатдегидрогеназу, глюкозооксидазу, глюкоамилазу, бета-D-галактозидазу, пероксидазу, щелочную или кислую фосфатазу, альфа-химотрипсин и пирофосфатазу. Предпочтительным выбором является пероксидаза, например пероксидаза хрена (HRP).
Использование мостикообразующего агента С улучшает техническое осуществление способа и облегчает получение конечного желательного комплекса А-С-В, из которого может проявиться окраска, в то время как функциональная активность агентов А и В сохраняется. Наиболее предпочтительными комплексами А-С-В являются те, в которых используют стероидные гликозиды, содержащие в качестве агликона циклопентанпергидрофенантреновый фрагмент из рядов фуростанола или спиростанола и фрагменты олигосахарида, включающие от 2 до 10 моносахаридных остатков с линейными или разветвленными структурами, такие как дигитонин, в качестве имеющего сродство к холестерину образующего мостик агента А. Особенно желательно использовать мостикообразующий агент С, если в качестве связывающего холестерин агента А выбран дигитонин, а в качестве визуализирующего агента выбран HRP, так как HRP является относительно большой молекулой, которая, если бы она была непосредственно соединена с дигитонином, могла бы стерически затруднить реакцию дигитонина с холестерином кожи. В качестве мостикообразующего агента С для таких целей предпочтительно использовать высокомолекулярные полифункциональные соединения. Их использование позволяет в широком диапазоне регулировать соотношение агентов А и С в конечном комплексе. Такими высокомолекулярными полифункциональными мостикообразующими агентами С могут быть различные полисахариды, протеины или синтетические полимеры, то есть любые подходящие высокомолекулярные соединения, содержащие функциональные группы первичного амина, карбоксила, гидроксила, альдегида, галоидангидрида, смешанных ангидридов, иминоэфира, азида, гидроксида, малеимида, изоцианата или эпоксидную группу. Наиболее предпочтительными высокомолекулярными полифункциональными мостикообразующими агентами С являются сополимеры акриловой кислоты или малеиновой кислоты или малеинового ангидрида и N-винилпирролидона. Также можно использовать асимметричные бифункциональные соединения с низким молекулярным весом, такие как бромциан, трихлортриазин или 2-амино-4,6-дихлоро-3-триазин.
Агент-индикатор D обычно содержит субстрат фермента, используемого как визуализирующий агент В, и дополнительные соединения, необходимые для того, чтобы сделать реакцию между ферментом и субстратом видимой. Конкретным примером такого агента-индикатора D при использовании фермента пероксидазы в качестве визуализирующего агента В является агент, содержащий пероксид водорода, N,N-диэтил-п-фенилиденсульфат совместно с соответствующими стабилизаторами. Агент-индикатор D выбирают в сочетании с визуализирующим агентом В из ряда известных в данной области соединений, которые будут давать реакции образования цвета в комбинации с выбранным ферментом.
Предложен комплект для проведения теста по данному изобретению. Этот комплект включает необходимые реагенты в соответственным образом закрытых упаковках, таких как флаконы или бутылочки, снабженные капельницей, контейнер или другие удерживающие средства, в которых можно провести реакции образования окраски на коже пациента таким образом, чтобы предотвратить распространение реагентов по слишком большой поверхности, и из которых полученная окраска может быть представлена для исследования и измерения в средства для определения и получения данных о конкретной характеристике окраски, такой как угол цветового тона, например портативный отражательный спектрометр. Этот контейнер обычно представляет собой липкую ленту, снабженную одним или более вырезанными окнами, исходно снабженную защитным слоем на обратной стороне для защиты липкого слоя. Предпочтительно этот контейнер имеет по меньшей мере два или три окна, так что по ходу теста можно проводить контрольные эксперименты. Для того чтобы облегчить правильное проведение экспериментов при тесте и контрольных экспериментов, эти окна обычно сделаны отличающимися на вид друг от друга, например они имеют различные формы.
На фиг.1 изображен такой контейнер для использования в данном изобретении в виде полоски 10 для теста, имеющей прямоугольную форму. Эта полоска включает пористую основу 10 со слоем 12 совместимого с кожей клейкого материала, временно защищенного отслаивающейся пленкой 14. Первое центральное окно 16 для целей проведения теста, имеющее круглое сечение, проходит через пористую подложку полоски и через адгезионный слой 12. Второе окно 18 для положительного контроля, имеющее ромбическое сечение, и третье окно 20 для отрицательного контроля, имеющее квадратное сечение, подобным же образом сделаны во вспененной основе полоски 10 по бокам центрального окна 16. Различные на вид формы окон помогают оператору в проведении тестов, способствуя правильному выбору окна для соответствующих целей.
Тест проводят предпочтительно на коже ладони руки пациента. Контейнер с реагентами, имеющий вид липкой ленты, на некоторое время накладывается на кожу таким образом, чтобы дно окна контактировало с кожей. Реагенты капают в окна, в окнах возникает окраска, а затем окраску определяют спектрофотометром, не удаляя полоску с кожи. Для этой цели применяют специально сконструированный спектрофотометр, представляющий собой еще один аспект данного изобретения. Спектрофотометр передает полученные данные на компьютер для анализа. Спектрофотометр сконструирован таким образом, чтобы обеспечивать правильное размещение поверх испытательной кюветы.
Соответственно в этом аспекте данного изобретения предложен спектрофотометр, приспособленный для передачи сигналов, полученных при измерении цвета в отраженном свете, от испытуемого образца на компьютер, причем этот спектрофотометр имеет корпус, расположенное в этом корпусе средство излучения света, нижнюю часть указанного корпуса с отверстием, через которую можно направить свет, излучаемый этим средством, и выемку на нижней поверхности указанной нижней части, приспособленную таким образом, чтобы накрывать полоску для теста с окнами, наложенную на поверхность кожи пациента, для обеспечения точного соответствия положения спектрофотометра и определяемой пробы в окне указанной полоски с окнами для проведения теста. Предпочтительно нижняя часть спектрофотометра прикреплена к корпусу на шарнирах таким образом, чтобы можно было соответственным образом установить на правильную регистрацию по полоске для теста в открытом положении, а затем прикрепить к корпусу спектрофотометра для проведения измерений. Предпочтительно также, чтобы эта откидывающаяся на шарнирах нижняя часть и корпус спектрофотометра были снабжены электрическими контактами, действующими как выключатель, чтобы включать источник света спектрофотометра, когда откидывающаяся нижняя часть присоединена к корпусу спектрофотометра.
На фиг.2, 3 и 4 схематически изображен спектрофотометр. Он имеет корпус 22 с электрическим соединением (не показано) с компьютером, запрограммированным соответствующим образом, для анализа результатов, полученных считывающим устройством. Имеется нижняя часть 24, в позиции 26 прикрепленная шарнирным соединением к корпусу 22. Нижняя часть 24 имеет отверстие в положении 28. По ширине нижней поверхности нижней части 24 проходит канавка 30, которая выступает с нижней поверхности вверх. Канавка замкнута на одной стороне нижней части. Ширина канавки 30 сделана таким образом, что она точно и строго соответствует полоске 10 для проведения теста, изображенной на фиг.4. Когда должно проводиться измерение, конец полоски для проведения теста 10 соответствует закрытому концу канавки, и это в сочетании с размещением полоски для проведения теста 10 в пределах ширины канавки 30 обеспечивает точное соответствие окна 16, где проводится тест, с лучом света, который должен излучаться из корпуса 22 считывающего устройства через отверстие 28. Спектрофотометр содержит соответствующие детекторные устройства для отбора с образца в окошке 16 отраженных сигналов и передачи их для анализа и прочтения компьютером. Корпус 22 и нижняя часть 24 снабжены соответствующими друг другу электрическими контактами 32, 34, которые замыкаются в качестве выключателя, когда нижняя часть 24 присоединяется к корпусу 22, включая свет для проведения измерения.
Далее будет описана конкретная процедура теста в виде конкретного, но не ограничивающего примера практики диагностического теста по данному изобретению.
Компоненты набора включают бутылочку с капельницей, содержащую раствор детектора (соединение дигитонина и пероксидазы хрена, в водном буферном растворе, содержащем бромнитродиоксан и метилизотиазолон с концентрацией менее 0,01% в качестве стабилизаторов, 1,5 мл), с яркоокрашенной крышкой (зеленой); бутылочку с капельницей с более концентрированным раствором реагентов детектора, в таком же буферном растворе и стабилизированном менее чем 0,01% бромнитродиоксана и метилизотиазолона, в качестве позитивного контроля (1,5 мл), с яркоокрашенной крышкой (красной); бутылочку с капельницей, содержащую индикатор – раствор реагентов (4,0 мл раствора 3,3′,5,5′-тетраметилбензидина (ТМБ) и пероксида водорода с 5% N,N-диметилформамида в качестве стабилизатора) для реакции с детектором и РС-реагентами, которые соединяются с холестерином кожи, с образованием синевато-зеленого цвета, с яркоокрашенной крышкой (синей); вспененные подложки, как показано на фиг.1, на которые можно подавать реагенты, спиртовые тампоны и соответствующее руководство для пользователя. Эти химические реагенты стабильны при хранении в холодильнике при 2-8°С в течение продолжительного времени. Система включает также спектрофотометр, как показано на фиг.2 и 3, соединенный с соответствующим образом запрограммированным компьютером, и пластинки для калибровки для использования со спектрофотометром. Набор в том виде, как он поставляется, не включает спектрофотометр, за исключением, по-видимому, случая первоначальной продажи; тот же самый спектрофотометр используется повторно с восполненным впоследствии набором.
Сначала спектрофотометр соответствующим образом калибруют, вставляя калибровочную пластинку в его зажимное устройство и закрывая нижнюю крышку, чтобы осветить калибровочную пластинку и получить данные по калибровке на спектрофотометр и компьютер. Выдается сигнал, что калибровка успешно завершена.
Руку пациента тщательно промывают с мылом и водой, споласкивают и хорошо сушат. Затем наружную сторону ладони пациента тщательно очищают тампоном со спиртом с достаточным усилием, чтобы обеспечить тщательную очистку. После того, как рука высохнет, удаляют защитную пленку 14 с полоски для проведения теста 10, которую затем приклеивают к очищенной поверхности кожи ладони пациента. Пациент переворачивает руку на бумажное полотенце, помещенное на стол, и плотно прижимает, чтобы обеспечить надежное прикрепление подложки к ладони.
Затем реагенты добавляют в соответствующие окна для реагентов. Одну каплю (42 мкл) раствора детектора добавляют в круглое окошко для проведения теста 16, одну каплю раствора для позитивного контроля добавляют в ромбовидное окно 18, а в третье, квадратное окно 20 на этой стадии жидкость не добавляют. Добавленные растворы выдерживают в течение 1 минуты; при этом пациент держит руку, на которой проводится тест, неподвижно. Затем пациент переворачивает руку и прижимает подложку из вспененного материала к бумажному полотенцу, чтобы удалить жидкость из окошек. Визуально проверяют, чтобы подложка и окошки для проведения теста были совершенно сухими. Затем пациент оставляет руку на плоской поверхности ладонью вверх.
Затем во все три окошка добавляют одну каплю индикатора, включая и ранее не использовавшееся квадратное окошко, и дают реакции пройти в течение 2 минут, в то время как пациент держит руку неподвижно. Непосредственно после этого считывающее устройство 22 помещают в положение над окошком 16 для проведения теста, закрывают и проводят определение сигнала цвета, проявленного в окошке для проведения теста, переданного на спектрофотометр и проанализированного компьютером, с получением величины значения угла цветового тона.
Предпринимают визуальный осмотр окошка позитивного контроля 18 и окошка негативного контроля 20. Если жидкость в окошке негативного контроля бесцветна, а жидкость в окошке позитивного контроля окрашена, то тест проведен правильно. На окраске, образовавшейся при позитивном контроле, никаких количественных измерений не проводится. Это окраска, полученная при очень высокой концентрации раствора реагента, которая дает окраску даже с очень малыми количествами холестерина на коже; она просто является показателем работоспособности реагентов и служит другим целям контроля.
Оставшуюся на полоске для проведения теста жидкость убирают, а полоску для проведения теста удаляют с ладони с последующей очисткой ладони тампоном, смоченным спиртом.
Используемый в настоящее время спектрофотометр предпочтительно измеряет поглощающую способность отраженного от испытуемого образца света и преобразует ее посредством соответствующего алгоритма в значение угла цветового тона. В конкретном случае получения окраски при реакции пероксидазы хрена – ТМБ, описанной выше, подходящими условиями измерения является поглощение при 450 нм, А450 нм. Экспериментально определяли оптическую плотность поглощающей способности при 450 нм, чтобы связать ее с углом цветового тона посредством соотношения:
h°(градусы)=490,45·А450 нм+57,124
Это соотношение определено путем измерения оптической плотности ряда последовательно разбавленных реакционных образцов при 450 нм, измерения угла цветового тона тех же самых образцов и построения по результатам кривой регрессии для определения зависимости. Подобные же зависимости можно получить экспериментально таким же образом и для других выбранных тестов, в ходе которых образуется окраска, проведенных с использованием различных пар фермент – субстрат, дающих различные цвета, которые позволяют преобразовать показания оптической плотности в величины угла цветового тона.
Хотя выше были приведены конкретные диагностические тесты и наборы для их проведения, специалист может понять, что большое количество основанных на цвете испытаний и анализов можно усовершенствовать с помощью новых описанных здесь измерений, основанных на угле цветового тона или насыщенности цвета, например:
(i) получение количественных результатов при твердофазных иммунологических испытаниях, таких как определение в пятне, иммунохроматографических тестов и тестов с проникающим образцом (образец наносят на мембрану с впитывающим устройством за ней; затем анализируемое вещество улавливается и идентифицируется путем добавления меченого детектора, такого как антитело, меченное ферментом или золотом);
(ii) получение количественных результатов в испытаниях на основе микрочастиц, с использованием окрашенных шариков;
(iii) в качестве альтернативы денситометрии при анализе окрашенных гелей;
(iv) для получения количественных результатов при анализе в пятне по Western’y.
Способ согласно данному изобретению дает простой подход к количественной оценке таких результатов, дополняя таким образом информацию, полученную при испытаниях, возможностью применения к результатам тестов более усовершенствованных методов статистического анализа.
Соответственно вариации данного изобретения не следует рассматривать как отступление от его сути и объема притязаний, и все такие модификации, как очевидно для специалиста, должны быть включены в объем формулы изобретения.
Формула изобретения
1. Способ анализа образца биологического материала при биохимических или иммунологических тестах на какое-либо определяемое вещество, включающий следующие операции:
проведение обработки образца, при которой образуется окраска, соответствующая количеству определяемого вещества в этом образце;
измерение угла цветового тона или насыщенности цвета образовавшейся окраски посредством пригодного спектрофотометра или иного эквивалентного прибора и
анализ измерений угла цветового тона или насыщенности цвета для определения присутствия или концентрации указанного определяемого вещества в образце.
2. Способ по п.1, где указанный образец биологического материала представляет собой в основном жидкие или полутвердые секреты тела, отобранные у пациента-человека для диагностики на наличие отклонений от нормы, причем указанное определяемое вещество состоит, по существу, из находящихся в этом образце маркеров, указывающих на наличие рака, а измеренную величину угла цветового тона или насыщенности цвета используют для того, чтобы классифицировать образец как нормальный или аномальный.
3. Способ по п.2, где указанные секреты представляют собой слизь из легких, слизь из горла, слизь из шейки матки, семенную жидкость или жидкость, отбранную из сосков груди.
4. Способ по п.2 или 3, где указанный образец наносят на белую в целом основу, а указанная обработка с целью образования окраски включает реакцию с ферментом.
5. Способ анализа образца биологического материала по п.1, где
указанный образец биологического материала представляет собой контактирующий с толстой кишкой полутвердый образец, отобранный у пациента для диагностики на наличие аномалий;
указанное определяемое вещество состоит, по существу, из маркеров, указывающих на присутствие аномалий;
операция проведения обработки образца включает нанесение этого образца на белый в целом субстрат и получение окраски этого образца посредством ферментативной реакции и
измеренную величину угла цветового тона или насыщенности цвета используют для классификации образца как нормального или аномального.
6. Способ по п.3, где указанные маркеры представляют собой углеводные маркеры.
7. Способ по п.5 или 6, где субстрат не содержит целлюлозы.
8. Способ по п.7, где субстрат представляет собой стекловолокно.
9. Способ по п.5 или 6, где субстрат, по существу, является чисто белым.
10. Способ по любому из пп.5, 6 или 8, где указанный контактирующий с толстой кишкой полутвердый образец представляет собой в основном ректальную слизь.
11. Способ по п.7, где указанный контактирующий с толстой кишкой полутвердый образец представляет собой в основном ректальную слизь.
12. Способ по п.9, где указанный контактирующий с толстой кишкой полутвердый образец представляет собой в основном ректальную слизь.
13. Способ по п.1, где указанным образцом биологического материала является поверхность кожи пациента, а указанным определяемым веществом является холестерин кожи.
14. Набор для анализа жидких или полутвердых образцов секретов тела, полученных от пациентов-людей для диагностики наличия или отсутствия аномалий у пациента, путем определения угла цветового тона или насыщенности цвета для цвета, проявляемого на образце, причем указанная система включает
белый, не содержащий целлюлозы субстрат с пористой «зернистой» поверхностью для принятия и удерживания образца в ходе проявления;
источник галактозооксидазы, приспособленный для нанесения галактозооксидазы на поверхность субстрата для проведения на нем селективного ферментативного окисления образца;
источник реагента Шиффа, приспособленный для нанесения реагента Шиффа на окисленный образец на субстрате для проявления в нем пригодной для проведения анализа окраски; и
устройства для представления образца с проявившейся окраской на портативный отражательный спектрофотометр, способный определять угол цветового тона и насыщенности цвета, характеризующихся цветом окрашенных образцов на указанном субстрате.
15. Набор для анализа контактирующих с толстой кишкой полутвердых образцов, полученных от пациентов-людей, для диагностики наличия или отсутствие ректальных аномалий у пациента, включающий
в целом белый, не содержащий целлюлозы субстрат для принятия образца;
источник реагента Шиффа и
портативный отражательный спектрофотометр, способный определять и выдавать данные по углу цветового тона и насыщенности цвета, характеризующих цвет окрашенных образцов на указанном субстрате.
16. Набор по п.15, где указанным субстратом является стекловолокно.
17. Способ определения уровня холестерина в коже пациента, включающий
нанесение на поверхность кожи пациента реагента, который селективно связывается с холестерином кожи;
проведение химической реакции проявления цвета с названным реагентом, связанным с холестерином кожи, с образованием окрашенного комплекса и
проведение спектрофотометрического анализа полученного таким образом окрашенного комплекса для получения при этом значения угла цветового тона или насыщенности цвета, характеризующих уровень холестерина в коже.
18. Способ по п.17, где указанный реагент, который селективно связывается с холестерином кожи, выбирают из группы, состоящей из
(i) стероидных гликозидов, содержащих в качестве агликона циклопентанпергидрофенантреновый фрагмент ряда фуростанола или спиростанола, и фрагментов олигосахарида, включающих от 3 до 10 моносахаридных остатков с линейными или разветвленными структурами,
(ii) тритерпеновых гликозидов, содержащих агликон рядов альфа- или бета-амирила, люпана, хопана, доммарана, линостана или холостана, и олигосахаридов, содержащих сахаридные остатки с разветвленной или линейной структурой,
(iii) гидрофобных протеинов, способных избирательно образовывать комплексное соединение с холестерином,
(iv) протеиновых токсинов, способных избирательно образовывать комплексные соединения с холестерином,
(v) полиеновых антибиотиков, способных избирательно образовывать комплексные соединения с холестерином, и
(vi) ферментов, субстратом которых является холестерин и которые проявляют высокое сродство к холестерину, и
в котором образование указанного окрашенного комплекса достигается путем обработки указанного связующего агента на поверхности кожи сначала визуализирующим агентом, а затем агентом-индикатором.
19. Способ по п.18, где образование указанного окрашенного комплекса достигается путем последовательной обработки указанного связывающего холестерин агента на поверхности кожи мостикообразующим агентом, визуализирующим агентом и агентом-индикатором.
20. Способ по п.18 или 19, где указанным связывающим холестерин агентом является дигитонин.
21. Способ по п.18 или 19, где указанным визуализирующим агентом является фермент пероксидазы, а указанный агент-индикатор содержит пероксид водорода и N,N-диэтил-п-фенилиденсульфат совместно с соответствующими стабилизаторами.
22. Способ по п.20, где указанным визуализирующим агентом является фермент пероксидазы, а указанный агент-индикатор содержит пероксид водорода и N,N-диэтил-п-фенилиденсульфат совместно с соответствующими стабилизаторами.
23. Набор для определения уровня холестерина в коже пациентов-людей, включающий
источник агента-детектора, способного связывать холестерин кожи пациента с образованием на коже связанной с ним комбинации;
источник визуализирующего агента, способного образовывать связь со связанной комбинацией агента-детектора – связующего агента с образованием оптически измененного комплекса;
источник проявляющего агента и средства для нанесения проявляющего агента на оптически измененный комплекс для проявления в нем окраски и
устройство для удержания указанного оптически измененного комплекса и для представления его в портативный отражательный спектрофотометр для определения в нем угла цветового тона или насыщенности цвета, характеризующих проявившуюся окраску.
24. Набор по п.23, где указанное устройство для удержания оптически измененного комплекса и представления его в спектрофотометр включает контейнер в виде приклеивающейся к коже полоски, имеющей по меньшей мере одно окно, проходящее сквозь нее, для удерживания указанным окном реагентов в контакте с кожей пациента.
РИСУНКИ
MM4A – Досрочное прекращение действия патента СССР или патента Российской Федерации на изобретение из-за неуплаты в установленный срок пошлины за поддержание патента в силе
Дата прекращения действия патента: 05.08.2008
Извещение опубликовано: 27.11.2010 БИ: 33/2010
|
|