|
(21), (22) Заявка: 2004114937/04, 17.05.2004
(24) Дата начала отсчета срока действия патента:
17.05.2004
(43) Дата публикации заявки: 01.01.2000
(45) Опубликовано: 10.03.2006
(56) Список документов, цитированных в отчете о поиске:
SU 257849 А1, 16.04.1970. SU 1173308 А1, 15.08.1985. SU 1617362 А1, 30.12.1990. SU 1272247 А1, 23.11.1986. СЛОБОДКИН В.М., ЧАЙКО А.Л., Управление ректификационными колоннами с применением пневматических аналоговых вычислительных устройств. Тематические обзоры. Серия: Автоматизация и контрольно-измерительные приборы, М, ЦНИИТЭнефтехим, 1970, с.22-25. ГОРБАЧЕВ С.В. Практикум по физической химии, М, ВШ, 1974, с.180-181.
Адрес для переписки:
350051, г.Краснодар, ул. Дзержинского, 34, А.Ф. Поезжаеву
|
(72) Автор(ы):
Коновалов Илья Леонидович (RU), Корженко Михаил Александрович (RU), Тараненко Борис Федорович (RU), Ушенин Алексей Валентинович (RU)
(73) Патентообладатель(и):
Открытое акционерное общество “НПО “Промавтоматика” (RU)
|
(54) СПОСОБ ОПРЕДЕЛЕНИЯ КОНЦЕНТРАЦИИ ВОДНОГО РАСТВОРА ГЛИКОЛЯ
(57) Реферат:
Изобретение относится к области автоматического определения концентрации растворов, в частности, по измерению температуры их кипения и может быть использовано на газовых месторождениях и в подземных хранилищах газа на установках абсорбционной осушки газа, на которых в качестве абсорбента используется водный раствор ди- или триэтиленгликоля (далее гликоля). Способ определения концентрации водного раствора гликоля осуществляют путем измерения температуры кипения, при этом дополнительно измеряют давление паровой фазы над кипящим раствором и вычисляют концентрацию водного раствора гликоля из соотношений
Сг=Мг*Хг*100/(Мг*Хг+Мв*(1-Хг)),
где Хг=(10Zв(T)-Р)/(10Zв(T)-10Zг(T);
Zв(Т)=8,006-1691/(230+T);
Zг(T)=9,270-3035/(230+T) для диэтиленгликоля;
Zг(T)=8,54-2927,5/(230+T) для триэтиленгликоля;
Zв(Т) – значение степени для определения давления насыщенного пара воды;
Zг(T) – значение степени для определения давления насыщенного пара диэтиленгликоля;
Мв=18 кг/кмоль – молярная масса воды;
Mг – молярная масса гликоля:
Мг=106 кг/кмоль – для диэтиленгликоля;
Мг=150,17 кг/кмоль – для триэтиленгликоля;
Т – температура кипения раствора гликоля, °С;
Р – давление паровой фазы над кипящим раствором, кгс/см2.
Достигается повышение точности определения. 1 ил. 
Изобретение относится к области автоматического определения концентрации растворов, в частности, по измерению температуры их кипения и может быть использовано на газовых месторождениях и в подземных хранилищах газа на установках абсорбционной осушки газа, на которых в качестве абсорбента используется водный раствор ди- или триэтиленгликоля (далее гликоля).
В газопромысловой практике концентрация водного раствора, например, гликоля, используемого для осушки газа, составляет 95-99,6 мас.% и ее необходимо определять с высокой точностью (абсолютная погрешность не должна превышать 0,1-0,2 мас.%, так как концентрация гликоля оказывает существенное влияние на влагосодержание (качество) товарного газа).
Известен способ (Жданова Н.В., Халиф А.Л. Осушка природных газов. М.: Недра, 1975) определения концентрации водного раствора гликоля, путем измерения его плотности и определения концентрации водного раствора по заранее заготовленной таблице или графику.
Недостатками известного способа являются низкие точность и оперативность определения концентрации гликоля.
Наиболее близким по технической сущности и по решаемой задаче, взятый за прототип, является способ (а.с. № 257849, МПК G 01 N, опубл. 20.11.1969 г.), при осуществлении которого измеряют температуру кипения водного раствора гликоля при атмосферном давлении и по измеренному значению температуры кипения определяют концентрацию гликоля.
Однако температура кипения водного раствора гликоля зависит не только от его концентрации, но и от абсолютного давления паровой фазы над поверхностью раствора. Атмосферное (барометрическое) давление, при котором кипит раствор гликоля, как известно, изменяется. Это не учитывается в известном способе, что приводит к большим погрешностям определения концентрации водного раствора гликоля. В этом состоит недостаток известного способа определения концентрации водного раствора гликоля.
Целью настоящего изобретения является повышение точности определения концентрации водного раствора гликоля.
Поставленная цель достигается тем, что в известном способе определения концентрации водного раствора гликоля осуществляют измерение температуры кипения его водного раствора.
Новое, что отличает заявляемый способ от прототипа, состоит в том, что дополнительно измеряют давление паровой фазы над кипящим раствором и вычисляют концентрацию Сг (мас.%) водного раствора гликоля из соотношений
Сг=Мг*Хг*100/(Мг*Хг+Мв*(1-Хг)),
где Хг=(10Zв(T)-P)/(10Zв(T)-10Zг(T));
Zв(Т)=8,006-1691/(230+Т);
Zг(T)=9,270-3035/(230+T) для диэтиленгликоля;
Zг(T)=8,54-2927,5/(230+T) для триэтиленгликоля;
Zв(Т) – значение степени для определения давления насыщенного пара воды;
Zг(T) – значение степени для определения давления насыщенного пара диэтиленгликоля;
Мв=18 кг/кмоль – молярная масса воды;
Mг – молярная масса гликоля;
Мг=106 кг/кмоль – для диэтиленгликоля;
Мг=150,17 кг/кмоль – для триэтиленгликоля;
Т – температура кипения раствора гликоля, °С;
Р – давление паровой фазы над кипящим раствором, кгс/см2.
Способ состоит в следующем: измеряют температуру кипения водного раствора гликоля и давление паровой фазы над кипящим раствором и вычисляют концентрацию водного раствора гликоля из соотношения:
Сг=Мг*Хг*100/(Мг*Хг+Мв*(1-Хг)),
где Хг=(10Zв(T)-Р)/(10Zв(T)-10Zг(T));
Zв(Т)=8,006-1691/(230+T);
Zг(T)=9,270-3035/(230+T) для диэтиленгликоля;
Zг(T)=8,54-2927,5/(230+T) для триэтиленгликоля;
Zв(Т) – значение степени для определения давления насыщенного пара воды;
Zг(T) – значение степени для определения давления насыщенного пара диэтиленгликоля;
Мв=18 кг/кмоль – молярная масса воды;
Mг – молярная масса гликоля;
Мг=106 кг/кмоль – для диэтиленгликоля;
Мг=150,17 кг/кмоль – для триэтиленгликоля;
Т – температура кипения раствора гликоля, °С;
Р – давление паровой фазы над кипящим раствором, кгс/см2.
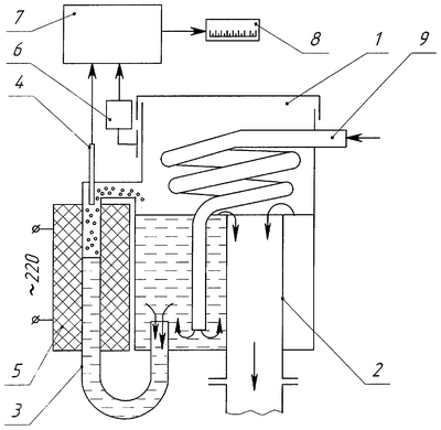
Заявляемый способ может быть реализован с помощью устройства, например, изображенного на чертеже. Устройство содержит проточную емкость 1 с переливным патрубком 2 и U-образной циркуляционной трубкой 3, одна из ветвей которой (меньшая по высоте), сообщена с емкостью через днище, а другая в своей верхней части снабжена датчиком 4 температуры (например, термопарой) и соединена с проточной емкостью через боковую стенку на высоте, превышающей высоту переливного патрубка; нагреватель 5, расположенный вокруг большей ветви U-образной циркуляционной трубки; датчик 6 давления, установленный на проточной емкости; вычислительное устройство 7, к входам которого подключены датчики температуры и давления, а к выходу – устройство отображения информации 8, например жидкокристаллический дисплей; трубку 9 подачи контролируемого гликоля.
Устройство для определения концентрации водного раствора гликоля работает следующим образом. Водный раствор гликоля по трубке 9 подается в проточную емкость 1, из которой через переливной патрубок 2 сливается в приемную атмосферную емкость (на чертеже не показана). В проточной емкости поддерживается постоянный уровень и атмосферное давление. При включенном нагревательном элементе 5 температура контролируемого раствора в той части циркуляционной трубки 3, которая охвачена этим элементом, увеличивается и достигает температуры кипения, в результате этого плотность раствора в циркуляционной трубке 3 уменьшается. За счет более высокого давления, создаваемого столбом жидкости (как более холодной и имеющей большую плотность), находящейся в проточной емкости 1, раствор из нижней ее части проходит в циркуляционную трубку 3, а оттуда через верхнюю часть – снова в проточную емкость 1. Таким образом достигается циркуляция контролируемого раствора. Кипящий раствор как более легкий проходит (скользит) по поверхности холодного раствора и через переливной патрубок 2 сбрасывается в атмосферную емкость. Температура кипящего раствора и давление в проточной емкости измеряются соответственно датчиком температуры 4 и датчиком давления 6, сигналы от которых поступают в вычислительное устройство 7, которое по измеренным значениям температуры кипения и давления вычисляет концентрацию водного раствора гликоля и ее значение выводит на устройство 8 отображения информации.
Мощность нагревательного элемента и расстояние (по высоте) от торца переливной трубки до ввода верхнего конца циркуляционной трубки в емкость, определяющие скорость циркуляции раствора, обеспечивают кипение раствора самой высокой концентрации.
Использование предложенного технического решения дает возможность повысить точность определения концентрации водного раствора гликоля.
Формула изобретения
Способ определения концентрации водного раствора гликоля путем измерения температуры кипения, отличающийся тем, что дополнительно измеряют давление паровой фазы над кипящим раствором и вычисляют концентрацию водного раствора гликоля из соотношений
Сг=Мг*Хг*100/(Мг*Хг+Мв*(1-Хг)),
где Хг=(10Zв(T)-Р)/(10Zв(T)-10Zг(T);
Zв(T)=8,006-1691/(230+T);
Zг(T)=9,270-3035/(230+T) для диэтиленгликоля;
Zг(T)=8.54-2927,5/(230+Т) для триэтиленгликоля;
Zв(T) – значение степени для определения давления насыщенного пара воды;
Zг(T) – значение степени для определения давления насыщенного пара диэтиленгликоля;
Мв=18 кг/кмоль – молярная масса воды;
Mг – молярная масса гликоля;
Мг=106 кг/кмоль – для диэтиленгликоля;
Мг=150,17 кг/кмоль – для триэтиленгликоля;
Т – температура кипения раствора гликоля, °С;
Р – давление паровой фазы над кипящим раствором, кгс/см2.
РИСУНКИ
HE4A – Изменение адреса для переписки с обладателем патента Российской Федерации на изобретение
Новый адрес для переписки с патентообладателем:
350051, г. Краснодар, ул. Гаражная, 156, ОАО “НПО “Промавтоматика”, зам. нач. технического отдела А.Ф.Поезжаеву
Извещение опубликовано: 20.06.2006 БИ: 17/2006
|