|
|
(21), (22) Заявка: 2001117407/11, 20.06.2001
(24) Дата начала отсчета срока действия патента:
20.06.2001
(30) Конвенционный приоритет:
21.06.2000 (пп.1-10) FR 0007927
(43) Дата публикации заявки: 27.06.2003
(45) Опубликовано: 10.03.2006
(56) Список документов, цитированных в отчете о поиске:
FR 2159548 А, 22.06.1973. WO 99/51958 A1, 14.10.1999. SU 619011 A, 30.03.1982. GB 820061 А, 16.09.1959. SU 64266 A, 31.01.1945.
Адрес для переписки:
103735, Москва, ул.Ильинка, 5/2, ООО “Союзпатент”, пат.пов. О.И.Ивановой
|
(72) Автор(ы):
ДЕМЭ Жан-Поль (FR), КАРТОН Лоран (FR)
(73) Патентообладатель(и):
АЭРОСПАСЬЯЛЬ МАТРА МИССИЛЬ (FR)
|
(54) УСТРОЙСТВО ДЛЯ КРЕПЛЕНИЯ ЛЕТАТЕЛЬНОГО АППАРАТА С ДВИГАТЕЛЕМ В АЭРОДИНАМИЧЕСКОЙ ТРУБЕ
(57) Реферат:
Изобретение относится к испытательной технике и касается создания устройств для крепления летательных аппаратов и ракет в аэродинамических трубах. Устройство предназначено для крепления летательного аппарата с двигателем в аэродинамической трубе при изучении поведения вышеупомянутого аппарата с работающим двигателем при различных положениях. Вышеупомянутое устройство содержит несколько шарнирных опор, предназначенных для соединения аппарата с неподвижной конструкцией аэродинамической трубы, со смещенным расположением по отношению к зонам обтекания воздухом, расположенным вокруг передней части аппарата (полномасштабной модели), а также перед двигателем и позади него. По меньшей мере одна из упомянутых опор содержит средства регулировки длины, которые соединены со средствами дистанционного управления, предназначенными для изменения положения аппарата в текущий момент. Технический результат заключается в расширении диапазона эксплуатации вышеупомянутого устройства, которое может удобно использоваться при работе двигателя объекта, испытываемого в аэродинамической трубе. 9 з.п. ф-лы, 5 ил. 
Область техники
Изобретение относится к устройству, сконструированному для крепления в аэродинамической трубе летательного аппарата с двигателем, такого как прототип или макет ракеты, с тем чтобы изучать поведение аппарата при различных его положениях с работающим двигателем.
Изобретение применимо при испытаниях, осуществляемых в аэродинамической трубе, всех типов летательных аппаратов с двигателем и, в частности, полномасштабного прототипа или макета ракеты с двигателем, поведение которой хотят изучить в сверхзвуковой аэродинамической трубе, без ручного вмешательства путем создания изменений в динамике, представляющих поведение аппарата в полете.
Состояние вопроса
Как показывают, в частности, публикации FR-A 2159548 FR-A-2641378, известны способы тестирования в аэродинамической трубе аэродинамического поведения макета летательного аппарата, такого как самолет, путем установки этого макета на штангу, соединенную с неподвижной конструкцией аэродинамической трубы посредством системы механизмов, позволяющих изменять положения макета в реальном времени во время испытания. При использовании такого устройства задний конец макета соединен с передним концом штанги, которая проходит на большое расстояние в продолжение макета.
Устройства крепления такого типа позволяют изучать без ручного вмешательства аэродинамическое поведение поверхностей летательного аппарата, которые контактируют с окружающим воздухом, при положении аппарата, изменяющемся во времени.
В то же время такие устройства крепления не могут быть использованы для изучения поведения летательного аппарата с работающим или работающими двигателями. Действительно, присутствие штанги строго в продолжение макета позади него не позволяет запустить двигатель, расположенный по продольной оси аппарата, и сильно нарушает истечение воздуха, выходящего из двигателя, смещенного по отношению к этой оси.
В настоящее время при испытании в аэродинамической трубе летательного аппарата с работающими двигателями используют устройства крепления различных типов. Эти устройства крепления содержат несколько шарнирных опор, соединяющих аппарат с неподвижной конструкцией аэродинамической трубы. Шарнирные опоры представляют собой обычно тяги или пилоны, из которых, по меньшей мере, одна включает средства регулировки длины. Чаще всего используют три или четыре шарнирные опоры.
В таком устройстве крепления шарнирные опоры отодвинуты к задней части по отношению к передней части аппарата, чтобы не нарушать обтекание воздуха в этой зоне. Кроме того, чтобы иметь возможность изучать поведение аппарата при его работающем двигателе, шарнирные опоры установлены строго вне зон обтекания воздуха, расположенных перед двигателем и за ним.
Когда такое устройство крепления используют для изучения поведения аппарата при работающем двигателе, операторы устанавливают желаемую конструкцию и положение полета (величина угла рыскания, угла атаки и т.д.), воздействуя на средства регулировки длины, до начала испытания. Когда должно быть проведено тестирование другой конструкции и другого положения полета, необходимо выключить двигатель аппарата и воздействовать вновь вручную на средства регулировки длины, до начала нового испытания.
Такая классическая техника при применении особенно длительна и утомительна. Кроме того, она не позволяет изучать динамическое поведение аппарата с работающим двигателем в реальном времени. В частности, существующие устройства крепления не применимы при изучении поведения аппарата при работающем двигателе, когда он (аппарат) описывает определенную траекторию или ее часть.
Изложение изобретения
Объектом изобретения является устройство крепления, сконструированное для того, чтобы позволить изучать поведение летательного аппарата с двигателем в аэродинамической трубе при работающем двигателе аппарата, допуская изменение положения аппарата в текущий момент времени с тем, чтобы, в частности, моделировать траекторию или часть траектории его полета.
Согласно изобретению этот результат получен при помощи устройства, предназначенного удерживать летательный аппарат с двигателем в аэродинамической трубе, для изучения поведения вышеупомянутого аппарата с работающим двигателем при различных его положениях, причем вышеупомянутое устройство содержит несколько шарнирных опор, предназначенных для связи аппарата с неподвижной конструкцией аэродинамической трубы и расположенная со смещением по отношению к зонам обтекания воздухом, размещенных вокруг передней части аппарата, а также перед двигателем и позади него, и, по меньшей мере, одна из вышеупомянутых опор содержит средства регулировки длины, при этом устройство отличается тем, что средства регулировки длины соединены со средствами дистанционного управления, предназначенными для изменения положения аппарата в реальном времени.
Исходя из того, что средства регулировки длины имеют дистанционное управление, положение аппарата может быть изменено в реальном времени без ручного вмешательства. Вследствие этого становится возможным, в частности, изучать поведение летательного аппарата с работающим двигателем, моделируя траекторию или часть траектории его полета.
По предпочтительному варианту выполнения изобретения опоры состоят из передней опоры постоянной длины, содержащей шарнирные устройства с, по меньшей мере, двумя степенями свободы, допускающие поворот вокруг двух осей, ориентированных по двум взаимно перпендикулярным направлениям и перпендикулярных продольной оси аппарата, и двух задних опор, включающих каждая средства регулировки длины и соединения с возможностью поворота.
Преимущественно передняя опора ориентирована строго радиально по отношению к продольной оси аппарата и расположена в вертикальной плоскости, проходящей через эту ось. Задние опоры также ориентированы радиально по отношению к продольной оси аппарата и расположены симметрично по отношению к вышеупомянутой вертикальной плоскости, когда обе задние опоры в исходном состоянии, соответствующем, в частности, нулевым значениям угла рыскания и угла атаки.
В этом исходном состоянии задние опоры образуют преимущественно с вертикальной плоскостью такой угол, чтобы монтаж аппарата на устройство был бы изостатическим. Этот угол, например, практически равен 45°.
По предпочтительному варианту выполнения изобретения задние опоры смещены назад вдоль продольной оси аппарата примерно на один метр по отношению к передней опоре.
Кроме того, средства регулирования длины образованы преимущественно гидравлическими домкратами, приводимыми в действие по длине.
С целью снижения, насколько это возможно, нарушения обтекания воздуха, вызываемого передней и задними опорами, каждая из этих опор, как правило, помещена внутрь кожуха обтекаемой формы. Этот кожух обеспечивает также термическую защиту опор и увеличивает их механическую прочность.
Для обеспечения в реальном времени сохранения конструкции и положения полета аппарата средства для угловых измерений, такие как преобразователи координат, преимущественно соединены с шарнирными поворотными устройствами.
Чтобы учитывать значительные нагревы, которые создаются в аэродинамической трубе, поблизости от аппарата (примерно 350°С) предусмотрены, кроме того, преимущественно средства, установленные с возможностью поворота, для охлаждения соединений и средств угловых измерений, расположенных в непосредственной близости от аппарата.
Краткое описание чертежей
Далее будет описано в качестве не ограничивающего примера предпочтительный вариант выполнения изобретения со ссылками на прилагаемые чертежи, на которых:
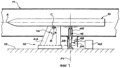
фиг.1 – вид сбоку, который представляет схематически летательный аппарат с двигателем, установленный в тоннеле аэродинамической трубы при помощи устройства крепления согласно изобретению;
фиг.2 – вид спереди, показывающий схематически аппарат в его исходном положении (сплошные линии) с измененным углом атаки (штрихпунктирные линии) и с измененным углом рыскания (штриховые линии);
фиг.3 – аксонометрическое изображение передней обтекаемой опоры устройства крепления согласно изобретению;
фиг.4 – вид спереди в увеличенном масштабе с частичным разрезом передней опоры;
фиг.5 – вид спереди с частичным разрезом задних опор устройства крепления согласно изобретению.
Детальное описание предпочтительного варианта выполнения изобретения
На фиг.1 и 2 представлен схематически летательный аппарат 10, в частности, прототип или макет ракеты, размещенный в тоннеле аэродинамической трубы 11. Летательный аппарат 10 оборудован одним или несколькими двигателями, запуск которых предусмотрен при осуществлении испытаний в аэродинамической трубе.
Согласно изобретению летательный аппарат 10 соединен с неподвижной конструкцией туннеля аэродинамической трубы при помощи устройства 12 крепления, сконструированного для моделирования в динамике в текущий момент времени без ручного вмешательства изменений аппарата 10, представляющих положения его полета при прохождении заданной траектории или ее части.
В предпочтительном варианте выполнения изобретения, показанном на фигурах, устройство 12 крепления включает переднюю опору 14 и две задних опоры 16.
В этом случае передняя опора 14 постоянной длины соединяет аппарат 10 с полом 15 неподвижной конструкции тоннеля аэродинамической трубы 11. Она расположена в вертикальной плоскости, проходящей через вышеупомянутую продольную ось А аппарата 10, и ориентирована строго радиально вниз по отношению к этой оси.
Как более подробно показано на фиг.4, передняя опора 14 имеет вертикальную колонну 18, образованную жесткой металлической трубой, нижний конец которой прикреплен к полу 15 неподвижной конструкции тоннеля аэродинамической трубы 11, а верхний конец удерживает летательный аппарат 10 посредством шарнирного устройства 20. Это шарнирное устройство 20 обеспечивает, по меньшей мере, две степени свободы, допуская поворот вокруг двух осей В и С, ориентированных по двум взаимно перпендикулярным направлениям и перпендикулярных продольной оси А аппарата 10. Первая из этих двух осей – ось В – совпадает с вертикальной осью колонны 18. Вторая ось С, ориентированная по поперечному направлению по отношению к аппарату 10, проходит примерно по его нижней образующей.
Более подробно шарнирное устройство состоит из вертикального штока 22, нижняя часть которого, образуя поворотную шейку, входит в расточку 23, выполненную в колонне 18 по оси В. Это устройство позволяет штоку 22 свободно поворачиваться вокруг вертикальной оси В колонны 18 в подшипниках 19. Между основанием колонны 18 и штоком 22 предусмотрены также упорные роликоподшипники 21, заблокированные гайкой 17, обеспечивающие получение конструкции без зазоров. Колонна 18 выполнена из двух частей, что позволяет монтировать подшипники 19, опорные подшипники 21 и один преобразователь 56 координат, который будет описан далее.
В своей верхней части, расположенной над колонной 18, шток 22 выполнен в виде вилки, в которой на подшипниках 25 установлен палец 24. Этот палец соединен с дополнительной втулкой 26, закрепленной под летательным аппаратом 10, испытания которого должны быть проведены. Ось пальца 24 соответствует поперечной оси С, определенной ранее. Это устройство позволяет аппарату 10 свободно поворачиваться вокруг оси С по отношению к штоку 22.
Втулка 26, через которую передняя опора 14 крепится к летательному аппарату 10, расположена в передней половине этого аппарата. Тем не менее ее расположение сдвинуто назад по отношению к передней части аппарата, чтобы не нарушать течение воздуха в этом особенно чувствительном районе. В качестве иллюстрации, ни в коей мере не являющейся ограничивающей изобретение, втулка 26 расположена на расстоянии одной трети дины аппарата 10, считая от его передней точки.
Необходимо отметить, что в варианте выполнения, вместо того чтобы размещать переднюю опору под летательным аппаратом 10, передняя опора 14 могла бы быть расположена над ним и соединена своим верхним концом с потолком (не показан) неподвижной конструкции тоннеля аэродинамической трубы 11.
Как показано на фиг.1, обе задние опоры 16 ориентированы радиально по отношению к вышеупомянутой продольной оси А аппарата 10 и расположены в одной и той же вертикальной плоскости Р1, перпендикулярной этой оси, преимущественно на расстоянии примерно одного метра позади передней опоры 14. Точнее, когда опорное устройство 12 находится в своем исходном положении, в котором угол рыскания и угол атаки равны нулю, как показано сплошными линиями на фиг.2, обе задние опоры 16 (схематически показанные здесь в виде отрезков) расположены симметрично с одной и с другой стороны вертикальной плоскости Р2, проходящей через переднюю опору 14 и через продольную ось А аппарата 10.
Как показано на фиг.5, каждая из задних опор 16 содержит средства регулировки длины, образованные в предпочтительном варианте выполнения гидравлическими домкратами 28, приводимыми в действие по длине. Более подробно, каждая из задних опор 16 содержит, в основном, один гидравлический домкрат 28 и два соединения 30 и 32, обеспечивающие возможность поворота, которыми противоположные концы домкрата 28 шарнирно соединены с первой проушиной 34, закрепленной на полу неподвижной конструкции тоннеля аэродинамической трубы 11, и со второй проушиной 36, закрепленной под летательным аппаратом 10.
Нижний конец каждого из гидравлических домкратов 28 шарнирно соединен с соответствующей проушиной 34 посредством пальца 38, ориентированного параллельно продольной оси А аппарата 10. Аналогичным образом верхний конец каждого из гидравлических домкратов 28 шарнирно соединен с проушиной 36 посредством пальца 40, ось которого ориентирована параллельно продольной оси А аппарата 10.
Когда опорное устройство 12 находится в своем исходном положении, определенном ранее, оба гидравлических домкрата 28 (и, следовательно, обе задние опоры 16) имеют одну и ту же длину. Кроме того, они наклонены один и другой под углом 45° по отношению к вертикальной плоскости Р2, проходящей через продольную ось А аппарата, образуя между собой угол в 90°.
Устройство, которое было только что описано, таково, что крепление аппарата 10 на неподвижной конструкции аэродинамической трубы, обеспеченный опорным устройством 12, является изостатическим.
Гидравлические домкраты 28, образуя средства регулировки длины, соединены со средствами 42 (фиг.1) дистанционного управления. Эти средства 42 дистанционного управления воздействуют на гидравлические домкраты 28 в текущий момент времени и без ручного вмешательства для изменения длины контролируемым образом. Возможно также изменять в текущий момент времени и непрерывно характеристики, относящиеся к положению аппарата во время полета, такие как угол рыскания и/или угол атаки, во время работы двигателя. Это устройство позволяет изучать поведение аппарата 10 с работающим двигателем при различных его положениях и, в частности, на полной траектории или на части траектории, которая может быть в дальнейшем у аппарата.
Так, на фиг.2 штрихпунктирными линиями показано, что одновременное увеличение длины каждого из двух домкратов 28 выражается в увеличении на dz высоты аппарата в вертикальной плоскости Р1. Из-за того, что высота аппарата в вертикальной плоскости, проходящей через переднюю опору 14, остается неизменной, переходят от нулевого угла атаки к контролируемому отрицательному углу атаки.
Аналогично на фиг.2 штриховыми линиями показано, что одновременное увеличение длины одного из домкратов 28 и уменьшение длины другого домкрата 28 дистанционными средствами управления в контролируемом соотношении выражается в боковом смещении на dy аппарата в плоскости Р2. Переходят таким образом от нулевого угла рыскания к контролируемому углу рыскания вправо или влево.
Как показано на фиг.3 и 4, передняя опора 14, длина которой неизменна, расположена внутри обтекаемого кожуха 44. Этот кожух представляет в сечении приблизительно форму ромба со скошенными углами, большая диагональ которого ориентирована параллельно оси А аппарата. Необходимо отметить, что сечение обтекаемого кожуха 44 прогрессивно возрастает по мере удаления от аппарата 10.
Аналогичным образом (фиг.5) каждая из задних опор 16 помещена внутри обтекаемого кожуха 46, которые также представляют в сечении приблизительно форму ромба с большой диагональю, ориентированной параллельно оси А аппарата 10. Кожух 46 прикреплен к верхнему концу соответствующего домкрата 28, шарнирно соединенного с проушиной 36 посредство пальца 40. Нижний конец каждого из кожухов 46 свободно входит в рукав 48, который окружает нижнюю часть домкрата 28. Нижний и верхний концы каждого из рукавов 48 прикреплены соответственно к проушине 34 и тоннелю аэродинамической трубы. Устройство таково, что верхняя часть рукава 48 присоединена к тоннелю аэродинамической трубы 11 таким образом, что нижний конец кожуха 46 находится всегда внутри рукава 48 при максимальном удлинении домкрата 28. Позиционирование нижней части кожуха 46 вокруг домкрата 28 обеспечено центрирующим кольцом 50, закрепленным на кожухе 46 и допускающим скольжение штока домкрата 28 (кожух 46 следует движениям домкрата).
В каждом из рукавов 48 расположены органы 54 (фиг.1) управления соответствующим домкратом 28. Эти органы 54 управления содержат, в частности, сервоклапан, а также систему клапанов, связанную со средствами 42 дистанционного управления. Расположение органов 54 управления снаружи стенки тоннеля аэродинамической трубы позволяет поместить эти органы вне горячей зоны, расположенной поблизости от аппарата во время испытаний. В этих горячих зонах температура достигает очень высоких значений, обычно около 350°С.
Для обеспечения очень точного контроля углов поворота вокруг осей В и С, устанавливаемых шарнирными поворотными устройствами 20 передней опоры 14, первое средство 56 (фиг.4) угловых измерений для измерения поворотов вокруг оси В расположено между штоком 22 и колонной 18 и второе средство 58 угловых измерений для измерения поворотов вокруг оси С расположено между штоком 22 и проушиной 26. Эти оба средства 56 и 58 для угловых измерений выполнены преимущественно в виде преобразователя координат, пригодными для измерения углов с точностью примерно в сотую долю градуса.
Первый преобразователь 56 координат установлен внутри колонны 18 и, следовательно, защищен от высокой температуры, которая царит внутри тоннеля аэродинамической трубы. Напротив, второй преобразователь 58 координат установлен в непосредственной близости от стенки аппарата и отделен от очень горячего воздуха только стенкой кожуха 44.
Вследствие этого для преобразователя 58 координат предусмотрены охлаждающие устройства, состоящие из трубопровода 60 (схематически показанного жирной линией на фиг.4), проходящего внутри кожуха 44 и обеспечивающего подвод для преобразователя 58 координат холодного воздуха от системы охлаждения (не показана), расположенной снаружи тоннеля 11 аэродинамической трубы.
Аналогичным образом предусмотрены охлаждающие устройства для охлаждения каждого из пальцев 40, которыми домкраты 28 шарнирно соединены с проушиной 36, закрепленной на аппарате 10. Расход воздуха в охлаждающих устройствах контролируется посредством калиброванных насадок, установленных на концах труб около охлаждаемых частей (например, 100 г/с). Эти охлаждающие устройства включают, кроме того, трубы 62 (схематически показаны жирной линией на фиг.5), проходящие внутри соответствующих кожухов 46 так же, как и внутри рукавов 48. Своими концами, расположенными снаружи тоннеля 11 аэродинамической трубы, эти трубы соединены с охлаждающим контуром (не показан), подающим холодный воздух. Необходимо отметить, что трубы 62 имеют, по меньшей мере, один телескопический или гибкий участок, позволяющий им выдерживать изменение длины гидравлических домкратов 28 соответствующих задних опор 16.
Само собой разумеется, что изобретение не ограничивается вариантом выполнения, который был только что описан в качестве примера, но охватывает все варианты. Так, оно включает, в частности, случай, когда передняя опора и/или задние опоры могли бы быть расположены не под аппаратом во время испытаний, а над ним, не выходя за рамки изобретения. Кроме того, гидравлические домкраты 28 могли бы быть заменены электрическим домкратами при условии, что их сравнительно большое время срабатывания было бы совместимо с моделируемой траекторией, или пневматическими домкратами при условии, что занимаемый ими объем не создавал бы слишком больших затруднений. Наконец, шарнирные поворотные устройства могут включать третью вращательную степень свободы, ортогональную двум вращательным степеням свободы, описанным ранее.
Формула изобретения
1. Устройство (12), предназначенное для крепления летательного аппарата (10) с двигателем в аэродинамической трубе при изучении поведения вышеупомянутого аппарата (10) с работающим двигателем при различных положениях, причем вышеупомянутое устройство содержит несколько шарнирных опор (14, 16), предназначенных для соединения аппарата (10) с неподвижной конструкцией (15) аэродинамической трубы, со смещенным расположением по отношению к зонам обтекания воздухом, расположенным вокруг передней части аппарата (полномасштабной модели), а также перед двигателем и позади его, и по меньшей мере одна из упомянутых опор содержит средства (28) регулировки длины, отличающееся тем, что средства (28) регулировки длины соединены со средствами (42) дистанционного управления, предназначенными для изменения положения аппарата в текущий момент.
2. Устройство по п.1, отличающееся тем, что опоры состоят из передней опоры (14) неизменной длины, содержащей шарнирные устройства (20) с по меньшей мере двумя степенями свободы, допускающие поворот вокруг двух осей (В, С), ориентированных по двум взаимно перпендикулярным направлениям и перпендикулярных продольной оси (А) аппарата, и двух задних опор (16), включающих каждая средства (28) регулировки длины и соединения (30, 32), установленные с возможностью поворота.
3. Устройство по п.2, отличающееся тем, что передняя опора (14) ориентирована строго радиально по отношению к продольной оси аппарата (10) и расположена в вертикальной плоскости (Р2), проходящей через вышеупомянутую продольную ось (А), а задние опоры (16) ориентированы радиально по отношению к вышеупомянутой продольной оси (А) аппарата и расположены симметрично по отношению к вышеупомянутой вертикальной плоскости (Р2), когда обе задние опоры (16) находятся в исходном положении.
4. Устройство по п.3, отличающееся тем, что в его исходном положении обе задние опоры (16) образуют с вышеупомянутой вертикальной плоскостью (Р2) такой угол, чтобы крепление аппарата (10) посредством устройства (12) было бы изостатическим.
5. Устройство по п.4, отличающееся тем, что вышеупомянутый угол практически равен 45°.
6. Устройство по любому из пп.3-5, отличающееся тем, что задние опоры (16) смещены назад вдоль вышеупомянутой продольной оси (А) аппарата (10) примерно на один метр по отношению к передней опоре (14).
7. Устройство по любому из пп.2-6, отличающееся тем, что средствами регулирования длины являются гидравлические домкраты (28), приводимые в действие по длине.
8. Устройство по любому из пп.2-7, отличающееся тем, что каждая из вышеупомянутых опор (14, 16) расположена внутри кожуха (44, 46) обтекаемой формы.
9. Устройство по любому из пп.2-8, отличающееся тем, что первые средства охлаждения предусмотрены для охлаждения соединений (32) и имеют возможность поворота, расположенных в непосредственной близости от аппарата.
10. Устройство по любому из пп.2-9, отличающееся тем, что средства (56, 58) для угловых измерений соединены с шарнирными поворотными устройствами (20), причем предусмотрены вторые устройства охлаждения для охлаждения средств (58) для угловых измерений, расположенных в непосредственной близости от аппарата.
РИСУНКИ
|
|