|
|
(21), (22) Заявка: 2003109744/28, 02.07.2001
(24) Дата начала отсчета срока действия патента:
02.07.2001
(30) Конвенционный приоритет:
08.09.2000 AU PR0018
(43) Дата публикации заявки: 20.10.2004
(45) Опубликовано: 10.03.2006
(56) Список документов, цитированных в отчете о поиске:
US 4145915 A, 27.03.1979. US 4776206 A, 11.10.1988. US 5078005 A, 07.01.1992. RU 2113706 C1, 20.06.1998. DE 3331420 A1, 14.03.1985. US 4555934 A, 03.12.1985.
(85) Дата перевода заявки PCT на национальную фазу:
08.04.2003
(86) Заявка PCT:
AU 01/00739 (02.07.2001)
(87) Публикация PCT:
WO 02/21096 (14.03.2002)
Адрес для переписки:
129010, Москва, ул. Б.Спасская, 25, стр.3, ООО “Юридическая фирма Городисский и Партнеры”, пат.пов. Г.Б. Егоровой
|
(72) Автор(ы):
ДЭЙВИ Кеннет Джон (US)
(73) Патентообладатель(и):
СТРАКЧЕРАЛ МОНИТОРИНГ СИСТЕМЗ ЛТД (AU)
|
(54) СПОСОБ КОНТРОЛЯ ЦЕЛОСТНОСТИ ЭЛЕМЕНТОВ И КОНСТРУКЦИЙ И УСТРОЙСТВО ДЛЯ ЕГО ОСУЩЕСТВЛЕНИЯ
(57) Реферат:
Изобретение относится к средствам для контроля целостности конструкции, расположенной в окружающей среде, содержащей текучую среду под давлением окружающей среды. Изобретение направлено на предотвращение попадания влаги в конструкцию. Конструкция включает в себя оболочку и совокупность внутренних полостей. Способ контроля предусматривает подачу первой текучей среды в полости, причем подаваемая текучая среда находится под давлением, которое несколько больше, чем давление окружающей среды. Скорость течения (расход) подаваемой текучей среды контролируют. Изменение скорости течения (расхода) является показателем дополнительной утечки текучей среды через конструкцию, что позволяет заранее выдавать сигнал предупреждения о нарушении ее целостности. Контроль осуществляют, пропуская подаваемую текучую среду через большое полное сопротивление текучей среде и контролируя с помощью датчика изменение перепада давлений на полном сопротивлении. 6 с. и 22 з.п. ф-лы, 9 ил. 
Область техники, к которой относится изобретение
Изобретение касается способа контроля целостности элемента или конструкции и устройства для его осуществления, в частности, но не исключительно, путем контроля состояния давления, которое можно поддерживать внутри полостей, либо присущих в процессе изготовления элемента или конструкции, либо сформированных специально.
Предшествующий уровень техники
Настоящее изобретение сделано в результате рассмотрения проблем, с которыми сталкиваются авиаконструкторы при контроле целостности, которому подвергают, например, слоистые конструкции, обычно располагающиеся вокруг соединений внахлестку и вырезов в фюзеляжах, а также по существу полые элементы, имеющиеся в составных конструкциях, такие как щитки, двери, панели и т.п., и при попытках предотвратить проникновение влаги в такие конструкции и элементы. Эти конструкции и элементы трудно осмотреть на предмет обнаружения трещин, коррозии и разрушения связей. Кроме того, они подвержены проникновению влаги, происходящему по многим причинам, в число которых входят:
капиллярное воздействие и по существу полый характер конструкций, в частности, тех, которые изготовлены из композиционных материалов;
воздействие экстремальных температур;
воздействие больших изменений давления окружающей среды;
воздействие окружающей среды высокой влажности и осадков.
Помимо коррозии в металлической конструкции проникновение влаги может привести к таким серьезным дефектам, как разрушение связей ввиду прогрессирующего повреждения, вызываемого циклическим проникновением влаги с последующим ее расширением по мере замерзания.
Конечно, с вышеупомянутыми проблемами сталкиваются не только авиаконструкторы. Контроль целостности конструкций находит очень широкое применение и может быть использован, например, с целью контроля адгезивных связей, таких как имеющиеся между безэховыми плитками на подводной лодке или теплостойкими плитками на космическом корабле.
В частности, из US 4145915 известна система для обнаружения трещин в непроницаемой конструкции, такой как морское основание. Система требует формирования полости в элементе конструкции, уплотнения канала текущей среды, обеспечивающего сообщение посредством текучей среды от полости к источнику давления, отличающегося от давления окружающей среды, и датчику давления, и приложения более высокого или более низкого давления к полости и каналу текучей среды. Внутреннее давление полости и канала текучей среды контролируется датчиком давления. Трещина в элементе конструкции, проникающая в полость, позволяет текучей среде проходить между окружением и полостью, что обнаруживается датчиком давления.
Раскрытие изобретения
Задача настоящего изобретения состоит в том, чтобы разработать способ контроля целостности элемента или конструкции и устройство для его осуществления. Дополнительная задача состоит в том, чтобы предотвратить проникновение влаги в упомянутый элемент или конструкцию.
Для упрощения нижеследующего описания, включая формулу изобретения, во всех случаях употребления термина «конструкция» он будет относиться к конструкции или элементу.
Согласно первому аспекту настоящего изобретения предложен способ контроля целостности конструкции, расположенной в окружающей среде, содержащей текучую среду под давлением окружающей среды, причем упомянутая конструкция имеет, по меньшей мере, одну внутреннюю полость, а упомянутый способ включает в себя этапы, на которых обеспечивают источник текучей среды под первым давлением, которое больше, чем давление окружающей среды, устанавливают сообщение посредством текучей среды между, по меньшей мере, одной полостью и источником и контролируют изменение установившейся скорости притока текучей среды, по меньшей мере, в одну внутреннюю полость.
Давление упомянутого источника текучей среды предпочтительно является по существу постоянным относительно упомянутого давления окружающей среды.
В одном конкретном варианте осуществления этап контроля включает в себя подсоединение большого полного сопротивления потоку текучей среды последовательно между, по меньшей мере, одной полостью и источником для создания установившегося перепада давлений между, по меньшей мере, одной полостью и источником, а также контроль изменения установившегося перепада давлений.
Упомянутый этап обеспечения источника текучей среды под первым давлением включает в себя установление первого давления на уровне, который значительно выше, чем давление окружающей среды, для преодоления воздействия гигроскопической силы и капиллярного воздействия, но не достаточен для нанесения ущерба целостности конструкции.
Упомянутый этап обеспечения источника текучей среды предпочтительно включает в себя обеспечение источника первого газа.
Упомянутый этап обеспечения источника первого газа предпочтительно включает в себя обеспечение влагоуловителя между источником и, по меньшей мере, одной полостью для сушки газа перед протеканием его в, по меньшей мере, одну полость.
Когда конструкция включает в себя две или более внутренних полостей, этап установления сообщения предпочтительно включает в себя один или оба следующих этапа, на которых: (а) устанавливают сообщение посредством текучей среды внутренних полостей друг с другом; и (б) устанавливают сообщение посредством текучей среды между внутренними полостями и источником.
В альтернативном конкретном варианте осуществления этап контроля включает в себя:
обеспечение источника вещества-индикатора текучей среды в сообщении посредством текучей среды с источником и контроль конструкции на наличие следов вещества-индикатора текучей среды.
Вещество-индикатор текучей среды предпочтительно включает в себя окрашенную индикаторную жидкость или окрашенный индикаторный газ.
В дополнительном альтернативном конкретном варианте осуществления этап контроля изменения установившегося притока включает в себя:
обеспечение источника обнаружимого газа в сообщении посредством текучей среды с источником,
обеспечение обнаруживающего средства для газа и
контроль изменения установившейся скорости утечки газа из конструкции.
В соответствии с еще одним аспектом настоящего изобретения предложен способ контроля целостности конструкции, расположенной в окружающей среде, содержащей текучую среду под давлением окружающей среды, причем способ включает в себя этапы, на которых
формируют уплотненную полость в конструкции,
обеспечивают источник текучей среды под первым давлением, которое больше, чем давление окружающей среды,
устанавливают сообщение посредством текучей среды между, по меньшей мере, одной полостью и источником и
контролируют изменение установившейся скорости притока текучей среды в полость.
Этап формирования уплотненной полости предпочтительно включает в себя формирование выемки или впадины в или на конструкции и формирование уплотнения вдоль выемки или впадины.
В соответствии с дополнительным аспектом настоящего изобретения предложен способ контроля целостности конструкции, расположенной в окружающей среде, содержащей текучую среду под давлением окружающей среды, причем конструкция представляет собой совокупность двух или более элементов, которые соединены друг с другом, при этом элементы расположены рядом друг с другом таким образом, что поверхность одного элемента примыкает к поверхности, по меньшей мере, еще одного из элементов, образуя соответствующие пары соседних поверхностей, а способ включает в себя этапы, на которых
формируют одну или более полостей между поверхностями одной или более пар соседних поверхностей,
обеспечивают источник текучей среды под первым давлением, которое больше, чем давление окружающей среды,
устанавливают сообщение посредством текучей среды между, по меньшей мере, одной из полостей и источником для обеспечения, по меньшей мере, одной полости под давлением источника и
контролируют изменение установившейся скорости притока текучей среды, по меньшей мере, в одну полость под давлением источника.
В предпочтительном варианте способ дополнительно включает в себя этап, на котором устанавливают сообщение посредством текучей среды между попеременно одной из полостей под давлением окружающей среды для создания соседних, находящихся одни между другими полостей под давлением источника и полостей под давлением окружающей среды.
В предпочтительном варианте способ дополнительно включает в себя этап, на котором устанавливают влагоуловитель, подсоединенный последовательно между полостями под давлением окружающей среды и окружающей средой или источником давления окружающей среды.
Этап контроля предпочтительно включает в себя подсоединение большого полного сопротивления текучей среде последовательно между полостями под давлением источника и источником для создания установившейся разности давлений между полостями под давлением источника и источником и контроль изменения установившегося перепада давлений.
В альтернативном варианте осуществления этап контроля включает в себя снабжение источника веществом-индикатором текучей среды в сообщении посредством текучей среды с источником текучей среды и контроль конструкции на наличие следов вещества-индикатора текучей среды.
Когда элементы соединены друг с другом посредством слоя клеящего вещества или включают в себя слой уплотняющего материала между поверхностями пар соседних поверхностей, этап формирования предпочтительно включает в себя формирование полостей в слое клеящего вещества или уплотняющего материала.
Когда элементы соединены друг с другом посредством механических крепежных деталей, этап формирования предпочтительно включает в себя обеспечение уплотнения около поверхностей пар соседних поверхностей для формирования полостей между поверхностями пар соседних поверхностей.
В соответствии с дополнительным аспектом настоящего изобретения предложено устройство для контроля целостности конструкции, расположенной в окружающей среде, содержащей текучую среду под давлением окружающей среды, причем конструкция имеет, по меньшей мере, одну внутреннюю полость, а устройство включает в себя, по меньшей мере,
источник текучей среды под первым давлением, которое больше, чем давление окружающей среды,
канал сообщения для обеспечения сообщения посредством текучей среды между источником и, по меньшей мере, одной полостью и
контролирующее средство для контроля изменения установившейся скорости притока текучей среды по каналу сообщения, по меньшей мере, в одну внутреннюю полость.
В варианте осуществления контролирующее средство включает в себя большое полное сопротивление текучей среде, расположенное в канале сообщения последовательно между, по меньшей мере, одной полостью и источником, при этом большое полное сопротивление текучей среде создает устойчивый перепад давлений между, по меньшей мере, одной полостью и источником, и средство датчика, подсоединенное параллельно большому полному сопротивлению текучей среде, для контроля изменения перепада давлений в установившемся состоянии.
В предпочтительном варианте первое давление значительно превышает давление окружающей среды для преодоления воздействия гигроскопической силы и капиллярного воздействия, но не достаточно для нанесения ущерба целостности конструкции.
Текучая среда предпочтительно является газом.
В предпочтительном варианте устройство дополнительно включает в себя влагоуловитель, расположенный между источником и, по меньшей мере, одной полостью, для сушки газа перед протеканием его, по меньшей мере, в одну полость.
В альтернативном конкретном варианте осуществления контролирующее средство включает в себя вещество-индикатор текучей среды в сообщении посредством текучей среды с источником для обозначения мест конструкции, где текучая среда проникает из полости через конструкцию в окружающую среду.
В соответствии с дополнительным аспектом настоящего изобретения предложен способ предотвращения проникновения целевой текучей среды в конструкцию, расположенную в окружающей среде, содержащей целевую текучую среду под давлением окружающей среды, причем конструкция имеет, по меньшей мере, одну внутреннюю полость, а способ включает в себя этапы, на которых
обеспечивают источник текучей среды под первым давлением, которое больше, чем давление окружающей среды, и
обеспечивают канал сообщения посредством текучей среды между, по меньшей мере, одной полостью и источником.
В предпочтительном варианте способ дополнительно включает в себя этап, на котором осуществляют контроль изменения установившейся скорости притока текучей среды, по меньшей мере, в одну внутреннюю полость, облегчая тем самым контроль целостности конструкции.
В соответствии с дополнительным аспектом настоящего изобретения, предложено устройство для предотвращения проникновения целевой текучей среды в конструкцию, расположенную в окружающей среде, содержащей целевую текучую среду под давлением окружающей среды, причем конструкция имеет, по меньшей мере, одну внутреннюю полость, а устройство включает в себя, по меньшей мере,
источник текучей среды под первым давлением, которое больше, чем давление окружающей среды, и
один или более каналов сообщения для обеспечения сообщения посредством текучей среды между источником и, по меньшей мере, одной полостью.
Краткое описание чертежей
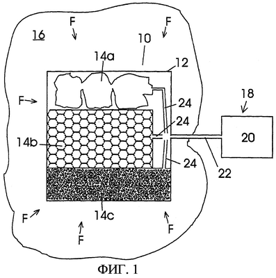
На фиг.1 представлено условное изображение первого конкретного варианта осуществления настоящего изобретения;
на фиг.2 представлено условное изображение устройства в соответствии с дополнительным конкретным вариантом осуществления настоящего изобретения для контроля состояния давления в полостях внутри конструкции, а значит – и для контроля целостности конструкции;
на фиг.3 представлено условное изображение дополнительного варианта осуществления настоящего изобретения;
на фиг.4а представлено условное изображение дополнительного варианта осуществления настоящего изобретения;
на фиг.4b представлено условное изображение дополнительного варианта осуществления настоящего изобретения;
на фиг.5а представлено условное изображение двухслойной слоистой конструкции, для которой применяется настоящее изобретение в варианте его осуществления;
на фиг.5b представлена разновидность конфигурации варианта осуществления, проиллюстрированного на фиг.5а;
на фиг.6 представлено условное изображение трехслойной слоистой конструкции, для которой применяется настоящее изобретение в варианте его осуществления;
на фиг.6а представлена разновидность конфигурации варианта осуществления, проиллюстрированного на фиг.6;
на фиг.6b представлена дополнительная разновидность конфигурации варианта осуществления, проиллюстрированного на фиг.6;
на фиг.7 представлено условное изображение четырехслойной слоистой конструкции, для которой применяется настоящее изобретение в варианте его осуществления;
на фиг.8а представлено условное изображение трехслойной слоистой конструкции, для которой применяется настоящее изобретение в варианте его осуществления;
на фиг.8b представлено условное изображение трехслойной слоистой конструкции, для которой применяется настоящее изобретение в последующем варианте его осуществления; и
на фиг.9 изображено частичное сечение под углом в дополнительном варианте осуществления компоновки полости.
Подробное описание предпочтительных вариантов осуществления
На фиг.1 условно изображен вариант осуществления способа и устройства согласно настоящему изобретению, которые предназначены для предотвращения проникновения текучей среды F в конструкцию 10. Конструкция 10 – это воображаемая конструкция, скомпонованная из трех типов составных конструкций и представленная просто в целях иллюстрации принципов построения конкретных вариантов осуществления изобретения. Конструкция 10 имеет внешнюю оболочку 12 и совокупность внутренних полостей 14а, 14b и 14с (именуемых далее «полостями 14»). Фактическая геометрия полостей 14 зависит от типа конструкции 10. Полости 14а иллюстрируют случай конструкции 10, имеющей внутренние полости произвольной конфигурации; полости 14b иллюстрируют случай конструкции 10, имеющей сотовую или ячеистую сердцевину; а полости 14с иллюстрируют случай конструкции 10, имеющей сердцевину из вспененного материала.
Конструкция 10 находится в окружающей среде 16, содержащей текучую среду F под давлением окружающей среды, которое действует на конструкцию 10. Например, окружающая среда 16 может быть атмосферой на высоте 4000 м над уровнем моря, где текучая среда представляет собой воздух, или окружающая среда 16 может быть океаном на глубине 100 м, ив этом случае текучая среда F является морской водой.
Устройство 18 в соответствии с вариантом осуществления настоящего изобретения оказывает свое воздействие для предотвращения или, по меньшей мере, минимизации проникновения текучей среды F в конструкцию 10. Устройство 18 включает в себя источник 20 давления, предназначенный для подачи текучей среды, такой как воздух или инертный газ, под давлением, которое больше, чем давление текучей среды F. Канал связи в виде трубы 22 обеспечивает связь посредством текучей среды между источником 20 и одной или несколькими внутренними полостями 14 конструкции 10. В случае если все полости 14 конструкции 10 прямо или косвенно сообщаются друг с другом посредством текучей среды, то для обеспечения сообщения посредством текучей среды в виде газа из источника 20 с полостями 14 нужно лишь, чтобы труба 22 проходила в конструкцию 10 до точки, где она пронизывает оболочку 12. Кроме того, хотя это и не показано на чертежах, можно предусмотреть множество труб 22 между источником 20 и конструкцией 10. Однако если полости 14 не находятся во взаимном сообщении друг с другом посредством текучей среды или скомпонованы в виде уплотненных слоев или групп, канал сообщения устройства 18 может включать в себя один или несколько проходов или труб 24, содержащихся внутри оболочки 12, которые сообщаются с трубой 22, обеспечивая тем самым сообщение посредством текучей среды в виде газа между источником 20 и полостями 14. В альтернативном варианте между внутренними полостями 14 можно предусмотреть малые отверстия для обеспечения сообщения посредством текучей среды между этими полостями. Такие отверстия можно проделать, например, с помощью лазера.
Давление источника 20 поддерживается таким, что оно превышает давление текучей среды F (которое может быть либо статическим давлением, либо динамическим давлением), предотвращая проникновение текучей среды F в полости 14. Более конкретно, давление источника 20 поддерживается на уровне, достаточном для преодоления воздействия гигроскопической силы и капиллярного воздействия с целью предотвращения проникновения влаги в конструкцию 10, но не достаточном для нанесения ущерба целостности конструкции 10.
Следует признать, что если оболочка 12 абсолютно непроницаема для текучей среды F и поэтому не содержит никаких дефектов, или внутри нее не развиваются никакие дефекты в течение срока службы конструкции 10, то текучая среда F не сможет попасть из окружающей среды в конструкцию 10. Однако на практике по многим причинам, включая влияние проницаемости материала, динамическое нагружение, локализованное повреждение вследствие ударного воздействия, случающиеся на практике нарушения технологии изготовления конструкции 10 или использование крепежных деталей для изготовления этой конструкции, зачастую случается так, что оболочка 12 является или со временем становится проницаемой для текучей среды F.
На фиг.2 изображено устройство 18а, которое обеспечивает контроль состояния давления полостей 14, а значит – и контроль целостности конструкции 10а. Устройство 18а включает в себя источник 20 текучей среды и трубу 22а, которая выполняет функцию, аналогичную функции трубы 22 в конкретном варианте осуществления, изображенном на фиг.1, и взаимосвязана с контролирующим устройством 26, предназначенным для контроля притока текучей среды из источника 20 в полости 14. Контролирующее устройство 26 имеет в своей основе конструкцию, которая описана в международной заявке №PCT/AU 94/00325 (WO 94/27130), содержание которой упоминается здесь для справок. Существенное различие заключается в том, что в конкретных вариантах осуществления настоящего изобретения используется источник постоянного давления (превышающего давление окружающей среды или атмосферное), тогда как в международной заявке №PCT/AU 94/00325 (WO 94/27130) используется источник постоянного вакуума. Контролирующее устройство 26 контролирует изменение установившейся скорости притока текучей среды из источника 20 в полости 14. В этом варианте осуществления контролирующее устройство 26 включает в себя большое полное сопротивление 28 текучей среде, расположенное последовательно в трубе 22а между источником 20 и полостями 14. Это большое полное сопротивление 28 текучей среде предпочтительно представляет собой очень длинный отрезок канала с малым отверстием, который обеспечивает малый поток текучей среды. В альтернативном варианте большое полное сопротивление 28 текучей среде может содержать проницаемый материал, такой как спеченное стекло.
Чтобы увеличить способность к измерению скоростей потоков (расходов) с помощью устройства, описанного в международной заявке №PCT/AU 94/00325 (WO 94/27130), максимальную скорость потока (максимальный расход) задают на минимальном уровне, который можно обнаружить с помощью современных цифровых расходомеров. Например, труба, имеющая отверстие канала менее 0,3 мм и длину свыше 3 метров, а также подвергающаяся воздействию перепада давлений воздуха, составляющего 20 кПа по всей длине, будет иметь поток, расход при котором составляет приблизительно 2-3 микролитра в минуту. С учетом того, что чувствительность контролирующего устройства увеличивается по экспоненциальному закону после достижения нуля, а при желании величину большого полного сопротивления текучей среде можно увеличивать до бесконечности, возможно обнаружение исключительно малых скоростей течения (расходов).
Вообще говоря, величина большого полного сопротивления текучей среде должна быть достаточно большой для получения значительного перепада давлений на большом полном сопротивлении в ответ на малый поток через это большое полное сопротивление.
Параллельно полному сопротивлению 28 подсоединено измерительное средство в форме дифференциального датчика 30 давления. Датчик 30 подсоединен параллельно полному сопротивлению 28 с помощью трубок 32 сообщения посредством текучей среды, а также подсоединен к усилительно-отображающему блоку 34 посредством электрических проводников 36. В альтернативном варианте дифференциальный датчик давления 30, подсоединенный параллельно полному сопротивлению 28, может быть выполнен в форме неэлектрического индикатора, если наличие электрической схемы нежелательно.
Если предположить, что оболочка 12 конструкции 10а имеет некоторую степень собственной проницаемости, то после первоначального запуска устройства 18а будет наблюдаться характеристическая установившаяся скорость утечки текучей среды через конструкцию 10а и из нее. Когда происходит изменение проницаемости оболочки 12 или конструкции 10а, происходит и соответствующее увеличение скорости притока текучей среды из источника 20 в конструкцию 10а. Это будет контролироваться и обнаруживаться контролирующим устройством 26. Типичным приложением этого конкретного варианта осуществления может быть дверь салона, закрылок, элерон и т.п. воздушного судна, и при этом предусматривается наполнение азотом под давлением, которое больше, чем давление окружающей среды.
На фиг.3 изображен вариант осуществления предлагаемого устройства и способа в приложении к конструкции 10b, содержащей безэховые плитки 38, приклеенные к корпусу 40 подводной лодки.
Вокруг периферии каждой плитки расположен валик эластомерного сцепляющего раствора 48, так что под сцепляющим раствором 48 между плитками 38 или под сцепляющим раствором 48 и между краем плитки 38 и примыкающей поверхностью корпуса 40 создаются полости 50. Эти полости 50 сообщаются с контролирующим устройством 18b. Устройство 18b аналогично устройству 18а, изображенному на фиг.2, и содержит контролирующее устройство 26b, которое включает в себя трубу 22b, обеспечивающую канал сообщения посредством текучей среды между полостями 50 и источником 20b текучей среды (в этом примере – источником газа) через последовательно подсоединенное большое полное сопротивление 28 текучей среде. Параллельно этому полному сопротивлению 28 с помощью трубок 32 подсоединен дифференциальный датчик 30 давления. Усилительно-отображающий блок 34, подсоединенный к датчику 30 посредством электрических проводников 36, обеспечивает отображение установившегося перепада давлений на полном сопротивлении 28. Подачу текучей среды из источника 20 измеряют с помощью регулятора 52 давления, который расположен в трубе 22b между полным сопротивлением 28 и источником 20. Регулятор 52 также имеет связь посредством давления по трубе 54 с окружающей атмосферой, в этом случае – морской водой, показанной здесь обозначением Fs и обозначенной белыми стрелками, острия которых указывают направление действия давления. Регулятор 52 поддерживает давление газа из источника 20 по существу на постоянном уровне, превышающем давление воды. Когда давление окружающей воды изменяется с глубиной, система 18b, в частности, регулятор 52 получает возможность динамически изменять давление газа из источника 20, подаваемого в полости 50. При эксплуатации контролирующее устройство 26b стабилизируется с установлением относительно постоянного перепада давлений на большом полном сопротивлении, не зависящего от давления окружающей воды.
Контроль целостности клеевой связи плиток 38 облегчается за счет перепада давлений на большом полном сопротивлении 28 при любом увеличении, которое вызывается малой утечкой воздуха из любой полости 50, при этом выдается достаточно продолжительный сигнал оповещения о любом нарушении связности плитки 38 или повреждении, вносимом в сцепляющий раствор 48. Угроза нарушения связности и проникновения воды должна сразу становиться заметной ввиду роста перепада давлений на полном сопротивлении 28, а также должна обнаруживаться датчиком 30. Потеря плитки 38 также может произойти в результате резкого скачка перепада давлений. Контролирующее устройство 28 также может быть оснащено регулируемым перепускным каналом в обход полного сопротивления 28 для обеспечения больших скоростей течения воздуха из источника 20, что позволяет получить некоторые допуски на повреждение и поддерживать защиту давлением выше давления окружающей среды для полостей 50.
Давление окружающей среды, когда ею является морская вода Fs, окружающая корпус 40 подводной лодки, может значительно изменяться от шва боевой рубки до «брюха» корпуса, так что может потребоваться группировка плиток 38 по нескольким вертикально связанным слоям, контролируемым по отдельности, для гарантии того, что давление газа, подаваемого к конкретной группе плиток, остается лишь незначительно превышающим давление окружающей среды, воздействующее на эти плитки, предотвращая тем самым избыточное давление, превышающее давление окружающей среды, в верхних группах плиток. Этого можно достичь, предусмотрев коллектор в части трубы 22b, находящийся между источником 20 и регулятором 52 и имеющий множество регуляторов 52, каждый из которых запитывается от этого коллектора и подсоединен к идентичным конструкциям, состоящим из большого полного сопротивления 28 текучей среде, датчика 30 и связи 54 с давлением окружающей среды.
На фиг.4а изображен следующий вариант осуществления настоящего изобретения применительно к конструкции 10с, содержащей три элемента 56, 58, 60, которые соединены в форме слоистой конструкции (конструкции в виде сэндвича). Более конкретно, конструкция 10с представляет собой часть находящегося под давлением фюзеляжа воздушного судна. Элементы 56, 58 и 60 скреплены посредством заклепок 62, которые проходят сквозь отверстия 71, выполненные в этих элементах 56, 58 и 60. Каждая заклепка 62 имеет головку 64, посаженную заподлицо с элементом 56, и расклепанный хвостовик 66 на противоположном конце, сидящий на элементе 60. Заклепки с головками заподлицо показаны лишь в качестве примера, и их можно заменить заклепками с закругленными головками и крепежными деталями болтовых соединений.
Слоистые элементы в общем случае имеют слой уплотняющего материала между каждыми скрепляемыми слоями для предотвращения коррозии и коррозионного истирания (фреттинга). Чтобы облегчить создание полости эта компоновка в данном конкретном варианте осуществления изменена таким образом, что слой 68 уплотняющего материала предусмотрен лишь между элементами 56 и 58, а уплотняющий материал, который обычно имеется между элементами 58 и 60, по меньшей мере, частично удален, оставляя между ними газопроницаемый зазор 70. В соответствии с данным конкретным вариантом осуществления зазор 70 может быть выполнен в виде полости 72 за счет обеспечения периметрического уплотнения 74 по периметру зазора 70. Также следует уложить немного уплотняющего материала 75 вокруг расклепанного конца 66 каждой из заклепок 62 у примыкающей к ним поверхности элемента 60. Устройство 18с, в котором заключено контролирующее устройство 26с, связано с полостью 72 для контроля целостности конструкции 10с. Контролирующее устройство 26с включает в себя трубу 22с, ведущую к параллельному соединению большого полного сопротивления 28 текучей среде и датчика 30 давления. Датчик 30 подсоединен к усилительно-отображающему блоку 34 посредством электрических проводников 36. В альтернативном варианте дифференциальный датчик 30 давления, подсоединяемый параллельно полному сопротивлению 28, может быть выполнен в форме неэлектрического индикатора, если наличие электрической схемы нежелательно.
Источник 20с давления согласно этому конкретному варианту осуществления представляет собой давление салона воздушного судна, которое подается как на полное сопротивление 28, так и в датчик 30, и обозначено символом «СР» и черными стрелками, острия которых указывают направление воздействия соответствующего давления.
Если бы в промежуточном элементе 58 вокруг заклепки 62 образовалась трещина 100, то из-за этой трещины 100 и обуславливаемого ею ослабления крепления вокруг заклепки 62 и головки 64 мог бы возникнуть канал утечки потока (показанный маленькими черными стрелками, острия которых отображают направление потока) во внешнюю атмосферу на большой высоте, содержащую текучую среду, обозначенную символом FA. Возникающее вследствие этого увеличение притока воздуха в полость 72 через полное сопротивление 28 будет обнаруживаться датчиком 30 в виде изменения перепада давлений, и это послужит указанием наличия трещины 100 в элементе 58.
В альтернативном конкретном варианте осуществления, изображенном на фиг.4b, устройство 18′ для контроля целостности конструкции 10с содержит упругий контейнер 76 вещества-индикатора текучей среды, такого как жидкий или газообразный краситель, или обнаружимый газ, причем этот контейнер соединен трубой 22′, являющейся ответвлением трубы 22с, с полостью 72. Как и в предыдущем конкретном варианте осуществления, если бы в промежуточном элементе 58 возникла трещина 100, идущая к заклепке 62, то возник бы поток вещества-индикатора из контейнера 76 через трубу 22′, полость 72, трещину 100 и вокруг заклепки 62, вытекающий во внешнюю атмосферу. Это происходит потому, что упругий контейнер 76 также подвергается воздействию давления салона воздушного судна СР. Обнаружение красителя или газа вокруг заклепки 62 обеспечивает указание наличия трещины в элементе 58.
Когда вещество-индикатор текучей среды является жидкостью, обнаружение можно проводить посредством визуального осмотра конструкции. Появление красителя, скажем, вокруг головки заклепки 62 говорит о возможности наличия трещины. Когда в качестве вещества-индикатора используют обнаружимый газ, например гелий, необходима аппаратура для контроля и обнаружения этого газа, которая позволит обнаружить выброс его из конструкции. В случае, если конструкция обладает некоторой собственной проницаемостью, конечно, будет иметь место установившийся поток газа через конструкцию, и при этом потребуется контроль его изменения в установившемся состоянии. С другой стороны, если конструкция сразу же после изготовления абсолютно непроницаема, то потребуется обнаружение любого наличия вещества-индикатора газа. Конечно, это то же самое, что контроль появления значительного перепада давлений на контролирующем устройстве 26с, показывающем наличие потока там, где раньше потока не было. Однако из-за чувствительности устройства 26с, содержащего полное сопротивление текучей среде, способ, обуславливающий использование вещества-индикатора текучей среды, с большей вероятностью окажется полезным при «исполнении роли второго плана» в качестве указателя местонахождения дефекта.
На фиг.5-7 изображены «слоистые» («сэндвичеобразные») конструкции, к которым применимы конкретные варианты осуществления настоящего изобретения.
На фиг.5а показано, что конструкция 10d содержит два элемента 56 и 60, скрепленные заклепками 62. Между обращенными друг к другу соседними поверхностями элементов 56 и 60 имеется газопроницаемый зазор 70. За счет уплотнения зазора 70 с помощью периметрического уплотнения 74, образована полость 72. Аналогично конструкции, показанной на фиг.4а, конструкция 10d представляет собой часть фюзеляжа воздушного судна, находящуюся под давлением салона воздушного судна СР и расположенную в окружающей среде, содержащей текучую среду FA под характерным для большой высоты давлением окружающей среды. Целостность конструкции 10d можно проконтролировать, соединив полость 72 посредством трубы 22d с контролирующим устройством 26d, которое подобно устройству 26с, показанному на фиг.4а, и относится к вышеописанному типу.
Когда полость 72 в конструкции 20d полностью заволакивается текучей средой F, любая утечка газа из полости 72 через конструкцию 56 будет происходить во внешнюю окружающую среду, содержащую текучую среду FA.
В показанном на фиг.5b варианте вышеупомянутой компоновки, изображенной на фиг.5а, устройство 26с может быть подсоединено между полостью 72 и FA под внешним атмосферным давлением. В этом примере полость 72 принимает форму трубы для источника давления, являющегося давлением салона воздушного судна СР, в случае развития сквозного дефекта в элементе 60. Рассмотрение этой компоновки продолжается ниже в связи с фиг.6а и 6b.
Показанная на фиг.6 конструкция 10е очень похожа на конструкцию 10d, изображенную на фиг.4а. Однако теперь конструкция 10е выполнена с двумя полостями 72s и 72n. Полость 72s образована между обращенными друг к другу соседними поверхностями элементов 56 и 58 конструкции 10е. Полость 72s сообщается посредством текучей среды через трубу 22s с источником 20е давления (СР) через контролирующее устройство 26е, конструкция и функции которого являются такими же, как те, что описаны выше. Вместе с тем, полость 72n, которая существует между элементами 58 и 60, находится в сообщении посредством текучей чреды с внешней окружающей средой FA. Теперь это обеспечивает обнаружение трещины 101 в промежуточном элементе 58, которая проходит между полостями 72s и 72n, а не выходит непосредственно во внешнюю окружающую среду FA через элемент 56. Пунктирный след показывает путь потока от источника 20е давления через трубу 22s и прибор 26е, трещину 101, полость 72n, трубу 22n и далее в текучую среду FA, находящуюся под внешним атмосферным давлением «окружающей среды».
При дальнейших измерениях может обнаружиться, что полость 72n сообщается посредством трубы 22n с устройством (26х), аналогичным устройству 26е, и поэтому имеет связь с FA, находящейся под давлением внешней окружающей среды. Это показано на фиг.6а, а применение контролирующего устройства 26х основано на такой же компоновке, как та, которая показана на фиг.5а. Назначение рассматриваемой сейчас компоновки заключается в контроле целостности элемента 60. Трещина или дефект 102, развивающийся в элементе 60, сообщающемся посредством давления салона воздушного судна СР с полостью 72n, может создавать перепад давлений ввиду потока утечки (обозначенного маленькими белыми стрелками и точками), параллельного полному сопротивлению текучей среде, имеющемуся в устройстве 18х, во внешнюю окружающую среду FA. Обычно можно обеспечить обход или осуществление соединения с устройством 26х через некоторые интервалы, если этот признак желателен, чтобы предотвратить постоянное последовательное соединение двух контролирующих устройств 26е и 26х (как показано на фиг.6b), что уменьшило бы вдвое чувствительность как устройства 26е, так и устройства 26х при реагировании на дефект 101, возникающий в элементе 58. Потоку утечки из полости 72s через трещину (101) в элементе 58 в полость 72п при этом пришлось бы проходить последовательно через два больших полных сопротивления текучей среде контролирующих устройств 26е и 26х, а два соответствующих дифференциальных датчика давления имели бы общий перепад давлений, что приводило бы к половинной чувствительности. Проблема последовательного потока показана малыми белыми стрелками и точками. Конечно, если бы трещина, развившаяся в элементе 56, была направлена во внешнюю окружающую среду FA, то эта проблема не возникла бы.
На фиг.7 изображена дополнительная слоистая конструкция 10f, имеющая четыре слоя или листа 56, 57, 58 и 60, соединенные друг с другом заклепками 62. Слой 57 содержит два соединенных встык листа. Конструкция 10f вновь представляет собой часть фюзеляжа воздушного судна, находящуюся под давлением салона пассажирского судна СР и расположенную в окружении текучей среды, представляющей собой окружающий воздух под давлением, характерным для большой высоты. Способ контроля целостности конструкции 10f предусматривает формирование полостей 72s, сообщающихся посредством текучей среды через трубы 22s с источником давления СР контролирующего устройства того типа, описанного выше и обычно имеющего конструкцию, характерную для вариантов, обозначенных позициями 26с-26х, и предусматривает формирование полостей 72n, заключенных между полостями 72s и сообщающихся посредством текучей среды с окружающей средой FA под давлением окружающей среды. Компоновку, предназначенную для контроля целостности элемента 60 и показанную на фиг.5а и 6а, можно аналогичным образом применить к варианту, показанному на фиг.7.
На фиг.8а изображен следующий вариант осуществления изобретения. Этот вариант осуществления применен к конструкции 10g, содержащей три листа 56, 58 и 60, выполненных в виде слоистой конструкции, соединенной воедино заклепками 62. Как пояснялось в связи с вариантом осуществления, изображенным на фиг.4а, такие конструкции обычно содержат слой уплотняющего материала 68 между соседними листами. Слой 68 в типичном случае предназначен для предотвращения коррозии или коррозионного истирания листов 56, 58, 60 вокруг заклепок 62. В данном варианте осуществления этап формирования полостей 72 внутри конструкции 10g предусматривает удаление некоторых участков уплотняющего материала 68 между поверхностями пар соседних листов. Однако вокруг заклепок 62 области уплотняющего материала 68 сохраняются для того, чтобы поддержать функцию минимизации коррозионного истирания листов 56, 58 и 60, а также для того, чтобы сформировать пограничные уплотнения для полостей 72. Удаленный уплотняющий материал 68 обеспечивает место для уплотненных полостей 72, которые могут сообщаться посредством текучей среды с источником давления. В самом деле, полости 72 в чередующемся порядке могут сообщаться посредством текучей среды с атмосферой и с источником, как описано выше в связи с вариантами осуществления, изображенными на фиг.6 и 7. Удаление уплотняющего материала 68 для создания полостей 72 в идеальном случае осуществляется при сооружении конструкции 10b за счет установки масок на листах 56, 58 и 60 с целью предотвращения осаждения уплотняющего материала в выбранных областях. После нанесения слоя 68 уплотняющего материала и удаления масок конструкцию 10g скрепляют заклепками 62.
На фиг.8b изображена конструкция 10h, которая отличается от конструкции, изображенной на фиг.8а, тем, что включает в себя выемки или впадины 80, специально образованные в поверхности листов 56, 58 и 60 в областях, где удален уплотняющий материал. Это обеспечивает более вместительные и четче ограниченные полости 72. Выемки или впадины 80 можно формировать с помощью любых известных средств, включая, но не в ограничительном смысле, химическое травление. Полости 72 могут сообщаться посредством текучей среды с источником постоянного давления посредством типичных труб, как правило, таких как трубы 22с-22х, и так, как описано выше в связи с фиг.4а-7. Конечно, в дополнительном варианте полости 72 могут и в чередующемся порядке сообщаться посредством текучей среды с источником 20 (СР) и FA, находящейся под давлением окружающей среды.
На фиг.9 изображено частичное сечение под углом еще одной конструкции в форме соединения 10j склейкой внахлестку, в котором между листами 56 и 60, скрепленными заклепками 62, заключены предварительно сформированные самоклеющиеся пленочные подкладки 110. Подкладки 110 содержат листы, разрезанные и собранные таким образом, что они ограничивают многочисленные полости 72, когда заключены между пластинами 56 и 60. Для удобства чтения чертежа полости 72 показаны толстыми линями. Предусмотрев каналы сообщения полостей 72 посредством связи как с упомянутым атмосферным давлением, так и с давлением салона воздушного судна, взаимосвязанные с контролирующими устройствами 26с-26е, охарактеризованными в предыдущих примерах, можно легко обнаружить трещины, которые могут пересекать поверхность листа 56 или 60 перед тем, как они перейдут на один из соседних листов. Это важно для борьбы с эффектом «застежки-молнии» при быстром разломе фюзеляжей воздушных судов, поскольку в прошлом он возникал именно из-за того, что нелегко заметить трещины. Последовательно изменяя на обратное отношение между давлением салона воздушного судна и давлением окружающей среды, нагнетаемым в три показанные полости на любой из сторон каждой заклепки 62, можно получить подтверждение роста трещины путем регистрации второго перехвата с целью исключения ложных сигналов. Для получения дополнительной информации можно посоветовать обратиться к описанию международной заявки №PCT/AU 94/00325 (WO 94/27130), где приведено разъяснение обнаружения трещины.
Теперь после того, как конкретные варианты осуществления настоящего изобретения описаны подробно, для специалистов в данной области техники будет очевидно, что в рамках объема притязаний изобретения в широком смысле возможны многочисленные модификации и изменения. Например, когда источник 20 является источником газа, можно предусмотреть влагоуловитель между источником 20 и полным сопротивлением 28, чтобы осуществлять сушку газа до его протекания в конструкцию 10. Кроме того, источник 20 может быть источником инертного газа. Помимо этого в ограниченные полости можно вводить антикоррозионные агенты. Когда конструкция 10 представляет собой композиционный материал, имеющий совокупность внутренних полостей, которые отделены друг от друга уплотняющим материалом, конкретные варианты осуществления изобретения включают в себя формирование каналов сообщения между внутренними полостями в композиционном материале.
Все такие модификации и изменения следует считать находящимися в рамках объема притязаний настоящего изобретения, сущность которого следует считать определяемой вышеизложенным описанием и прилагаемой формулой изобретения.
Формула изобретения
1. Способ контроля целостности конструкции, расположенной в окружающей среде, содержащей текучую среду под давлением окружающей среды, причем конструкция имеет, по меньшей мере, одну внутреннюю полость, а упомянутый способ включает в себя этапы, на которых
обеспечивают источник текучей среды под первым давлением, которое больше, чем давление окружающей среды,
устанавливают сообщение посредством текучей среды между, по меньшей мере, одной полостью и источником текучей среды посредством большого полного сопротивления текучей среде, подсоединенного последовательно между, по меньшей мере, одной полостью и источником текучей среды для создания малого притока текучей среды, по меньшей мере, в одну полость, когда упомянутая полость не является абсолютно непроницаемой, и
контролируют изменение установившейся скорости малого притока текучей среды, по меньшей мере, в одну внутреннюю полость.
2. Способ по п. 1, при котором давление источника первой текучей среды является, по существу, постоянным относительно давления окружающей среды.
3. Способ по п. 1 или 2, при котором этап контроля включает в себя контроль изменения установившегося перепада давлений между, по меньшей мере, одной полостью и источником текучей среды.
4. Способ по любому из пп. 1-3, при котором этап обеспечения источника текучей среды под первым давлением включает в себя установление первого давления на уровне, который значительно выше, чем давление окружающей среды, для преодоления воздействия гигроскопической силы и капиллярного воздействия, но не достаточен для нанесения ущерба целостности конструкции.
5. Способ по любому из пп. 1-4, при котором этап обеспечения источника текучей среды включает в себя обеспечение источника первого газа.
6. Способ по п. 5, при котором этап обеспечения источника первого газа включает в себя обеспечение влагоуловителя между источником текучей среды и, по меньшей мере, одной полостью для сушки газа перед протеканием его, по меньшей мере, в одну полость.
7. Способ по любому из пп. 1-6, при котором, когда конструкция включает в себя две или более внутренних полостей, этап установления сообщения предпочтительно включает в себя один или оба следующих этапа, на которых (а) устанавливают сообщение посредством текучей среды внутренних полостей друг с другом и (б) устанавливают сообщение посредством текучей среды между внутренними полостями и источником текучей среды.
8. Способ по п. 1 или 2, при котором этап контроля включает в себя
обеспечение источника вещества-индикатора текучей среды в сообщении посредством текучей среды с источником текучей среды и
контроль конструкции на наличие следов вещества-индикатора текучей среды.
9. Способ по п. 8, при котором вещество-индикатор текучей среды предпочтительно включает в себя окрашенную индикаторную жидкость или окрашенный индикаторный газ.
10. Способ по п. 1 или 2, при котором этап контроля изменения установившегося притока включает в себя
обеспечение источника обнаружимого газа в сообщении посредством текучей среды с источником текучей среды,
обеспечение средств обнаружения газа и
контроль изменения установившейся скорости утечки газа из конструкции.
11. Способ контроля целостности конструкции, расположенной в окружающей среде, содержащей текучую среду под давлением окружающей среды, причем способ включает в себя этапы, на которых
формируют уплотненную полость в конструкции,
обеспечивают источник текучей среды под первым давлением, которое больше, чем давление окружающей среды,
устанавливают сообщение посредством текучей среды между, по меньшей мере, одной полостью и источником текучей среды посредством большого полного сопротивления текучей среде, подсоединенного последовательно между, по меньшей мере, одной полостью и источником для создания малого притока текучей среды, по меньшей мере, в одну полость, когда, по меньшей мере, одна полость не является абсолютно непроницаемой, и
контролируют изменение установившейся скорости малого притока первой текучей среды в полость.
12. Способ по п. 11, при котором этап формирования уплотненной полости предпочтительно включает в себя формирование выемки или впадины в или на конструкции и формирование уплотнения вдоль выемки или впадины.
13. Способ контроля целостности конструкции, расположенной в окружающей среде, содержащей текучую среду под давлением окружающей среды, причем конструкция представляет собой совокупность двух или более элементов, которые соединены друг с другом, при этом элементы расположены рядом друг с другом таким образом, что поверхность одного элемента примыкает к поверхности, по меньшей мере, еще одного из элементов, образуя соответствующие пары соседних поверхностей, а способ включает в себя этапы, на которых
формируют одну или более полостей между поверхностями одной или более пар соседних поверхностей,
обеспечивают источник первой текучей среды под первым давлением, которое больше, чем давление окружающей среды,
устанавливают сообщение посредством текучей среды между, по меньшей мере, одной из полостей и источником текучей среды для обеспечения, по меньшей мере, одной полости под давлением источника посредством большого полного сопротивления текучей среде, подсоединенного последовательно между, по меньшей мере, одной полостью и источником текучей среды для создания малого притока текучей среды, по меньшей мере, в одну полость, когда, по меньшей мере, одна полость не является абсолютно непроницаемой, и
контролируют изменение установившейся скорости малого притока текучей среды, по меньшей мере, в одну полость под давлением источника.
14. Способ по п. 13, дополнительно включающий в себя этап, на котором устанавливают сообщение посредством текучей среды поочередно между каждой из упомянутых полостей под давлением окружающей среды для создания соседних находящихся одни между другими полостей под давлением источника и полостей под давлением окружающей среды.
15. Способ по п. 14, дополнительно включающий в себя этап, на котором устанавливают влагоуловитель, подсоединенный последовательно между полостями под давлением окружающей среды и окружающей средой или источником упомянутого давления окружающей среды.
16. Способ по любому из пп. 13-15, при котором этап контроля предпочтительно включает в себя контроль изменения установившегося перепада давлений между упомянутой, по меньшей мере, одной полостью и, по меньшей мере, одной полостью под давлением источника.
17. Способ по любому из пп. 13-15, при котором этап контроля включает в себя обеспечение источника вещества-индикатора текучей среды в сообщении посредством текучей среды с источником первой текучей среды и контроль конструкции на наличие следов вещества-индикатора текучей среды.
18. Способ по любому из пп. 13-17, при котором, когда элементы соединены друг с другом посредством слоя клеящего вещества или включают в себя слой уплотняющего материала между поверхностями пар соседних поверхностей, этап формирования предпочтительно включает в себя формирование полостей в слое клеящего вещества или уплотняющего материала.
19. Способ по любому из пп. 13-17, при котором, когда элементы соединены друг с другом посредством механических крепежных деталей, этап формирования предпочтительно включает в себя обеспечение уплотнения около поверхностей пар соседних поверхностей для формирования полостей между поверхностями пар соседних поверхностей.
20. Устройство для контроля целостности конструкции, расположенной в окружающей среде, содержащей текучую среду под давлением окружающей среды, причем конструкция имеет, по меньшей мере, одну внутреннюю полость, а устройство включает в себя, по меньшей мере,
источник текучей среды под первым давлением, которое больше, чем давление окружающей среды,
канал сообщения для обеспечения сообщения посредством текучей среды между источником и, по меньшей мере, одной полостью, причем канал включает в себя большое полное сопротивление текучей среде, подсоединенное последовательно между, по меньшей мере, одной полостью и источником текучей среды, для обеспечения малого притока текучей среды, по меньше мере, в одну полость, когда полость не является абсолютно непроницаемой, и
контролирующее средство для контроля изменения установившейся скорости малого притока текучей среды по каналу, по меньшей мере, в одну внутреннюю полость.
21. Устройство по п. 20, в котором контролирующее средство включает в себя средство датчика, подсоединенное параллельно большому полному сопротивлению текучей среде, для контроля изменения установившегося перепада давлений между, по меньшей мере, одной полостью и источником текучей среды.
22. Устройство по п. 20 или 21, в котором первое давление значительно превышает давление окружающей среды для обеспечения преодоления воздействия гигроскопической силы и капиллярного воздействия, но не достаточно для нанесения ущерба целостности конструкции.
23. Устройство по любому из пп. 20-22, в котором текучая среда предпочтительно является газом.
24. Устройство по любому из пп. 20-23, дополнительно включающее в себя влагоуловитель, расположенный между источником текучей среды и, по меньшей мере, одной полостью, для сушки газа перед протеканием его, по меньшей мере, в одну полость.
25. Устройство по п. 20, в котором контролирующее средство включает в себя вещество-индикатор текучей среды в сообщении посредством текучей среды с источником текучей среды для обозначения мест конструкции, где текучая среда проникает из полости через конструкцию в окружающую среду.
26. Способ предотвращения проникновения целевой текучей среды в конструкцию, расположенную в окружающей среде, содержащей целевую текучую среду под давлением окружающей среды, причем конструкция имеет, по меньшей мере, одну внутреннюю полость, а способ включает в себя этапы, на которых
обеспечивают источник текучей среды под первым давлением, которое больше, чем давление окружающей среды, и
обеспечивают канал сообщения посредством текучей среды между, по меньшей мере, одной полостью и источником текучей среды с помощью последовательно подсоединенного большого полного сопротивления текучей среде для обеспечения малого притока текучей среды, по меньшей мере, в одну полость.
27. Способ по п. 26, дополнительно включающий в себя этап, на котором осуществляют контроль изменения установившейся скорости малого притока первой текучей среды, по меньшей мере, в одну внутреннюю полость, облегчая тем самым контроль целостности конструкции.
28. Устройство для предотвращения проникновения целевой текучей среды в конструкцию, расположенную в окружающей среде, содержащей целевую текучую среду под давлением окружающей среды, причем конструкция имеет, по меньшей мере, одну внутреннюю полость, а устройство включает в себя, по меньшей мере,
источник текучей среды под первым давлением, которое больше, чем давление окружающей среды, и
один или более каналов сообщения для обеспечения сообщения посредством текучей среды между источником текучей среды и, по меньшей мере, одной полостью, причем каналы имеют большое полное сопротивление текучей среде, последовательно подсоединенное между, по меньшей мере, одной полостью и источником текучей среды для обеспечения малого притока текучей среды, по меньшей мере, в одну полость.
РИСУНКИ
|
|