|
(21), (22) Заявка: 2004124078/28, 06.08.2004
(24) Дата начала отсчета срока действия патента:
06.08.2004
(45) Опубликовано: 10.03.2006
(56) Список документов, цитированных в отчете о поиске:
SU 295996 A, 12.11.1971. SU 1084616 A, 07.04.1984. SU 861961 A, 07.09.1981. SU 1332151 A2, 23.08.1987. US 5309955 A, 10.05.1994. US 4306454 A, 22.12.1981. EP 0519193 A1, 23.12.1992.
Адрес для переписки:
614113, г.Пермь, ул. Чистопольская, 16, ФГУП “Научно-исследовательский институт полимерных материалов”
|
(72) Автор(ы):
Гаранин Леонид Петрович (RU), Брехов Геннадий Васильевич (RU), Куценко Геннадий Васильевич (RU), Останкович Леонид Александрович (RU), Пепеляев Юрий Константинович (RU), Сибгатуллин Равиль Габдрахманович (RU), Божья-Воля Николай Сергеевич (RU), Макаров Леонид Борисович (RU), Мальцева Любовь Михайлович (RU), Федченко Николай Николаевич (RU)
(73) Патентообладатель(и):
Федеральное государственное унитарное предприятие “Научно-исследовательский институт полимерных материалов” (RU), Федеральное государственное унитарное предприятие “Пермский завод им. С.М. Кирова” (RU)
|
(54) ОБЪЕМНЫЙ ДОЗАТОР ЖИДКОСТИ
(57) Реферат:
Изобретение относится к технике объемного дискретного дозирования преимущественно вязких взрывоопасных жидкостей типа нитроэфира (нитроглицерина), а также может применяться при дозировании обычных невзрывоопасных жидкостей в химической промышленности в тех случаях, когда требуется постоянный или периодический весовой контроль выдаваемых объемным дозатором порций жидкости. Изобретение направлено на создание дозатора с повышенной параметрической надежностью за счет обеспечения весового контроля каждой дозы. Дозатор включает мерную камеру, клапан и канал наполнения, клапан и канал выдачи, а также снабжен устройством весового контроля выдаваемых доз, которое содержит весовой ковш, установленный на весоизмерителе и соединенный с мерной камерой подводящей трубкой. Выходной патрубок весового ковша соединен отводящей эластичной трубкой с входным штуцером стационарно установленного проходного соединения, выходной штуцер которого соединен второй эластичной трубкой с пережимным устройством. Длина L отводящей эластичной трубки от ковша до входного штуцера проходного соединения определяется по формуле: где Е – модуль упругости материала эластичной трубки; VA – вертикальное перемещение чувствительного элемента весоизмерителя и соответственно весового ковша под действием загруженной в него дозы; D – наружный диаметр эластичной трубки; d – внутренний диаметр эластичной трубки; Р – заданный допустимый уровень реакции эластичной трубки от вертикального перемещения чувствительного элемента весоизмерителя в рабочем диапазоне взвешивания дозы. 2 ил. 
Изобретение относится к технике объемного дискретного (порционного) дозирования преимущественно вязких взрывоопасных жидкостей типа нитроэфира (нитроглицерина). Может применяться при дозировании обычных невзрывоопасных жидкостей в химической промышленности в тех случаях, когда требуется постоянный или периодический весовой контроль выдаваемых объемным дозатором порций жидкости.
Известен дозатор жидкости порционного действия (А.с.№295996 СССР 1967 г.). В этом дозаторе имеется грузоприемный ковш, установленный на весоизмерителе. Наполнение и опорожнение ковша жидкостью производится через П-образную трубку-сифон. Имеется также два клапана – один управляет операцией наполнения ковша, другой – операцией опорожнения. Грузоприемный ковш постоянно взаимодействует с весоизмерителем, который через специальный датчик связан со вторичным самопишущим прибором. На приборе непрерывно записывается весь процесс дозировки и масса каждой порции. Дозатор работает следующим образом. В исходном состоянии оба клапана закрыты. По сигналу системы автоматики открывается клапан наполнения и жидкость самотеком (или с помощью насоса) подается в ковш. Весоизмеритель имеет датчик, который при наборе заданного количества жидкости в ковш дает сигнал на прекращение наполнения, клапан наполнения закрывается. Далее системой логико-программного управления дается сигнал на опорожнение ковша – открывается клапан опорожнения, который после выдачи заданного количества жидкости из ковша по сигналу с датчика весоизмерителя закрывается.
Через определенное заданное время цикл дозирования повторяется.
Недостатком такого дозатора при дозировании взрывоопасной жидкости является наличие целого ряда криволинейных участков трубопроводов (в том числе П-образный сифон) в системе наполнения и опорожнения порции жидкости. Кроме того, на трубопроводах установлены клапаны наполнения и опорожнения. Рабочие элементы этих клапанов находятся в тракте прохождения дозируемой жидкости и имеют довольно сложную конфигурацию. Это затрудняет полное удаление дозируемого продукта из тракта его прохождения после окончания технологического процесса.
Необходимо отметить, что наличие исполнительных элементов типа металлических пар “клапан – седло” в тракте прохождения взрывоопасной дозируемой среды недопустимо из-за опасности воздействия этих элементов на высокочувствительную взрывоопасную жидкость типа нитроглицерина.
К недостаткам этого дозатора применительно к дозированию нитроглицерина необходимо отнести наличие в трактах подачи-выдачи дозы трудно доступных зон для контроля и очистки от остатков жидкости. Это представляет большую опасность при разборке дозатора, т.к. может вызвать инициирование взрыва.
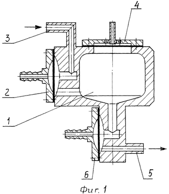
Известен дозатор объемного типа для порционного дозирования нитроглицерина, который принят за прототип. Этот дозатор разработан предприятием НИХТИ (г.Дзержинск Московской области) и в течение нескольких десятилетий используется в пороходелии на заводах России. Дозатор прост по конструкции и функционально надежен.
На фиг.1 схематично показано его устройство. Дозатор состоит из мерной камеры 1, двух клапанов: клапана наполнения 2 и клапана выдачи 6, канала наполнения 3 и канала выдачи 5. Кроме того, в верхней части мерной камеры имеется датчик 4 контроля заполнения мерной камеры. Работает дозатор следующим образом. При закрытом клапане 6 открывается клапан 2 и происходит заполнение мерной емкости камеры 1. В момент полного заполнения срабатывает датчик 4, выдавая сигнал о полном заполнении мерной камеры 1 и на закрытие клапана 2. Затем по сигналу от системы программного управления открывается клапан 6 выдачи и порция жидкости выдается через патрубок 5 в технологический поток. После выдержки времени клапан 6 закрывается и цикл дозирования повторяется.
Отработку дозатора перед запуском в работу в целях безопасности проводят на воде, т.е. на низковязкой жидкости. Отработку ведут сливая каждую выданную из мерной камеры порцию в отработочную емкость, которую затем вместе с порцией воды взвешивают на контрольных весах. Отработка на натурном продукте – нитроэфире (нитроглицерине) недопустима из условий безопасности, т.к. он взрывоопасен и очень чувствителен к механическому воздействию. После отработки дозатора на воде полученную в результате взвешивания величину массы порции умножают на плотность натурного продукта и получают массу порции нитроэфира, который будет дозироваться во время технологического процесса.
Однако необходимо отметить, что при дозировании вязкой жидкости, каковой является нитроглицерин, может произойти нарушение дозировки. Особенно это возможно при малом цикле дозирования, когда за время, отведенное для выдачи порции, мерная камера не успевает полностью опорожниться. Поэтому недостатком дозатора является отсутствие контроля за полным опорожнением мерной камеры, в результате чего может произойти бесконтрольное превышение погрешности дозирования, т.е. параметрический отказ.
Технической задачей, на решение которой направлено предлагаемое изобретение, является разработка объемного дозатора с повышенной параметрической надежностью за счет обеспечения весового контроля каждой дозы.
Технический результат достигается тем, что объемный дозатор, включающий мерную камеру, а также клапаны и каналы наполнения и выдачи, снабжен устройством весового контроля массы каждой выдаваемой дозы, содержащим весовой ковш, установленный на весоизмерителе и соединенный с каналом выдачи мерной камеры подводящей трубкой. Выходной патрубок ковша соединен отводящей эластичной трубкой с входным штуцером стационарно установленного проходного соединения. На выходной штуцер проходного соединения установлена эластичная трубка, которая взаимодействует с пережимным устройством. Длина L отводящей трубки на участке от ковша до входного штуцера проходного соединения в зависимости от материала трубки и ее сечения определяется исходя из заданного допустимого уровня реакции механической связи на весоизмеритель по формуле:

где VA – рабочее вертикальное перемещение чувствительного элемента весоизмерителя и соответственно весового ковша под действием загруженной в него дозы;
Е – модуль упругости материала трубки;
D – наружный диаметр эластичной трубки;
d – внутренний диаметр эластичной трубки;
Р – заданный допустимый уровень реакции эластичной трубки от вертикального перемещения чувствительного элемента весоизмерителя в рабочем диапазоне взвешивания дозы.
Доза, выдаваемая объемным дозатором, взвешивается весовым устройством. Масса каждой дозы фиксируется на пульте оператора с помощью регистрирующего самопишущего прибора. Такой контроль позволяет в любой момент ведения технологического процесса проверить правильность дозирования нитроэфира, в частности, полноту опорожнения мерной камеры объемного дозатора, что повышает надежность последнего.
Предлагаемое изобретение поясняется чертежами. На фиг.1 схематично изображен объемный дозатор жидкости, принятый за прототип.
На фиг.2 изображен предлагаемый объемный дозатор жидкости с устройством весового контроля.
Объемный дозатор жидкости с весовым контролем (фиг.2) состоит из мерной камеры 1, клапана наполнения 2, клапана выдачи 6, датчика наполнения 4, канала наполнения 3 и канала выдачи 5. Дозатор снабжен устройством весового контроля, состоящим из весового ковша 7, весоизмерителя 8, подводящей трубки 13, отводящей эластичной трубки 9, соединенной с входным штуцером проходного соединения 11. На выходной штуцер проходного соединения 11 закреплена вторая эластичная трубка 10. Эластичная трубка 10 одновременно является одним из элементов пережимного устройства 12. Как видно, слив дозы из ковша производится по двум последовательно установленным эластичным трубкам 9 и 10. Такое конструктивное решение позволяет исключить механическое воздействие на весовую систему при сжатии трубки во время срабатывания пережимного устройства 12. Это достигается тем, что трубка 10, с которой взаимодействует пережимное устройство 12, закреплена на выходном штуцере проходного соединения 11, которое, в свою очередь, жестко закреплено на раме дозатора.
Подводящая трубка 13 подсоединена одним концом к каналу выдачи 5 объемного дозатора, а второй конец трубки заканчивается над ковшом, не касаясь его.
Процесс взвешивания фиксируется на пульте оператора с помощью самопишущего прибора 14.
Дозатор работает следующим образом. За исходное состояние принята ситуация, когда весовой ковш 7 пустой, а мерная камера 1 объемного дозатора заполнена дозируемой жидкостью. При этом пережимное устройство 12 открыто и трубка 10 не пережата. При запуске дозатора происходит закрытие пережимного устройства 12, трубка 10 пережимается и затем открывается клапан выдачи 6. Доза жидкости из мерной камеры 1 перетекает по трубке 13 в весовой ковш 7. На приборе 14 в определенном масштабе записывается масса поступившей в ковш дозы. После этого клапан 6 закрывается, клапан 2 открывается для набора очередной дозы в мерную камеру 1. Пережимное устройство 12 открывается, освобождает эластичную трубку 10 и происходит слив жидкости из ковша 7 в последующий технологический аппарат. Процесс слива также записывается на приборе 14. Затем цикл повторяется.
Как видно из схемы на фиг.2, весовой ковш 7 связан механически отводящей эластичной трубкой 9 со стационарно укрепленным на раме дозатора проходным соединением 11. При измерении массы дозы с помощью весоизмерительного устройства такая механическая связь не может не влиять на чувствительность весоизмерителя 8. Однако при определенном конструктивном исполнении отводящей трубки влияние этой связи можно минимизировать, а при назначении допустимой погрешности измерения массы дозы учесть это влияние.
Известно, что влияние такой эластичной связи можно выразить через параметры упругого элемента (Л.Е.Андреева “Упругие элементы приборов” М.: Машиностроение, 1981, с.13, 51). В данном случае параметрами, характеризующими свойства упругого элемента, являются его жесткость и величина, обратная жесткости, чувствительность. При известных параметрах весоизмерителя, упругого элемента (в нашем случае эластичной трубки) и заданного допустимого уровня реакции от перемещения конца трубки, закрепленной на выходном патрубке ковша, можно представить зависимость, которая позволит определить длину этой эластичной трубки из условия, что реакция трубки от известного перемещения не превысит заданную величину.
К таким параметрам относятся:
VA – вертикальное перемещение чувствительного элемента весоизмерителя и весового ковша под действием загруженной в него дозы;
Е – модуль упругости материала трубки;
D – наружный диаметр эластичной трубки;
d – внутренний диаметр эластичной трубки;
Р – заданный допустимый уровень реакции эластичной трубки от вертикального перемещения чувствительного элемента весоизмерителя в рабочем диапазоне взвешивания дозы.
Тогда длину L эластичной трубки от выходного патрубка ковша до входного штуцера проходного соединения можно определить по формуле:

Предлагаемое изобретение позволяет повысить надежность объемного дозатора за счет включения в состав дозатора устройства весового контроля, что дает возможность контролировать массу каждой выдаваемой дозатором дозы.
Объемный дозатор с весовым контролем предназначен для дозирования взрывоопасных жидкостей типа нитроэфиров. Может применяться при объемном дозировании различных жидкостей в химической промышленности и особенно в тех случаях, когда необходим постоянный или периодический весовой контроль выдаваемых в технологический поток объемным дозатором порций жидкости.
Устройство прошло испытания в лабораторных условиях, где подтвердилась его эффективность.
Намечено изготовление и внедрение опытно-промышленного образца дозатора в 2004-2005 г.
Формула изобретения
Объемный дозатор жидкости, состоящий из мерной камеры, клапана и канала наполнения, клапана и канала выдачи, отличающийся тем, что дозатор снабжен устройством весового контроля выдаваемых доз, содержащим весовой ковш, установленный на весоизмерителе и соединенный с мерной камерой подводящей трубкой, выходной патрубок ковша соединен отводящей эластичной трубкой с входным штуцером стационарно установленного проходного соединения, выходной штуцер которого соединен второй эластичной трубкой с пережимным устройством, причем длина L отводящей эластичной трубки от ковша до входного штуцера проходного соединения определяется по формуле

где Е- модуль упругости материала эластичной трубки;
VA – вертикальное перемещение чувствительного элемента весоизмерителя и, соответственно, весового ковша под действием загруженной в него дозы;
D – наружный диаметр эластичной трубки;
d – внутренний диаметр эластичной трубки;
Р – заданный допустимый уровень реакции эластичной трубки от вертикального перемещения чувствительного элемента весоизмерителя в рабочем диапазоне взвешивания дозы.
РИСУНКИ
|