|
|
(21), (22) Заявка: 2002135939/06, 20.12.2002
(24) Дата начала отсчета срока действия патента:
20.12.2002
(43) Дата публикации заявки: 10.07.2004
(45) Опубликовано: 10.03.2006
(56) Список документов, цитированных в отчете о поиске:
FR 2801097 A1, 18.05.2001. US 5139010 A, 18.08.1992. SU 1605109 A1, 07.11.1990. SU 1467332 A1, 23.03.1989. RU 2212149 C2, 20.09.2003. SU 1606829 A1, 15.11.1990. SU 1815527 A1, 15.05.1993. SU 1800097 A1, 07.03.1993. RU 2118770 C1, 10.09.1998. RU 2066337 C1, 10.09.1996.
Адрес для переписки:
630099, г.Новосибирск, ул. Каменская, 56/1, кв.2, В.П. Севастьянову
|
(72) Автор(ы):
Чабанов Алим Иванович (RU), Соболев Валерьян Маркович (RU), Соловьёв Александр Алексеевич (RU), Чабанов Владислав Алимович (RU), Севастьянов Владимир Петрович (RU), Чепасов Александр Александрович (RU), Чабанов Дмитрий Алексеевич (RU), Жигайло Виктор Никифорович (RU), Воронков Алексей Алексеевич (RU), Воронов Юрий Петрович (RU), Отмахов Леонид Фёдорович (RU), Гуня Михаил Арсентьевич (RU), Косов Юрий Михайлович (RU), Нестеров Виктор Иванович (RU)
(73) Патентообладатель(и):
Чабанов Алим Иванович (RU), Севастьянов Владимир Петрович (RU)
|
(54) ГЕЛИОЭНЕРГЕТИЧЕСКОЕ УСТРОЙСТВО ДЛЯ ТЕРМООБРАБОТКИ ПРОДУКТОВ
(57) Реферат:
Изобретение относится к области гелиоэнергетики, преимущественно. Устройство предназначено для термообработки различных видов продукции в диапазоне температуры 50-300°С, в том числе продуктов питания, например для приготовления пищи, выпечки хлеба, горячего и холодного копчения, сушки грибов, ягод, аптекарских трав, а также промышленных продуктов: керамических изделий, легкоплавких металлов и сплавов, пластмасс. Устройство может быть использовано для опреснения морской воды, обеспечения теплой водой и теплом теплиц, ферм, домов, получения электроэнергии для обеспечения домашнего хозяйства, отдаленных объектов, в том числе на высоких географических широтах. Устройство содержит гелиотермическую печь-камеру, в которой производится термообработка продуктов, отличительной особенностью которой является применение высококачественного теплоизолирующего пеноматериала необходимой – значительной толщины, с малым удельным весом, и осуществление «накачки» энергетически уплотненных потоков солнечных лучей из окружающей среды во внутреннюю нагреваемую полость печи. Техническим результатом является максимально возможное накопление тепловой энергии. 23 з.п. ф-лы, 3 ил. 
Настоящее предлагаемое изобретение относится к области создания гелиоэнергоустановок, преимущественно бытовых и мобильных, передвижных, ориентированных на сельских жителей или дачников, фермерские хозяйства, малое и среднее предпринимательство, геологические партии, отдаленные и передвижные подразделения оборонного или иного назначения.
Известны бытовые энергетические установки, использующие энергию солнечных лучей для обогрева жилых помещений и получения теплой воды для удовлетворения нужд в крестьянских или фермерских хозяйствах. Типичным техническим решением для таких случаев является создание коллектора солнечной энергии, включающего в себя систему трубопроводов, по которым протекает вода или плоский поток воды, накрытые светопроницаемой теплоизолированной поверхностью, которая выполняется в подавляющем числе случаев с помощью листового стекла при однорядном или двухрядном остеклении. Известны такие солнечные коллекторы, в которых нагревается воздух, омывающий темные теплопроводящие пластины, расположенные под принципиально подобной стеклянной поверхностью. Недостатком таких технических решений является низкая технико-экономическая эффективность солнечных коллекторов, их низкий КПД из-за больших тепловых потерь. Они вытекают из того, что при желании максимально использовать энергию солнечной радиации, поступающей на каждый квадратный метр площади, занимаемой солнечным коллектором, стремятся увеличивать долю светопроницаемой поверхности в нем. При этом адекватно возрастают и тепловые потери, так как тонкое стекло является слабым местом в теплоизоляции внутренней среды солнечного коллектора, а увеличение толщины и числа слоев остекления вызывает повышенные потери солнечной энергии, так как нарастают потери, связанные с поглощением и отражением солнечных лучей.
Уровень техники, а также проблемы и потенциальные возможности в области таких решений детально рассмотрены в монографии Д. Мак-Вейг «Применение солнечной энергии», М., Энергоиздат, 1981 г. Наиболее эффективные решения в этой области изложены в патентных материалах, см. а.с. СССР №1603152 «Устройство для преобразования солнечной энергии», а.с. СССР 1467337 «Гелиотермостат», патент РФ 2075707 «Гелиокухня».
Известно также применение концентраторов солнечных лучей для увеличения энергосодержания в солнечном коллекторе – гелиопреобразующем светопроницаемом и теплоизолированном пространстве [см. а.с. СССР №1449703 «Аэродинамическая гелиостанция» F 03 G 7/02, F 24 J 2/42, опубл.07.01.89 г.]. Данное техническое решение позволяет снизить удельную стоимость гелиоконцентратора в общей стоимости энергетической установки, однако оно не решает задачи снижения тепловых потерь с единицы светопроницаемой площади и не позволяет снизить стоимость бытовых гелиоустановок до конкурентоспособного уровня в сравнении с другими источниками энергии. Тем не менее, указанное техническое решение значительно эффективнее известных гелиоустановок для приготовления пищи с помощью гелиоконцентратора, сводящего поток солнечных лучей на небольшой участок гелиопоглощающей поверхности и в небольшую объемную зону, где устанавливается емкость для приготовления пищи (см. патент Российской Федерации №2109228. «Устройство для преобразования солнечной энергии»). Такое техническое решение применимо лишь в специфических условиях и лишь в южных регионах России, Украины, а также в экваториальных регионах. С его помощью может осуществляться низкопроизводительное приготовление пищи в период средины летнего светового дня, а термообработка других продуктов – промышленных при температуре, существенно превышающей температуру кипения воды, вообще невозможна. Вместе с тем освоение малонаселенных территорий Сибири и Дальнего Востока, пустынь Средней и Юго-Восточной Азии, Африки требует наличия маломощных источников энергии, прежде всего на основе использования солнечной энергии, ибо доставка нефтепродуктов в таких случаях затруднена, для опреснения морской воды, изготовления и сушки кирпича, черепицы, керамической посуды и других продуктов, а также для приготовления пищи. В обжитых регионах применение солнечной энергии для подобных целей также необходимо из-за непрерывного роста стоимости энергоносителей, быстрого уменьшения их запасов и вредного воздействия на окружающую среду при сжигании энергоносителей.
Задачей настоящего технического решения, согласно предлагаемому изобретению, является создание гелиоэнергетической бытовой и/или передвижной установки для термообработки продуктов, в том числе для приготовления пищи, в которой достигалась бы температура, значительно превышающая точку кипения воды, обеспечивалось бы аккумулирование тепловой энергии, по меньшей мере, на период ненастных дней, когда отсутствует солнечная радиация, чтобы она функционировала зимой и летом, днем и ночью, охватывая значительный спектр термообрабатываемых продуктов, имела доступную цену для различных слоев населения.
Техническим результатом предлагаемого изобретения является создание гелиоэнергетической установки для термообработки продуктов, включая приготовление пищи, которая позволяет накапливать тепловую энергию в бытовых и передвижных условиях на продолжительный период, превышающий обычно встречающееся время ненастной погоды, обеспечивая высокую температуру термообработки продуктов в летнее и зимнее время, в связи с чем она выполнена в виде гелиотермической печи, по подобию русской печи наружной установки, с замкнутой и хорошо теплоизолированной внутренней полостью, в которую направляют необходимые по энергетическому уровню потоки солнечных лучей, преобразуемые в тепло высокотемпературным гелиопоглощающим материалом с повышенной температурой и удельной теплотой плавления.
Частным техническим результатом предложенного гелиоэнергетического устройства термообработки продуктов является применение его для обогрева домов, помещений временного и туристического проживания людей, получения электроэнергии для локальных целей собственных нужд, опреснения морской воды и другого.
Хотя предложенное гелиоэнергетическое устройство создано, преимущественно, для бытовых целей, оно имеет значительный спектр общепромышленного применения, и его ближайшим аналогом, прототипом выбрано устройство, изложенное в указанном а.с. СССР №1449703 «Аэродинамическая гелиостанция» F 03 G 7/02, F 24 J 2/42, опубл. 07.01.89 г.
Указанный технический результат при осуществлении изобретения достигается тем, что относительно известных технических решений, в том числе относительно указанного прототипа, содержащих концентратор солнечных лучей, гелиопоглощающую поверхность в его фокусном пространстве и примыкающую к ней объемную зону лучевого и конвективного нагрева, где размещены термообрабатываемые продукты, имеются отличия в том, что гелиопоглощающая поверхность и зона лучевого и конвективного нагрева выполнены при помощи термоизолированного днища с расположенными в нем технологическими емкостями, заполненными теплоаккумулирующим материалом и герметично закрытыми гелиопоглощающими теплопроводными пластинами с теплоотводами, например гофрированными металлическими листами, теплоизолирующих стенок и потолков, образующих совместно корпус гелиотермической печи с замкнутой нагреваемой воздушной полостью, посредством которых размещены средства технологического оснащения гелиотермической печи, например поддоны для установки емкостей, содержащих термообрабатываемые продукты, фиксирующие упоры для размещения поддонов на различных температурных уровнях, приспособления и механизмы для перемещения поддонов и емкостей, в том числе для закладки и выемки технологических емкостей, причем, по меньшей мере, потолок гелиотермической печи содержит поле встроенных концентраторов и проводников солнечных лучей, выполненных в виде пустотелых усеченных четырехгранных пирамид, например, из стеклопластика, которые расположены в несущем теплоизолирующем материале корпуса гелиотермической печи так, что меньшие основания их находятся на его внутренней поверхности, а большие основания – на наружной поверхности, при этом основания пирамидальных встроенных концентраторов и проводников солнечных лучей закрыты светопроницаемым теплоизолирующим материалом, а грани их содержат лучеотражающие поверхности, при этом в окружающем гелиотермическую печь пространстве с помощью несущих материалов и конструкций размещены лучеотражающие технологические поверхности, энергетически связанные с замкнутой нагреваемой воздушной полостью и гелиопоглощающими теплопроводными пластинами посредством потоков отраженных солнечных лучей через окружающую воздушную среду и встроенные концентраторы и проводники солнечных лучей, причем лучеотражающие технологические поверхности образованы с помощью гибких и/или жестких материалов, имеющих различные геометрические формы, преимущественно в виде прямоугольников, закрепленных к соответствующим несущим конструкциям, по меньшей мере, часть из которых присоединена к управляющим механизмам с ручными и/или автоматизированными приводами, подключенными через управляющие устройства к индикаторам положения солнечного диска на небосводе и датчикам скорости естественного ветра.
Предложенное техническое решение отражает принципиально новый подход к созданию гелиотермических установок и их печей, который позволяет экономически эффективно снять традиционный для известных технических решений конструктивно-технологический предел наращивания температуры в их замкнутых нагреваемых воздушных полостях за счет уменьшения тепловых потерь до любого, наперед заданного, уровня при одновременном увеличении площади светопроницаемых поверхностей до максимального уровня.
Это достигается тем, что в базовый несущий и теплоизолирующий материал потолков и стенок в корпусе гелиотермической печи, согласно предлагаемому изобретению, встраиваются концентраторы и проводники солнечных лучей, которые выполнены в виде усеченных пустотелых четырехгранных пирамид и которые снабжены лучеотражающими поверхностями на их гранях, направлены своими меньшими (малыми) основаниями внутрь замкнутой нагреваемой воздушной полости, в то время как их большие (многократно большие по площади) основания размещены на наружной поверхности корпуса гелиопоглощающей печи. Таким образом, солнечные лучи поступают из окружающей среды на светопроницаемые поверхности значительных размеров больших оснований в лучеконцентрирующих пирамидах – световодах, а выходят внутрь гелиотермической печи концентрированными потоками через малые основания – в 25-50 раз по площади меньше, чем входные проемы. При этом, чем толще стенки и потолок последней, следовательно, чем лучше ее теплоизоляция, тем эффективнее работают пирамидальные концентраторы и проводники солнечных лучей, ибо в таком случае при заданном соотношении площадей входных и выходных оснований угол наклона лучеотражающих граней друг относительно друга уменьшается и, соответственно, уменьшается число отражений солнечных лучей при прохождении через лучеконцентрирующие пирамиды – световоды. Оба основания каждой из них закрыты тонким светопроницаемым и воздухонепроницаемым – теплоизолирующим материалом. В условиях практической реализации толстые теплоизолирующие стенки, потолки и частично днище гелиотермической печи выполняются (по своей толщине) из нескольких параллельных слоев прочного пенистого материала, разделенных воздушными прослойками, и в эти слои закладываются с весьма малыми зазорами составные пирамидальные части встроенных концентраторов и проводников солнечных лучей, пристыкованные последовательно друг к другу с закрытыми светопроницаемым материалом основаниями. В этом случае тепловые потери изнутри поступают в указанные воздушные прослойки как и тепловые потери, возникающие от лучевых потоков на лучеотражающих поверхностях. Прокачивая воздух их указанных воздушных прослоек внутрь гелиотермической печи, что технологически необходимо и полезно, тепловые потери в подавляющем количестве утилизируются: печь может выдавать непрерывный поток горячего воздуха для различных применений.
Вместе с тем, согласно предлагаемому изобретению, температура и мощность гелиотермической печи фиксированных размеров наращиваются за счет установки в окружающем пространстве лучеотражающих технологических поверхностей. Отраженные последними солнечные лучи направляются во входные проемы встроенных концентраторов и проводников солнечных лучей. Образно этот процесс можно представить как принудительное нагнетание, накачивание энергии солнечных лучей внутрь гелиотермической печи. Таким образом, принципиально становится возможным наращивание мощности и температуры последней до любых заданных величин, которые ограничиваются лишь температурной устойчивостью конструкции и применяемых материалов. Исходя из этого, температурный режим во внутренней среде гелиотермической печи имеет оптимальное значение в пределах 100-300°С. Более высокие температуры предусматриваются для последней в случае ее особых применений. При температуре 300°С могут быть выбраны наилучшие режимы для приготовления пищи и для термообработки многих других продуктов, а также можно получать пар с необходимым перегревом и повышенным давлением для локального производства электроэнергии для собственных нужд (промышленное исполнение гелиотермической печи позволяет осуществлять высокоэффективное гелиопроизводство товарной электроэнергии в необходимых количествах). Для локального производства электроэнергии применим также производимый печью нагретый чистый воздух.
Лучеотражающие технологические поверхности относительно гелиотермической печи могут устанавливаться на значительных, а в некоторых случаях на достаточно больших расстояниях и по своей лучеотражающей поверхности могут превышать многократно, в 5-10 раз и больше, лучеприемную площадь потолка и стенок. Они выполняются с помощью несущих материалов и конструкций из тканевых, пленочных и композитных гибких материалов или жестких легких пластин любых форм и размеров. Эти материалы в зависимости от условий размещения и придаваемых функций могут покрываться с одной или двух сторон лучеотражающим материалом – алюминиевой или медной фольгой или высококачественным оцинкованным железом, а также тонким полимерным материалом, напыленным с одной стороны алюминием, медью и др. Стоимость одного квадратного метра такого лучеотражающего алюминиево-пленочного материала составляет 7-15 российских рублей. Стоимость квадратного метра лучеотражающих технологических поверхностей с их опорной базой не превышает 30-60 рублей, а каждые 20 кв.м. их «накачивают» в гелиотермическую печь, мощность солнечной радиации около 2-3 кВт на большей части территории России и около 2 кВт в Республике Беларусь в осредненном по году значении. В сравнении с газовой плитой это весьма значительные мощности. Лучеотражающие поверхности при использовании устройства, согласно предлагаемому изобретению, малоимущими слоями населения корректируются (относительно положения солнечного диска на небосводе) вручную, в то время как в автоматизированных исполнениях устройства – посредством управляемых электроприводов, а также автономных комплектных приспособлений с радиоуправлением. Последние через устройства управления связаны с индикаторами положения солнечного диска и датчиками скорости ветра, получая управляющие команды от технологического компьютерного устройства. Для повышения эффективности лучеотражающих технологических поверхностей, расположенных в окружающем пространстве вокруг гелиотермической печи, на гранях корпуса самой печи размещаются дополнительные такие поверхности с ручным или автоматическим регулированием их углового положения для оптимального направления отраженных солнечных лучей внутрь печи. Дополнительные лучеотражающие поверхности могут располагаться в виде лучеконцентрирующей пирамиды – конфузора, входная поверхность которого значительно превышает поверхность гелиотермической печи и облегчает согласованное размещение отдаленных лучеотражающих поверхностей. Указанные дополнительные лучеотражающие поверхности, будучи выполненными повышенной прочности и закрепленными посредством кинематических приспособлений, используются в ветрозащитных целях.
Весьма эффективной формой гелиотермической печи является цилиндрическая, а при больших ее мощностях – тороидообразная, и при этом лучеотражающие поверхности удобно располагаются на кольцевых, вокруг печи, канатных трассах в один или несколько кругов вокруг печи, при этом с помощью кольцевых канатных трасс лучеотражающие поверхности с регулируемым наклоном поворачиваются согласно передвижению солнечного диска.
В гелиоэнергетическом устройстве, согласно предлагаемому изобретению, соответственно достигнутым возможностям создания высокой температуры, до 300°С и больше, применяют и высокотемпературный гелиопоглощающий и теплоаккумулирующий материал, расположенный в днище корпуса печи с помощью технологических емкостей. Прежде всего понимается применение в качестве такого материала олова, температура плавления которого составляет 232°С, а точка кипения – 2237°С. При этом может быть применен защитный материал, например стеарин или парафин, у которого температура кипения находится в диапазоне 350-450°С. Кроме того, расплавленный материал в технологических емкостях герметично закрывается теплопроводящими металлическими пластинами, содержащими теплоотводы, погруженные в расплавленный материал. Эти пластины могут выполняться посредством гофрированного стального листа, получаемого с помощью штамповки с глубокой вытяжкой. Солнечные лучи, поступающие внутрь печи, поглощаются этими пластинами. Такая конструкция надежно обеспечивает темплоаккумулирование с температурой до 300-350°С. В отдельных случаях может применяться и алюминий с температурой до 800°С.
Однако более дешевым и эффективным теплоаккумулирующим материалом являются различные смести стеаринов, солей щелочных металлов, некоторые виды пластмасс и слюды, также с защитными материалами, где это необходимо. При этом можно достигать достаточно высокой удельной теплоты плавления смесей, например до 30-50ккал/кг и более, за счет чего используется высокая «скрытая» теплоемкость теплоаккумулирующего материала. В случае повышенных требований, в части количества аккумулируемой тепловой энергии, могут быть применены внешние, хорошо теплоизолированные, технологические емкости, размещаемые стационарно под печью или даже ниже – под землей, с одним или двумя вариантами теплоаккумулирующих материалов, в частности с сильно соленой водой.
В случае необходимости обеспечения запаса тепловой энергии на 3 месяца и больше, при высокой температуре теплоаккумулирующего материала, к гелиотермической печи может быть пристроено внешнее хранилище теплоаккумулирующего материала, размещенное под поверхностью почвы и надежно теплоизолированное, которое заполнено подручным дешевым сыпучим материалом, например щебнем, при этом оно должно быть соединено с технологическими емкостями циркуляционными теплоизолированными воздуховодами через воздухоподающие устройства. В технологических емкостях под гелиопоглощающими теплопроводными и гемертизирующими пластинами с теплоотводами соответственно могут быть образованы воздушные полости, которые включают в себя и зазоры между ребрами теплоотводов. Циркулирующий воздух в этом случае в период повышенной солнечной радиации накачивает тепловую энергию в подземное теплоизолированное хранилище. Тепловые потери, которые все же будут проникать через толстые, хорошо и недорого оборудованные теплоизолирующие поверхности хранилища, могут передаваться организованному обтекающему потоку свежего воздуха, который как теплоноситель утилизированных теплопотерь может использоваться для различных применений, в том числе для выработки электроэнергии собственных нужд через ветротурбину.
Теплоизолированное подземное хранилище может быть заполнено и преимущественно расплавляемым теплоаккумулирующим материалом в виде различных смесей, в частности, стеаринов, поваренной соли и технологических добавок. В таком случае внизу необходимо разместить управляемые электронагреватели. При этом щебень может применяться как наполнитель.
В бытовом и передвижном исполнениях гелиоэнергетического устройства, согласно предлагаемому изобретению, герметизированные технологические емкости с теплоаккумулирующим материалом выполняются переносными, в теплоизолирующем кожухе с приспособлениями для мобильного закрепления теплоизолирующей крышки и скоб для переноса емкостей вручную. Для закладки и выемки технологических емкостей последние снабжены приспособлениями, посредством которых их захватывают подручными средствами в упрощенных вариантах, а в автоматизированных вариантах – посредством роботизированных приспособлений.
То же предусмотрено и относительно поддонов, на которых размещаются емкости с термообрабатываемыми продуктами, причем поддоны могут располагаться посредством упоров на различных (по высоте) температурных уровнях, причем упоры могут выдвигаться и убираться посредством ручных приспособлений.
Для уменьшения лучевой тепловой нагрузки на термообрабатываемые продукты, в том числе через их емкости, перед внутренними проемами встроенных концентраторов и проводников солнечных лучей устанавливаются лучеотражающие пластины, снабженные ручными или автоматизированными механизмами. В этом случае входящие потоки солнечных лучей направляются на свободные поверхности теплопроводящих пластин, герметизирующих технологические емкости, что содействует непрерывному накоплению тепловой энергии в солнечные периоды. Соответствующие внутренние поверхности стенок и перегородок в замкнутой нагреваемой воздушной полости выполняются лучеотражающими, содействующими направлению потоков солнечных лучей на гелиопоглощающие пластины.
Температура воздуха во внутренней среде печи регулируется подачей воздуха извне и отводом его наружу к потребителям посредством созданных для этого каналов.
Вышеприведенные пояснения предложенного технического решения, согласно предлагаемому изобретению, раскрывают целый комплекс дополнительных отличий его от известных технических решений и названного прототипа.
В частности, отличие состоит в том, что указанные емкости, как технологические, так и оперативные, содержат приспособления для их мобильной закладки и выемки подручными средствами.
Отличие состоит в том, что технологические емкости, расположенные в теплоизолирующем материале днища гелиотермической печи, дополнительно размещены в локальных теплоизолирующих переносных коробах и содержат приспособления для закрепления съемных теплоизолирующих крышек над их гелиопоглощающими теплопроводными герметизирующими пластинами.
Отличие состоит в том, что относительно корпуса гелиотермической печи закреплены механизмы с ручными и/или автоматическими приводами, которые содержат стропы, связанные одними концами с наматывающими барабанами, а другими концами – с захватами, причем конструктивные элементы последних сопряжены своими геометрическими параметрами с ответными конструктивными элементами, закрепленными к поддонам и технологическим емкостям.
Отличие состоит в том, что в составе теплоаккумулирующего материала, расположенного в герметизированных технологических емкостях, применены смеси парафинов, стеаринов и солей щелочных металлов.
Отличие состоит в том, что в составе теплоаккумулирующего материала, расположенного в герметизированных технологических емкостях, применены смеси слюды и/или пластмасс с добавками защитных материалов меньшего удельного веса, точка кипения которых превышает значение температуры плавления теплоаккумулирующего материала.
Отличие состоит в том, что в составе теплоаккумулирующего материала, расположенного в герметизированных технологических емкостях, применены легкоплавкие металлы и/или сплавы металлов совместно с защитной добавкой в виде более легкоплавкого материала меньшего удельного веса, с точкой кипения, превышающей значение температуры плавления металла, например парафина.
Отличие состоит в том, что герметизированные технологические емкости, содержащие теплоаккумулирующий материал, преимущественно в расплавленном виде, присоединены к предохранительным клапанам предельного давления, выходные каналы которых через отверстия, выполненные в корпусе, например в днище гелиотермической печи, соединены со сборником аварийных выбросов и/или внешним хранилищем расплавленного теплоаккумулирующего материала.
Отличие состоит в том, что в верхней части корпуса гелиотермической печи выполнено отверстие, к которому параллельно подключены предохранительный клапан давления воздуха и внутренняя полость теплоизолированной воздухоотводящей трубы, содержащей теплоизолированную регулируемую задвижку, закрепленные относительно него, а в нижней его части, например в днище, выполнен теплоизолированный воздухозаборный канал, входной конец которого расположен в наружной атмосферной среде, и к нему присоединена вторая теплоизолированная регулируемая задвижка.
Отличие состоит в том, что в верхней части замкнутой нагреваемой воздушной полости размещены под выходными проемами встроенных концентраторов и проводников солнечных лучей поворотные пластины, которые покрыты лучеотражающим материалом и соединены с ручными и/или автоматизированными приводами.
Отличие состоит в том, что в теплоизолирующих стенках корпуса гелиотермической печи встроены, по меньшей мере, по одному дверному проему и смотровому окну, закрытому подвижной теплоизолирующей пластиной.
Отличие состоит в том, что в замкнутой воздушной технологической полости установлены осветители, подключенные к внутреннему источнику электрической энергии, в качестве которого применен, например, термоэлектронный прибор.
Отличие состоит в том, что к корпусу гелиотермической печи, например, относительно наружной поверхности ее потолка закреплены посредством несущих конструкций и кинематических приспособлений со стопорными механизмами участки листового лучеотражающего материала повышенной прочности в качестве ветрозащитных средств и дополнительных лучеотражающих поверхностей, причем кинематические приспособления со стопорными механизмами сочленены с ручными и/или автоматизированными приводами.
Отличие состоит в том, что поддоны и/или емкости, посредством которых размещены термообрабатываемые продукты, содержат индикаторы температуры и интенсивности процессов термообработки последних, например кипения, а технологические емкости, в которых расположен теплоаккумулирующий материал, содержат измерители температуры, причем информационная система подключена к локальному технологическому компьютеру, закрепленному относительно корпуса гелиотермической печи.
Отличие состоит в том, что, по меньшей мере, часть поддонов, посредством которых размещены термообрабатываемые продукты на гелиопоглощающих теплопроводных пластинах и в замкнутой нагреваемой воздушной полости, содержат приспособления в качестве опор вращения для загрузки и выемки термообрабатываемых продуктов с повышенным удельным весом, например керамических изделий, при этом к днищу гелиотермической печи, снаружи, присоединены загрузочные площадки, на которых размещаются поддоны с термообрабатываемыми продуктами.
Отличие состоит в том, что фиксирующие упоры для размещения поддонов на различных температурных уровнях в замкнутой нагреваемой воздушной полости содержат кинематические механизмы для их установки в периферийной зоне траектории вертикальных перемещений поддонов, причем указанные кинематические механизмы присоединены к ручным и/или автоматизированным приводам.
Отличие состоит в том, что в замкнутой нагреваемой воздушной полости размещена емкость, содержащая морскую воду, подводящие и отводящие магистрали которой подключены к водоопреснительной установке.
Отличие состоит в том, что в замкнутой нагреваемой воздушной полости размещена емкость с нагреваемой пресной водой, подключенная входной магистралью к источнику очищенной воды, а выходной магистралью к локальным турбоэлектрогенерирующим установкам, преимущественно к установкам электроснабжения собственных нужд, при этом выходные каналы последних подключены к другим потребителям горячей воды и пара.
Отличие состоит в том, что корпус гелиотермической печи выполнен в цилиндрической форме и размещен над поверхностью почвы на опорных стойках и/или сооружениях.
Отличие состоит в том, что корпус гелиотермической печи выполнен, ориентировочно, тороидообразной формы и содержит, по меньшей мере, два дверных проема и одну вертикальную перегородку внутри замкнутой нагреваемой воздушной полости, и размещен над поверхностью почвы на опорных стойках и/или сооружениях.
Отличие состоит в том, что корпус гелиотермической печи выполнен в сборно-разборной конструкции, а лучеотражающие технологические поверхности образованы посредством гибких несущих материалов и/или легких пластин из жестких материалов и закреплены относительно сборно-разборных опорных конструкций.
Отличие состоит в том, что к воздухоотводящей трубе присоединено управляемое вытяжное приспособление, а ее выходной проем подключен к входным термодинамическим и аэродинамическим средствам ветротурбогенератора.
Отличие состоит в том, что гелиотермическая печь содержит внешнее теплоизолированное хранилище теплоаккумулирующего материала, размещенное под ней, под поверхностью почвы и заполненное сыпучим и/или складируемым материалом, например щебнем и кирпичом, которое соединено с технологическими емкостями циркуляционными теплоизолированными воздуховодами через воздухоподающие устройства, причем в технологических емкостях под теплопроводными гелиопоглощающими герметизирующими пластинами образованы воздушные полости, включающие частично зазоры между теплоотводами последних.
Отличие состоит также в том, что теплоизолированное хранилище теплоаккумулирующего материала заполнено последним, преимущественно, в расплавленном состоянии, например смесью стеарина и поваренной соли с технологическими добавками, при этом оно соединено технологическими герметизированными емкостями теплоизолированными циркуляционными трубопроводами через насосные агрегаты, причем в нижней части теплоизолированного хранилища теплоаккумулирующего материала размещены управляемые электронагреватели.
Вышеприведенные отличия технического решения, согласно предлагаемому изобретению, в дополнительных пояснениях не нуждаются – с учетом вышеизложенного, а также нижеприведенного примера конкретной конструкции и функционирования гелиоэнергетического устройства для термообработки продуктов, в том числе для приготовления пищи.
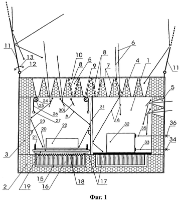
На Фиг.1 дано схематичное фронтальное представление гелиотермической печи в разрезе.
На Фиг.2 дан вид сбоку гелиотермической печи в схематичном разрезе.
На Фиг.3 дано представление о схеме расположения лучеотражающих технологических поверхностей.
Гелиотермическая печь 1 содержит днище 2, стенки 3 и потолок 4, где размещено различное технологическое оборудование (Фиг.1).
В потолке и стенках размещены пирамидальные концентраторы 5 и проводники солнечных лучей 6, на гранях 7 которых образованы лучеотражающие покрытия 8 (показаны пунктиром), а меньшие основания 9 и большие основания 10 закрыты светопроницаемым теплоизолирующим материалом (показан пунктиром). Потолок 4, стенки 3 и днище 2 выполнены из базового несущего и теплоизолирующего легкого материала, в частности пеностекла и пенобетона, в среду которого на всю толщину встроены (вложены) концентраторы 5 солнечных лучей 6. Встроенные концентраторы 5 имеют форму усеченных четырехгранных пустотелых пирамид, вытянутых по длине так, чтобы нижние основания 9 расположились ориентировочно на внутренней поверхности потолков 4 и частично стенок 3, а верхние основания 10 – на внешней их поверхности, когда угол наклона граней 7 концентратора 5 друг к другу составляет величину лишь 5-7°. Концентраторы 5 изготовлены из алюминиевого тонкостенного литья и снабжены лучеотражающими поверхностями 8 из полимерных пленок на основе технологии покрытия тонких пленок сверхтонкими слоями алюминия (особо высокой чистоты поверхности). Более перспективным материалом для граней 7 является стеклопластик или углепластик, несущего материала для нанесения покрытий – стеклопленка толщиной 10-50 микрон, которая принципиально необходима для защиты зеркально отражающего материала от воздействия атмосферы, а в качестве последнего – алюминий или медь, в отдельных случаях – драгоценные металлы.
На конструкции потолка 4 установлены лучеотражающие технологические поверхности 11, поворачивающиеся вокруг опоры 12 с помощью механизма 13, условно показанного двухсторонней стрелкой, который может представлять собой ручное приспособление с фиксаторами или автоматизированный привод с датчиками положения, тормозом и устройством управления, связанный с технологическим компьютером 14 (Фиг.3). Размещение последнего показано условно, фактически его место в днище, в отдельных случаях в стороне от корпуса печи.
В днище 2, в его пенобетонном и пеностеклянном основании выполнены посадочные теплоизолированные места, где размещена емкость 15 с теплоизолирующим кожухом, в котором размещен теплоаккумулирующий материал 16, который герметически закрыт теплопроводящей гелиопоглощающей пластиной 17 с выполненными на ней теплоотводами 18, погруженными в теплоаккумулирующий материал, преимущественно расплавленный. На теплопроводящей гофрированной пластине 17 закреплена подставка 19, к которой крепится, охватывая ее, теплоизолирующая крышка, применяемая при выемке емкости 15 из гелиотермической печи 1 (на иллюстрациях теплоизолированная крышка не показана). На подставке 19 свободно расположен поддон 20, который поднимается, вынимается, передвигается с помощью приспособления 21, под которым (и непосредственно в нем) выполнены ниши для перемещающих захватов. С помощью поддона 20 емкость 22 с термообрабатываемыми продуктами может подниматься и устанавливаться на упоры 23. Таких упоров в печи устанавливается по нескольку пар, в различных температурных зонах, и они могут устанавливаться с помощью механизмов, которые на Фиг.1 не показаны.
Кроме того, в верхней части замкнутой нагреваемой воздушной полости расположены механизмы 24 с барабанами 25, стальными лентами 26 и захватами 27. С помощью последних могут захватываться приспособления 21 и поддон 20, а емкость 22 может подниматься. Привод механизма 24 расположен на наружной поверхности стенок 3 (28 – ручной привод, 29 – автоматизированный привод), что показано на Фиг.2.
Для отражения лучевых потоков 6 в верхней части замкнутой нагреваемой воздушной полости расположены регулируемые лучеотражающие поверхности – заслонки 30, которые снабжены ручными и/или автоматизированными приводами (не показаны). Эти поверхности выполнены из стеклопластика или металла с покрытием их алюминиевой (медной) фольгой.
В данном конкретном примере исполнения гелиотермической печи 1 предусмотрено 2 отсека, разделенных перегородкой 31, в котором правый отсек используется для решения локальных энергетических задач. В этом случае установлена емкость 32, заполненная теплоаккумулирующим материалом (не показан), внутри которого размещен трубный коллектор с входной магистралью 33 и управляемой задвижкой 34 и выходной магистралью 35 с задвижкой 36. Подключение через выходную магистраль 35 нагретого пара или паро-воздушной смеси к паровой турбине на Фиг.1 не показано.
Работает гелиоэнергетическое устройство для термообработки продуктов, в том числе продуктов питания, схематично представленное на Фиг.1-3, следующим образом.
Термообрабатываемые продукты размещаются в емкостях 22. В качестве продуктов может быть пищевая продукция, например выпекаемые хлебобулочные изделия, или, в частности, высушиваемая или обжигаемая керамическая плитка. Емкость 22 размещается на поддоне 20, прилегающем к подставке 19, которая, в свою очередь, примыкает к гелиопоглощающей, герметизирующей технологическую емкость 15, теплопроводящей пластине 17 с выполненными на ней теплоотводами 18. Подставка 19 закреплена относительно теплопроводящей пластины 17 и имеет приспособления, входящие в нижнюю часть приспособлений 21, например, содержащим проемы для соединения с захватами 27. Для этого посредством барабана 25 и ручного 28 или автоматизированного 29 приводов стальные ленты 26 опускаются вниз и посредством захватов 27 зачаливаются через приспособление 21 поддон 20 с емкостью 22. Механизмы зачаливания многовариантны, могут запасовываться вручную подручными средствами или захватываться автоматически, как роботом с компьютерным управлением. Кроме того, и в поддоне 20, и в подставке 19 содержатся опорные места снизу для захвата их непосредственно подручным инструментом.
Солнечные лучи 6 прямого падения, а также отраженные от лучеотражающих технологических поверхностей 11 концентрированным потоком поступают на светопроницаемые поверхности больших оснований 10 встроенных концентраторов 5 и проводников солнечных лучей 6. Луч, проходящий в узкой области вокруг оси внешнего концентратора 5, проходит внутрь гелиотермической печи без отражений, а большая часть лучей попадет на лучеотражающие поверхности 8 его граней 7 и, отражаясь, все вместе они концентрированными лучевыми потоками проходят через меньшие основания 9, также закрытые светопроницаемым теплоизолирующим материалом. Лучевые потоки, имея высокую энергетическую плотность, поступают на теплопроводящие пластины 17 и их теплоотводы 18, передавая тепловую энергию теплоаккумулирующему материалу 16, размещенному в теплоизолированной емкости 15 в днище 2. Когда емкости 22 и 32 отсутствуют, лучевые потоки солнечных лучей 6 поступают, преимущественно, равномерно на теплопроводящие пластины 17, передавая им свою энергию. Если же емкости 22 и 32 установлены, то обеспечивается частичное попадание лучевых потоков на них, а частично посредством лучеотражающих регулируемых приспособлений 30 они поступают на теплопроводящие пластины 17 в дополнительно уплотненном виде, наращивая аккумулируемый запас тепловой энергии.
При желании можно вводить максимальную величину солнечной энергии внутрь гелиотермической печи 1 с изменением положения солнечного диска на небосводе, что обычно имеет место, угловые положения лучеотражающих технологических поверхностей 11 периодически корректируются с помощью механизма – привода 13 и поворота вокруг оси – опоры вращения 12. При высокой ветровой нагрузке поверхности 11 устанавливаются в ветрозащитное положение, в том числе ограждая от чрезмерного ветра встроенные концентраторы 5 солнечных лучей 6.
При осредненной по году солнечной радиации мощностью 0,2 кВт/м2, за счет лучеотражающих технологических поверхностей, внутрь гелиотермической печи может поступать солнечная энергия мощностью 5-10 кВт при светопроницаемой поверхности ее потолка 4, равной 3 м2, а двух светопроницаемых боковых стенок в сумме – 2 м2, что легко достижимо на широте Москвы и ниже. Эта энергия накапливается в теплоаккумулирующем материале на несколько суток несолнечной погоды, а в крупных промышленных гелиотермических печах мощный теплоэнергетический запас может создаваться на 10 суток и существенно дольше. Имея высокую температуру (150-300°С) в теплоаккумулирующем материале, проводят необходимую термообработку продуктов в емкостях 22, а также выработку тепловой и электрической энергии посредством парообразования в емкостях 32 (в их трубных коллекторах).
При необходимости отправки гелиоэнергетической установки, согласно предлагаемому изобретению, например, в туристический лагерь или научную экспедицию, ее разбирают и упаковывают, а емкости 15 с теплоаккумулирующим материалом 16 закрывают переносной теплоизолирующей крышкой и их вместе упаковывают на транспортном средстве в теплоизолированный короб. В таком состоянии высокая температура, пригодная для нормальной эксплуатации гелиоэнергетической установки, сохраняется в течение нескольких суток. Местное освещение, внутри печи и в окружающей среде, легко получается за счет термоэлектронного или паротурбогенераторного производства электроэнергии.
Для туристических целей индивидуального характера корпус гелиотермической печи может иметь в упрощенном варианте размеры 400×600 мм2, а необходимое количество энергии обеспечивается легко переносимыми лучеотражающими технологическими поверхностями.
Изложенное показывает, что гелиоэнергетическое устройство для термообработки продуктов, согласно предлагаемому изобретению, удовлетворяет потребности в энергии на бытовом, туристическом, фермерско-колхозном и промышленно-хозяйственных уровнях. Высокая технико-экономическая эффективность его достигается уже при реализации первого пункта Формулы изобретения. Однако эффективность устройства возрастает при внедрении нескольких или всех совместимых пунктов Формулы изобретения одновременно.
Формула изобретения
1. Гелиоэнергетическое устройство для термообработки продуктов, в том числе продуктов питания, содержащее концентратор солнечных лучей, гелиопоглощающую поверхность в его фокусном пространстве и примыкающую к ней объемную зону лучевого и конвективного нагрева, где размещены термообрабатываемые продукты, отличающееся тем, что гелиопоглощающая поверхность и зона лучевого и конвективного нагрева выполнены при помощи термоизолированного днища с расположенными в нем технологическими емкостями, заполненными теплоаккумулирующим материалом и герметично закрытыми гелиопоглощающими теплопроводными пластинами с теплоотводами, например гофрированными металлическими листами, теплоизолирующих стенок и потолков, образующих совместно корпус гелиотермической печи с замкнутой нагреваемой воздушной полостью, посредством которых размещены средства технологического обеспечения гелиотермической печи, например поддоны для установки емкостей, содержащих термообрабатываемые продукты, фиксирующие упоры для размещения поддонов на различных температурных уровнях, приспособления и механизмы для перемещения поддонов и емкостей, в том числе для закладки и выемки технологических емкостей, причем, в базовый несущий и теплоизолирующий материал потолков и стенок в корпусе гелиотермической печи встраивают концентраторы и проводники солнечных лучей, выполненные в виде пустотелых усеченных четырехгранных пирамид, например, из стеклопластика так, что меньшие основания их находятся на его внутренней поверхности, а большие основания – на наружной поверхности, при этом основания пирамидальных встроенных концентраторов и проводников солнечных лучей закрыты светопроницаемым теплоизолирующим материалом, а грани их содержат лучеотражающие поверхности, при этом в окружающем гелиотермическую печь пространстве с помощью несущих материалов и конструкций размещены лучеотражающие технологические поверхности, энергетически связанные с замкнутой нагреваемой воздушной полостью и гелиопоглощающими теплопроводными пластинами посредством потоков отраженных солнечных лучей через окружающую воздушную среду и встроенные концентраторы и проводники солнечных лучей, причем лучеотражающие технологические поверхности образованы с помощью гибких и/или жестких материалов, имеющих различные геометрические формы, преимущественно в виде прямоугольников, закрепленных к соответствующим несущим конструкциям, по меньшей мере, часть из которых присоединена к управляющим механизмам с ручными и/или автоматизированными приводами, подключенными через управляющие устройства к датчикам положения солнечного диска на небосводе и датчикам скорости естественного ветра.
2. Гелиоэнергетическое устройство для термообработки продуктов по п.1, отличающееся тем, что указанные емкости содержат приспособления для их мобильной закладки и выемки подручными средствами.
3. Гелиоэнергетическое устройство для термообработки продуктов по любому из пп.1 и 2, отличающееся тем, что технологические емкости, расположенные в теплоизолирующем материале днища гелиотермической печи, дополнительно размещены в локальных теплоизолирующих переносных коробах и содержат приспособления для закрепления съемных теплоизолирующих крышек над их гелиопоглощающими теплопроводными герметизирующими пластинами.
4. Гелиоэнергетическое устройство для термообработки продуктов по любому из пп.1-3, отличающееся тем, что относительно корпуса гелиотермической печи закреплены механизмы с ручными и/или автоматическими приводами, которые содержат стропы, связанные одними концами с наматывающими барабанами, а другими концами – с захватами, причем конструктивные элементы последних сопряжены своими геометрическими параметрами с ответными конструктивными элементами, закрепленными к поддонам и технологическим емкостям.
5. Гелиоэнергетическое устройство для термообработки продуктов по любому из пп.1-4, отличающееся тем, что в составе теплоаккумулирующего материала, расположенного в герметизированных технологических емкостях, применены смеси парафинов, стеаринов и солей щелочных металлов.
6. Гелиоэнергетическое устройство для термообработки продуктов по любому из пп.1-4, отличающееся тем, что в составе теплоаккумулирующего материала, расположенного в герметизированных технологических емкостях, применены смеси слюды и/или пластмасс с добавками защитных материалов меньшего удельного веса, точка кипения которых превышает значение температуры плавления теплоаккумулирующего материала.
7. Гелиоэнергетическое устройство для термической обработки продуктов по любому из пп.1-4, отличающееся тем, что в составе теплоаккумулирующего материала, расположенного в герметизированных технологических емкостях, применены легкоплавкие металлы и/или сплавы металлов совместно с защитной добавкой в виде более легкоплавкого материала меньшего удельного веса с точкой кипения, превышающей значение температуры плавления металла, например парафина.
8. Гелиоэнергетическое устройство для термообработки продуктов по любому из пп.1-7, отличающееся тем, что герметизированные технологические емкости, содержащие теплоаккумулирующий материал преимущественно в расплавленном виде, присоединены к предохранительным клапанам предельного давления, выходные каналы которых через отверстия, выполненные в корпусе, например в днище гелиотермической печи, соединены со сборником аварийных выбросов и/или внешним хранилищем расплавленного теплоаккумулирующего материала.
9. Гелиоэнергетическое устройство для термообработки продуктов по п.1, отличающееся тем, что в верхней части корпуса гелиотермической печи выполнено отверстие, к которому параллельно подключены предохранительный клапан давления воздуха и внутренняя полость теплоизолированной воздухоотводящей трубы, содержащей теплоизолированную регулируемую задвижку, закрепленные относительно него, а в нижней его части, например в днище, выполнен теплоизолированный воздухозаборный канал, входной конец которого расположен в наружной атмосферной среде и к нему присоединена вторая теплоизолированная регулируемая задвижка.
10. Гелиоэнергетическое устройство для термообработки продуктов по п.1, отличающееся тем, что в верхней части замкнутой нагреваемой воздушной полости размещены под выходными проемами встроенных концентраторов и проводников солнечных лучей поворотные пластины, которые покрыты лучеотражающим материалом и соединены с ручными и/или автоматизированными приводами.
11. Гелиоэнергетическое устройство для термообработки продуктов по п.1, отличающееся тем, что в теплоизолирующих стенках корпуса гелиотермической печи встроено, по меньшей мере, по одному дверному проему и смотровому окну, закрытому подвижной теплоизолирующей пластиной.
12. Гелиоэнергетическое устройство для термообработки продуктов по п.1, отличающееся тем, что в замкнутой воздушной технологической полости установлены осветители, подключенные к внутреннему источнику электрической энергии, в качестве которого применен, например, термоэлектронный прибор.
13. Гелиоэнергетическое устройство для термообработки продуктов по п.1, отличающееся тем, что к корпусу гелиотермической печи, например, относительно наружной поверхности ее потолка закреплены посредством несущих конструкций и кинематических приспособлений со стопорными механизмами участки листового лучеотражающего материала повышенной прочности в качестве ветрозащитных средств и дополнительных лучеотражающих поверхностей, причем кинематические приспособления со стопорными механизмами сочленены с ручными и/или автоматизированными приводами.
14. Гелиоэнергетическое устройство для термообработки продуктов по любому из пп.1-8, отличающееся тем, что поддоны и/или емкости, посредством которых размещены термообрабатываемые продукты, содержат индикаторы температуры и интенсивности процессов термообработки последних, например кипения, а технологические емкости, в которых расположен теплоаккумулирующий материал, содержат измерители температуры, причем информационная система подключена к локальному технологическому компьютеру, закрепленному относительно корпуса гелиотермической печи.
15. Гелиоэнергетическое устройство для термообработки продуктов по любому из пп.1 и 14, отличающееся тем, что, по меньшей мере, часть поддонов, посредством которых размещены термообрабатываемые продукты на гелиопоглощающих теплопроводных пластинах и в замкнутой нагреваемой воздушной полости, содержат приспособления в качестве опор вращения для загрузки и выемки термообрабатываемых продуктов с повышенным удельным весом, например керамических изделий, при этом к днищу гелиотермической печи снаружи присоединены загрузочные площадки.
16. Гелиоэнергетическое устройство для термообработки продуктов по любому из пп.1, 14 и 15, отличающееся тем, что фиксирующие упоры для размещения поддонов на различных температурных уровнях в замкнутой нагреваемой воздушной полости содержат кинематические механизмы для их установки в периферийной зоне траектории вертикальных перемещений поддонов, причем указанные кинематические механизмы присоединены к ручным и/или автоматизированным приводам.
17. Гелиоэнергетическое устройство для термообработки продуктов по п.1, отличающееся тем, что в замкнутой нагреваемой воздушной полости размещена емкость, содержащая морскую воду, подводящие и отводящие магистрали которой подключены к водоопреснительной установке.
18. Гелиоэнергетическое устройство для термообработки продуктов по п.1, отличающееся тем, что в замкнутой нагреваемой воздушной полости размещена емкость с нагреваемой пресной водой, подключенная входной магистралью к источнику очищенной воды, а выходной магистралью – к локальным турбоэлектрогенерирующим установкам, преимущественно к установкам электроснабжения собственных нужд, при этом выходные каналы последних подключены к другим потребителям горячей воды и пара.
19. Гелиоэнергетическое устройство для термообработки продуктов по п.1, отличающееся тем, что корпус гелиотермической печи выполнен цилиндрической формы и размещен над поверхностью почвы на опорных стойках и/или сооружениях.
20. Гелиоэнергетическое устройство для термообработки продуктов по любому из пп.1 и 19, отличающееся тем, что корпус гелиотермической печи выполнен, ориентировочно, тороидообразной формы и содержит, по меньшей мере, два дверных проема и одну вертикальную перегородку внутри замкнутой нагреваемой воздушной полости и размещен над поверхностью почвы на опорных стойках и/или сооружениях.
21. Гелиоэнергетическое устройство для термообработки продуктов по любому из пп.1 и 19, отличающееся тем, что корпус гелиотермической печи выполнен в сборно-разборной конструкции, а лучеотражающие технологические поверхности образованы посредством гибких несущих материалов и/или легких пластин из жестких материалов и закреплены относительно сборно-разборных опорных конструкций.
22. Гелиоэнергетическое устройство для термообработки продуктов по любому из пп.1 и 9, отличающееся тем, что к воздухоотводящей трубе присоединено управляемое вытяжное приспособление, а ее выходной проем подключен к входным термодинамическим и аэродинамическим средствам ветротурбогенератора.
23. Гелиоэнергетическое устройство для термообработки продуктов по любому из пп.1-22, отличающееся тем, что гелиотермическая печь содержит внешнее теплоизолированное хранилище теплоаккумулирующего материала, размещенное под ней и под поверхностью почвы и заполненное сыпучим и/или укладываемым строительным материалом, например щебнем и кирпичом, которое соединено с технологическими емкостями циркуляционными теплоизолированными воздуховодами через воздухоподающие устройства, причем в технологических емкостях под теплопроводными герметизирующими пластинами образованы воздушные полости, включающие частично зазоры между теплоотводами последних.
24. Гелиоэнергетическое устройство для термообработки продуктов по любому из пп.1-22, отличающееся тем, что гелиотермическая печь содержит внешнее теплоизолированное хранилище теплоаккумулирующего материала, заполненное последним преимущественно в расплавленном состоянии, например смесью стеарина и поваренной соли с технологическими добавками, которое соединено с технологическими емкостями теплоизолированными циркуляционными трубопроводами через насосные агрегаты, причем в нижней части теплоизолированного хранилища теплоаккумулирующего материала размещены управляемые электронагреватели.
РИСУНКИ
MM4A – Досрочное прекращение действия патента СССР или патента Российской Федерации на изобретение из-за неуплаты в установленный срок пошлины за поддержание патента в силе
Дата прекращения действия патента: 21.12.2006
Извещение опубликовано: 20.06.2008 БИ: 17/2008
|
|