|
|
(21), (22) Заявка: 2004109498/06, 29.03.2004
(24) Дата начала отсчета срока действия патента:
29.03.2004
(43) Дата публикации заявки: 27.09.2005
(45) Опубликовано: 10.03.2006
(56) Список документов, цитированных в отчете о поиске:
RU 2173434 C1, 10.09.2001. SU 1160195 А, 07.06.1985. RU 2184904 C1, 10.07.2002. RU 2040738 C1, 25.07.1995. RU 2105433 C1, 20.02.1998.
Адрес для переписки:
344010, г.Ростов-на-Дону, пр. Ворошиловский, 64, кв.84, О.С. Перлину
|
(72) Автор(ы):
Владимирский Владимир Константинович (RU), Харламов Михаил Матвеевич (RU), Перлин Олег Савельевич (RU), Шевченко Андрей Петрович (RU)
(73) Патентообладатель(и):
Общество с ограниченной ответственностью “Научно-производственная фирма “Сфера” (RU)
|
(54) УСТАНОВКА ДЛЯ ОТОПЛЕНИЯ
(57) Реферат:
Изобретение предназначено для нагрева воды и может быть использовано для отопления. Установка включает выполненную в виде герметичного бака постоянного объема с входным и выходным патрубками и с крышкой основную емкость, внутри которой установлены соединенные с блоком управления датчик уровня жидкости и термоэлектронагреватель, выполненную в виде съемного бака с входным патрубком дополнительную емкость, содержащую соединенный с блоком управления датчик уровня жидкости и крышку, на которой закреплено конденсирующее устройство, обратный клапан и обогревательные элементы. Съемный бак установлен за обогревательными элементами на крышке основной емкости, являющейся одновременно днищем дополнительной емкости. На крышке основной емкости закреплены размещенные в дополнительной емкости входной патрубок основной емкости с обратным клапаном и устройство автоматического удаления воздуха, выполненное в виде двух взаимообратных клапанов, соединенных резьбовой трубкой, при этом один из взаимообратных клапанов установлен на патрубке основной емкости, в нижней части которой закреплен выходной патрубок с установленным на нем клапаном. Изобретение обеспечивает повышение КПД установки и упрощение конструкции. 1 з.п. ф-лы, 1 ил. 
Изобретение относится к области теплоэнергетики, а именно к установкам для отопления, и может быть использовано для отопления промышленных объектов, жилых помещений, торговых павильонов, садовых домиков, гаражей в качестве основного источника тепла, а также совместно с другими видами отопления в качестве резервного источника тепла.
Известна автономная система горячего водоснабжения (пат. RU №1818507, кл. F 24 D 17/00, за 1993 г.), включающая баки-аккумуляторы, установленные на трубопроводах, тепловой насос с испарителем и конденсатором, гелеоустановку.
Конструктивное выполнение такой автономной системы горячего водоснабжения усложняет ее изготовление, ограничивает климатические зоны ее использования и применения в индивидуальных строениях, где отсутствует центральное водоснабжение.
Известна котловая водогрейная система и устройство для управления ее работой (пат. RU №2092744, кл. F 24 Н 1/08, за 1997 г.), содержащая теплообменную камеру (с камерой воспламенения, топочной камерой, водяной камерой со змеевиком и вытяжной трубой), бак для добавления воды, циркуляционный насос, устройство горячего водоснабжения, горелку и устройство управления работой этой системы.
Недостаток этой котловой водогрейной системы в ее сложности, относительной громоздкости, возможности утечек вредных компонентов, используемых в ее работе, что ограничивает ее использование в бытовых условиях.
Известен тепловой насос (а.с. СССР №892031, по кл. МКИ F 04 F 1/18, за 1981 г.), содержащий резервуар для жидкости с накопительной магистралью, на которой последовательно установлены нагреватель, холодильник и обратный клапан, а также основную камеру переменного объема, подключенную между резервуаром и нагревателем, дополнительную камеру переменного объема, размещенную между холодильником и обратным клапаном, подвижная крышка которой снабжена пружиной и кинематически связана при помощи штанги с крышкой основной камеры переменного объема. Кроме того на магистрали размещены дополнительно два клапана: один – между резервуаром и основной камерой, другой – за дополнительной камерой.
Недостатками такой системы являются относительно низкий КПД нагрева жидкости из-за наружного расположения нагревателя в обогреваемом объекте, выдача только определенной порции нагретой жидкости в систему потребления, строго определенное геометрическое положение основной камеры относительно дополнительной камеры, а также наличие механических движущихся элементов, вызывающих дополнительную сложность в обеспечении их надежной герметизации, что приводит к излишним затратам электроэнергии.
Известна также принятая за прототип теплонасосная установка (пат. RU №2173434, МПК F 24 Н 1/08, F 25 В 29/00, F 04 F 1/04, за 2001 г.), содержащая выполненную в виде герметичного бака постоянного объема с крышкой основную емкость, внутри которой размещены датчик уровня жидкости и нагреватель, в верхней части ее установлен сложный, регулируемый по высоте относительно датчика уровня жидкости выходной патрубок, нижний торец которого расположен ниже крышки основной емкости, а в нижней части – входной патрубок, выполненную в виде бака постоянного объема, сообщающегося с атмосферой, дополнительную емкость, размещенную не ниже уровня основной емкости, установленный на входе в дополнительную емкость обратный клапан, обогревательный элемент, размещенный между основной и дополнительной емкостями, а также расположенное в подающей магистрали механическое регулирующее устройство и блок управления, с которым связаны нагреватель, датчик уровня жидкости и электротермодатчик, закрепленный на обратной магистрали, на которой установлен обратный клапан.
Недостатками известной теплонасосной установки являются размещение дополнительной емкости непосредственно за основной емкостью, при этом нагретая до кипения жидкость, поступая из основной емкости в дополнительную емкость, частично заполненную холодной жидкостью, теряет значительную часть тепловой энергии, после чего остывающая жидкость заполняет обогревательные элементы, при этом происходит дополнительная потеря тепла (общая потеря тепла составляет около 50%), а для достижения необходимого температурного режима в отапливаемом помещении требуется дополнительный расход электроэнергии, что снижает КПД теплонасосной установки.
Наличие основной и дополнительной емкостей в виде двух самостоятельных узлов, соединенных магистралью, а также сложного, регулируемого по высоте выходного патрубка, установленного в основной емкости, усложняют конструкцию теплонасосной установки, при этом при размещении дополнительной емкости внутри отапливаемого помещения возможна утечка паров жидкости в отапливаемое помещение, что ухудшает экологичность отапливаемого помещения, а для отвода паров жидкости в атмосферу необходимо использовать дополнительные устройства, которые также усложняют конструкцию. Кроме того, в процессе эксплуатации известной теплонасосной установки в основной емкости образуется воздух, который снижает эффективность работы установки, так как возникает необходимость периодического ручного удаления воздуха, что не обеспечивает работу установки в автоматическом режиме.
Задача предлагаемого изобретения заключается в создании такой установки для отопления, которая имела бы более высокий КПД, упрощала бы конструкцию, обеспечивала экологичность отапливаемых помещений и работу установки для отопления в автоматическом режиме.
Поставленная задача решается тем, что в известной теплонасосной установке, включающей выполненную в виде герметичного бака постоянного объема с входным и выходным патрубками и с крышкой основную емкость, внутри которой установлены соединенные с блоком управления датчик уровня жидкости и термоэлектронагреватель, выполненную в виде бака с входным патрубком дополнительную емкость, обратный клапан и обогревательные элементы, дополнительная емкость, дополнительно содержащая соединенный с блоком управления датчик уровня жидкости и крышку, на которой закреплено конденсирующее устройство, выполнена в виде съемного бака, установленного за обогревательными элементами на крышке основной емкости, являющейся одновременно днищем дополнительной емкости, причем на крышке основной емкости закреплены размещенные в дополнительной емкости входной патрубок основной емкости с обратным клапаном и устройство автоматического удаления воздуха, выполненное в виде двух взаимообратных клапанов, соединенных резьбовой трубкой, при этом один из взаимообратных клапанов установлен на патрубке основной емкости, в нижней части которой закреплен выходной патрубок, с установленным на нем клапаном, содержащим сменную пружину, выполненную с заданной упругостью.
Наличие клапана со сменной пружиной, имеющей заданную упругость, установленного на выходном патрубке основной емкости, обеспечивает требуемое давление пара в основной емкости и соответственно температуру жидкости в ней выше 100°С, а так как дополнительная емкость размещена за обогревательными элементами, жидкость с вышеуказанной температурой поступает из основной емкости непосредственно в обогревательные элементы, что снижает тепловые потери и, следовательно, повышает КПД установки для отопления.
Размещение дополнительной емкости на крышке основной емкости позволяет исключить магистраль для подвода жидкости из дополнительной емкости в основную и использовать входной патрубок основной емкости в качестве выходного патрубка дополнительной емкости, что упрощает конструкцию установки для отопления.
Закрепленное на крышке дополнительной емкости конденсирующее устройство обеспечивает эффективную конденсацию воздуха и паров жидкости в дополнительной емкости, а это исключает утечку паров жидкости из дополнительной емкости и попадание их в отапливаемое помещение, что обеспечивает экологичность отапливаемого помещения и вследствие этого использование установки для отопления непосредственно в отапливаемых помещениях. Установленный внутри дополнительной емкости датчик уровня жидкости обеспечивает наличие в ней минимально необходимого количества жидкости, которое препятствует попаданию воздуха из дополнительной емкости в отопительную систему в аварийных ситуациях (например, течь в системе отопления). В этих случаях датчик уровня жидкости дает команду блоку управления на отключение установки для отопления от сети.
Наличие в установке для отопления устройства автоматического удаления воздуха, накапливающегося в процессе работы в основной емкости, обеспечивает работу установки для отопления в автоматическом режиме, так как отпадает необходимость в периодическом ручном удалении воздуха из основной емкости.
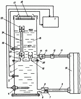
На чертеже изображена схема заявляемой установки для отопления.
Установка для отопления содержит блок 1 автоматического управления, выполненную в виде герметичного бака постоянного объема с крышкой 2 основную емкость 3, в которой размещены подключенные к блоку 1 автоматического управления термоэлектронагреватель 4 и датчик 5 уровня жидкости, защищающий термоэлектронагреватель 4 от перегрева при понижении уровня жидкости в основной емкости 3, в нижней части которой закреплен выполненный в виде трубы выходной патрубок 6, на котором установлен выполненный с размещенной в нем сменной пружиной 7, имеющей заданную упругость, клапан 8, обеспечивающий заданное давление пара в основной емкости, а следовательно, и заданную температуру жидкости, подаваемой через прямую магистраль 9 в обогревательные элементы 10, соединенные обратной магистралью 11, на которой установлены соединенный с блоком 1 автоматического управления электротермодатчик 12 и фильтр 13 с входным патрубком 14 дополнительной емкости 15.
Дополнительная емкость 15 выполнена в виде герметично установленного на крышке 2 основной емкости 3 съемного бака с крышкой 16, на которой закреплено конденсирующее устройство 17. Крышка 2 основной емкости 3 является одновременно днищем дополнительной емкости 15. В дополнительной емкости 15 установлен датчик 18 уровня жидкости, фиксирующий минимально необходимый уровень жидкости в дополнительной емкости 15 и предотвращающий аварийные ситуации. Датчик 18 уровня жидкости размещен в дополнительной емкости 15 на 10-15 мм ниже минимально необходимого уровня жидкости в ней.
На крышке 2 основной емкости 3 закреплены размещенные в дополнительной емкости 15 входной, являющийся одновременно выходным патрубком дополнительной емкости 15, патрубок 19 основной емкости 3 с установленным на нем обратным клапаном 20 и патрубок 21, на котором размещено устройство автоматического удаления воздуха из основной емкости 3, выполненное в виде двух взаимообратных клапанов 22, 23, соединенных резьбовой трубкой 24, причем обратный клапан 23 размещен выше уровня максимально возможного количества жидкости в дополнительной емкости 15.
Работа предлагаемой установки для отопления осуществляется следующим образом.
Предварительно основную емкость 3, обогревательные элементы 10, прямую и обратную магистрали 9, 11 и дополнительную емкость 15 заполняют водой (жидкостью), причем уровень воды в дополнительной емкости 15 минимальный, на 10-15 мм превышающий уровень размещения датчика 18. С помощью блока 1 автоматического управления включают термоэлектронагреватель 4 и доводят воду в основной емкости 3 до кипения. При появлении пара в основной емкости 3 резко возрастает давление, при котором находящийся в основной емкости 3 воздух проходит через патрубок 21, открывает клапан 22 и по трубке 24, поступая к клапану 23, закрывает его, а кипящая вода под действием давления пара через выходной патрубок 6 поступает к клапану 8 и, когда давление в основной емкости превысит сопротивление пружины 7 клапана 8, кипящая вода открывает клапан 8 и по прямой магистрали 9 поступает непосредственно в обогревательные элементы 10, а затем по обратной магистрали 11 через фильтр 13 и входной патрубок 14 поступает в дополнительную емкость 15, где с помощью конденсирующего устройства 17 происходит эффективная конденсация паров воды. Когда вытесняемая паром вода в основной емкости 3 окажется ниже уровня датчика 5, последний подает сигнал в блок 1 автоматического управления, который отключает термоэлектронагреватель 4, в то время как пар продолжает вытеснять кипящую воду в обогревательные элементы 10, так как парообразование происходит еще определенное время после отключения термоэлектронагревателя 4.
После окончания действия пара давление в основной емкости 3 падает, происходит конденсация пара и образование вакуума, под действием которого обратный клапан 20 открывается и основная емкость 3 заполняется водой, поступающей из дополнительной емкости 15 через входной патрубок 19. Одновременно с этим клапан 22 закрывается, а клапан 23 открывается и воздух из трубки 24 поступает в дополнительную емкость 15, где конденсируется вместе с парами воды.
Поддержание требуемой температуры в отапливаемом помещении при работе установки для отопления осуществляет электротермодатчик 12. Если температура воды в обратной магистрали 11 равна заданной величине, то электротермодатчик 17 дает команду в блок 1 управления на отключение термоэлектронагревателя 4. При уменьшении температуры воды в обратной магистрали 11 на установленную величину, например на 3-5°С, электротермодатчик 17 дает команду в блок 1 автоматического управления на включение термоэлектронагревателя 4 и цикл повторяется.
Наличие клапана со сменной пружиной, имеющей заданную упругость, установленного на выходном патрубке основной емкости, обеспечивает требуемое давление пара в основной емкости и соответственно температуру жидкости в ней выше 100°С, а так как дополнительная емкость размещена за обогревательными элементами, жидкость с вышеуказанной температурой поступает из основной емкости непосредственно в обогревательные элементы, что снижает тепловые потери и, следовательно, повышает КПД установки для отопления.
Размещение дополнительной емкости на крышке основной емкости позволяет исключить магистраль для подвода жидкости из дополнительной емкости в основную и использовать входной патрубок основной емкости в качестве выходного патрубка дополнительной емкости, что упрощает конструкцию установки для отопления.
Наличие на дополнительной емкости крышки с закрепленным на ней конденсирующим устройством обеспечивает эффективную конденсацию воздуха и паров жидкости в дополнительной емкости, а это исключает утечку паров жидкости из дополнительной емкости и попадание их в отапливаемое помещение, что обеспечивает экологичность отапливаемого помещения и вследствие этого использование установки для отопления непосредственно в отапливаемых помещениях. Установленный внутри дополнительной емкости датчик уровня жидкости обеспечивает наличие в ней минимально необходимого количества жидкости, которое препятствует попаданию воздуха из дополнительной емкости в отопительную систему в аварийных ситуациях (например, течь в системе отопления). В этих случаях датчик уровня жидкости дает команду блоку управления на отключение установки для отопления от сети.
Наличие в установке для отопления устройства автоматического удаления воздуха, накапливающегося в процессе работы в основной емкости, обеспечивает работу установки для отопления в автоматическом режиме, так как отпадает необходимость в периодическом ручном удалении воздуха из основной емкости.
Формула изобретения
1. Установка для отопления, включающая выполненную в виде герметичного бака постоянного объема с входным и выходным патрубками и с крышкой основную емкость, внутри которой установлены соединенные с блоком управления датчик уровня жидкости и термоэлектронагреватель, выполненную в виде бака с входным патрубком дополнительную емкость, обратный клапан и обогревательные элементы, отличающаяся тем, что дополнительная емкость, дополнительно содержащая соединенный с блоком управления датчик уровня жидкости и крышку, на которой закреплено конденсирующее устройство, выполнена в виде съемного бака, установленного за обогревательными элементами на крышке основной емкости, являющейся одновременно днищем дополнительной емкости, причем на крышке основной емкости закреплены размещенные в дополнительной емкости входной патрубок основной емкости с обратным клапаном и устройство автоматического удаления воздуха, выполненное в виде двух взаимообратных клапанов, соединенных резьбовой трубкой, при этом один из взаимообратных клапанов установлен на патрубке основной емкости, в нижней части которой закреплен выходной патрубок с установленным на нем клапаном.
2. Установка для отопления по п.1, отличающаяся тем, что клапан установленный на выходном патрубке, содержит сменную пружину, выполненную с заданной упругостью.
РИСУНКИ
MM4A – Досрочное прекращение действия патента СССР или патента Российской Федерации на изобретение из-за неуплаты в установленный срок пошлины за поддержание патента в силе
Дата прекращения действия патента: 30.03.2006
Извещение опубликовано: 27.04.2007 БИ: 12/2007
Изменения:
Публикацию о досрочном прекращении действия патента считать недействительной.
Номер и год публикации бюллетеня: 12-2007
Извещение опубликовано: 10.10.2007 БИ: 28/2007
MM4A – Досрочное прекращение действия патента СССР или патента Российской Федерации на изобретение из-за неуплаты в установленный срок пошлины за поддержание патента в силе
Дата прекращения действия патента: 30.03.2009
Извещение опубликовано: 10.03.2010 БИ: 07/2010
|
|