|
|
(21), (22) Заявка: 2003131323/06, 25.03.2002
(24) Дата начала отсчета срока действия патента:
25.03.2002
(30) Конвенционный приоритет:
27.03.2001 (пп.1-33) US 09/819,021 27.03.2001 (пп.70-115) US 09/817,278 01.03.2002 (пп.34-69) US 10/085,045
(43) Дата публикации заявки: 10.05.2005
(45) Опубликовано: 10.03.2006
(56) Список документов, цитированных в отчете о поиске:
US 5934895 A, 10.08.1999. US 6050810 A, 18.04.2000. US 5980242 A, 09.11.1999. US 6010328 A, 04.06.2000. RU 2058509 C1, 20.04.1996.
(85) Дата перевода заявки PCT на национальную фазу:
27.10.2003
(86) Заявка PCT:
US 02/09275 (25.03.2002)
(87) Публикация PCT:
WO 02/077524 (03.10.2002)
Адрес для переписки:
129010, Москва, ул. Б.Спасская, 25, стр.3, ООО “Юридическая фирма Городисский и Партнеры”, пат.пов. А.В.Миц
|
(72) Автор(ы):
АДАМС Пол (US), ФЭРБЭНКС Флойд (US), СГРОЙ Энтони Мл. (US), ТАББИ Брайан (US), УКЛЕДЖА Джеффри Ф. (US)
(73) Патентообладатель(и):
БИК КОРПОРЕЙШН (US)
|
(54) МНОГОРЕЖИМНАЯ ЗАЖИГАЛКА
(57) Реферат:
Изобретение относится к зажигалкам. Зажигалка содержит корпус, имеющий источник подачи топлива, исполнительный элемент для избирательного воспламенения топлива, соединенный с корпусом, фиксирующий элемент, выполненный с возможностью приведения в движение пользователем между первым положением и вторым положением, при этом пользователь прилагает к исполнительному элементу первую силу приведения в действие для воспламенения топлива, когда фиксирующий элемент установлен в первом положении, и прилагает к исполнительному элементу вторую силу приведения в действие для воспламенения топлива, когда фиксирующий элемент установлен во втором положении, причем первая сила приведения в действие больше второй силы. Зажигалка дополнительно содержит смещающий элемент, оперативно соединенный с фиксирующим элементом, и плунжерный элемент, оперативно соединенный с фиксирующим элементом. Исполнительный элемент представляет собой триггер, подсоединенный к корпусу с возможностью перемещения. Зажигалка выполнена с возможностью приведения в действие посредством двух разных перемещений. Фиксирующий элемент соединен с корпусом с возможностью поворота и дополнительно содержит передний и задний концы, при этом передний конец выполнен с возможностью перемещения из начального положения, при котором плунжерный элемент находится в первом положении, в конечное положение, при котором плунжерный элемент находится во втором положении. Исполнительный элемент дополнительно содержит стенку, при этом, когда фиксирующий элемент находится в первом положении, плунжерный элемент находится в контакте со стенкой. Плунжерный элемент отсоединен от стенки, когда фиксирующий элемент находится во втором положении. Плунжерный элемент оперативно соединен с исполнительным элементом, когда фиксирующий элемент находится в первом положении. Зажигалка дополнительно содержит поршневой элемент, соединенный с корпусом с возможностью скольжения, и смещающий элемент, расположенный между поршневым элементом и опорным элементом корпуса, при этом плунжерный элемент соединен с поршневым элементом с возможностью поворота, причем, когда фиксирующий элемент находится в первом положении, поршневой элемент перемещен для сжатия смещающего элемента для приведения в действие зажигалки. Когда фиксирующий элемент находится во втором положении и зажигалка приведена в действие, перемещение плунжерного элемента и поршневого элемента недостаточно для сжатия смещающего элемента. Плунжерный элемент соединен с поршневым элементом с возможностью скольжения. Когда фиксирующий элемент установлен в первом положении, для приведения в действие исполнительного элемента необходимо приложить к этому элементу усилие примерно от 6,5 до 8,5 кг, а когда фиксирующий элемент установлен во втором положении, для приведения в действие исполнительного элемента необходимо приложить к этому элементу усилие примерно от 3 до 5 кг. Изобретение позволяет исключить использование зажигалкой нежелательными пользователями. 17 н. и 98 з.п. ф-лы, 31 ил. 
Настоящее изобретение, в общем, относится к зажигалкам, например к карманным зажигалкам, используемым для зажигания сигарет и сигар, или к универсальным зажигалкам, используемым для зажигания свечей, устройств с решеткой для жарки мяса, каминов и костров, а точнее к таким зажигалкам, которые предотвращают неумышленное выполнение операции или нежелательной операции, выполняемой теми, для кого зажигалка не предназначена.
Зажигалки, используемые для зажигания табачных изделий, таких как сигары, сигареты или трубки, производятся на протяжении многих лет. Обычно в таких зажигалках используют элемент, обеспечивающий трение вращения, или пьезоэлектрический элемент для создания искры вблизи от сопла, через которое происходит подача топлива, находящегося в контейнере. В общем, распространение пьезоэлектрических механизмов все возрастает, поскольку они просты в использовании. В патенте США №5262697 на имя Meury раскрыт один такой пьезоэлектрический узел, при этом упомянутый патент приведен здесь в качестве ссылки.
Зажигалки прошли путь развития от небольших зажигалок для сигарет или карманных зажигалок до некоторых форм удлиненных или универсальных зажигалок. Такие универсальные зажигалки в большей степени пригодны для общего использования, например для зажигания свечей, для устройств с решеткой для жарки мяса, каминов и костров. Прежние попытки создания таких конструкций основывались на простом удлинении приводных рукояток так, чтобы они содержали на своем конце типичную карманную зажигалку.
Патенты США №259059 и №4462791 содержат примеры этой концепции.
Многие карманные и универсальные зажигалки имеют определенный механизм сопротивления их нежелательному приведению в действие детьми. Часто эти механизмы представляют собой переключатели для включения и выключения, которые могут отсечь источник подачи топлива или могут предотвратить перемещение исполнительного устройства, находящегося на зажигалке, такого как нажимная кнопка. Переключатели для включения и выключения, которые пользователь принудительно перемещает между положениями “включено” и “выключено”, могут создавать проблемы. Например, взрослый пользователь может забыть переместить переключатель обратно в положение “выключено” после использования, что делает это устройство неэффективным.
Другие карманные и универсальные зажигалки включают в себя смещаемый пружиной блокирующий фиксирующий элемент для остановки движения или предотвращения движения исполнительного устройства или нажимной кнопки. В патентах США №5697775 на имя Saito и №5145358 на имя Shike и др. раскрыты примеры таких зажигалок.
Остается потребность в зажигалках, которые исключают их неумышленное приведение в действие или их нежелательное приведение в действие теми, для кого они не предназначены, но которые позволяют каждому пользователю, для которого предназначена зажигалка, использовать удобный способ работы зажигалкой так, чтобы зажигалки были привлекательны для разных пользователей.
Настоящее изобретение относится к зажигалкам по меньшей мере с двумя режимами работы. При любом режиме работы предпочтительно, чтобы зажигалка действовала без блокирующего механизма (механизмов), который останавливает или предотвращает перемещение исполнительного элемента, когда ствольный узел находится в частично или полностью выдвинутом положении.
Изобретение в одном из вариантов его осуществления относится к зажигалке, которая содержит корпус, имеющий источник подачи топлива, исполнительный элемент для избирательного воспламенения топлива, соединенный с корпусом, фиксирующий элемент, выполненный с возможностью приведения в движение пользователем между первым положением и вторым положением, при этом пользователь прилагает к исполнительному элементу первую силу приведения в действие для воспламенения топлива, когда фиксирующий элемент установлен в первом положении, и прилагает к исполнительному элементу вторую силу приведения в действие для воспламенения топлива, когда фиксирующий элемент установлен во втором положении, причем первая сила приведения в действие больше второй силы.
Зажигалка дополнительно содержит смещающий элемент, оперативно соединенный с фиксирующим элементом, и плунжерный элемент, оперативно соединенный с фиксирующим элементом.
В данной зажигалке заданная сила приведения в действие необходима для перемещения исполнительного элемента в положение приведения зажигалки в действие, при этом первая сила приведения в действие должна быть больше заданной силы приведения в действие.
Вторая сила приведения в действие по существу равна нулю. Исполнительный элемент представляет собой триггер, подсоединенный к корпусу с возможностью перемещения. Исполнительный элемент составляет часть исполнительного узла.
Зажигалка выполнена с возможностью приведения в действие посредством двух разных перемещений.
Зажигалка дополнительно содержит зажигательный узел для воспламенения топлива, при этом зажигательный узел представляет собой пьезоэлектрический узел.
Фиксирующий элемент соединен с корпусом с возможностью поворота. Фиксирующий элемент дополнительно содержит передний и задний концы, при этом передний конец выполнен с возможностью перемещения из начального положения, при котором плунжерный элемент находится в первом положении, в конечное положение, при котором плунжерный элемент находится во втором положении.
Исполнительный элемент зажигалки дополнительно содержит стенку, при этом, когда фиксирующий элемент находится в первом положении, плунжерный элемент находится в контакте со стенкой. Плунжерный элемент отсоединен от стенки, когда фиксирующий элемент находится во втором положении. Плунжерный элемент оперативно соединен с исполнительным элементом, когда фиксирующий элемент находится в первом положении.
Зажигалка дополнительно содержит поршневой элемент, соединенный с корпусом с возможностью скольжения, и смещающий элемент, расположенный между поршневым элементом и опорным элементом корпуса, при этом плунжерный элемент соединен с поршневым элементом с возможностью поворота, причем, когда фиксирующий элемент находится в первом положении, поршневой элемент перемещен для сжатия смещающего элемента для приведения в действие зажигалки.
Следует отметить, что, когда фиксирующий элемент находится во втором положении и зажигалка приведена в действие, перемещение плунжерного элемента и поршневого элемента недостаточно для сжатия смещающего элемента.
Зажигалка дополнительно содержит поршневой элемент, соединенный с корпусом с возможностью поворота, и смещающий элемент, расположенный между поршневым элементом и плунжерным элементом, при этом плунжерный элемент соединен с поршневым элементом с возможностью скольжения.
После большого числа приведений в действие зажигалки первая сила приведения в действие по существу остается постоянной.
Когда фиксирующий элемент установлен в первом положении, для приведения в действие исполнительного элемента необходимо приложить к этому элементу усилие примерно от 6,5 до 8,5 кг, а когда фиксирующий элемент установлен во втором положении, для приведения в действие исполнительного элемента необходимо приложить к этому элементу усилие примерно от 3 до 5 кг.
Для приведения зажигалки в действие, когда фиксирующий элемент находится в первом положении, необходимо применить один палец пользователя, а для приведения ее в действие, когда фиксирующий элемент находится во втором положении, необходимо применить первый и второй пальцы пользователя.
Зажигалка скомпонована и выполнена с возможностью приведения в действие посредством перемещения фиксирующего элемента перед перемещением исполнительного элемента.
Зажигалка скомпонована и выполнена с возможностью приведения в действие на основе физических характеристик пользователя, когда фиксирующий элемент находится в первом положении, и в большей степени на основе способностей распознавания и ловкости пользователя, когда фиксирующий элемент находится во втором положении.
Зажигалка представляет собой универсальную зажигалку.
Другим вариантом выполнения зажигалки является зажигалка, содержащая корпус, имеющий источник подачи топлива, исполнительный элемент для избирательного выделения топлива, зажигательный узел для воспламенения выделяемого топлива, фиксирующий элемент, соединенный с корпусом для перемещения между первым положением и вторым положением, плунжерный элемент, оперативно соединенный с фиксирующим элементом, смещающий элемент, оперативно соединенный с плунжерным элементом, при этом по меньшей мере часть плунжерного элемента выполнена с возможностью переустановки посредством фиксирующего элемента из первого положения, которое вызывает сопротивление смещающего элемента перемещению исполнительного элемента, во второе положение, так что смещающий элемент не оказывает сопротивления перемещению исполнительного элемента в той же степени, что и в первом положении. Плунжерный элемент отделен от фиксирующего элемента.
Другим вариантом выполнения зажигалки является зажигалка, содержащая корпус, имеющий источник подачи топлива, зажигательный узел для воспламенения выделенного топлива, исполнительный элемент, соединенный с корпусом, при этом необходима заданная сила приведения в действие для перемещения исполнительного элемента в положение приведения зажигалки в действие, переустанавливаемый плунжерный элемент, расположенный в корпусе, при этом в первом положении плунжерный элемент соединен с исполнительным элементом так, что требуется первая сила приведения в действие, большая, чем заданная сила приведения в действие, для перемещения исполнительного элемента в положение приведения в действие.
Плунжерный элемент зажигалки выполнен с возможностью перемещения во второе положение, так что пользователь прилагает вторую силу приведения в действие для перемещения исполнительного элемента в положение приведения в действие, причем вторая сила приведения в действие меньше первой силы.
Исполнительный элемент представляет собой по меньшей мере один триггер.
Другим вариантом выполнения зажигалки является зажигалка, содержащая корпус, имеющий источник подачи топлива, исполнительный элемент для избирательного воспламенения топлива, соединенный с корпусом, первый и второй препятствующие элементы, по меньшей мере для повышения трудности перемещения исполнительного элемента для воспламенения топлива, при этом по меньшей мере один из препятствующих элементов обеспечивает возможность перемещения исполнительного элемента и в достаточной степени ограничивает его подвижность для предотвращения воспламенения топлива.
Зажигалка дополнительно содержит подвижный ствольный узел, при этом первый препятствующий элемент повышает трудность перемещения исполнительного элемента на основе положения ствольного узла. Второй препятствующий элемент содержит плунжерный элемент.
Пользователь прилагает к исполнительному элементу первую силу приведения в действие для воспламенения топлива, когда плунжерный элемент находится в первом положении, и прилагает к исполнительному элементу вторую силу приведения в действие для воспламенения топлива, когда плунжерный элемент находится во втором положении, при этом первая сила приведения в действие больше второй силы.
Еще одним вариантом воплощения зажигалки является зажигалка, содержащая корпус, имеющий источник подачи топлива, исполнительный элемент для избирательного воспламенения топлива, соединенный с корпусом, при этом исполнительный элемент выполнен с возможностью перемещения для работы в режиме приведения в действие с большой силой и в режиме приведения в действие – с малой силой.
Согласно еще одному варианту зажигалка содержит корпус, имеющий источник подачи топлива, исполнительный элемент, соединенный с корпусом с возможностью перемещения для избирательного воспламенения топлива, фиксирующий элемент, выполненный с возможностью перемещения между первым положением, в котором для воспламенения топлива к исполнительному элементу должна быть приложена первая сила приведения в действие, и вторым положением, в котором для воспламенения топлива к исполнительному элементу должна быть приложена вторая сила приведения в действие, причем первая сила приведения в действие отличается от второй силы, при этом сила, требуемая для перемещения фиксирующего элемента между первым положением и вторым положением, изменяется в зависимости от последовательности работы исполнительного элемента и фиксирующего элемента.
Требуется первая сила воздействия на фиксирующий элемент для его перемещения из первого положения во второе положение при перемещении фиксирующего элемента перед перемещением исполнительного элемента, требуется вторая сила воздействия на фиксирующий элемент для его перемещения из первого положения во второе положение при перемещении исполнительного элемента на заданную величину перед фактическим выполнением перемещения фиксирующего элемента, при этом вторая сила воздействия на фиксирующий элемент больше первой силы.
В зажигалке при перемещении исполнительного элемента на заданную величину перед фактическим выполнением перемещения фиксирующего элемента по существу будет предотвращено перемещение фиксирующего элемента из первого положения во второе положение.
Первая сила приведения в действие должна быть больше второй силы. При этом первая сила приведения в действие находится между примерно 6,5 кг и примерно 8,5 кг, а вторая сила приведения в действие находится между 3 кг и примерно 5 кг.
Зажигалка дополнительно содержит первую поверхность зацепления, соединенную с фиксирующим элементом, вторую поверхность зацепления, соединенную с исполнительным элементом, при этом при перемещении исполнительного элемента на заданную величину перед фактическим выполнением перемещения фиксирующего элемента первая поверхность зацепления входит в зацепление со второй поверхностью зацепления.
Первая поверхность зацепления входит в зацепление со второй поверхностью зацепления при перемещении фиксирующего элемента на заданное расстояние после перемещения исполнительного элемента на заданную величину. При перемещении фиксирующего элемента перед перемещением исполнительного элемента первая поверхность зацепления по существу выходит из зацепления со второй поверхностью зацепления.
Зажигалка дополнительно содержит плунжерный элемент, соединенный с фиксирующим элементом, при этом первая поверхность зацепления образована на плунжерном элементе.
Исполнительный элемент зажигалки представляет собой триггер, а вторая поверхность зацепления образована на триггере.
Другим вариантом выполнения зажигалки является зажигалка, содержащая корпус, имеющий источник подачи топлива, исполнительный элемент, соединенный с корпусом с возможностью перемещения для избирательного воспламенения топлива, фиксирующий элемент, соединенный с корпусом с возможностью перемещения между первым положением, в котором исполнительный элемент находится в режиме большой силы, и вторым положением, в котором исполнительный элемент находится в режиме малой силы, первую поверхность зацепления, соединенную с фиксирующим элементом, вторую поверхность зацепления, соединенную с исполнительным элементом, при этом при перемещении исполнительного элемента на заданное расстояние перед фактическим выполнением перемещения фиксирующего элемента первая поверхность зацепления входит в зацепление со второй поверхностью зацепления для сопротивления перемещению фиксирующего элемента из первого положения во второе положение.
Следует отметить, что когда исполнительный элемент находится в режиме большой силы, для воспламенения топлива к исполнительному элементу должна быть приложена первая сила приведения в действие, меньшая примерно 10 кг, а когда исполнительный элемент находится в режиме малой силы, для воспламенения топлива к исполнительному элементу должна быть приложена вторая сила приведения в действие, меньшая примерно 5 кг.
При перемещении исполнительного элемента на заданное расстояние перед перемещением фиксирующего элемента первая поверхность зацепления входит в зацепление со второй поверхностью зацепления по существу для предотвращения перемещения фиксирующего элемента из первого положения во второе положение.
При перемещении фиксирующего элемента перед перемещением исполнительного элемента первая поверхность зацепления и вторая поверхность зацепления по существу не оказывают сопротивления перемещению фиксирующего элемента из первого положения во второе положение. Первая поверхность зацепления образована на плунжерном элементе, а вторая поверхность зацепления образована на исполнительном элементе.
Зажигалка дополнительно содержит плунжерный элемент, оперативно соединенный с исполнительным элементом, смещающий элемент, оперативно соединенный с плунжерным элементом для избирательного сопротивления перемещению исполнительного элемента, при этом по меньшей мере часть плунжерного элемента выполнена с возможностью перемещения из первого положения, в котором смещающий элемент оказывает сопротивление перемещению исполнительного элемента, во второе положение, в котором смещающий элемент не оказывает сопротивления перемещению исполнительного элемента в той же степени, что и в первом положении.
Другим вариантом выполнения зажигалки является зажигалка, содержащая корпус, имеющий источник подачи топлива, триггер, соединенный с корпусом с возможностью перемещения для избирательного воспламенения топлива, фиксирующий элемент, соединенный с корпусом с возможностью перемещения для избирательного изменения величины силы, требуемой для перемещения триггера из режима большой силы в режим малой силы, при этом требуется первая сила воздействия на фиксирующий элемент для переключения зажигалки из режима большой силы в режим малой силы, когда фиксирующий элемент перемещен перед перемещением триггера, требуется вторая сила воздействия на фиксирующий элемент для переключения зажигалки из режима большой силы в режим малой силы, когда триггер перемещен на заданную величину перед перемещением фиксирующего элемента, причем вторая сила воздействия на фиксирующий элемент больше первой силы. Когда триггер перемещен на заданную величину перед перемещением фиксирующего элемента, перемещение фиксирующего элемента между режимом большой силы и режимом малой силы по существу заблокировано.
Зажигалка содержит плунжерный элемент, оперативно соединенный с триггером, смещаемый элемент, оперативно соединенный с плунжерным элементом для избирательного сопротивления перемещению триггера, при этом, когда зажигалка находится в режиме большой силы, триггер перемещает плунжерный элемент для сжатия смещающего элемента.
Зажигалка дополнительно содержит первую поверхность зацепления, образованную на плунжерном элементе, вторую поверхность зацепления, образованную на триггере, причем вторая поверхность зацепления в обычном состоянии не находится в зацеплении с первой поверхностью зацепления, при этом, когда происходит перемещение триггера на заданную величину перед фактическим выполнением перемещения фиксирующего элемента, первая поверхность зацепления входит в зацепление со второй поверхностью зацепления.
Другим вариантом выполнения зажигалки является универсальная зажигалка, содержащая корпус, имеющий источник подачи топлива, при этом корпус включает в себя рукояточную часть, удлиненный ствол, проходящий от рукояточной части и имеющий выходное отверстие для выпуска топлива на расстоянии от рукояточной части, триггер, соединенный с корпусом с возможностью скольжения для избирательного воспламенения топлива, фиксирующий элемент, выполненный с возможностью перемещения между первым положением, в котором для воспламенения топлива к триггеру должна быть приложена первая сила приведения в действие, и вторым положением, в котором для воспламенения топлива к триггеру должна быть приложена вторая сила приведения в действие, причем первая сила приведения в действие отличается от второй силы, при этом сила, требуемая для перемещения фиксирующего элемента между первым положением и вторым положением, изменяется в зависимости от последовательности работы исполнительного элемента и фиксирующего элемента.
В этой зажигалке требуется первая сила воздействия на фиксирующий элемент для его перемещения из первого положения во второе положение при перемещении фиксирующего элемента перед перемещением триггера, требуется вторая сила воздействия на фиксирующий элемент для его перемещения из первого положения во второе положение при перемещении триггера на заданное расстояние перед фактическим выполнением перемещения фиксирующего элемента, при этом вторая сила воздействия на фиксирующий элемент больше первой силы.
Ствол и рукояточная часть зажигалки имеют определенную длину, при этом длина ствола приблизительно равна длине рукоятки.
Другим вариантом выполнения зажигалки является зажигалка, содержащая корпус, имеющий источник подачи топлива, исполнительный элемент, соединенный с корпусом с возможностью перемещения для избирательного воспламенения топлива, фиксирующий элемент, выполненный с возможностью перемещения для изменения значения силы, требуемой для перемещения исполнительного элемента для воспламенения топлива, при этом перемещение исполнительного элемента на заданную величину перед фактическим выполнением перемещения фиксирующего элемента препятствует изменению значения силы, требуемой для перемещения исполнительного элемента для воспламенения топлива.
В данной зажигалке при фактическом выполнении перемещения фиксирующего элемента перед перемещением исполнительного элемента фиксирующий элемент может быть перемещен для изменения значения силы, требуемой для перемещения исполнительного элемента для воспламенения топлива. Фиксирующий элемент выполнен с возможностью перемещения между первым положением и вторым положением для изменения значения силы, требуемой для перемещения исполнительного элемента для воспламенения топлива, при этом перемещение исполнительного элемента на заданную величину перед фактическим выполнением перемещения фиксирующего элемента препятствует перемещению фиксирующего элемента из первого положения во второе положение.
Для воспламенения топлива к исполнительному элементу должна быть приложена первая сила приведения в действие, когда фиксирующий элемент по существу установлен в первом положении, и для воспламенения топлива к исполнительному элементу должна быть приложена вторая сила приведения в действие, когда фиксирующий элемент по существу установлен во втором положении, при этом первая сила приведения в действие больше второй силы.
Зажигалка дополнительно содержит первую поверхность зацепления, соединенную с фиксирующим элементом, вторую поверхность зацепления, соединенную с исполнительным элементом и в нормальном состоянии не находящуюся в зацеплении с первой поверхностью зацепления, при этом, когда происходит перемещение исполнительного элемента на заданное расстояние перед фактическим выполнением перемещения фиксирующего элемента, первая поверхность зацепления входит в зацепление со второй поверхностью зацепления.
Зажигалка дополнительно содержит плунжерный элемент, соединенный с фиксирующим элементом, при этом первая поверхность зацепления образована на плунжерном элементе, исполнительный элемент представляет собой триггер, вторая поверхность зацепления образована на триггере.
Другим вариантом выполнения зажигалки является зажигалка, содержащая корпус, имеющий источник подачи топлива, исполнительный элемент, соединенный с корпусом с возможностью перемещения для избирательного воспламенения топлива, при этом исполнительный элемент может действовать в режиме большой силы, в котором для воспламенения топлива к исполнительному элементу должна быть приложена первая сила приведения в действие, и в режиме малой силы, в котором для воспламенения топлива к исполнительному элементу должна быть приложена вторая сила приведения в действие, при этом первая сила приведения в действие отличается от второй силы, фиксирующей элемент для переключения исполнительного элемента между режимом большой силы и режимом малой силы, при этом в случае перемещения исполнительного элемента на заданное расстояние перед фактическим выполнением перемещения фиксирующего элемента происходит блокирование переключения фиксирующего элементом исполнительного элемента из режима большой силы в режим малой силы.
В данной зажигалке при фактическом выполнении перемещения фиксирующего элемента перед перемещением исполнительного элемента фиксирующий элемент выполнен с возможностью переключения исполнительного элемента из режима большой силы в режим малой силы.
Фиксирующий элемент зажигалки выполнен с возможностью перемещения между первым положением, в котором исполнительный элемент находится в положении большой силы, и вторым положением, в котором исполнительный элемент находится в положении малой силы, при перемещении исполнительного элемента на заданное расстояние перед фактическим выполнением перемещения фиксирующего элемента по существу предотвращается перемещение фиксирующего элемента из первого положения во второе положение.
При перемещении исполнительного элемента на заданное расстояние перед фактическим выполнением перемещения фиксирующего элемента перемещение фиксирующего элемента не приводит к переключению исполнительного элемента из режима большой силы в режим малой силы.
Зажигалка дополнительно содержит плунжерный элемент, в нормальном состоянии соединенный с фиксирующим элементом, причем при перемещении исполнительного элемента на заданное расстояние перед фактическим выполнением перемещения фиксирующего элемента связь фиксирующего элемента с плунжерным элементом прерывается.
Фиксирующий элемент в нормальном состоянии по меньшей мере частично совмещен с плунжером, а при перемещении исполнительного элемента на заданное расстояние перед фактическим выполнением перемещения фиксирующего элемента фиксирующий элемент выходит из совмещения с плунжерным элементом.
Первая сила приведения в действие зажигалки больше второй силы приведения в действие.
Другим вариантом выполнения зажигалки является зажигалка, содержащая корпус, имеющий источник подачи топлива, исполнительный элемент, выполненный с возможностью перемещения для избирательного воспламенения топлива, при этом исполнительный элемент соединен с корпусом, подвижный ствольный узел, соединенный с корпусом и оперативно соединенный с исполнительным элементом так, что, когда ствольный узел находится в первом положении, исполнительный элемент является неподвижным в той степени, которая достаточна для предотвращения воспламенения топлива.
Когда ствольный узел находится по меньшей мере в одном втором положении, исполнительный элемент имеет достаточную возможность перемещения для воспламенения топлива.
Когда ствольный узел расположен между первым и вторым положениями, исполнительный элемент имеет достаточную возможность перемещения для воспламенения топлива.
Когда ствольный узел расположен между первым и вторым положениями, исполнительный элемент является неподвижным в достаточной степени для предотвращения воспламенения топлива.
Исполнительный элемент зажигалки по существу является неподвижным, когда ствольный узел находится в первом положении.
Ствольный узел соединен с корпусом с возможностью поворота.
Исполнительный элемент выполнен с возможностью скольжения.
Когда ствольный узел находится в первом положении, скольжение исполнительного элемента, по меньшей мере частично, предотвращено.
Зажигалка дополнительно содержит кулачковый следящий элемент, оперативно соединенный с корпусом и включающий в себя первую часть для взаимодействия со ствольным узлом и вторую часть для взаимодействия с исполнительным элементом.
Ствольный узел включает в себя поверхность трения кулачка, при этом первая часть кулачкового следящего элемента взаимодействует с поверхностью трения кулачка.
Поверхность трения кулачка образует первое стопорное гнездо для зацепления с первой частью кулачкового следящего элемента, когда ствольный узел находится в первом положении.
Поверхность трения кулачка дополнительно образует второе стопорное гнездо, отстоящее от первого стопорного гнезда для создания сопротивления перемещению ствольного узла, причем первая часть кулачкового следящего элемента входит в зацепление со вторым стопорным гнездом, когда ствольный узел находится во втором положении.
Первое положение представляет собой закрытое положение, а второе положение представляет собой выдвинутое положение, при этом поверхность трения кулачка, кроме того, образует по меньшей мере одно дополнительное стопорное гнездо, расположенное между первым и вторым стопорными гнездами для зацепления с первой частью кулачкового следящего элемента, когда ствольный узел находится по меньшей мере в одном промежуточном положении между первым и вторым положениями.
Исполнительным элементом зажигалки является триггер.
Исполнительный элемент является частью исполнительного узла.
Другим вариантом выполнения зажигалки является зажигалка, содержащая корпус, имеющий источник подачи топлива, исполнительный элемент, выполненный с возможностью избирательного воспламенения топлива, при этом исполнительный элемент соединен с корпусом, ствольный узел, соединенный с корпусом с возможностью поворота, при этом ствольный узел имеет положение воздействия на ствол большой силы и положение воздействия на ствол малой силы.
Сила поворота, прилагаемая к точке ствольного узла и достаточная для поворота ствольного узла, больше в положении воздействия на ствол большой силы, чем в положении воздействия на ствол малой силы.
Зажигалка дополнительно содержит кулачковый следящий элемент, оперативно соединенный с корпусом и содержащий первую зацепную часть, при этом ствольный узел включает в себя вторую зацепную часть и в положении воздействия на ствол большой силы первая и вторая зацепные части находятся в контакте друг с другом.
В положении воздействия на ствол малой силы первая и вторая зацепные части находятся на расстоянии друг от друга. Первая зацепная часть представляет собой наружный выступ, а вторая зацепная часть представляет собой углубление. Первая зацепная часть представляет собой углубление, а вторая зацепная часть представляет собой наружный выступ.
Ствольный узел выполнен с возможностью поворота между закрытым положением и выдвинутым положением, при этом положения воздействия на ствол большой силы и воздействия на ствол малой силы находятся между закрытым положением и выдвинутым положением.
Ствольный узел выполнен с возможностью скольжения между закрытым положением и выдвинутым положением, при этом положения воздействия на ствол большой силы и воздействия на ствол малой силы находятся между закрытым положением и выдвинутым положением.
В положении воздействия на ствол большой силы ствольный узел находится в выдвинутом положении, а в положении воздействия на ствол малой силы ствольный узел находится в закрытом положении.
В положении воздействия на ствол большой силы ствольный узел находится в закрытом положении, а в положении воздействия на ствол малой силы ствольный узел находится в выдвинутом положении.
Другим вариантом выполнения зажигалки является зажигалка, содержащая корпус, имеющий источник подачи топлива, исполнительный элемент, выполненный с возможностью избирательного воспламенения топлива, при этом исполнительный элемент соединен с корпусом, ствольный узел, подвижный между закрытым положением и выдвинутым положением, при этом ствольный узел расположен и закреплен с возможностью высвобождения по отношению к корпусу по меньшей мере в одном промежуточном положении между закрытым положением и выдвинутым положением.
Ствольный узел с возможностью высвобождения расположен в выдвинутом положении.
Ствольный узел с возможностью высвобождения расположен в закрытом положении.
Зажигалка дополнительно содержит кулачковый следящий элемент, оперативно соединенный с корпусом, при этом кулачковый следящий элемент выполнен с возможностью размещения ствольного узла, предусматривающего возможность высвобождения, по меньшей мере, в одном промежуточном положении.
Исполнительный элемент выполнен с возможностью перемещения для избирательного воспламенения топлива, причем, когда ствольный узел находится в закрытом положении, кулачковый следящий элемент препятствует подвижности исполнительного элемента так, чтобы этого было достаточно для предотвращения воспламенения топлива.
При расположении ствольного узла в выдвинутом положении кулачковый следящий элемент обеспечивает возможность такого перемещения исполнительного элемента, которое будет достаточным для воспламенения топлива.
При размещении ствольного узла по меньшей мере в одном промежуточном положении кулачковый следящий элемент препятствует подвижности исполнительного элемента так, чтобы этого было достаточно для предотвращения воспламенения топлива.
Корпус зажигалки определяет продольную ось, а ствольный узел поворачивается вокруг оси поворота, проходящей в поперечном направлении, которая по существу перпендикулярна продольной оси.
Корпус образует первую сторону и вторую сторону, при этом по меньшей мере часть ствольного узла расположена между первой стороной и второй стороной.
Другим вариантом выполнения зажигалки является зажигалка, содержащая корпус, имеющий источник подачи топлива, исполнительный элемент, выполненный с возможностью перемещения для избирательного воспламенения топлива, при этом исполнительный элемент соединен с корпусом, ствол, соединенный с корпусом и подвижный между первым положением и вторым положением, при этом, когда ствольный узел находится в первом положении, необходимо, чтобы к исполнительному элементу была приложена первая сила приведения в действие, а когда ствольный узел находится во втором положении, необходимо, чтобы к исполнительному элементу была приложена вторая сила приведения в действие, при этом первая сила приведения в действие больше второй силы.
Ствольный узел выполнен с возможностью поворота между первым положением и вторым положением.
Зажигалка дополнительно содержит кулачковый следящий элемент, оперативно соединенный с корпусом и включающий в себя первую часть для взаимодействия со ствольным узлом и вторую часть для взаимодействия с исполнительным элементом.
Другим вариантом выполнения зажигалки является зажигалка, содержащая корпус, имеющий источник подачи топлива, зажигательный узел для воспламенения топлива, ствольный узел, соединенный с корпусом, сопло для выпуска топлива, исполнительный элемент, выполненный с возможностью избирательного приведения в действие зажигательного узла, канал, проходящий через ствольный узел и включающий в себя трубку, образующую проход для перемещения топлива от источника подачи к соплу, навитый по спирали провод, заходящий в канал и электрически соединенный с зажигательным узлом и соплом.
Ствольный узел дополнительно включает в себя металлический ствол, при этом зажигалка дополнительно содержит изолированный провод, обеспечивающий электрическое соединение зажигательного узла с металлическим стволом.
Изолированный провод по меньшей мере частично навит по спирали вокруг трубки.
Другим вариантом выполнения зажигалки является зажигалка, содержащая корпус, имеющий источник подачи топлива, зажигательный узел для воспламенения топлива, ствольный узел, соединенный с корпусом с возможностью поворота и имеющий сопло, исполнительный элемент, работающий с возможностью избирательного выпуска топлива из сопла и приведения в действие зажигательного узла, по меньшей мере один элемент, соединяющий источник подачи с соплом с возможностью прохождения текучей среды, причем по меньшей мере один элемент электрически подсоединен к зажигательному узлу и к соплу, при этом ствольный узел поворачивается вокруг оси поворота, а по меньшей мере один элемент отстоит от оси поворота и проходит, по меньшей мере частично, через ствольный узел.
Ствольный узел образует отверстие, отстоящее от оси поворота, а по меньшей мере, один элемент проходит через отверстие.
Ствольный узел включает в себя ступицу, поворачивающуюся вокруг оси, причем в ступице образовано отверстие, которое отстоит от оси.
Зажигалка дополнительно содержит первый электрод, оперативно удерживаемый корпусом, электропроводный элемент, отстоящий от первого электрода и оперативно удерживаемый корпусом, провод, обеспечивающий электрическое соединение первого электрода с электропроводным элементом, второй электрод, образованный как часть зажигательного узла, электрический проводник, оперативно соединенный с исполнительным элементом таким образом, что перемещение исполнительного элемента приводит к перемещению электрического проводника, при этом электрический проводник электрически соединен с электропроводным элементом.
Электрический проводник выполнен с возможностью скольжения вдоль электропроводного элемента.
Зажигалка дополнительно включает в себя ствольный узел, подсоединенный к корпусу с возможностью перемещения, при этом ствольный узел содержит первый электрод на свободном конце, а первым электродом является сопло.
Предпочтительные отличительные признаки настоящего изобретения раскрыты на прилагаемых чертежах, причем на нескольких видах подобные элементы обозначены одинаковыми позициями, при этом на чертежах показано следующее:
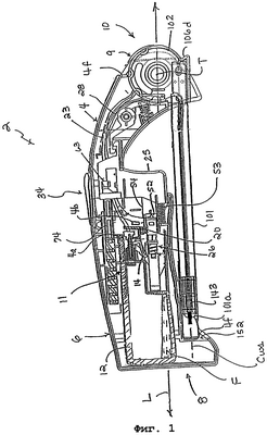
на фиг.1 в разрезе представлен боковой вид универсальной зажигалки согласно одному из вариантов осуществления конструкции, при этом ряд элементов зажигалки удален для ясности и лучшей иллюстрации различных внутренних деталей; зажигалка находится в начальном состоянии, ствольный узел находится в закрытом положении, триггер и фиксирующий элемент находятся в начальном состоянии, а плунжерный элемент находится в положении большой силы приведения в действие;
на фиг.1А представлен увеличенный, разнесенный вид в перспективе некоторых элементов узла для подачи топлива, предназначенного для использования в зажигалке согласно фиг.1;
на фиг.1В представлен увеличенный боковой вид в разрезе задней части универсальной зажигалки согласно фиг.1;
на фиг.2 представлен частичный боковой вид зажигалки согласно фиг.1, причем для ясности и лучшей иллюстрации различных внутренних деталей, таких как фиксирующий элемент, плунжерный элемент и смещающий элемент, ряд элементов удален, при этом триггер и фиксирующий элемент находятся в исходных состояниях, а плунжерный элемент находится в положении большой силы приведения в действие;
на фиг.3 представлен увеличенный, разнесенный вид в перспективе различных элементов зажигалки согласно фиг.1 без корпуса;
на фиг.3А представлен увеличенный, разнесенный вид в перспективе другого варианта осуществления конструкции плунжерного элемента и поршневого элемента для использования с зажигалкой согласно фиг.1;
на фиг.4 представлен увеличенный боковой вид компонентов согласно фиг.3;
на фиг.5 представлен увеличенный, частичный боковой вид зажигалки согласно фиг.1, при этом плунжерный элемент находится в положении большой силы приведения в действие, а триггер находится в начальном положении;
на фиг.6 представлен увеличенный, частичный боковой вид зажигалки согласно фиг.1, при этом плунжерный элемент находится в положении большой силы приведения в действие, а триггер находится в нажатом положении;
на фиг.7 представлен увеличенный, частичный боковой вид зажигалки согласно фиг.1, при этом фиксирующий элемент нажат, плунжерный элемент находится в положении малой силы приведения в действие, а триггер находится в начальном положении;
на фиг.8 представлен увеличенный, частичный боковой вид зажигалки согласно фиг.1, при этом фиксирующий элемент нажат, плунжерный элемент находится в положении малой силы приведения в действие, а триггер находится в нажатом положении;
на фиг.9 представлен разнесенный, частичный вид в перспективе зажигалки согласно фиг.1, по отдельности демонстрирующий корпус и ствольный узел;
на фиг.9А представлен разнесенный, частичный вид в перспективе различных элементов ствольного узла, предназначенного для использования в зажигалке согласно фиг.1;
на фиг.10 представлен увеличенный, частичный боковой вид передней части зажигалки согласно фиг.1, демонстрирующий ствольный узел в закрытом положении;
на фиг.10А представлен увеличенный, частичный боковой вид передней части зажигалки согласно фиг.10, демонстрирующий ствольный узел, частично выдвинутый и повернутый примерно на 20°;
на фиг.11 представлен увеличенный, частичный боковой вид передней части зажигалки согласно фиг.10, демонстрирующий ствольный узел, частично выдвинутый и повернутый примерно на 45°;
на фиг.12 представлен увеличенный, частичный боковой вид передней части зажигалки согласно фиг.10, демонстрирующий ствольный узел, частично выдвинутый и повернутый примерно на 90°;
на фиг.13 представлен увеличенный, частичный боковой вид передней части зажигалки согласно фиг.10, демонстрирующий ствольный узел, полностью выдвинутый и повернутый примерно на 160°;
на фиг.14 представлен увеличенный, частичный боковой вид передней части зажигалки согласно фиг.10, демонстрирующий ствольный узел, частично выдвинутый и повернутый примерно на 135°;
на фиг.15 представлен увеличенный вид в перспективе кулачкового следящего элемента зажигалки согласно фиг.1;
на фиг.16 представлен частичный боковой вид в разрезе второго варианта осуществления конструкции зажигалки согласно настоящему изобретению, при этом триггер и фиксирующий элемент находятся в их начальных состояниях, а плунжерный элемент находится в положении большой силы приведения в действие;
на фиг.16А представлен схематический вид сверху части поршневого элемента, плунжерного элемента и пружины с большой силой действия в зажигалке, показанной на фиг.16;
на фиг.17 в разрезе представлен частичный вид в перспективе зажигалки согласно фиг.16, при этом в зажигалке фиксирующий элемент нажат, а плунжерный элемент находится в положении малой силы приведения в действие;
на фиг.18 в разрезе представлен частичный вид в перспективе третьего варианта осуществления конструкции зажигалки согласно настоящему изобретению, при этом зажигалка находится в начальном состоянии, а плунжерный элемент находится в положении большой силы приведения в действие;
на фиг.18А представлен схематический вид сверху части поршневого элемента и плунжерного элемента зажигалки, показанной на фиг.18;
на фиг.19 в разрезе представлен частичный вид в перспективе зажигалки согласно фиг.18, при этом в зажигалке фиксирующий элемент нажат, а плунжерный элемент находится в положении малой силы приведения в действие;
на фиг.20 в разрезе представлен частичный боковой вид четвертого варианта осуществления конструкции зажигалки согласно настоящему изобретению, при этом триггер и фиксирующий элемент находятся в начальных состояниях, а плунжерный элемент находится в положении большой силы приведения в действие;
на фиг.21 в разрезе представлен частичный боковой вид зажигалки согласно фиг.20, при этом в зажигалке фиксирующий элемент нажат, а плунжерный элемент находится в положении малой силы приведения в действие;
на фиг.22 в разрезе представлен боковой вид пятого варианта осуществления конструкции зажигалки согласно настоящему изобретению, при этом ствольный узел находится в закрытом положении;
на фиг.23 в разрезе представлен частичный боковой вид шестого варианта осуществления конструкции зажигалки согласно настоящему изобретению, при этом ствольный узел находится в закрытом положении;
на фиг.24 в разрезе представлен частичный боковой вид зажигалки согласно настоящему изобретению, показанной на фиг.23, при этом ствольный узел находится в выдвинутом положении;
на фиг.25 в разрезе представлен боковой вид седьмого варианта осуществления конструкции зажигалки согласно настоящему изобретению, при этом ствольный узел находится в закрытом положении;
на фиг.26 в разрезе представлен боковой вид зажигалки согласно настоящему изобретению, показанной на фиг.25, при этом ствольный узел находится в выдвинутом положении;
на фиг.27 в разрезе представлен частичный боковой вид восьмого варианта осуществления конструкции зажигалки согласно настоящему изобретению, при этом корпус включает в себя электропроводную полосу;
на фиг.28 представлен вид в перспективе триггера, электрического контакта и электропроводной полосы согласно фиг.27;
на фиг.29 представлен увеличенный, частичный боковой вид девятого варианта осуществления конструкции согласно настоящему изобретению, при этом плунжерный элемент находится в положении большой силы приведения в действие, а триггер находится в начальном положении;
на фиг.29А представлен увеличенный, частичный боковой вид зажигалки согласно фиг.29, в которой плунжерный элемент находится в положении большой силы приведения в действие, а триггер находится в нажатом положении;
на фиг.30 представлен увеличенный, частичный боковой вид десятого варианта осуществления конструкции настоящего изобретения, при этом плунжерный элемент находится в положении большой силы приведения в действие, а триггер находится в начальном положении;
на фиг.30А представлен увеличенный, частичный боковой вид зажигалки согласно фиг.30, при этом плунжерный элемент находится в положении большой силы приведения в действие, а триггер находится в нажатом положении;
на фиг.31 представлен увеличенный, частичный боковой вид одиннадцатого варианта осуществления конструкции настоящего изобретения, при этом триггер находится в начальном положении;
на фиг.31А представлен увеличенный, частичный боковой вид зажигалки согласно фиг.31, при этом триггер находится в нажатом положении.
На фиг.1 изображен вариант осуществления конструкции универсальной зажигалки, выполненный согласно настоящему изобретению, причем квалифицированным специалистам в этой отрасли будет понятно, что в отношении различных элементов могут быть выполнены многочисленные модификации и замены. Хотя изобретение будет описано со ссылкой на универсальную зажигалку, квалифицированные специалисты в этой отрасли легко смогут применить используемые принципы на обычные карманные зажигалки и что-либо подобное.
Зажигалка 2, в общем, включает в себя корпус 4, который может быть образован по существу из формуемых жестких полимеров или пластиков, например из тройного сополимера акрилонитрила, бутадиена и стирола или из чего-то подобного. Корпус 4 также может быть образован из двух частей, которые соединены друг с другом способом, известным квалифицированным специалистам в этой отрасли, например посредством ультразвуковой сварки.
Корпус 4 включает в себя различные опорные элементы, например опорный элемент 4а, который будет описан ниже. Другие опорные элементы выполнены в зажигалке 2 для различных целей, например для удерживания элементов или для направления элементов по пути их перемещения. Корпус 4 дополнительно включает в себя рукоятку 6, которая образует первый конец 8 и второй конец 9 корпуса. Ствольный узел 10, который будет подробно описан ниже, с возможностью поворота соединен со вторым концом 9 корпуса.
На фиг.1, 1А и 1В показано, что рукоятка 6 предпочтительно содержит блок 11 с источником подачи топлива, который включает в себя контейнер 12 для подачи топлива или основной корпус, устройство 14 для приведения в действие клапана, узел 15, состоящий из патрубка и клапана, пружину 16, направляющую 18 и держатель 20. Контейнер 12 удерживает другие элементы блока 11 с источником подачи топлива и образует отделение 12а для топлива и камеру 12b, при этом он дополнительно включает в себя пару отстоящих друг от друга опорных элементов 12с, проходящих вверх от его верхнего края. Опорные элементы 12с образуют отверстия 12d. Отделение 12а содержит топливо F, которое может представлять собой углеводородный газ в сжатом состоянии, например бутан или смесь пропана и бутана, либо что-то подобное.
На фиг.1А и 1В показано, что устройство 14 для приведения клапана в действие с возможностью поворота удерживается на отделении 12а ниже опорного элемента 12с. Устройство 14 подсоединено к узлу 15, который содержит патрубок или хвостовик 15а клапана и электрод 15b. Электрод 15b может быть использован в качестве варианта конструкции. Узел 15 из патрубка и клапана представляет собой нормально открытую конструкцию клапана, которая закрывается под давлением пружинного элемента 16 на устройстве 14 для приведения клапана в действие. Как вариант, также может быть использован узел из патрубка и клапана с нормально закрытой клапанной конструкцией.
Приемлемый блок 11 с источником подачи топлива раскрыт в патенте США №5934895, который приведен здесь в качестве ссылки. Альтернативное устройство блока 11 с источником подачи топлива, которое может быть использовано, раскрыто в патентах США №5520197 или №5435719, которые приведены здесь в качестве ссылки. Блоки с источником подачи топлива, раскрытые в вышеупомянутых патентах, могут быть использованы со всеми из раскрытых элементов либо при удалении различных элементов, таких как ветрозащита, пружины фиксирующий элементов, фиксирующий элементы и тому подобных, если квалифицированные специалисты в данной отрасли сочтут это желательным. Могут быть использованы альтернативные элементы блока с источником подачи топлива.
На фиг.1А представлена направляющая 18 со стенками для образования прорези 18а и выступов 18b. Когда зажигалка собрана, направляющая 18 будет расположена между опорными элементами 12с, при этом опорные элементы 12с изогнуты в наружном направлении для их приспосабливания к направляющей 18. Как только выступы 18b будут совмещены с отверстиями 12d, опорные элементы 12с могут быть возвращены в их вертикальное, начальное положение. Взаимодействие между выступами 18b и отверстиями 12d обеспечивает удерживание направляющей 18 внутри основного корпуса 12.
На фиг.1А и 1В показано, что держатель 20 включает в себя переднюю часть 20а с образованным в ней отверстием 20b и L-образную заднюю часть 20с. Соединитель 22 для топлива расположен на верхней части патрубка 15а, при этом в него заходит трубка 23 для прохождения топлива. Однако наличие соединителя 22 необязательно, и если его не используют, то трубка 23 может быть расположена непосредственно на патрубке 15а.
Держатель 20 обеспечивает соответствующее расположение трубки 23, предназначенной для прохождения топлива, по отношению к узлу 15 из патрубка и клапана за счет захождения трубки 23 через отверстие 20b, так что трубка 23 будет находиться внутри соединителя 22. Детали трубки 23 будут описаны ниже. Задняя часть 20с держателя 20 расположена внутри прорези 18а направляющей 18. Держатель 20 и направляющая 18 могут иметь такую конфигурацию, чтобы эти элементы могли быть соединены друг с другом посредством защелкивания, с тем, чтобы трубка 23 была соответствующим образом расположена по отношению к узлу 15 из патрубка и клапана. Направляющая 18 и держатель 20 могут быть использованы в качестве варианта конструкции, при этом корпус 4 или другие элементы зажигалки могут быть использованы для удерживания и расположения соединителя 22 и трубки 23. Кроме того, направляющей и держателю 20 может быть придана такая конфигурация, чтобы их функция заключалась в расположении соединителя 22 и трубки 23 у патрубка 15а.
Контейнер 12, направляющая 18, держатель 20 и соединитель 22 могут быть изготовлены из пластика. Однако устройство 14 для приведения клапана в действие, хвостовик 15а клапана и электрод 15b предпочтительно изготовлены из электропроводных материалов. Блок 11 с источником подачи топлива может представлять собой предварительно собранный блок, который может содержать контейнер 12 для подачи топлива, узел 15 из патрубка и клапана, а также смещаемое устройство 14 для приведения клапана в действие. Когда блок 11 с источником подачи топлива расположен внутри зажигалки, опорный элемент 4а корпуса способствует размещению и удерживанию блока 11 в определенном положении, как показано на фиг.1. Опорный элемент 4b корпуса способствует размещению держателя 20 в определенном положении.
Если вновь обратиться к фиг.1, то на ней показано, что зажигалка 2 также включает в себя исполнительный элемент 25, который облегчает перемещение устройства 14 для приведения клапана в действие для избирательного выпускания топлива F. В этом варианте осуществления конструкции исполнительный элемент также избирательно приводит в действие зажигательный узел для воспламенения топлива, например пьезоэлектрический узел 26. Как вариант, исполнительный элемент может обеспечивать либо выделение топлива, либо функцию зажигания, при этом другую функцию может выполнять иной механизм или узел. В представленном варианте осуществления конструкции исполнительный элемент 25 содержит триггер. В альтернативном варианте, который описан ниже, исполнительный элемент может представлять собой часть исполнительного узла.
На фиг.1В показано, что электрическим зажигательным узлом является зажигательный узел 26, представляющий собой предпочтительно пьезоэлектрический узел, хотя для всех аспектов рассматриваемого изобретения это необязательно. Зажигательный узел, как вариант, может включать в себя другие электронные зажигательные элементы, например такие, которые показаны в патентах США №3758820 и №5496169, искровое колесико и кремниевый узел, либо иные механизмы, хорошо известные в этой отрасли и предназначенные для создания искры или воспламенения топлива. Как вариант, зажигательный узел может включать в себя батарею, имеющую, например, спираль, подсоединенную посредством ее выводов. Пьезоэлектрический узел может представлять собой механизм такого типа, который раскрыт в патенте США №5262697. Пьезоэлектрический узел 26 схематически представлен на фиг.1В и частично описан в патенте США №5262697.
Пьезоэлектрический узел 26 включает в себя верхнюю часть 26а и нижнюю часть 26b, которые скользят по отношению друг к другу вдоль общей оси. Между верхней и нижней частями 26а, 26b пьезоэлектрического узла расположена спиральная или возвратная пружина 30. Возвратная пружина 30 служит для создания сопротивления сжатию пьезоэлектрического узла, и когда она расположена в исполнительном элементе 25, то оказывает сопротивление нажатию на исполнительный элемент 25. Нижняя часть 26b пьезоэлектрического узла заходит во взаимодействующую с ней камеру 12b в блоке 11 с источником подачи топлива.
Пьезоэлектрический узел 26 дополнительно включает в себя электрический контакт или кулачковый элемент 32, жестко подсоединенный к верхней части 26а. В начальном положении части 26а,b отделены друг от друга зазором X. Кулачковый элемент 32 образован из электропроводного материала. Верхняя часть 26а соединена с исполнительным элементом 25. Проводник искры или провод 28 частично изолирован и может быть электрически подсоединен к электрическому контакту 29 пьезоэлектрического узла любым известным способом.
Как показано на фиг.1, фиксирующий элемент 34 расположен на верхней стороне рукоятки 6, а исполнительный элемент 25 противоположен фиксирующему элементу 34 вблизи от нижней стороны рукоятки 6. На фиг.2-4 показано, что фиксирующий элемент 34, в общем, включает в себя не поддерживаемый подвижный передний конец 36, который содержит проходящий в нижнем направлении выступ 36а, а задний конец 38 с возможностью поворота прикреплен к шарниру 40 корпуса 4. Квалифицированные специалисты в этой области легко поймут, что фиксирующий элемент 34 также может быть подсоединен к корпусу другим способом, например консольно, с возможностью скольжения или вращения. Когда фиксирующий элемент 34 может совершать скольжение, совместно с ним может быть использован кулачок.
На фиг.3 и 4 показано, что листовая пружина 42 включает в себя передний конец 42а и задний конец 42b. Листовая пружина 42 изогнута, что наилучшим образом показано на фиг.4, при этом передний конец 42а отстоит вверх от заднего конца 42b. Форма листовой пружины может быть изменена так, чтобы она была плоской, в зависимости от расположения элементов в зажигалке и соображений, касающихся необходимого пространства. Как вариант, листовая пружина может быть расположена впереди от фиксирующего элемента 34. Кроме того, листовая пружина может быть заменена спиральной пружиной, консольной пружиной или любым другим смещающим элементом, пригодным для смещения фиксирующего элемента 34.
На фиг.5 показано, что задний конец 42b листовой пружины 42 расположен внутри корпуса 4 между опорными элементами 4с так, что конец 42b подсоединен к корпусу 4 и пружина 42 действует по существу подобно консольному элементу. Благодаря конфигурации, размерам и материалу пружины 42 передний конец 42а свободно перемещается и смещается вверх, чтобы возвратить передний конец 36 фиксирующего элемента в его начальное положение, как показано на фиг.5. При этом неподдерживаемый передний конец 36 фиксирующего элемента 34 может быть перемещен вниз совместно с передним концом 42а пружины 42.
Предпочтительно, чтобы фиксирующий элемент 34 был образован из пластика, а листовую пружину 42 предпочтительно изготавливают из металла, обладающего упругими свойствами, такого как пружинная сталь, нержавеющая сталь либо из иных типов материалов. Следует заметить, что хотя листовая пружина 42 показана прикрепленной к корпусу 4, как вариант, она может быть подсоединена к другим элементам зажигалки.
Далее со ссылкой на фиг.1 будут описаны другие детали исполнительного элемента или триггера 25. Предпочтительно, чтобы триггер был подсоединен к корпусу 4 с возможностью скольжения. Триггеру 25 и корпусу 4 могут быть приданы такие размеры и такая конфигурация, чтобы перемещение триггера вперед и назад было ограничено. Для квалифицированных специалистов в этой области будет очевидно, что, как вариант, триггер может быть связан или соединен с корпусом другим способом, например шарнирно, с возможностью вращения или консольно. Так, триггер может представлять собой рычажную систему или может быть образован из двух частей, при этом одна часть может быть подсоединена к корпусу с возможностью скольжения, а другая часть может поворачиваться.
Если вновь обратиться к фиг.3, то согласно ей триггер 25 включает в себя нижнюю часть 44 и верхнюю часть 46. На фиг.3-4 показано, что нижняя часть 44 включает в себя переднюю поверхность 48 для приведения в действие пальцем, первую камеру 50 (показанную пунктиром) и вторую камеру 52 (показанную пунктиром). Когда триггер 25 расположен внутри корпуса 4, поверхность 48 для приведения в действие пальцем проходит от корпуса так, что она будет доступна для пальца пользователя (не показан).
В этом варианте осуществления конструкции верхняя и нижняя части триггера 25 образованы в виде единой детали. Как вариант, верхняя и нижняя части могут представлять собой две отдельных детали, соединенных друг с другом, либо триггер может быть частью узла, состоящего из большого количества деталей.
Согласно фиг.4 и 5 первая и вторая камеры 50 и 52 триггера 25 расположены горизонтально. Первая камера 50 находится ниже второй камеры 52, при этом первая камера 50 имеет такую конфигурацию, чтобы в нее заходила возвратная пружина 53 триггера. Пружина 53 расположена между триггером 25 и стопорной частью первой пружины или опорным элементом 4d корпуса 4. На фиг.4 показано, что триггер 25 дополнительно включает в себя удлинение 54, проходящее в заднем направлении от нижней части 44. Вторая камера 52 проходит в удлинение 54. Второй камере 52 придана такая конфигурация, чтобы в нее заходил зажигательный узел 26 (как показано на фиг.1).
На фиг.3 и 4 показано, что верхняя часть 46 триггера 25 включает в себя две L-образных направляющих. В этом варианте осуществления конструкции направляющие выполнены в виде боковых вырезов, представленных как боковые вырезы 56 в боковой стенке 57. Вырез 56 включает в себя первую часть 56а и вторую часть 56b, сообщающуюся с первой частью 56а. Вторая часть 56b включает в себя стенку 56с, по существу параллельную вертикальной оси V. Вертикальная ось V перпендикулярна продольной оси L и поперечной оси Т (показаны на фиг.1). В этом варианте осуществления конструкции направляющие представляют собой вырезы, однако в другом варианте триггер может иметь сплошные боковые стенки, а направляющие могут быть образованы на внутренней поверхности боковых стенок.
На фиг.3 показано, что верхняя часть 46 триггера также включает в себя задний вырез 58 и прорезь 60 в верхней стенке 61 триггера. Верхняя часть 46 дополнительно включает в себя проходящую в переднем направлении зацепную часть 62 с зацепной поверхностью 62а. Функция зацепной части 62 будет подробно описана ниже.
Как показано на фиг.1 и 3, в этом варианте осуществления конструкции верхняя часть 46 триггера 25 и направляющие 56 образуют часть двухрежимного узла. Двухрежимный узел также включает в себя плунжерный элемент 63 и поршневой элемент 74. В этом варианте конструкции нижняя и верхняя части 44 и 46 триггера образованы в виде единой детали. В другом варианте осуществления конструкции нижняя и верхняя части 44 и 46 могут быть образованы в виде отдельных деталей, функционально соединенных друг с другом.
Плунжерный элемент 63, когда он установлен в зажигалку, будет расположен ниже фиксирующего элемента 34. Плунжерный элемент 63 по существу имеет Т-образную форму с проходящей в продольном направлении корпусной частью 64 и проходящими в поперечном направлении головными частями 66. На фиг.4 наилучшим образом показано, что головные части 66 имеют плоскую переднюю поверхность 66а. Поверхность 66а, в общем, параллельна вертикальной оси V, когда внутри триггера 25 установлен плунжерный элемент 63.
Если вновь обратиться к фиг.3, то согласно ей корпусная часть 64 включает в себя два расположенных в поперечном направлении пальца 68 на ее заднем конце, углубление 70 на верхней поверхности и простирающийся по вертикали выступ 72, который проходит от нижней поверхности корпусной части 64. Углубление 70 может быть выполнено в качестве варианта конструкции.
На фиг.3 и 4 показано, что в альтернативном варианте осуществления конструкции стенка 56с триггера 25 и стенка 66а плунжерного элемента 63 могут иметь разную конфигурацию. Так, стенки, как вариант, могут быть расположены под углом по отношению к вертикальной оси V. Например, стенки 66а и 56с могут быть расположены под таким углом, что они по существу будут параллельны линии А1, при этом угловое смещение от вертикальной оси V будет составлять угол . Стенки 66а, 56с, как вариант, могут быть расположены под таким углом, чтобы они по существу были параллельны линии А2, при этом угловое смещение от вертикальной оси V будет составлять угол . Как вариант, стенка 56с может иметь такую конфигурацию, чтобы она включала в себя V-образную прорезь, а стенка 66а может включать в себя V-образный выступ для захождения в прорезь стенки 56с, или наоборот.
На фиг.4 и 5 показано, что поршневой элемент 74 включает в себя заднюю часть 76 и переднюю часть 78. Задняя часть 76 включает в себя вертикальную заднюю стенку 76а для контакта с пружиной или смещающим элементом 80, действующим со значительной силой. Пружина 80 расположена между стенкой 76а и второй стопорной частью пружины или опорным элементом 4е корпуса 4. Если вновь обратиться к фиг.4, то согласно ей задняя часть 76 дополнительно включает в себя горизонтальные вырезы 76b, которые образуют стопорный элемент 76с. Вырезы 76b и стопорный элемент 76с позволяют установить поршневой элемент 74 с возможностью скольжения на рельсы (не показаны) в корпусе для скольжения поршневого элемента 74 в продольном направлении на заданное расстояние, чтобы плунжерный элемент 63 мог функционировать так, как описано ниже.
На фиг.3 и 4 показано, что передняя часть 78 поршневого элемента 74 включает в себя два отстоящих друг от друга плеча 82. Плечи 82 и передняя часть 78 образуют вырез 84, в который заходят пальцы 68 плунжерного элемента 63. Вырезу 84 и пальцам 68 плунжерного элемента 63 приданы такие размеры и такая конфигурация, чтобы обеспечить возможность поворота плунжерного элемента 63 по отношению к поршневому элементу 74, что подробно описано ниже. В этом варианте осуществления конструкции плунжерный элемент 63 соединен с поршневым элементом 74 с возможностью поворота, однако в другом варианте плунжерный элемент 63 может быть жестко подсоединен к поршневому элементу 74, но с возможностью его упругой деформации.
Передняя часть 78 поршневого элемента 74 дополнительно включает в себя простирающуюся в нижнем направлении опорную часть 86, которая содержит горизонтальную платформу 88 с проходящим в верхнем направлении пальцем 90. Согласно фиг.3 и 5, когда поршневой элемент 74 установлен внутри зажигалки, платформа 88 будет расположена через задний вырез 58 триггера 25, а палец 90 может быть совмещен с пальцем 72 плунжерного элемента 63, так что пальцы 72, 90 будут удерживать между собой возвратную пружину 92 плунжера. Плунжерный элемент 63 входит в контакт с нижней поверхностью верхней стенки 61 (как показано на фиг.3) благодаря возвратной пружине 92, которая смещает плунжерный элемент вверх в начальное положение.
Показанные на фиг.3А предпочтительные варианты осуществления плунжерного элемента 63′ и поршневого элемента 74′ предназначены для использования совместно с зажигалкой 2 согласно фиг.1. Плунжерный элемент 63′ подобен плунжерному элементу 63, за исключением того, что корпусная часть 64′ включает в себя одну центральную пальцевую часть 68′ и прорезь 68”. Поршневой элемент 74′ подобен поршневому элементу 74, за исключением того, что передняя часть 78′ поршневого элемента 74′ включает в себя одно плечо 82′ для образования выреза 84′ для удерживания пальца 68′ плунжерного элемента 63′ с возможностью поворота. Когда плунжерный элемент 63′ поворачивается вниз, в прорезь 68″ заходит плечо 82′.
Ниже со ссылкой на фиг.6-8 будет подробно описана работа исполнительного элемента 25. Согласно дополнительному аспекту, касающемуся зажигалки 2, она, как показано на фиг.9, может включать в себя ствольный узел 10, детали которого будут описаны ниже. Узел 10 с обеспечением подвижности может быть подсоединен к корпусу 4 и/или он может быть образован отдельно от корпуса 4. Узел 10 может поворачиваться между первым или закрытым положением, показанным на фиг.1 и 10, и вторым или открытым, или полностью выдвинутым положением, показанным на фиг.13. В закрытом положении ствольный узел 10 плотно загнут в корпус 4 для удобства транспортирования или хранения зажигалки 2. В полностью выдвинутом положении узел 10 проходит наружу и далее от корпуса 4.
Как показано на фиг.9 и 9А, ствольный узел 10 включает в себя ствол 101, жестко подсоединенный к элементу 102, являющемуся основанием. Ствол 101 представляет собой цилиндрическую трубку из металла, в которую заходят канал 23 (как показано на фиг.1) и провод 28. Ствол 101 также включает в себя ушко 101а, выполненное за одно целое с ним и расположенное вблизи от свободного конца ствола. Как вариант, со стволом может быть соединено отдельное ушко.
Если вновь обратиться к фиг.9 и 9А, то согласно им элемент 102, являющийся основанием, может заходить в углубление 104, образованное во втором конце 9 корпуса 4. Углубление 104 образовано между боковыми сторонами корпуса 4 и поэтому обеспечивает размещение ствольного узла 10 между этими сторонами.
Элемент 102 включает в себя две корпусные части 106а и b, при этом он, в общем, выполнен цилиндрическим и образует отверстие 108. Согласно показанному варианту осуществления конструкции корпусные части 106а и b образуют канал 106с, так что когда корпусные части 106а и b соединены, каналы 106с образуют в них камеру 107. Один из способов, который может быть использован для соединения частей элемента, являющегося основанием, представляет собой ультразвуковую сварку. Однако настоящее изобретение не ограничено такой конфигурацией или конструкцией элемента 102.
В корпусной части 106b образовано отверстие 109, причем, как наилучшим образом показано на фиг.10, отверстие 109 представляет собой дугообразную прорезь, которая проходит через корпусную часть 106b и сообщается с образованными в ней каналом 106с и камерой 107 (как показано на фиг.9). Функция дугообразной прорези 109 ниже будет подробно описана.
Если вновь обратиться к фиг.9, то согласно ей корпус 4 включает в себя пару осей 110а и 110b на его внутренней поверхности 112. Ось 110а представляет собой охватываемый элемент, а ось 110b является охватывающим элементом. Этим осям 110а,b могут быть приданы такие размеры и конфигурации, чтобы они при их соединении друг с другом были установлены с защелкиванием. Как вариант, оси 110а,b могут быть соединены посредством ультразвуковой сварки или иными способами соединения, известными квалифицированным специалистам в этой отрасли. Еще в одном варианте оси 110а,b могут отстоять друг от друга. При сборке оси 110а и 110b проходят в отверстие 108 для подсоединения ствольного узла 10 к корпусу 4 с возможностью поворота. Таким образом оси 110 образуют ось Р поворота, вокруг которой поворачивается узел 10. Ось Р поворота предпочтительно имеет поперечное направление (то есть проходит от одной стороны корпуса 4 к другой его стороне, но отходит от него по вертикали) и перпендикулярна продольной оси L, однако в объем настоящего изобретения включены и другие ориентации оси Р поворота. Корпус 4 также может включать в себя проставки 113, образованные на внутренней поверхности 112 корпуса 4 для удерживания элемента 102, являющегося основанием, в углублении 104. Элемент 102 также может включать в себя, как вариант конструкции, пару фрикционных элементов на его противоположных сторонах. Например, пара резиновых 0-образных колец может быть установлена на противоположных сторонах элемента, являющегося основанием, и опираться на проставки 113. Устанавливаемые в вариантах конструкции фрикционные элементы могут быть использованы для создания сопротивления повороту ствольного узла 10 вокруг оси Р.
Если вновь обратиться к фиг.1, то согласно ей корпус 4 зажигалки дополнительно содержит вертикальную стенку 4f, находящуюся у его переднего конца 9. Элемент 102, являющийся основанием, дополнительно включает в себя выступ 106d, в общем проходящий от него в радиальном направлении. Взаимодействие между стенкой 4f и выступом 106d препятствует перемещению ствола 101 в направлении W1 по существу за полностью выдвинутое положение, показанное на фиг.13. Кроме того, когда ствольный узел 10 находится в полностью выдвинутом положении, может иметь место небольшой зазор между вертикальной стенкой 4f и выступом 106d элемента 102, являющегося основанием.
Как показано на фиг.10-14, зажигалка 2 может быть снабжена кулачковым элементом 116, который с возможностью освобождения ствольного узла 10 определяет положения этого узла или удерживает его в разных положениях, от закрытого (показанного на фиг.10) до полностью выдвинутого положения (показанного на фиг.13), и в разных промежуточных положениях (показанных на фиг.11 и 12), находящихся между упомянутыми положениями. Следящий кулачковый элемент 116 также может препятствовать перемещению, а точнее выполняемому пользователем скольжению триггера 25, достаточному для воспламенения зажигалки 2, когда ствольный узел 10 находится в закрытом положении согласно фиг.10, и продолжает препятствовать этому достаточному перемещению триггера 25 до тех пор, пока ствольный узел 10 не будет повернут в заданное положение, например в положение примерно под 40° к закрытому положению, которое упомянуто ранее.
Такое препятствование подвижности триггера 25 может предотвратить воспламенение зажигалки путем предотвращения выделения топлива или образования пламени. Образование пламени может быть предотвращено, например, путем предотвращения создания искры.
Как показано на фиг.15, кулачковый следящий элемент 116 может быть установлен с возможностью вращения на выступе 117 (что наилучшим образом показано на фиг.9), образованном на корпусе 4. Кулачковый следящий элемент 116 включает в себя ступицу 118, а также первую и вторую зацепные части 119, 120, приблизительно простирающиеся от противоположных сторон ступицы 118. Ступица 118 включает в себя отверстие 118а для захождения выступа 117. Первая часть 119 включает в себя конец 122 следящего элемента для взаимодействия с поверхностью 124 трения кулачка, образованной на элементе 102, являющемся основанием (см. фиг.9). Вторая часть 120 включает в себя вторую зацепную поверхность 126а для контакта с первой зацепной поверхностью 62а (как показано на фиг.10), которая может быть образована на триггере 25. Хотя первая и вторая поверхности 62а, 126а показаны как части крюков 62, 126, в объем настоящего изобретения включены и другие формы зацепных поверхностей, известные квалифицированным специалистам в этой области. Как вариант, крюк 126 может входить в зацепление с другими элементами зажигалки, такими как соединительный элемент для предотвращения образования пламени.
Если вновь обратиться к фиг.10, то согласно ей кулачковый следящий элемент 116 смещен в направлении против часовой стрелки смещающим элементом 128, представленным в виде работающей на сжатие пружины, так что конец 122 следящего элемента входит в соприкосновение с поверхностью 124 трения и отслеживает ее. На корпусе 4 образовано посадочное место 130, а на первой части 119 образована бобышка 132 (показанная на фиг.15) для расположения смещающего элемента 128 в надлежащем месте. В альтернативном варианте осуществления конструкции посадочное место 130 и бобышка 132 могут быть образованы на противоположных элементах. Кроме того, хотя смещающий элемент 128 представлен в виде спиральной пружины, он, как вариант, может представлять собой пружину, работающую на кручение, или листовую пружину либо может представлять собой другой тип смещающего элемента, известный квалифицированным специалистам в этой отрасли в качестве приемлемого элемента. Конец 122 следящего элемента, как вариант, может быть смещен к поверхности 124 трения кулачка посредством использования кулачкового следящего элемента 116 с упругими свойствами. Например, кулачковый следящий элемент 116 может представлять собой упругий элемент, который сжат в корпусе 4 таким образом, что конец 122 будет упруго смещен к поверхности 124 трения кулачка.
Поверхность 124 трения кулачка представляет собой волнистую поверхность и включает в себя группу первых зацепных частей 134a-d, показанных в виде стопорных гнезд 134a-d. Первые зацепные части 134a-d могут входить в зацепление с концом 122 следящего элемента зацепной части 119. Стопорные гнезда 134a-d показаны в виде углублений, образованных в элементе 102, являющемся основанием, в которые может заходить наружный выступ на конце 122 следящего элемента, так что конец 122 следящего элемента будет смещен радиально внутрь, вызывая поворот следящего элемента 116 по часовой стрелке вокруг выступа 117. В показанном варианте осуществления конструкции первое стопорное гнездо 134а представляет собой наклонный вырез, больший, чем остальные стопорные гнезда 134b-d, которые представляют собой вогнутые вырезы. Стопорное гнездо 134а включает в себя наклонную часть 135 поверхности для обеспечения угла низкого давления, когда конец 122 следящего элемента проходит вдоль поверхности 124 трения кулачка внутри первого стопорного гнезда 134а. В результате такого угла низкого давления смещающий элемент 128 постепенно сжимается, когда элемент 102, являющийся основанием, поворачивается по часовой стрелке и конец 122 кулачкового элемента перемещается из первого стопорного гнезда 134а ко второму стопорному гнезду 134b, тем самым создавая у пользователей ощущение плавности и последовательности, когда ствольный узел 10 поворачивают из закрытого положения. Такой угол низкого давления также уменьшает износ и напряжения, возникающие на кулачковом следящем элементе 116 и на элементе 102, являющемся основанием.
Настоящее изобретение не ограничено показанными формой и компоновкой стопорных гнезд 134a-d, поэтому, как вариант, стопорные части 134a-d могут представлять собой выпуклости, гребни или выступы, образованные на элементе 102, которые входят в зацепление с концом 122 следящего элемента и смещают его в радиальном направлении, вызывая поворот кулачкового следящего элемента против часовой стрелки. Настоящее изобретение также не ограничено количеством и местом расположения показанных стопорных гнезд. Кроме того, настоящее изобретение не ограничено формой и компоновкой кулачкового следящего элемента 116 и концов 122 и 126. Компоновки кулачкового следящего элемента 116, концов 122, 126 и стопорных гнезд 134a-d могут изменяться, например, чтобы изменять силу, необходимую для перемещения ствольного узла 10. Компоновки кулачкового следящего элемента 116, концов 122, 126 и стопорных гнезд 134a-d также могут изменяться, чтобы, например, изменять силу, необходимую для удерживания ствольного узла в закрытом или в выдвинутом положении, включая промежуточные положения.
Если опять обратиться к фиг.10, то на ней зажигалка 2 показана со ствольным узлом 10, находящимся в закрытом положении. В этом положении конец 122 следящего элемента смещен в первое стопорное гнездо 134а и расположен на первом радиальном расстоянии R1 от оси Р поворота. Поскольку первое стопорное гнездо 134а включает в себя наклонную часть 135 поверхности, узел 10 должен быть повернут на заданное расстояние, предпочтительно составляющее примерно 40°, перед тем как крюк 126 выйдет из зацепления с крюком 62. Когда узел 10 находится в закрытом положении или повернут на расстояние, меньшее заданного расстояния, крюк 126 будет совмещен с крюком 62 триггера 25, так что стенки 62а и 126а крюков будут входить в зацепление при нажатии на триггер 25. Крюки 62, 126 могут отстоять друг от друга или они могут быть расположены иным образом, так чтобы триггер 25 мог быть нажат частично, но это нажатие не было бы достаточным для воспламенения зажигалки 2, или, как вариант, чтобы триггер 25 вообще не мог быть нажат.
Когда крюки 62, 126 входят в зацепление друг с другом, стенки 62а и 126а крюков входят в соприкосновение. Стенки 62а, 126а крюков показаны ориентированными по существу параллельно вертикальной оси V, которая перпендикулярна продольной оси L и оси Р поворота. Такая компоновка крюков 62, 126 позволяет увеличить силу, необходимую для нажатия на триггер 25, достаточного для воспламенения зажигалки.
Как вариант, стенки 62а, 126а крюков могут быть расположены под углом. Например, стенки 62а, 126а крюков могут быть расположены под углом таким образом, чтобы они были по существу параллельны линии В1, которая смещена от вертикальной оси V на угол , так что крюки 62, 126 будут соединены друг с другом. Такая компоновка крюков увеличит силу, необходимую для нажатия на триггер 25, достаточного для воспламенения зажигалки. Сила, необходимая в случае компоновки, предусматривающей взаимное соединение, может быть больше силы, необходимой в случае вертикальной компоновки стенок.
Как вариант, стенки 62а, 126а могут быть расположены под углом так, чтобы они по существу были параллельны линии В2, при этом смещение от вертикальной оси V будет составлять угол . При приложении заданной силы такие крюки могут быть отклонены и разъединены. Такая компоновка крюков увеличит силу, необходимую для нажатия на триггер 25, достаточного для воспламенения зажигалки, но в меньшей степени, чем тогда, когда стенки 62а и 126а вертикальны или проходят под углом .
Согласно варианту осуществления конструкции крюков 62 и 126, показанному на фиг.10, триггер 25 может быть нажат в достаточной степени для воспламенения зажигалки 2, когда ствольный узел 10 находится в закрытом положении, однако потребуется сила, бóльшая по величине, чтобы сделать это, когда узел 10 повернут в выдвинутое положение или в одно из промежуточных положений, вследствие взаимодействия между крюками 62 и 126. Величина дополнительной силы, требуемой для нажатия на триггер 25, достаточного для воспламенения зажигалки 2, когда узел 10 находится в закрытом положении, может изменяться, например, посредством изменения угла стенок 62а, 126а крюков и/или посредством изменения материалов, используемых для формирования крюков 62, 126.
Ствольный узел 10 создает сопротивление непреднамеренному повороту, когда он находится в закрытом положении, поскольку поворот узла 10 в выдвинутое положение или в первом направлении W1 приводит к прохождению конца 122 следящего элемента вдоль наклонной поверхности 135 и к сжатию смещающего элемента 128. Таким образом, для поворота ствольного узла 10, когда этот узел 10 находится в закрытом положении, пользователь должен приложить достаточную силу к узлу 10, чтобы обеспечить прохождение конца 122 следящего элемента по наклонной поверхности 135 и сжатие смещающего элемента 128.
Квалифицированным специалистам в этой области будет понятно, что величина требуемой силы также может быть изменена посредством выбора смещающего элемента 128, пружины с определенным индексом и/или посредством изменения геометрии поверхности 124 трения кулачка. В результате этого отличительного признака ствольный узел 10 будет удерживаться в закрытом положении с возможностью его освобождения из этого положения. Согласно фиг.1 зажигалка 2 может дополнительно содержать выполняемые в качестве варианта конструкции выступы (не показаны) внутри углубления 4f корпуса 4 для удержания ствола 101 в закрытом положении с возможностью освобождения из него.
На фиг.10А, 11 и 12 зажигалка 2 показана со ствольным узлом 10, находящимся в частично выдвинутых или промежуточных положениях. В начальном положении, которое показано на фиг.10, ствольный узел имеет центральную ось Cw1. В первом промежуточном положении, которое показано на фиг.10А, узел 10 повернут на угол , примерно составляющий 20°. Угол поворота образован между начальной центральной осью Cw1 ствола 101 и центральной осью Cw20 представленного положения с концом 122 следящего элемента (показанным пунктиром) в первом стопорном гнезде 134а.
Во втором промежуточном положении, которое показано на фиг.11, ствольный узел 10 повернут на угол , примерно составляющий 45°. Угол поворота образован между начальной центральной осью Cw1 ствола 101 и центральной осью Cw45 представленного положения с концом 122 следящего элемента во втором стопорном гнезде 134b.
В третьем промежуточном положении, которое показано на фиг.12, ствольный узел 10 повернут на угол , примерно составляющий 90°. Угол поворота образован между начальной центральной осью Cw1 ствола 101 и центральной осью Сw160 представленного положения с концом 122 следящего элемента в третьем стопорном гнезде 134с.
В четвертом промежуточном положении, показанном на фиг.14, ствольный узел 10 повернут на угол , примерно составляющий 135°. Угол поворота образован между начальной центральной осью Cwi ствола 101 и центральной осью Cw135 представленного положения с концом 122 следящего элемента между третьим стопорным гнездом 134с и четвертым стопорным гнездом 134d.
В полностью выдвинутом положении, которое показано на фиг.13, ствольный узел 10 повернут на угол , примерно составляющий 160°. Угол поворота образован между начальной центральной осью Cw1 ствола 101 и центральной осью Cw160 представленного положения с концом 122 следящего элемента в четвертом стопорном гнезде 134d.
На фиг.10А кулачковый следящий элемент 116 изображен сплошными линиями в его начальном положении и пунктирными линиями в положении смещения в радиальном направлении. При повороте ствола 101 из начального положения на угол порядка 20° конец 122 кулачкового элемента (показанный пунктирными линиями) будет находиться в контакте с наклонной поверхностью 135 внутри стопорного гнезда 134а и кулачковый следящий элемент 116 будет незначительно повернут вокруг выступа 117, однако крюк 126 (показанный пунктиром) и крюк 62 будут совмещены в достаточной степени, чтобы войти в зацепление друг с другом при нажатии на триггер 25. Таким образом, в этом положении триггер 25 не может 43 быть перемещен в достаточной степени для обеспечения воспламенения зажигалки 2, без приложения силы, большей той силы, которая достаточна для воспламенения зажигалки в остальных промежуточных положениях (показанных на фиг.11-12 и 14) и в закрытом положении (показанном на фиг.13).
Согласно фиг.11-13 в этих положениях конец 122 следящего элемента расположен соответственно во втором, третьем и четвертом стопорных гнездах 134b, 134с, 134d, все из которых находятся на втором радиальном расстоянии R2 от оси Р поворота. Второе радиальное расстояние Rs больше первого радиального расстояния Ri (показанного на фиг.10), в результате чего, когда ствольный узел 10 повернут из закрытого положения, упомянутого выше, в промежуточное положение или в полностью выдвинутое положение, конец 122 следящего элемента будет смещен к первому концу 8 (показанному на фиг.1) корпуса 4, вызывая поворот кулачкового следящего элемента 116 против часовой стрелки вокруг выступа 117 и поворот крюка 126 из положения совмещения с крюком 62. Таким образом, в этих трех положениях стенки 62а и 126а крюков не будут входить в зацепление друг с другом при полном нажатии на триггер 25. На фиг.11 кулачковый следящий элемент 116 показан пунктирными линиями в начальном положении и сплошными линиями в положении смещения в радиальном направлении. На фиг.12-14 кулачковый следящий элемент 116 показан в других положениях смещения в радиальном направлении.
Ствольный узел 10 создает переменное сопротивление повороту. Когда узел 10 находится в том или ином из положений приложения к стволу большой силы, например, в закрытом положении (показанном на фиг.10), выдвинутом положении (показанном на фиг.13) и в некоторых из промежуточных положений (показанных на фиг.11-12) между закрытым и выдвинутым положениями, конец 122 следящего элемента войдет в контакт с одним из стопорных гнезд 134a-d. При любом из этих положений приложения к стволу большой силы поворот ствольного узла 10 приведет к сжатию первой части 119 смещающего элемента 128, когда конец 122 следящего элемента проходит вдоль поверхности 124 трения кулачка и смещается радиально наружу посредством соответственно второго, третьего или четвертого стопорных гнезд 134b, 134с, 134d. Усилие, необходимое для перемещения ствола из закрытого положения, меньше того усилия, которое необходимо для перемещения ствола из положений, показанных на фиг.11-13, поскольку стопорное гнездо 134а имеет наклонную часть 135 поверхности. Поэтому, как упомянуто выше, пользователь должен прилагать к узлу 10 усилие, достаточное для сжатия смещающего элемента 128 и перемещения следящего элемента 122 из стопорного гнезда для поворота узла 10. Таким образом, зажигалка 2 может быть избирательно и с возможностью освобождения расположена или удержана и стабилизирована в любом из промежуточных положений или в выдвинутом положении, которое наиболее приемлемо. Например, промежуточные положения могут быть приемлемы для зажигания свечей, находящихся в сосуде, а полностью выдвинутое положение может оказаться приемлемым для зажигания устройства с решеткой для жарки мяса. Квалифицированным специалистам в этой области должно быть понятно, что поверхность 124 трения кулачка может быть обеспечена любым количеством стопорных гнезд 134a-d, отстоящих друг от друга через различные интервалы, для создания стопорного узла 10 с любым количеством сочетаний разных положений закрытого, промежуточных и полностью выдвинутого положений. Квалифицированным специалистам в этой отрасли должно быть понятно, что любое количество положений воздействия на ствол большой силы и малой силы может быть расположено между закрытым и полностью выдвинутым положениями. Кроме того, закрытое положение может представлять собой положение приложения к стволу большой силы или положение приложения к стволу малой силы, а полностью выдвинутое положение также может представлять собой положение приложения к стволу большой или малой силы.
На фиг.14 зажигалка 2 показана со ствольным узлом 10 в положении воздействия на ствол малой силы. В положении воздействия малой силы узел 10 частично выдвинут и расположен под углом примерно 135° по отношению к закрытому положению. Конец 122 следящего элемента смещен к поверхности 124 трения кулачка между третьим стопорным гнездом 134с и четвертым стопорным гнездом 134d в точке А и расположен на третьем радиальном расстоянии R3 от оси поворота. Третье расстояние R3 в радиальном направлении представляет собой обычный радиус поверхности 124 трения кулачка, поэтому конец 122 следящего элемента будет расположен на третьем радиальном расстоянии R3 от оси Р поворота в любом случае, когда конец 122 следящего элемента не совмещен с одним из стопорных гнезд 134a-d. Третье радиальное расстояние R3 больше первого радиального расстояния R1 и второго радиального расстояния R2, в результате чего конец 122 следящего элемента будет расположен так, что крюк 126 будет повернут и выйдет из зацепления с крюком 62. Таким образом, когда конец 122 следящего элемента находится в контакте с поверхностью 124 кулачка между стопорными гнездами 134a-d, триггер 25 может быть нажат для воспламенения зажигалки. Поэтому, как было упомянуто выше, триггер 25 лишен подвижности только в той степени, которая достаточна для предотвращения воспламенения зажигалки 2, когда ствольный узел 10 находится в закрытом положении или примерно в 40° от этого положения. В альтернативном варианте конструкции этот угол может изменяться.
Если опять обратиться к фиг.14, то согласно ей ствольный узел 10 изображен в положении действия на ствол малой силы, когда конец 122 следящего элемента входит в контакт с поверхностью 124 трения кулачка между стопорными гнездами 134с и d. Таким образом, конец 122 следящего элемента не находится в контакте со стопорными гнездами 134с и d. В этом положении требуется меньшая сила для поворота узла 10, чем в положении воздействия на ствол большой силы, когда конец 122 следящего элемента расположен в стопорных гнездах 134a-d. В случае положения воздействия на ствол малой силы ствольный узел 10 все же создает некоторое сопротивление повороту, поскольку смещающий элемент 128 находится в состоянии его максимального сжатия и поэтому смещает конец 122 следящего элемента к поверхности 124 трения кулачка, создавая силы трения между концом 122 следящего элемента и поверхностью 124 трения кулачка при повороте узла 10. Таким образом, когда ствольный узел 10 находится в положении воздействия на ствол малой силы, пользователь должен приложить лишь небольшую силу, достаточную для преодоления упомянутой силы трения для поворота узла 10. Положение воздействия на ствол большой силы требует приложения большей силы для поворота узла 10, чем в положении воздействия малой силы, поскольку пользователь должен обеспечить дополнительное усилие для дальнейшего сжатия смещающего элемента 128 и вывода следящего элемента 122 из стопорного гнезда 134a-d. Узел 10 будет находиться в положениях воздействия на ствол малой силы, когда следящий элемент 122 расположен между стопорными гнездами 134 а и b и стопорными гнездами 134b и с.
Геометрия стопорных гнезд 134 и конца 122 следящего элемента может быть изменена для увеличения или уменьшения величины силы, требуемой для поворота ствольного узла 10 в положении воздействия на ствол большой силы. Например, стопорные гнезда могут быть относительно глубокими, имея такой размер и такую форму, чтобы плотно сопрягаться с концом 122 следящего элемента, а это требует значительного увеличения силы в положении воздействия на ствол большой силы. Как вариант, стопорные гнезда могут быть относительно мелкими и иметь увеличенный размер по отношению к концу 122 следящего элемента, чтобы обеспечить небольшое увеличение силы в положении воздействия на ствол большой силы.
Согласно фиг.10 и 13 перемещение ствола 101 во втором направлении W2, противоположном направлению W1, обеспечивает возможность прохождения ствола 101 в закрытое положение. Ствол 101 при перемещении в закрытое положение действует так, как описано выше, то есть он в течение перемещения с возможностью освобождения удерживается в промежуточных положениях (показаны на фиг.11 и 12).
Если вновь обратиться к фиг.9А, то на ней показан один из вариантов осуществления конструкции канала 23 для использования с зажигалкой 2 согласно фиг.1. Канал 23 включает в себя гибкую трубку 140, образующую проход 142 для обеспечивающего подачу топлива сообщения узла 11, содержащего источник подачи топлива, с соплом 143. Таким образом, гибкая трубка 140 обеспечивает перемещение топлива F (как показано на фиг.1) от узла 11, содержащего источник подачи топлива, к соплу 143. Приемлемым материалом для гибкой трубки 140 является пластик. В канале 142 расположен неизолированный электрический провод 144, который проходит от первого конца 146 трубки 140 ко второму концу 148 трубки 140. Приемлемым материалом для электрического провода 144 является медь или что-то подобное. В этом варианте осуществления конструкции провод 144, по меньшей мере частично, может быть навит по спирали. Витки на некоторых участках могут быть расположены более плотно, чем на других участках. В альтернативном варианте осуществления конструкции провод 144 может и не быть навит по спирали. Соединитель 22 для прохождения топлива подсоединен к первому концу 146 трубки 140. Сопло 143 подсоединено ко второму концу 148 трубки 140 посредством соединителя 147. Таким образом, провод 144 действует в качестве электрического проводника для прохождения электрического заряда к соплу 143, чтобы создать искру для воспламенения топлива. Провод 144 также может усилить гибкую трубку 140 для обеспечения сопротивления изгибу.
Канал 23, соединитель 147 и сопло 143 удерживаются внутри пары направляющих и изолирующих элементов 145, один из которых показан на чертеже. При расположении пары элементов 145 вокруг этих компонентов поверх конца элементов 145 размещают изолятор 146. После этого устанавливают ствол 101.
Как показано на фиг.1, 1А и 9А, трубку 140 удерживают внутри отверстия 20b держателя 20 и соединяют с соединителем 22 для прохождения топлива, при этом провод 144 проходит через соединитель 22 и находится в электрическом контакте с электродом 15b. Второй конец 148 трубки 140 подсоединен к соплу 143, расположенному вблизи от вершины 152 ствола 101. При этом трубка 140 обеспечивает перемещение топлива F от узла 11 с источником подачи топлива к соплу 143 у вершины 152 ствольного узла 10 через канал 142. Как вариант, сопло 143 может включать в себя диффузор 154, предпочтительно выполненный в виде спиральной пружины.
Как показано на фиг.1 и 11, канал 23 и провод 28 проходят с внутренней стороны корпуса 4 по меньшей мере через часть ствольного узла 10. Провод 28 электрически подсоединен вблизи от конца металлического ствола 101, соединенного с элементом 102, являющимся основанием. Провод 28 может быть, по меньшей мере частично, навит по спирали вокруг трубки 140. Канал 23 проходит к соплу 143. Для облегчения поворота ствольного узла 10 по отношению к корпусу 4 канал 23 и провод 28 проходят через отверстие 109 в элементе 102, являющемся основанием, и через камеру 107 (как показано на фиг.9) внутри элемента 102. Предпочтительно, чтобы отверстие 109 отстояло от оси Р поворота. При этом, когда ствольный узел 10 поворачивается по отношению к корпусу 4, канал 23 и провод 28 скользят внутри дугообразной прорези 109 от конца 109а к концу 109b. Длина канала 23 и провода 28 также обеспечивают возможность поворота ствола 101.
Как только ствольный узел 10 перемещен в частично или полностью выдвинутое положение, зажигалка 2 может быть приведена в действие в двух разных режимах. Согласно фиг.5 каждый режим предполагает создание сопротивления разными способами нежелательному приведению в действие зажигалки теми, для кого она не предназначена. Первый рабочий режим или режим включения с большой силой (то есть режим большой силы) и второй рабочий режим или режим включения с малой силой (то есть режим малой силы) обеспечивают таким образом, что может быть использован тот или иной режим. Режим включения зажигалки 2 с большой силой обеспечивает сопротивление нежелательной работе зажигалкой теми, для кого она не предназначена, основываясь на физических различиях, а точнее, на силовых характеристиках тех, для кого не предназначена зажигалка, в отличие от пользователей, которые могут работать зажигалкой. В этом режиме пользователь прилагает большую силу приведения в действие или большое рабочее усилие к триггеру 25 для включения зажигалки. Как вариант, сила, необходимая для приведения зажигалки 2 в действие в этом режиме, может быть больше силы, которую может приложить тот, для кого зажигалка не предназначена, но будет находиться в диапазоне значений, которые могут прилагать пользователи, для которых предназначена зажигалка.
Режим приведения зажигалки 2 в действие с малой силой обеспечивает сопротивление нежелательному включению зажигалки теми, для кого она не предназначена, в большей степени основываясь на способностях распознавания пользователей, для которых предназначена зажигалка, чем в случае режима действия с большой силой. Точнее, во втором режиме сопротивление будет обеспечено благодаря сочетанию способностей распознавания и физических различий, а еще точнее – на основе различия характеристик, касающихся размеров и ловкости тех, для кого предназначена зажигалка, и тех, кто не должен ей пользоваться.
Режим работы с малой силой может быть основан на применении пользователем двух элементов зажигалки для изменения силы, приложение которой к триггеру требуется для включения зажигалки – от большой силы до малой силы. Режим работы с малой силой может быть основан на переустановке пользователем плунжерного элемента 63 из положения включения с большой силой в положение включения с малой силой. Пользователь может перемещать плунжерный элемент 63 посредством нажатия на фиксирующий элемент 34. После перемещения плунжерного элемента пользователь может привести зажигалку в действие путем приложения к триггеру меньшей силы. Режим работы с малой силой может быть основан на сочетании физических и познавательных различий между пользователями, для которых предназначена зажигалка, и теми, для кого она не предназначена, посредством изменения формы, размера или положения фиксирующего элемента по отношению к триггеру, или, как вариант, либо в качестве дополнения, посредством изменения силы и расстояния, требуемых для приведения в действие фиксирующего элемента и триггера. Требование работы триггера и фиксирующего элемента в определенной последовательности также может быть использовано для обеспечения желаемого уровня сопротивления непредусмотренному приведению в действие.
Далее со ссылкой на фиг.5 будет описан один из вариантов осуществления конструкции зажигалки 2, которая может действовать в режиме большой силы и в режиме малой силы. Зажигалка согласно фиг.3 и 5 имеет подвижный плунжерный элемент 63, оперативно соединенный с фиксирующим элементом 34.
В начальном положении или положении покоя в режиме приведения в действие с большой силой, как показано на фиг.5, плунжерный элемент 63, а точнее участок 66, расположен внутри части 56b выреза 56, образованного в триггере 25. Стенка 66 плунжерного элемента 63 соприкасается с вертикальной стенкой 56с прорези 56 и таким образом находится в положении включения с большой силой. Когда пользователь пытается привести в действие триггер 25, вертикальная стенка 66с прилагает силу к вертикальной стенке 66а, которая прилагает силу к поршневому элементу 74, который посредством стенки 76а перемещается к работающей на сжатие пружине 80. Пружина 80 прилагает силу FS, которая противоположна перемещению триггера 25. В начальном положении пружина 80 не сжата и имеет длину D1.
В этом варианте конструкции длина D1 по существу равна промежутку между опорой 4d и торцевой стенкой 76а поршневого элемента 74. В другом варианте конструкции длина D1 может быть больше этого промежутка, так что пружина 80 при ее установке будет сжата и предварительно нагружена, или длина D1 может быть меньше, чем этот промежуток.
Для приведения зажигалки в действие в этом режиме большой силы, то есть когда части 66 расположены в части 56b прорези, пользователь прилагает к триггеру 25 по меньшей мере первую силу Ft1, которая по существу равна сумме силы FS пружины и всех дополнительных противоположных сил Fop (не показаны), либо больше этой суммы. Сила Fs пружины может представлять собой силу, необходимую для сжатия пружины 80. Противоположные силы Fop могут представлять собой силы, прилагаемые различными иными элементами и узлами, которые будут перемещаться и будут задействованы для включения зажигалки, например силу возвратной пружины 30 (см. фиг.1В) в пьезоэлектрическом узле 26, силу работающей на сжатие пружины 53 и силы трения, создаваемые при перемещении исполнительного элемента, а также любые другие силы, создаваемые пружинами и смещаемыми элементами, которые составляют часть или дополнение приводного элемента, приводного узла или контейнера с топливом, либо те силы, которые преодолевают для включения зажигалки. Конкретные, противоположно действующие силы Fop в зажигалке будут зависеть от компоновки и конструкции зажигалки и, таким образом, будут меняться от одной конструкции зажигалки к другой. В этом режиме, если сила, прилагаемая к триггеру, меньше первой силы FTI действия на триггер, воспламенения зажигалки не произойдет.
Как показано на фиг.6, когда пользователь прилагает к триггеру 25 силу, по меньшей мере по существу равную или большую первой силы Ft1 действия на триггер, триггер 25 перемещается на расстояние d, a плунжерный элемент 63 и поршневой элемент 74 сжимают пружину 80. Это перемещение триггера 25, как показано на фиг.1В, вызывает взаимное сжатие верхней и нижней частей 26а,b пьезоэлектрического узла 26, что вызывает перемещение кулачкового элемента 32 на верхней части 26а, который перемещает исполнительное устройство 14 клапана для воздействия на узел 15 из патрубка и клапана для перемещения хвостовика 15а клапана вперед для выпуска топлива F из отделения 12а. Когда кулачковый элемент 32 входит в контакт с исполнительным устройством 14 клапана, будет обеспечена электрическая связь между пьезоэлектрическим узлом 26 и проводом 144 (как показано на фиг.9А). Дальнейшее нажатие на триггер 25 приводит к тому, что молоточек (не показан), находящийся внутри пьезоэлектрического узла, ударит по пьезоэлектрическому элементу (не показан), также находящемуся внутри пьезоэлектрического узла. Удар по пьезоэлектрическому элементу или кристаллу создает электрический импульс, который проходит по проводу 28 (который показан на фиг.1) к стволу 101 и ушку для образования искрового зазора с соплом 143. Искра также проходит от кулачкового элемента 32 к исполнительному устройству 14 клапана, затем к хвостовику 15а клапана и далее к электроду 15b, проводу 144, соединителю 150 и к соплу 143. По зазору между соплом 143 и стволом 101 образуется электрическая дуга, которая воспламеняет топливо.
В режиме приведения в действие с большой силой, когда триггер 25 нажат, пружина 80 имеет длину D2 (показанную на фиг.6), меньшую длины D1 (показанной на фиг.5). В течение этого режима работы фиксирующий элемент 34 по существу находится в первоначальном положении и выступ 36а не мешает перемещению триггера 25 благодаря его месту расположения и перемещению вперед в прорезь 60.
Когда триггер 25 освобожден, возвратная пружина 30 (показанная на фиг.1В) внутри пьезоэлектрического узла 26 и пружины 53 и 80 перемещают поршневой элемент 74, плунжерный элемент 63 и триггер 25 в их начальные положения покоя или способствуют этому перемещению. Пружина 16 (показанная на фиг.1В) смещает исполнительное устройство 14 клапана для закрытия узла 15 из патрубка и клапана и отсечки подачи топлива. Это приводит к гашению пламени, испускаемого зажигалкой. В результате при освобождении триггера 25 зажигалка автоматически будет возвращена в начальное состояние, при этом плунжерный элемент 63 остается в положении включения с большой силой (как показано на фиг.5), при котором требуется большая сила включения триггера.
Зажигалка может быть выполнена таким образом, что пользователь должен будет обладать заданной силой для воспламенения зажигалки в режиме приведения ее в действие с большой силой. Как вариант, зажигалка может быть скомпонована таким образом, что в режиме включения с большой силой пользователь сможет обеспечить воспламенение зажигалки посредством одного движения или одним пальцем.
Как вариант, если пользователь, для которого предназначена зажигалка, не хочет ее использовать путем приложения к триггеру большой первой силы FT1 (то есть большой силы включения), он может использовать зажигалку 2 в режиме включения с малой силой (то есть в режиме малой силы), как показано на фиг.7. Этот режим работы содержит большое количество перемещений, обеспечивающих включение, причем в показанном варианте конструкции пользователь выполняет два движения для перемещения двух элементов в зажигалке для приведения ее в действие. Если в зажигалку встроены поворотный ствольный узел 10 (показанный на фиг.1) и кулачковый следящий элемент 116, то работа зажигалки в режиме приведения в действие с большой силой может включать в себя три движения, в том числе перемещение ствольного узла в выдвинутое положение.
В зажигалке согласно фиг.7 режим малой силы включает в себя переустановку плунжерного элемента 63 в нижнем направлении так, чтобы пружина 80 не противодействовала движению триггера 25 в той же степени, что и в режиме большой силы. В режиме малой силы силу, по существу равную второй силе FT2 действия на триггер (то есть малую силу приведения в действие), или бóльшую, чем она, прилагают к триггеру 25 для воспламенения зажигалки при нажатии на фиксирующий элемент. В этом режиме работы вторая сила FT2 действия на триггер предпочтительно меньше и, как вариант, значительно меньше, чем первая сила FT1 приложения к триггеру.
Как показано на фиг.7, приведение в рабочее состояние зажигалки 2 в режиме малой силы в этом варианте осуществления конструкции включает в себя нажатие на свободный конец 36 фиксирующего элемента 34 из начального положения (показанного пунктиром) в направлении к триггеру 25 до нажатого положения. Благодаря функциональной связи между фиксирующим элементом 34 и плунжерным элементом 63 перемещение вниз фиксирующего элемента 34 обеспечивает перемещение выступа 36а что, в свою очередь, приводит к перемещению переднего конца плунжерного элемента 63 в нижнем направлении. Когда фиксирующий элемент 34 и плунжерный элемент 63 находятся в положении нажатия, в углубление 70 (показанное на фиг.3) заходит выступ 36а фиксирующего элемента и углубление 70 обеспечивает в этом положении горизонтальную поверхность контакта для выступа.
Фиксирующий элемент может быть нажат частично или полностью с получением при этом разных результатов. В зависимости от конфигурации элементов зажигалки, если фиксирующий элемент нажат частично, стенка 66а может находиться в контакте с вертикальной стенкой 56с или вблизи от нее. Если фиксирующий элемент 34 нажат так, что стенка 66а находится в контакте с вертикальной стенкой 56с триггера 25 или вблизи от нее, зажигалка 2 все еще будет находиться в режиме большой силы. Если фиксирующий элемент 34 нажат так, что стенка 66а уравнена со стенкой 56с или находится ниже нее, то зажигалка может быть переведена в режим малой силы или будет находиться в этом режиме. В случае некоторых компоновок зажигалка будет выполнена так, что когда фиксирующий элемент 34 полностью нажат, плунжерный элемент 63 полностью выйдет из состояния контакта (например, будет ниже) с верхней частью 46 (показанной на фиг.4) триггера 25.
Сила, прилагаемая к триггеру для приведения зажигалки в действие в режиме малой силы, то есть вторая сила FT2, по меньшей мере должна преодолеть противоположную силу Fop, упомянутую выше для приведения зажигалки в действие. Кроме того, если плунжерный элемент 63 находится в контакте с триггером 25, вторая сила действия на триггер также должна преодолеть силы трения, создаваемые этим контактом в течение перемещения исполнительного элемента. Однако пользователь может не преодолевать дополнительную силу Fs (показанную на фиг.5), прилагаемую пружиной 80, в зависимости от того, полностью или частично нажал пользователь на фиксирующий элемент. Если происходит частичное нажатие, то режим зажигалки будет зависеть от того, вошла ли вертикальная стенка 66а в контакт с вертикальной стенкой 56с или с триггером 25. В том случае, если вертикальная стенка 66а вошла в контакт с вертикальной стенкой 56с, пользователь все еще должен преодолеть значительную силу пружины вследствие того, что удлинение 66 все еще находится внутри части 56b прорези.
Согласно фиг.8 в том случае, если элемент 63 находится в контакте с верхней поверхностью части 56а прорези, силы, обусловленные контактом, должны быть преодолены. При полном нажатии пользователь может и не преодолевать какие-либо силы пружины, поскольку стенка 66а находится вне контакта со стенкой 56с. В результате вторая сила FT2 действия на триггер, требуемая для режима работы с малой силой, будет меньше, чем первая сила FT1 действия на триггер, требуемая для режима работы с большой силой. Если зажигалка выполнена таким образом, что полное нажатие на фиксирующий элемент 34 выводит плунжерный элемент 63 из контакта с триггером 25, сила Fs действия пружины (показана на фиг.5) по существу может быть равна нулю. Таким образом, заданная сила включения при наличии силы FS пружины без учета других сил по существу может быть равна нулю. Однако пользователь должен приложить силу, достаточную для преодоления других сил, действующих в зажигалке для ее воспламенения.
В режиме работы зажигалки с малой силой, как показано на фиг.8, когда триггер 25 нажат, зазор q (показан на фиг.7) уменьшается. Кроме того, как показано на фиг.8, пружина 80 не сжата и имеет первоначальную длину D1, поршень 74 остается в его начальном положении, пружина 53 сжата, а триггер 25 перемещается по отношению к удлинениям 66. Это обеспечивает возможность воспламенения зажигалки в режиме малой силы. Когда триггер 25 и фиксирующий элемент 34 освобождены, пружина 30 внутри пьезоэлектрического механизма и возвратная пружина 53 перемещают триггер 25 в его начальное положение или способствуют этому перемещению. Кроме того, листовая пружина 42 и пружина 92 перемещают фиксирующий элемент 34 и плунжерный элемент 63 назад в их начальное положение. Таким образом, зажигалка автоматически возвращается в начальное положение, при этом плунжерный элемент 63 находится в положении приведения в действие с большой силой, поэтому для включения зажигалки требуется большая сила.
Для обеспечения режима работы с малой силой предпочтительно, чтобы пользователь обладал заданным уровнем сноровки и познавательной способности, так чтобы нажатие на фиксирующий элемент 34 и перемещение триггера 25 были выполнены в правильной последовательности. В случае режима малой силы пользователь может большим пальцем нажимать на фиксирующий элемент 34, а другие пальцы использовать для приложения силы к триггеру. Зажигалка может быть выполнена таким образом, чтобы к триггеру сила была приложена предпочтительно после нажатия на фиксирующий элемент 34 для приведения зажигалки в рабочее состояние в надлежащей последовательности. Как вариант, для включения может быть использована другая последовательность, при этом настоящее изобретение не ограничено раскрытыми последовательностями и включает в себя такие варианты, которые могут быть проработаны квалифицированными специалистами в этой отрасли. Например, последовательность может предполагать частичное приложение к триггеру тянущей силы, надавливание на фиксирующий элемент и последующее приложение к триггеру тянущей силы на остальной части хода. Работа зажигалки в режиме малой силы также может быть основана на физических различиях между пользователями, для которых предназначена зажигалка, и теми, для кого она не предназначена, например, посредством управления промежутком между триггером и фиксирующим элементом, либо посредством регулирования сил приведения в рабочее состояние или формы и размера фиксирующего элемента, триггера или зажигалки.
Для выполнения зажигалки таким образом, чтобы приведение ее в действие было не слишком затруднительным для некоторых пользователей, для которых она предназначена, предпочтительно, чтобы большая сила FT1 включения не превышала заданную величину. Можно предположить, что для зажигалки согласно фиг.5 предпочтительное значение FT1 примерно будет составлять менее 10 кг и более 5 кг, а более предпочтительно примерно менее 8,5 кг и более 6,5 кг. Можно считать, что такой диапазон силы по существу не окажет отрицательного влияния на использование зажигалки теми, для кого она предназначена, и в то же время создаст желаемое сопротивление при работе зажигалкой тем, для кого она не предназначена. Эти значения приведены в качестве примера, поэтому рабочее усилие в режиме большой силы может быть больше или меньше, чем приведенные выше диапазоны. Квалифицированные специалисты в этой отрасли легко поймут, что различные факторы могут увеличить или уменьшить большую силу приведения в действие, которую пользователь, для которого предназначена зажигалка, может комфортно прилагать к триггеру. Эти факторы могут, например, включать в себя рычаг для приложения к триггеру тянущей силы или приведения его в действие, обеспечиваемый конструкцией зажигалки, коэффициенты трения или жесткости пружины в элементах зажигалки, компоновку триггера, сложность движения для приведения триггера в действие, место расположения, размер и форму элементов, предполагаемую скорость приведения в действие и характеристики предполагаемого пользователя. Например, место расположения триггера и фиксирующего элемента и/или взаимосвязь между ними, а также то, какие кисти рук у предполагаемого пользователя – большие или маленькие.
Конструкция внутренних узлов, например компоновка исполнительного узла, компоновка любого соединительного механизма, что описано ниже, количество пружин и силы, создаваемые пружинами, – все это оказывает влияние на силу, которую пользователь прилагает к триггеру для пользования зажигалкой. Например, требования, касающиеся силы действия на триггер, который перемещается по линейному пути включения, не совпадают с требованиями, касающимися силы действия на триггер для его перемещения по нелинейному пути включения. Для включения может потребоваться, чтобы пользователь перемещал триггер по большому количеству путей, что может затруднить включение. Хотя в раскрытых вариантах осуществления конструкции показан предпочтительный триггер с линейным путем включения, квалифицированным специалистам в этой отрасли будет понятно, что в настоящем изобретении также предполагаются нелинейные пути включения.
В представленном на фиг.7 варианте осуществления конструкции вторая сила FT2 действия на триггер для режима работы с малой силой меньше первой силы действия на триггер по крайней мере на 2 кг, но это необязательно. Предпочтительно, чтобы в представленном на фиг.7 варианте осуществления конструкции малая сила FT2 приведения в действие примерно составляла менее 5 кг, но более 1 кг, а предпочтительнее примерно более 3,0 кг. Как описано выше, такие значения приведены в качестве примера и настоящее изобретение не ограничено этими значениями, при этом конкретные желаемые значения будут зависеть от определенного количества упомянутых выше факторов, касающихся конструкции зажигалки, а также от желаемого уровня сопротивления работе с зажигалкой для тех, кто не должен ей пользоваться.
Один из отличительных признаков зажигалки 2 заключается в том, что в режиме большой силы может быть выполнено большое количество операций приведения в действие, пока пользователь создает необходимую силу приведения в действие. Другой отличительный признак зажигалки 2 заключается в том, что в режиме малой силы может быть выполнено большое количество операций приведения в действие, пока пользователь нажимает на фиксирующий элемент и создает необходимую силу приведения в действие и движения, требуемые для воспламенения зажигалки. В частности, если зажигалка не срабатывает с первой попытки, пользователь может повторить попытку создания пламени, вновь приводя триггер в действие в режиме малой силы, если при этом пользователь продолжает нажимать на фиксирующий элемент.
На фиг.16 и 16А в качестве альтернативного варианта осуществления конструкции представлена зажигалка 202. Зажигалка 202 подобна зажигалке 2, показанной на фиг.1-4. Зажигалка 202 включает в себя триггер 225 с верхней частью 246 в виде ребра, которая проходит в продольном направлении. Триггер 225 дополнительно включает в себя зацепные части 126 с каждой стороны части 246 в виде ребра, которые взаимодействуют с зацепными частями 126 на кулачковом следящем элементе 216. Зажигалка 202 дополнительно включает в себя плунжерный элемент 263 (который показан на фиг.16А), с возможностью скольжения соединенный с поршневым элементом 274. Плунжерный элемент 263 включает в себя U-образную переднюю часть и отходящие в заднем направлении цилиндрические элементы 263а, в которые заходят две пружины 280, предопределяющие большую силу приведения в действие. Пружины 280 проходят в поршневой элемент 274. Пружины 280 смещают плунжерный элемент 263 к переднему концу 209 зажигалки. Поршневой элемент 274 с возможностью поворота подсоединен к корпусу 204 и смещен вверх пружиной 292.
В положении большой силы приведения в действие или в начальном положении, которое показано на фиг.16 и 16А, поршневой элемент 274 и плунжерный элемент 263 совмещены с верхней частью 246 в виде ребра, так что если в этом режиме происходит нажатие на триггер 225, то пружина 280 воздействует на плунжерный элемент 263 с силой Fs. Для воспламенения зажигалки эта сила должна быть преодолена.
В положении малой силы приведения в действие или в режиме малой силы, который показан на фиг.17, фиксирующий элемент 234 перемещен вниз, что приводит к перемещению вниз переднего конца поршневого элемента 274, а в результате и плунжерного элемента 263 (как показано на фиг.16А), при этом плунжерный элемент 263 заходит в зазор q (показан на фиг.16). Таким образом, когда триггер 225 нажат, верхняя часть 246 в виде ребра перемещается к заднему концу 208 зажигалки без противодействия со стороны пружины 280 (как показано на фиг.16А). При освобождении фиксирующего элемента 234 и триггера 225 триггер возвращается в свое первоначальное положение под действием возвратной пружины в пьезоэлектрическом узле и пружины, подобной пружине 53 (на фиг.1). Кроме того, поршневой элемент 274 и плунжерный элемент 263 возвращаются в их начальные положения под действием пружины 292 (показана на фиг.16). Как было описано выше применительно к зажигалке 2 согласно фиг.1, в конструкцию также может быть введена дополнительная пружина воздействия на фиксирующий элемент, содействующая возврату фиксирующего элемента 234 в его начальное положение. Таким образом, в положении малой силы приведения в действие необходима меньшая сила воздействия на триггер, чем в положении большой силы приведения в действие для воспламенения зажигалки, поскольку пружина 280 оказывает значительное противодействие движению триггера 225 только тогда, когда верхняя часть 246 в виде ребра примыкает к плунжерному элементу 263 в положении большой силы приведения в действие. В положении малой силы приведения в действие перемещению триггера, как было описано выше, могут противостоять силы трения и другие силы. В другом варианте осуществления конструкции зажигалка 202с может быть изменена таким образом, что она будет содержать некоторое количество пружин 280, но она может содержать и одну такую пружину.
На фиг.18 в качестве альтернативного варианта осуществления конструкции представлена зажигалка 302. Зажигалка 302 подобна зажигалке 202, показанной на фиг.16-17. Зажигалка 302 включает в себя триггер 325 с верхней частью 346 в виде ребра, которая проходит в продольном направлении. Триггер 325 дополнительно включает в себя зацепные части 362 с каждой стороны от части 346 в виде ребра, которые взаимодействуют с зацепными частями 326 на кулачковом следящем элементе 316.
Как показано на фиг.18А, зажигалка 302 дополнительно включает в себя по существу U-образный плунжерный элемент 363 и поршневой элемент 374. Плунжерный элемент 363 с возможностью скольжения соединен с поршневым элементом 374. Пружина 380, предопределяющая большую силу приведения в действие, расположена между поршневым элементом 374 и опорным элементом 304е корпуса. Поршневой элемент 374 с возможностью скольжения соединен с корпусом 304. Плунжерный элемент смещен вверх под действием пружины 392.
В положении большой силы приведения в действие или в начальном положении, показанном на фиг.18, плунжерный элемент 363 совмещен с верхней частью 346 в виде ребра, так что если в этом режиме происходит нажатие на триггер 325, то плунжерный элемент 363 и поршневой элемент 374 перемещаются назад, чтобы сжать смещающий элемент 380, который оказывает воздействие с силой Fs на поршневой элемент 374, плунжерный элемент 363 и триггер 325. Для воспламенения зажигалки эта сила должна быть преодолена.
В положении малой силы приведения в действие или в режиме малой силы, который показан на фиг.19, фиксирующий элемент 334 перемещен вниз, что приводит к перемещению плунжерного элемента 363 вниз перед поршневым элементом 374, так что когда нажимают на триггер 325, верхняя часть 346 в виде ребра перемещается к заднему концу 308 зажигалки на протяжении плунжерного элемента 363. В результате часть 346 не перемещает поршневой элемент 374 и смещающий элемент 380 не противодействует перемещению триггера 325.
При освобождении фиксирующего элемента 334 этот элемент 334 и плунжерный элемент 363 возвращаются в их начальные положения под действием пружины 392 (показана на фиг.18). В конструкцию также может быть встроена дополнительная пружина фиксирующего элемента, что было описано выше применительно к зажигалке 2 согласно фиг.1, которая содействует возврату фиксирующего элемента 334 в его начальное положение. Таким образом, в положении малой силы приведения в действие для воспламенения зажигалки необходима меньшая сила воздействия на триггер, чем в положении большой силы приведения в действие, поскольку пружина 380 оказывает значительное противодействие движению триггера 325 только в том случае, когда часть 346 в виде ребра примыкает к плунжерному элементу 363. В положении малой силы приведения в действие движению триггера могут противодействовать силы трения и другие силы, описанные выше.
На фиг.20 в качестве альтернативного варианта осуществления конструкции изображена зажигалка 402. Зажигалка 402 подобна зажигалке 1, показанной на фиг.1. Зажигалка 402 включает в себя неподвижно установленный ствол и узел приведения в действие, который включает в себя триггер 425, с возможностью скольжения подсоединенный к корпусу 404. Узел приведения в действие дополнительно включает в себя поворотный элемент 425а и соединительный шток 425b. Соединительный шток 425b содержит верхнюю часть 425с в виде ребра, которая образует зазор д. Узел приведения в действие дополнительно описан в заявке на патент в США №09/704688. В зажигалке 402 зажигательный узел 426 расположен впереди от триггера 425.
Зажигалка 402 дополнительно включает в себя двухрежимный узел, который содержит плунжерный элемент 463, конфигурация которого подобна конфигурации плунжерного элемента 63 согласно фиг.3, и поршневой элемент 474, конфигурация которого подобна конфигурации поршневого элемента 74 согласно фиг.3. Плунжерный элемент 463 шарнирно подсоединен к поршневому элементу 474. Пружина 480, предопределяющая большую силу приведения в действие, расположена между поршневым элементом 474 и опорным элементом 404е. Поршневой элемент 474 с возможностью скольжения подсоединен к корпусу 404, а плунжерный элемент 463 смещен вверх под действием пружины 492.
В положении большой силы приведения в действие или в начальном положении, которое показано на фиг.20, плунжерный элемент 463 совмещен с выполненной в виде ребра верхней частью 425с соединительного штока 425b, так что если в этом режиме происходит нажатие на триггер 425, шарнирный элемент 425а перемещает соединительный шток 425b вперед для соприкосновения с плунжерным элементом 463. В результате плунжерный элемент 463 и поршневой элемент 474 перемещаются в заднем направлении для сжатия смещающего элемента 480, а смещающий элемент 480 воздействует с силой FS на поршневой элемент 474, плунжерный элемент 463, соединительный шток 425b, шарнирный элемент 425а и триггер 425. Для воспламенения зажигалки эта сила должна быть преодолена.
В положении малой силы приведения в действие или в режиме малой силы, который показан на фиг.21, фиксирующий элемент 434 перемещен вниз из его начального положения (показано пунктиром), что приводит к перемещению плунжерного элемента 463 вниз перед поршневым элементом 474, так что когда триггер 425 нажат, выполненная в виде ребра верхняя часть 425с соединительного штока 425b перемещается вперед без противодействия со стороны элемента 480, поскольку часть 425с в виде ребра не перемещает поршневой элемент 474 и плунжерный элемент 463 заходит в зазор q (показан на фиг.20). При освобождении фиксирующего элемента 434 этот элемент 434 и плунжерный элемент 463 возвращаются в их начальное положение под действием пружины 492 (показана на фиг.20). Таким образом, в положении малой силы приведения в действие для воспламенения зажигалки необходима меньшая сила воздействия на триггер, чем в положении большой силы приведения в действие, поскольку пружина 480 противодействует движению триггера 425 только тогда, когда верхняя часть 425с в виде ребра примыкает к плунжерному элементу 463.
На фиг.22 в качестве альтернативного варианта осуществления конструкции изображена зажигалка 502. Зажигалка 502 подобна зажигалке 2, показанной на фиг.1. Зажигалка 502 включает в себя узел приведения в действие, который содержит триггер 525, с возможностью скольжения подсоединенный к корпусу 504. Узел приведения в действие дополнительно включает в себя шарнирный элемент 525а и соединительный шток 525b. Соединительный шток 525b имеет выполненную в виде ребра верхнюю часть 525с и зацепной конец 525d. Узел приведения в действие дополнительно описан в заявке на патент в США №09/704688. В зажигалке 502 зажигательный узел 526 расположен впереди от триггера 525.
Зажигалка 502 дополнительно включает в себя ствольный узел 510, который по компоновке подобен узлу 10 согласно фиг.9-14, а также кулачковый следящий элемент 516 с зацепным концом 516а и концом 516b, по конфигурации подобный кулачковому следящему элементу 116 согласно фиг.9-15. Подобно зажигалке 2, согласно фиг.9-14, ствольный узел 510 включает в себя поверхность трения 524 кулачка и стопорные гнезда 534a-d.
Когда ствольный узел 510 находится в закрытом положении или вблизи от него, то, как показано, конец 516b кулачкового следящего элемента 516 заходит в первое стопорное гнездо 534а, а конец 516а кулачкового следящего элемента 516 будет совмещен с зацепным концом 525d соединительного штока 525b. Таким образом, кулачковый следящий элемент 516 препятствует такому скольжению соединительного штока 525b и триггера 525, которое было бы достаточно для воспламенения зажигалки 502. В зажигалке 502 кулачковый следящий элемент 516 может поворачиваться против часовой стрелки, когда ствольный узел выдвинут.
В различных промежуточных положениях и в полностью выдвинутом положении ствольного узла 510, которые были описаны выше применительно к зажигалке 2, кулачковый следящий элемент 516 поворачивается так, что конец 516а выходит из совпадения с зацепным концом 525d соединительного штока 525b. В этом положении кулачковый следящий элемент 516 обеспечивает возможность перемещения соединительного штока 525b и триггера, достаточного для сжатия зажигательного узла 526 и воспламенения зажигалки.
На фиг.23 в качестве альтернативного варианта конструкции показана зажигалка 602. Зажигалка 602 подобна зажигалке 2, показанной на фиг.1. Зажигалка 602 включает в себя триггер 625 с зацепной частью 662, которая содержит отверстие 662а. Зажигалка 602 дополнительно включает в себя кулачковый следящий элемент 616, который содержит участок с зацепной частью 616а. В закрытом положении и в различных промежуточных положениях, которые были описаны выше применительно к зажигалке 2, кулачковый следящий элемент 616 имеет такую конфигурацию и такие размеры, что зацепная часть 616а будет входить в зацепление с отверстием 662а для предотвращения скольжения триггера 625, достаточного для воспламенения зажигалки 602.
В различных промежуточных положениях и в полностью выдвинутом положении (показанном, например, на фиг.24) ствольного узла 610, описанных выше со ссылкой на фиг.2, кулачковый следящий элемент 616 поворачивается против часовой стрелки так, что конец 616 выходит из отверстия 662. В этом положении кулачковый следящий элемент 616 обеспечивает возможность такого перемещения триггера 625, которое достаточно для воспламенения зажигалки.
На фиг.25 в качестве альтернативного варианта осуществления конструкции изображена зажигалка 702. Зажигалка 702 подобна зажигалке 2, показанной на фиг.1. Зажигалка 702 включает в себя узел приведения в действие, который содержит триггер 725, с возможностью скольжения подсоединенный к корпусу 704. Зажигалка 702 дополнительно включает в себя ствольный узел 710, который выполнен с возможностью скольжения по отношению к корпусу 704. Подобно зажигалке 2 согласно фиг.9-14 ствольный узел 710 включает в себя поверхность 724 трения кулачка и стопорные гнезда 734a-d. Зажигалка 702 также включает в себя кулачковый следящий элемент 716 с зацепным концом 716а и концом 716b. Кулачковый следящий элемент 716 имеет конфигурацию, подобную конфигурации кулачкового следящего элемента 116 согласно фиг.9-15.
Когда ствольный узел 710 находится в закрытом положении, показанном на фиг.25, конец 716b кулачкового следящего элемента 716 заходит в первое стопорное гнездо 734а, при этом зацепной конец 716а кулачкового следящего элемента 716 будет совмещен с зацепной частью 762 триггера 725. Таким образом, когда ствольный узел 710 находится в закрытом положении, кулачковый следящий элемент 716 препятствует скольжению триггера 725, достаточному для воспламенения зажигалки 702. Воспламенение происходит тогда, когда будет приведен в действие пьезоэлектрический узел 72b и будет выделено топливо из топливного узла 711. В зажигалке 702 кулачковый следящий элемент 716 может поворачиваться по часовой стрелке, когда происходит выдвижение ствольного узла.
В различных промежуточных положениях и в полностью выдвинутом положении ствольного узла 710 (показано на фиг.26) кулачковый следящий элемент 716 повернут таким образом, что конец 716b будет находиться внутри одного из стопорных гнезд 734b-d, a зацепной конец 716а выйдет из совмещения с зацепным концом 762 триггера 725. В этих положениях ствольного узла 710 кулачковый следящий элемент 716 обеспечивает возможность перемещения триггера 725, достаточного для сжатия зажигательного узла 726 и воспламенения зажигалки 702. Как описано выше, когда конец 716а находится внутри стопорных гнезд 734a-d, ствольный узел 710 будет находиться в положении воздействия на ствол большой силы. Зажигалка 702 может быть выполнена таким образом, что в различных промежуточных положениях ствольного узла 710 триггер 725 не может совершать перемещение, достаточное для воспламенения зажигалки 702.
На фиг.27 в качестве альтернативного варианта осуществления конструкции изображена зажигалка 802. Зажигалка 802 подобна зажигалке 2, показанной на фиг.1. Зажигалка 802 включает в себя корпус 804 с опорными элементами 804а для удерживания, предусматривающего возможность освобождения, электропроводной полосы или элемента 890 в корпусе 804. Перед подсоединением полосы 890 к корпусу 804 провод 28 (который показан на фиг.1В) размещают так, чтобы его изолированный конец находился в электрическом контакте с полосой 890. Неизолированный конец может быть расположен между полосой 890 и корпусом 804. Таким образом, полоса 890 удерживает провод 28 в этом месте внутри корпуса 804.
Триггер 825, подобный триггеру 25, который был описан выше, соединен с пьезоэлектрическим узлом 826 и содержит электрический проводник 892, соединенный с электродом 29 (показанным на фиг.1А) пьезоэлектрического узла.
Согласно фиг.27 и 28 электрический проводник 892, когда он установлен, имеет возможность скольжения вдоль электропроводной полосы 890, при этом полоса 890 и проводник 892 обеспечивают электрическое соединение провода 28 с электродом 29 (как показано на фиг.1А и 1В).
На фиг.29 и 29А представлен альтернативный вариант осуществления зажигалки 2. Зажигалка 902 по существу подобна зажигалке 2, показанной на фиг.1-4, но с теми различиями, которые здесь подробно описаны. Зажигалка 902 выполнена таким образом и с такими размерами, что величина усилия, требуемого для нажатия на фиксирующий элемент 934, изменяется в зависимости от последовательности работы фиксирующего элемента 934 и триггера 925. Точнее, величина усилия, требуемого для нажатия на фиксирующий элемент 934, может быть увеличена, если пользователь нажимает на триггер 925 перед нажатием на фиксирующий элемент 934. На фиг.29 зажигалка 902 показана в режиме большой силы, с триггером 925, находящимся в начальном положении. В этом режиме, если пользователь нажмет на фиксирующий элемент 934 перед нажатием на триггер 925, потребуется первая сила FL1 действия на фиксирующий элемент, чтобы нажать на фиксирующий элемент 934 и переключить зажигалку 902 из режима большой силы в режим малой силы. Согласно фиг.29А, если пользователь нажмет на триггер 925 перед попыткой нажатия на фиксирующий элемент 934, потребуется вторая сила FL2 воздействия на фиксирующий элемент (которая может быть больше, а предпочтительно и будет больше первой силы FL1 воздействия на фиксирующий элемент) для нажатия на фиксирующий элемент 934 и переключения зажигалки 902 из режима большой силы в режим малой силы. Таким образом, если пользователь попытается нажать на триггер 925, когда зажигалка 902 находится в режиме большой силы, а после этого попытается нажать на фиксирующий элемент 934 для переключения зажигалки 902 в режим малой силы, сила FL воздействия на фиксирующий элемент будет увеличена и может воспрепятствовать нажатию на фиксирующий элемент 934.
Один из иллюстративных примеров конструкции, которая обеспечивает такое изменение силы FL воздействия на фиксирующий элемент, показан на фиг.29 и 29А. На них показано, что первая поверхность 967 зацепления может быть связана с фиксирующим элементом 934, а вторая поверхность зацепления 927 может быть связана с частью триггера 925 (например, со стенкой 956с). В иллюстративных целях первая поверхность зацепления 967 показана в виде наклонной поверхности, образованной на плунжерном элементе 963, а вторая поверхность зацепления 927 показана в виде сопрягающейся с ней наклонной поверхностью, образованной на триггере 925, хотя возможны и другие компоновки. Например, первая поверхность зацепления 967 может быть образована на фиксирующем элементе 934 или на поршневом элементе 974, а вторая поверхность зацепления 927 может быть образована на корпусе 904. Когда зажигалка 902 находится в режиме большой силы, а триггер 925 находится в начальном положении, как показано на фиг.29, первая поверхность зацепления 967 и вторая поверхность зацепления 927 выполнены таким образом, что если пользователь попытается нажать на фиксирующий элемент 934 для переключения зажигалки 902 в положение малой силы, создаваемое в результате этого перемещение плунжера 963 фактически приведет к зацеплению первой поверхности зацепления 967 со второй поверхностью зацепления 927. Таким образом, в этом состоянии сила FL1, требуемая для нажатия на фиксирующий элемент 934 и переключения зажигалки 902 в режим малой силы, должна быть достаточной лишь для того, чтобы преодолеть усилие пружины 992, как вариант листовой пружины 942, и какие-либо второстепенные силы трения. В зажигалке согласно фиг.29 первая поверхность зацепления 967 и вторая поверхность зацепления 927 отстоят друг от друга на расстоянии X, которое достаточно для перемещения фиксирующего элемента 934 в положение малой силы посредством первой силы FL1 воздействия на фиксирующий элемент.
Если пользователь нажимает на триггер 925 перед нажатием на фиксирующий элемент 934, как показано на фиг.29А, то расстояние между первой поверхностью зацепления 967 и второй поверхностью зацепления 927 уменьшается (это уменьшение расстояния обозначено X). В результате первая поверхность зацепления 967 может войти в зацепление со второй поверхностью зацепления 927, когда пользователь нажимает на фиксирующий элемент 934. Это зацепление обеспечивает сопротивление нажатию на фиксирующий элемент 934 в дополнение к сопротивлению, создаваемому пружиной 922, как вариант листовой пружиной 942, и какими-либо второстепенными силами трения, в результате чего сила FL2 действия на фиксирующий элемент будет больше, чем сила FL1. Точнее, взаимодействие между первой поверхностью зацепления 967 и второй поверхностью зацепления 927 (например, относительное скольжение наклонных сопрягающихся поверхностей), создаваемое нажатием на фиксирующий элемент 934, может вызвать перемещение плунжера 963 к поршневому элементу 974 и сжатие пружины 980. Такое сжатие пружины 980 обеспечивает дополнительное сопротивление перемещению фиксирующего элемента 934. Как вариант или в качестве дополнения, взаимодействие между первой поверхностью зацепления 967 и второй поверхностью зацепления 927 может вызвать перемещение триггера 925 и/или фиксирующего элемента 934 к пальцу пользователя и создать дополнительное сопротивление перемещению фиксирующего элемента 934.
Квалифицированным специалистам в этой области будет понятно, что зажигалка 902 может быть выполнена таким образом, что триггер 925 может быть частично нажат перед зацеплением друг с другом первой поверхности зацепления 967 и второй поверхности зацепления 927 (например, расстояние Х может быть достаточным, чтобы частичное нажатие на триггер 925 не приводило к контакту первой поверхности зацепления 967 со второй поверхностью зацепления 927 при начальном нажатии на фиксирующий элемент 934). В этом случае пользователь может переместить триггер 925 на заданное расстояние перед нажатием на фиксирующий элемент 934, при этом сила, требуемая для нажатия на фиксирующий элемент 934 и переключения зажигалки 902 в режим малой силы, остается той же силой FL1 воздействия на фиксирующий элемент, однако при перемещении триггера 925 на расстояние, большее заданного, сила, требуемая для нажатия на фиксирующий элемент 934, увеличивается до второго значения FL2.
На фиг.30 и 30А в качестве варианта зажигалки 902 изображена зажигалка 1002. Зажигалка 1002 фактически подобна зажигалке 902, за исключением того, что по существу может быть предотвращено нажатие пользователем фиксирующего элемента 1034, если перед нажатием на фиксирующий элемент 1034 был нажат триггер 1025. Таким образом, если пользователь нажал на триггер 1025, когда зажигалка 1002 находилась в режиме большой силы, и после этого происходит попытка нажатия на фиксирующий элемент 1034 для переключения зажигалки 1002 в режим малой силы, то первая поверхность зацепления 1067 войдет в зацепление со второй поверхностью зацепления 1027, чтобы фактически предотвратить или заблокировать перемещение фиксирующего элемента 1034 в положение малой силы. Это может быть выполнено, например, посредством формирования первой поверхности зацепления 1067 и второй поверхности зацепления 1027 в виде поверхностей или выступов, которые будут налагаться друг на друга или примыкать друг к другу, когда триггер 1025 нажат перед нажатием на фиксирующий элемент 1034. Как показано на фиг.30 и 30А, может иметь место небольшой зазор между первой и второй поверхностями зацепления 1067, 1027, так что первая и вторая поверхности зацепления 1067, 1027 будут входить в зацепление друг с другом только после перемещения фиксирующего элемента 1034 на заданное расстояние после перемещения на заданное расстояние триггера 1025. Как вариант, фактически может и не быть зазора между первой и второй поверхностями зацепления 1027, 1067, так что эти поверхности будут находиться в контакте до перемещения фиксирующего элемента 1034 на заданное расстояние.
В иллюстративных вариантах осуществления конструкции, представленных на фиг.30 и 30А, первая и вторая поверхности зацепления 1067, 1027 показаны по существу параллельными друг другу, однако, как вариант, первая и вторая поверхности зацепления 1067, 1027 могут быть расположены по углом по отношению друг к другу. Кроме того, хотя первая и вторая поверхности зацепления 1067, 1027 по существу показаны как горизонтальные поверхности (то есть, они по существу параллельны по отношению к направлению перемещения Z исполнительного элемента 1025), они, как вариант, могут представлять собой поверхности, проходящие под небольшим углом (то есть под углом к направлению Z). В одном из иллюстративных вариантов осуществления конструкции первая поверхность зацепления 1067 и/или вторая поверхность зацепления 1027 могут проходить под углом к направлению Z, примерно составляющим 5°, однако возможны и другие углы. Квалифицированным специалистам в этой области будет понятно, что первая поверхность зацепления 1067 и вторая поверхность зацепления 1027 не ограничены представленными конфигурациями и возможны другие конфигурации. Например, первая поверхность зацепления 1067 может быть образована на поршневом элементе 1074, а вторая поверхность зацепления 1027 может быть образована на корпусе 1004. Кроме того, первая поверхность зацепления 1067 и/или вторая поверхность зацепления 1027 могут представлять собой крюкообразную или какую-либо другую форму, обеспечивающую зацепление, известную квалифицированным специалистам в этой отрасли.
Когда зажигалка 1002 находится в режиме большой силы, а триггер 1025 находится в начальном положении, которое показано на фиг.30, первая поверхность зацепления 1067 и вторая поверхность зацепления 1027 отстоят друг от друга на расстоянии У. Расстояние У будет достаточным для того, чтобы в случае попытки пользователя нажать на фиксирующий элемент 1034 для переключения зажигалки 1002 в положение малой силы получаемое перемещение плунжера 1063 фактически не приводило бы к зацеплению первой поверхности зацепления 1067 со второй поверхностью зацепления 1027. Таким образом, в этом состоянии пользователь может нажимать на фиксирующий элемент 1034 для переключения зажигалки 1002 в режим малой силы, пока сила FL, действия на фиксирующий элемент достаточна для преодоления силы действия пружины 1092, как вариант листовой пружины 1042, и каких-либо прилагаемых второстепенных сил трения.
Если пользователь нажимает на триггер 1025 перед нажатием на фиксирующий элемент 1034, как показано на фиг.30А, то произойдет наложение первой поверхности зацепления 1067 на вторую поверхность зацепления 1027. В результате этого первая поверхность зацепления 1067 примыкает ко второй поверхности зацепления 1027, когда пользователь нажмет на фиксирующий элемент 1034. Это по существу приведет к предотвращению или блокировке нажатия на фиксирующий элемент 1034. Для нажатия на фиксирующий элемент 1034, когда первая поверхность зацепления 1067 примыкает ко второй поверхности зацепления 1027, пользователю пришлось бы приложить усилие, которое было бы достаточным для поломки или деформации одного или более элементов зажигалки 1002. Таким образом, согласно этому варианту осуществления конструкции фактически будет предотвращено перемещение пользователем фиксирующего элемента 1034 в режим малой силы, если перед нажатием на фиксирующий элемент 1034 нажат триггер 1025.
Квалифицированным специалистам в этой области будет понятно, что зажигалка 1002 может быть выполнена таким образом, что триггер 1025 может быть частично нажат перед зацеплением друг с другом первой поверхности зацепления 1067 и второй поверхности зацепления 1027. В этом случае пользователь может переместить триггер 1025 на заданное расстояние перед нажатием на фиксирующий элемент 1034 и при этом сможет нажать на фиксирующий элемент 1034 и переключить зажигалку 1002 в режим малой силы, однако при перемещении триггера 1025 на расстояние, которое больше заданного расстояния, первая и вторая поверхности зацепления 1067 и 1027 войдут в зацепление друг с другом, фактически предотвращая или блокируя перемещение фиксирующего элемента 1034.
На фиг.31 и 31А показан другой вариант зажигалки 902 в виде зажигалки 1102. В этом варианте осуществления конструкции перемещение триггера 1125 на заданное расстояние перед перемещением фиксирующего элемента 1134 может заблокировать функцию фиксирующего элемента 1134 [то есть фиксирующего элемент 1134 все еще может перемещаться из первого положения во второе положение, однако это перемещение не приведет к выполнению фиксирующим элементом 1134 своей функции (то есть переключения зажигалки из режима большой силы в режим малой силы)]. Это может быть выполнено, например, посредством выполнения фиксирующего элемента 1134 и/или плунжера 1163 таким образом, что фиксирующий элемент 1134 по существу теряет связь с плунжером 1163 при перемещении триггера 1125 на заданное расстояние перед нажатием на фиксирующий элемент 1134. Точнее, как показано на фиг.31, когда триггер 1125 находится в начальном положении (то есть не в нажатом положении), выступ 1136а и плунжер 1163 будут по меньшей мере частично совпадать друг с другом (то есть будут незначительно перекрывать друг друга), при этом нажатие на фиксирующий элемент 1134 может обеспечить передачу движения плунжеру 1163 из положения большой силы (показано) в положение малой силы (не показано). В состоянии, показанном на фиг.31, сила FL1, которая требуется для нажатия на фиксирующий элемент 1134 и переключения зажигалки 1102 в режим малой силы, должна быть достаточной лишь для того, чтобы преодолеть силы, создаваемые пружиной 1192, как вариант листовой пружиной 1142, и какие-либо второстепенные силы трения. Однако, как показано на фиг.31А, когда триггер 1125 перемещен на заданное расстояние перед нажатием на фиксирующий элемент 1134, выступ 1136а и плунжер 1163 выходят из совмещения друг с другом (например, они не будут соединены друг с другом внахлест), в результате чего нажатие на фиксирующий элемент 1134 не приведет к перемещению плунжера 1163 из положения большой силы в положение малой силы. В состоянии, показанном на фиг.31А, сила FL2, требуемая для нажатия на фиксирующий элемент 1134, должна быть достаточной только для преодоления силы листовой пружины 1142, используемой в качестве варианта конструкции, и каких-либо второстепенных сил трения, однако, как было описано выше, перемещение фиксирующего элемента 1134 не приведет к переключению зажигалки 1102 в режим малой силы.
Квалифицированным специалистам в этой отрасли будет понятно, что зажигалка 1102 не ограничена показанными и описанными конструкциями и что может быть разработано любое количество элементов для блокирования функции фиксирующего элемента 1134 при перемещении триггера 1125 на заданную величину перед нажатием на фиксирующий элемент 1134.
Квалифицированным специалистам в этой отрасли будет понятно, что зажигалки 902, 1002, 1102 не ограничены показанными и описанными конструкциями и что для изменения силы действия на фиксирующий элемент может быть разработано любое количество конструкций.
Квалифицированным специалистам в этой области будет понятно, что фиксирующий элемент 934, 1034, 1134 не ограничен “двухрежимным фиксирующим элементом”, который здесь описан, и, как вариант или в качестве дополнения, фиксирующий элемент может контролировать другие функции зажигалки.
Хотя выше описаны разные варианты настоящего изобретения, следует иметь в виду, что различные отличительные признаки каждого варианта осуществления конструкции могут быть использованы как по отдельности, так и в сочетании друг с другом. Поэтому настоящее изобретение не ограничено лишь конкретными описанными здесь вариантами осуществления конструкции. Кроме того, следует иметь в виду, что у тех квалифицированных специалистов в этой области, которые могут быть заинтересованы в настоящем изобретением, могут возникнуть идеи создания вариантов и модификаций, находящихся в пределах сущности и объема настоящего изобретения. Например, изолированный провод 28 (показанный на фиг.1В) может быть заменен, по меньшей мере частично, на навитую по спирали пружину, концентрично расположенную снаружи канала 23, причем в этом случае навитая по спирали пружина предпочтительно, по меньшей мере частично, будет изолирована для предотвращения образования дуги от пружины к иным элементам зажигалки. Другой пример состоит в том, что ствольный узел, как вариант, может быть выполнен с возможностью поворота по отношению к корпусу вокруг иной оси или, кроме того, с возможностью перемещения или скольжения по отношению к корпусу. Еще один пример заключается в том, что во всех этих вариантах фиксирующий элемент может быть использован совместно с отдельным смещающим элементом для возврата фиксирующего элемента в его начальное положение после нажатия на него, или без такого смещающего элемента. Когда отдельный смещающий элемент не используют, рекомендуется, чтобы фиксирующий элемент был упруго деформируемым. Такая модификация может потребовать дополнительные изменения, которые известны квалифицированным специалистам в этой отрасли для обеспечения электрической связи между пьезоэлектрическим узлом и соплом.
Кроме того, хотя в описанных здесь вариантах осуществления конструкции режим малой силы основан на работе пользователя двумя элементами (например, триггером и фиксирующим элементом), в альтернативном варианте режим малой силы может быть основан на работе пользователя дополнительными элементами (например, триггером и двумя фиксирующими элементами или триггером, фиксирующим элементом и кнопкой для выделения газа).
Согласно еще одному примеру плунжерный элемент в любом из приведенных выше вариантов осуществления конструкции может иметь такую конфигурацию и может быть расположен таким образом, чтобы часть плунжерного элемента, приводимая в действие пальцем, находилась с наружной стороны корпуса, а остальная часть плунжерного элемента находилась внутри корпуса. Таким образом, плунжерный элемент может быть перемещен из положения большой силы приведения в действие в положение малой силы приведения в действие посредством соприкосновения пальца пользователя с приводной частью плунжерного элемента. В случае такого варианта конструкции зажигалка может и не содержать фиксирующий элемент.
Согласно еще одному примеру в зажигалке 2 (фиг.1) может отсутствовать пружина 53. В таком варианте конструкции плунжерный элемент 63 может быть выполнен так, что будет включать в себя выступ, а корпус 4 или другой элемент может взаимодействовать с выступом, так что в режиме большой силы пружина 80 может быть сжата для предотвращения воспламенения зажигалки. Когда триггер освобожден после воспламенения в режиме большой силы, пружина 80 возвращает его в начальное положение. Однако в режиме малой силы взаимодействие с выступом предотвращает сжатие пружины, предопределяющей большую силу, в той же самой степени, что и в режиме большой силы, так что для воспламенения зажигалки потребуется меньшая сила. В такой зажигалке триггер после нажатия может быть возвращен в начальное положение посредством возвратной пружины в пьезоэлектрическом узле.
Кроме того, зажигалка может по отдельности или в сочетании включать в себя такие описанные выше отличительные признаки, как работа в двух режимах, наличие поворотного ствольного узла, кулачкового следящего элемента и канала. В результате отличительные признаки зажигалки 2 могут быть использованы сами по себе или в сочетании с теми или иными из известных отличительных признаков.
Соответственно, все подходящие модификации легко могут быть созданы квалифицированными специалистами в этой области исходя из приведенного здесь содержания, при этом все они будут находиться в пределах объема и сущности настоящего изобретения и должны быть включены в настоящее изобретение в качестве дополнительных вариантов его осуществления. Кроме того, отличительные признаки вариантов конструкции могут быть объединены с получением при этом дополнительных результатов, касающихся познавательной способности, например более сложного пути приведения триггера в действие, чтобы затруднить включение зажигалки. Соответственно, объем настоящего изобретения определен так, как указано в прилагаемых пунктах формулы изобретения.
Формула изобретения
1. Зажигалка, содержащая корпус, имеющий источник подачи топлива, исполнительный элемент для избирательного воспламенения топлива, соединенный с корпусом, фиксирующий элемент, выполненный с возможностью приведения в движение пользователем между первым положением и вторым положением, при этом пользователь прилагает к исполнительному элементу первую силу приведения в действие для воспламенения топлива, когда фиксирующий элемент установлен в первом положении, и прилагает к исполнительному элементу вторую силу приведения в действие для воспламенения топлива, когда фиксирующий элемент установлен во втором положении, причем первая сила приведения в действие больше второй силы.
2. Зажигалка по п.1, дополнительно содержащая смещающий элемент, оперативно соединенный с фиксирующим элементом.
3. Зажигалка по п.1, дополнительно содержащая плунжерный элемент, оперативно соединенный с фиксирующим элементом.
4. Зажигалка по п.1, в которой заданная сила приведения в действие необходима для перемещения исполнительного элемента в положение приведения зажигалки в действие, при этом первая сила приведения в действие больше заданной силы приведения в действие.
5. Зажигалка по п.1, в которой вторая сила приведения в действие, по существу, равна нулю.
6. Зажигалка по п.1, в которой исполнительный элемент представляет собой триггер, подсоединенный к корпусу с возможностью перемещения.
7. Зажигалка по п.1, в которой исполнительный элемент составляет часть исполнительного узла.
8. Зажигалка по п.1, которая выполнена с возможностью приведения в действие посредством двух разных перемещений.
9. Зажигалка по п.1, дополнительно содержащая зажигательный узел для воспламенения топлива, при этом зажигательный узел представляет собой пьезоэлектрический узел.
10. Зажигалка по п.1, в которой фиксирующий элемент соединен с корпусом с возможностью поворота.
11. Зажигалка по п.3, в которой фиксирующий элемент дополнительно содержит передний и задний концы, при этом передний конец выполнен с возможностью перемещения из начального положения, при котором плунжерный элемент находится в первом положении, в конечное положение, при котором плунжерный элемент находится во втором положении.
12. Зажигалка по п.3, в которой исполнительный элемент дополнительно содержит стенку, при этом, когда фиксирующий элемент находится в первом положении, плунжерный элемент находится в контакте со стенкой.
13. Зажигалка по п.12, в которой плунжерный элемент отсоединен от стенки, когда фиксирующий элемент находится во втором положении.
14. Зажигалка по п.3, в которой плунжерный элемент оперативно соединен с исполнительным элементом, когда фиксирующий элемент находится в первом положении.
15. Зажигалка по п.3, дополнительно содержащая поршневой элемент, соединенный с корпусом с возможностью скольжения, и смещающий элемент, расположенный между поршневым элементом и опорным элементом корпуса, при этом плунжерный элемент соединен с поршневым элементом с возможностью поворота, причем, когда фиксирующий элемент находится в первом положении, поршневой элемент перемещен для сжатия смещающего элемента для приведения в действие зажигалки.
16. Зажигалка по п.15, в которой, когда фиксирующий элемент находится во втором положении и зажигалка приведена в действие, перемещение плунжерного элемента и поршневого элемента недостаточно для сжатия смещающего элемента.
17. Зажигалка по п.3, дополнительно содержащая поршневой элемент, соединенный с корпусом с возможностью поворота, и смещающий элемент, расположенный между поршневым элементом и плунжерным элементом, при этом плунжерный элемент соединен с поршневым элементом с возможностью скольжения.
18. Зажигалка по п.1, в которой после большого числа приведений ее в действие первая сила приведения в действие, по существу, остается постоянной.
19. Зажигалка по п.3, в которой, когда фиксирующий элемент установлен в первом положении, для приведения в действие исполнительного элемента необходимо приложить к этому элементу усилие примерно от 6,5 до 8,5 кг, а когда фиксирующий элемент установлен во втором положении, для приведения в действие исполнительного элемента необходимо приложить к этому элементу усилие примерно от 3 до 5 кг.
20. Зажигалка по п.3, в которой для приведения зажигалки в действие, когда фиксирующий элемент находится в первом положении, необходимо применить один палец пользователя, а для приведения ее в действие, когда фиксирующий элемент находится во втором положении, необходимо применить первый и второй пальцы пользователя.
21. Зажигалка по п.3, которая скомпонована и выполнена с возможностью приведения в действие посредством перемещения фиксирующего элемента перед перемещением исполнительного элемента.
22. Зажигалка по п.1, которая скомпонована и выполнена с возможностью приведения в действие на основе физических характеристик пользователя, когда фиксирующий элемент находится в первом положении, и в большей степени на основе способностей распознавания и ловкости пользователя, когда фиксирующий элемент находится во втором положении.
23. Зажигалка по п.1, которая представляет собой универсальную зажигалку.
24. Зажигалка, содержащая корпус, имеющий источник подачи топлива, исполнительный элемент для избирательного выделения топлива, зажигательный узел для воспламенения выделяемого топлива, фиксирующий элемент, соединенный с корпусом для перемещения между первым положением и вторым положением, плунжерный элемент, оперативно соединенный с фиксирующим элементом, смещающий элемент, оперативно соединенный с плунжерным элементом, при этом по меньшей мере часть плунжерного элемента выполнена с возможностью переустановки посредством фиксирующего элемента из первого положения, которое вызывает сопротивление смещающего элемента перемещению исполнительного элемента, во второе положение, так что смещающий элемент не оказывает сопротивление перемещению исполнительного элемента в той же степени, что и в первом положении.
25. Зажигалка по п.24, в которой плунжерный элемент отделен от фиксирующего элемента.
26. Зажигалка, содержащая корпус, имеющий источник подачи топлива, зажигательный узел для воспламенения выделенного топлива, исполнительный элемент, соединенный с корпусом, при этом необходима заданная сила приведения в действие для перемещения исполнительного элемента в положение приведения зажигалки в действие, переустанавливаемый плунжерный элемент, расположенный в корпусе, при этом в первом положении плунжерный элемент соединен с исполнительным элементом так, что требуется первая сила приведения в действие, большая, чем заданная сила приведения в действие, для перемещения исполнительного элемента в положение приведения в действие.
27. Зажигалка по п.26, в которой плунжерный элемент выполнен с возможностью перемещения во второе положение, так что пользователь прилагает вторую силу приведения в действие для перемещения исполнительного элемента в положение приведения в действие, причем вторая сила приведения в действие меньше первой силы.
28. Зажигалка по п.26, в которой исполнительный элемент представляет собой по меньшей мере один триггер.
29. Зажигалка, содержащая корпус, имеющий источник подачи топлива, исполнительный элемент для избирательного воспламенения топлива, соединенный с корпусом, первый и второй препятствующие элементы по меньшей мере для повышения трудности перемещения исполнительного элемента для воспламенения топлива, при этом по меньшей мере один из препятствующих элементов обеспечивает возможность перемещения исполнительного элемента и в достаточной степени ограничивает его подвижность для предотвращения воспламенения топлива.
30. Зажигалка по п.29, дополнительно содержащая подвижный ствольный узел, при этом первый препятствующий элемент повышает трудность перемещения исполнительного элемента на основе положения ствольного узла.
31. Зажигалка по п.29, в которой второй препятствующий элемент содержит плунжерный элемент.
32. Зажигалка по п.29, в которой пользователь прилагает к исполнительному элементу первую силу приведения в действие для воспламенения топлива, когда плунжерный элемент находится в первом положении, и прилагает к исполнительному элементу вторую силу приведения в действие для воспламенения топлива, когда плунжерный элемент находится во втором положении, при этом первая сила приведения в действие больше второй силы.
33. Зажигалка, содержащая корпус, имеющий источник подачи топлива, исполнительный элемент для избирательного воспламенения топлива, соединенный с корпусом, при этом исполнительный элемент выполнен с возможностью перемещения для работы в режиме приведения в действие с большой силой и в режиме приведения в действие с малой силой.
34. Зажигалка, содержащая, корпус, имеющий источник подачи топлива, исполнительный элемент, соединенный с корпусом с возможностью перемещения для избирательного воспламенения топлива, фиксирующий элемент, выполненный с возможностью перемещения между первым положением, в котором для воспламенения топлива к исполнительному элементу должна быть приложена первая сила приведения в действие, и вторым положением, в котором для воспламенения топлива к исполнительному элементу должна быть приложена вторая сила приведения в действие, причем первая сила приведения в действие отличается от второй силы, при этом сила, требуемая для перемещения фиксирующего элемента между первым положением и вторым положением, изменяется в зависимости от последовательности работы исполнительного элемента и фиксирующего элемента.
35. Зажигалка по п.34, в которой требуется первая сила воздействия на фиксирующий элемент для его перемещения из первого положения во второе положение при перемещении фиксирующего элемента перед перемещением исполнительного элемента, требуется вторая сила воздействия на фиксирующий элемент для его перемещения из первого положения во второе положение при перемещении исполнительного элемента на заданную величину перед фактическим выполнением перемещения фиксирующего элемента, при этом вторая сила воздействия на фиксирующий элемент больше первой силы.
36. Зажигалка по п.34, в которой при перемещении исполнительного элемента на заданную величину перед фактическим выполнением перемещения фиксирующего элемента, по существу, будет предотвращено перемещение фиксирующего элемента из первого положения во второе положение.
37. Зажигалка по п.34, в которой первая сила приведения в действие больше второй силы.
38. Зажигалка по п.34, в которой первая сила приведения в действие находится между примерно 6,5 и примерно 8,5 кг, а вторая сила приведения в действие находится между 3 и примерно 5 кг.
39. Зажигалка по п.34, дополнительно содержащая первую поверхность зацепления, соединенную с фиксирующим элементом, вторую поверхность зацепления, соединенную с исполнительным элементом, при этом при перемещении исполнительного элемента на заданную величину перед фактическим выполнением перемещения фиксирующего элемента первая поверхность зацепления входит в зацепление со второй поверхностью зацепления.
40. Зажигалка по п.39, в которой первая поверхность зацепления входит в зацепление со второй поверхностью зацепления при перемещении фиксирующего элемента на заданное расстояние после перемещения исполнительного элемента на заданную величину.
41. Зажигалка по п.39, в которой при перемещении фиксирующего элемента перед перемещением исполнительного элемента первая поверхность зацепления, по существу, выходит из зацепления со второй поверхностью зацепления.
42. Зажигалка по п.39, дополнительно содержащая плунжерный элемент, соединенный с фиксирующим элементом, при этом первая поверхность зацепления образована на плунжерном элементе.
43. Зажигалка по п.39, в которой исполнительный элемент представляет собой триггер, а вторая поверхность зацепления образована на триггере.
44. Зажигалка, содержащая корпус, имеющий источник подачи топлива, исполнительный элемент, соединенный с корпусом с возможностью перемещения для избирательного воспламенения топлива, фиксирующий элемент, соединенный с корпусом с возможностью перемещения между первым положением, в котором исполнительный элемент находится в режиме большой силы, и вторым положением, в котором исполнительный элемент находится в режиме малой силы, первую поверхность зацепления, соединенную с фиксирующим элементом, вторую поверхность зацепления, соединенную с исполнительным элементом, при этом при перемещении исполнительного элемента на заданное расстояние перед фактическим выполнением перемещения фиксирующего элемента первая поверхность зацепления входит в зацепление со второй поверхностью зацепления для сопротивления перемещению фиксирующего элемента из первого положения во второе положение.
45. Зажигалка по п.44, в которой, когда исполнительный элемент находится в режиме большой силы, для воспламенения топлива к исполнительному элементу должна быть приложена первая сила приведения в действие, меньшая примерно 10 кг, а когда исполнительный элемент находится в режиме малой силы, для воспламенения топлива к исполнительному элементу должна быть приложена вторая сила приведения в действие, меньшая примерно 5 кг.
46. Зажигалка по п.44, в которой при перемещении исполнительного элемента на заданное расстояние перед перемещением фиксирующего элемента первая поверхность зацепления входит в зацепление со второй поверхностью зацепления, по существу, для предотвращения перемещения фиксирующего элемента из первого положения во второе положение.
47. Зажигалка по п.44, в которой при перемещении фиксирующего элемента перед перемещением исполнительного элемента первая поверхность зацепления и вторая поверхность зацепления, по существу, не оказывают сопротивления перемещению фиксирующего элемента из первого положения во второе положение.
48. Зажигалка по п.44, дополнительно содержащая плунжерный элемент, оперативно соединенный с исполнительным элементом, смещающий элемент, оперативно соединенный с плунжерным элементом для избирательного сопротивления перемещению исполнительного элемента, при этом по меньшей мере часть плунжерного элемента выполнена с возможностью перемещения из первого положения, в котором смещающий элемент оказывает сопротивление перемещению исполнительного элемента, во второе положение, в котором смещающий элемент не оказывает сопротивления перемещению исполнительного элемента в той же степени, что и в первом положении.
49. Зажигалка по п.48, в которой первая поверхность зацепления образована на плунжерном элементе, а вторая поверхность зацепления образована на исполнительном элементе.
50. Зажигалка, содержащая корпус, имеющий источник подачи топлива, триггер, соединенный с корпусом с возможностью перемещения для избирательного воспламенения топлива, фиксирующий элемент, соединенный с корпусом с возможностью перемещения для избирательного изменения величины силы, требуемой для перемещения триггера из режима большой силы в режим малой силы, при этом требуется первая сила воздействия на фиксирующий элемент для переключения зажигалки из режима большой силы в режим малой силы, когда фиксирующий элемент перемещен перед перемещением триггера, требуется вторая сила воздействия на фиксирующий элемент для переключения зажигалки из режима большой силы в режим малой силы, когда триггер перемещен на заданную величину перед перемещением фиксирующего элемента, причем вторая сила воздействия на фиксирующий элемент больше первой силы.
51. Зажигалка по п.50, в которой, когда триггер перемещен на заданную величину перед перемещением фиксирующего элемента, перемещение фиксирующего элемента между режимом большой силы и режимом малой силы, по существу, заблокировано.
52. Зажигалка по п.50, содержащая плунжерный элемент, оперативно соединенный с триггером, смещаемый элемент, оперативно соединенный с плунжерным элементом для избирательного сопротивления перемещению триггера, при этом, когда зажигалка находится в режиме большой силы, триггер перемещает плунжерный элемент для сжатия смещающего элемента.
53. Зажигалка по п.52, дополнительно содержащая первую поверхность зацепления, образованную на плунжерном элементе, вторую поверхность зацепления, образованную на триггере, причем вторая поверхность зацепления в обычном состоянии не находится в зацеплении с первой поверхностью зацепления, при этом, когда происходит перемещение триггера на заданную величину перед фактическим выполнением перемещения фиксирующего элемента, первая поверхность зацепления входит в зацепление со второй поверхностью зацепления.
54. Универсальная зажигалка, содержащая корпус, имеющий источник подачи топлива, при этом корпус включает в себя рукояточную часть, удлиненный ствол, проходящий от рукояточной части и имеющий выходное отверстие для выпуска топлива на расстоянии от рукояточной части, триггер, соединенный с корпусом с возможностью скольжения для избирательного воспламенения топлива, фиксирующий элемент, выполненный с возможностью перемещения между первым положением, в котором для воспламенения топлива к триггеру должна быть приложена первая сила приведения в действие, и вторым положением, в котором для воспламенения топлива к триггеру должна быть приложена вторая сила приведения в действие, причем первая сила приведения в действие отличается от второй силы, при этом сила, требуемая для перемещения фиксирующего элемента между первым положением и вторым положением, изменяется в зависимости от последовательности работы исполнительного элемента и фиксирующего элемента.
55. Универсальная зажигалка по п.54, в которой требуется первая сила воздействия на фиксирующий элемент для его перемещения из первого положения во второе положение при перемещении фиксирующего элемента перед перемещением триггера, требуется вторая сила воздействия на фиксирующий элемент для его перемещения из первого положения во второе положение при перемещении триггера на заданное расстояние перед фактическим выполнением перемещения фиксирующего элемента, при этом вторая сила воздействия на фиксирующий элемент больше первой силы.
56. Универсальная зажигалка по п.54, в которой ствол и рукояточная часть имеют определенную длину, при этом длина ствола приблизительно равна длине рукоятки.
57. Зажигалка, содержащая корпус, имеющий источник подачи топлива, исполнительный элемент, соединенный с корпусом с возможностью перемещения для избирательного воспламенения топлива, фиксирующий элемент, выполненный с возможностью перемещения для изменения значения силы, требуемой для перемещения исполнительного элемента для воспламенения топлива, при этом перемещение исполнительного элемента на заданную величину перед фактическим выполнением перемещения фиксирующего элемента препятствует изменению значения силы, требуемой для перемещения исполнительного элемента для воспламенения топлива.
58. Зажигалка по п.57, в которой при фактическом выполнении перемещения фиксирующего элемента перед перемещением исполнительного элемента фиксирующий элемент может быть перемещен для изменения значения силы, требуемой для перемещения исполнительного элемента для воспламенения топлива.
59. Зажигалка по п.57, в которой фиксирующий элемент выполнен с возможностью перемещения между первым положением и вторым положением для изменения значения силы, требуемой для перемещения исполнительного элемента для воспламенения топлива, при этом перемещение исполнительного элемента на заданную величину перед фактическим выполнением перемещения фиксирующего элемента препятствует перемещению фиксирующего элемента из первого положения во второе положение.
60. Зажигалка по п.59, в которой для воспламенения топлива к исполнительному элементу должна быть приложена первая сила приведения в действие, когда фиксирующий элемент, по существу, установлен в первом положении, и для воспламенения топлива к исполнительному элементу должна быть приложена вторая сила приведения в действие, когда фиксирующий элемент, по существу, установлен во втором положении, при этом первая сила приведения в действие больше второй силы.
61. Зажигалка по п.57, дополнительно содержащая первую поверхность зацепления, соединенную с фиксирующим элементом, вторую поверхность зацепления, соединенную с исполнительным элементом и в нормальном состоянии не находящуюся в зацеплении с первой поверхностью зацепления, при этом, когда происходит перемещение исполнительного элемента на заданное расстояние перед фактическим выполнением перемещения фиксирующего элемента, первая поверхность зацепления входит в зацепление со второй поверхностью зацепления.
62. Зажигалка по п.61, дополнительно содержащая плунжерный элемент, соединенный с фиксирующим элементом, при этом первая поверхность зацепления образована на плунжерном элементе, исполнительный элемент представляет собой триггер, вторая поверхность зацепления образована на триггере.
63. Зажигалка, содержащая корпус, имеющий источник подачи топлива, исполнительный элемент, соединенный с корпусом с возможностью перемещения для избирательного воспламенения топлива, при этом исполнительный элемент может действовать в режиме большой силы, в котором для воспламенения топлива к исполнительному элементу должна быть приложена первая сила приведения в действие, и в режиме малой силы, в котором для воспламенения топлива к исполнительному элементу должна быть приложена вторая сила приведения в действие, при этом первая сила приведения в действие отличается от второй силы, фиксирующий элемент для переключения исполнительного элемента между режимом большой силы и режимом малой силы, при этом в случае перемещения исполнительного элемента на заданное расстояние перед фактическим выполнением перемещения фиксирующего элемента происходит блокирование переключения фиксирующего элементом исполнительного элемента из режима большой силы в режим малой силы.
64. Зажигалка по п.63, в которой при фактическом выполнении перемещения фиксирующего элемента перед перемещением исполнительного элемента фиксирующий элемент выполнен с возможностью переключения исполнительного элемента из режима большой силы в режим малой силы.
65. Зажигалка по п.63, в которой фиксирующий элемент выполнен с возможностью перемещения между первым положением, в котором исполнительный элемент находится в положении большой силы, и вторым положением, в котором исполнительный элемент находится в положении малой силы, при перемещении исполнительного элемента на заданное расстояние перед фактическим выполнением перемещения фиксирующего элемента, по существу, предотвращается перемещение фиксирующего элемента из первого положения во второе положение.
66. Зажигалка по п.63, в которой при перемещении исполнительного элемента на заданное расстояние перед фактическим выполнением перемещения фиксирующего элемента перемещение фиксирующего элемента не приводит к переключению исполнительного элемента из режима большой силы в режим малой силы.
67. Зажигалка по п.66, дополнительно содержащая плунжерный элемент, в нормальном состоянии соединенный с фиксирующим элементом, причем при перемещении исполнительного элемента на заданное расстояние перед фактическим выполнением перемещения фиксирующего элемента связь фиксирующего элемента с плунжерным элементом прерывается.
68. Зажигалка по п.67, в которой фиксирующий элемент в нормальном состоянии по меньшей мере частично совмещен с плунжером, а при перемещении исполнительного элемента на заданное расстояние перед фактическим выполнением перемещения фиксирующего элемента фиксирующий элемент выходит из совмещения с плунжерным элементом.
69. Зажигалка по п.63, в которой первая сила приведения в действие больше второй силы приведения в действие.
70. Зажигалка, содержащая корпус, имеющий источник подачи топлива, исполнительный элемент, выполненный с возможностью перемещения для избирательного воспламенения топлива, при этом исполнительный элемент соединен с корпусом, подвижный ствольный узел, соединенный с корпусом и оперативно соединенный с исполнительным элементом так, что, когда ствольный узел находится в первом положении, исполнительный элемент является неподвижным в той степени, которая достаточна для предотвращения воспламенения топлива.
71. Зажигалка по п.70, в которой, когда ствольный узел находится по меньшей мере в одном втором положении, исполнительный элемент имеет достаточную возможность перемещения для воспламенения топлива.
72. Зажигалка по п.71, в которой, когда ствольный узел расположен между первым и вторым положениями, исполнительный элемент имеет достаточную возможность перемещения для воспламенения топлива.
73. Зажигалка по п.71, в которой, когда ствольный узел расположен между первым и вторым положениями, исполнительный элемент является неподвижным в достаточной степени для предотвращения воспламенения топлива.
74. Зажигалка по п.70, в которой исполнительный элемент, по существу, является неподвижным, когда ствольный узел находится в первом положении.
75. Зажигалка по п.70, в которой ствольный узел соединен с корпусом с возможностью поворота.
76. Зажигалка по п.70, в которой исполнительный элемент выполнен с возможностью скольжения.
77. Зажигалка по п.76, в которой, когда ствольный узел находится в первом положении, скольжение исполнительного элемента по меньшей мере частично предотвращено.
78. Зажигалка по п.70, дополнительно содержащая кулачковый следящий элемент, оперативно соединенный с корпусом и включающий в себя первую часть для взаимодействия со ствольным узлом и вторую часть для взаимодействия с исполнительным элементом.
79. Зажигалка по п.78, в которой ствольный узел включает в себя поверхность трения кулачка, при этом первая часть кулачкового следящего элемента взаимодействует с поверхностью трения кулачка.
80. Зажигалка по п.79, в которой поверхность трения кулачка образует первое стопорное гнездо для зацепления с первой частью кулачкового следящего элемента, когда ствольный узел находится в первом положении.
81. Зажигалка по п.80, в которой поверхность трения кулачка дополнительно образует второе стопорное гнездо, отстоящее от первого стопорного гнезда для создания сопротивления перемещению ствольного узла, причем первая часть кулачкового следящего элемента входит в зацепление со вторым стопорным гнездом, когда ствольный узел находится во втором положении.
82. Зажигалка по п.81, в которой первое положение представляет собой закрытое положение, а второе положение представляет собой выдвинутое положение, при этом поверхность трения кулачка, кроме того, образует по меньшей мере одно дополнительное стопорное гнездо, расположенное между первым и вторым стопорными гнездами для зацепления с первой частью кулачкового следящего элемента, когда ствольный узел находится по меньшей мере в одном промежуточном положении между первым и вторым положениями.
83. Зажигалка по п.70, в которой исполнительным элементом является триггер.
84. Зажигалка по п.70, в которой исполнительный элемент является частью исполнительного узла.
85. Зажигалка, содержащая корпус, имеющий источник подачи топлива, исполнительный элемент, выполненный с возможностью избирательного воспламенения топлива, при этом исполнительный элемент соединен с корпусом, ствольный узел, соединенный с корпусом с возможностью поворота, при этом ствольный узел имеет положение воздействия на ствол большой силы и положение воздействия на ствол малой силы.
86. Зажигалка по п.85, в которой сила поворота, прилагаемая к точке ствольного узла и достаточная для поворота ствольного узла, больше в положении воздействия на ствол большой силы, чем в положении воздействия на ствол малой силы.
87. Зажигалка по п.85, дополнительно содержащая кулачковый следящий элемент, оперативно соединенный с корпусом и содержащий первую зацепную часть, при этом ствольный узел включает в себя вторую зацепную часть и в положении воздействия на ствол большой силы первая и вторая зацепные части находятся в контакте друг с другом.
88. Зажигалка по п.87, в которой в положении воздействия на ствол малой силы первая и вторая зацепные части находятся на расстоянии друг от друга.
89. Зажигалка по п.87, в которой первая зацепная часть представляет собой наружный выступ, а вторая зацепная часть представляет собой углубление.
90. Зажигалка по п.87, в которой первая зацепная часть представляет собой углубление, а вторая зацепная часть представляет собой наружный выступ.
91. Зажигалка по п.85, в которой ствольный узел выполнен с возможностью поворота между закрытым положением и выдвинутым положением, при этом положения воздействия на ствол большой силы и воздействия на ствол малой силы находятся между закрытым положением и выдвинутым положением.
92. Зажигалка по п.85, в которой ствольный узел выполнен с возможностью скольжения между закрытым положением и выдвинутым положением, при этом положения воздействия на ствол большой силы и воздействия на ствол малой силы находятся между закрытым положением и выдвинутым положением.
93. Зажигалка по п.85, в которой в положении воздействия на ствол большой силы ствольный узел находится в выдвинутом положении, а в положении воздействия на ствол малой силы ствольный узел находится в закрытом положении.
94. Зажигалка по п.85, в которой в положении воздействия на ствол большой силы ствольный узел находится в закрытом положении, а в положении воздействия на ствол малой силы ствольный узел находится в выдвинутом положении.
95. Зажигалка, содержащая корпус, имеющий источник подачи топлива, исполнительный элемент, выполненный с возможностью избирательного воспламенения топлива, при этом исполнительный элемент соединен с корпусом, ствольный узел, подвижный между закрытым положением и выдвинутым положением, при этом ствольный узел расположен и закреплен с возможностью высвобождения по отношению к корпусу по меньшей мере в одном промежуточном положении между закрытым положением и выдвинутым положением.
96. Зажигалка по п.95, в которой ствольный узел с возможностью высвобождения расположен в выдвинутом положении.
97. Зажигалка по п.95, в которой ствольный узел с возможностью высвобождения расположен в закрытом положении.
98. Зажигалка по п.95, дополнительно содержащая кулачковый следящий элемент, оперативно соединенный с корпусом, при этом кулачковый следящий элемент выполнен с возможностью размещения ствольного узла, предусматривающего возможность высвобождения по меньшей мере в одном промежуточном положении.
99. Зажигалка по п.98, в которой исполнительный элемент выполнен с возможностью перемещения для избирательного воспламенения топлива, причем, когда ствольный узел находится в закрытом положении, кулачковый следящий элемент препятствует подвижности исполнительного элемента так, чтобы этого было достаточно для предотвращения воспламенения топлива.
100. Зажигалка по п.99, в которой при расположении ствольного узла в выдвинутом положении кулачковый следящий элемент обеспечивает возможность такого перемещения исполнительного элемента, которое будет достаточным для воспламенения топлива.
101. Зажигалка по п.100, в которой при размещении ствольного узла по меньшей мере в одном промежуточном положении кулачковый следящий элемент препятствует подвижности исполнительного элемента так, чтобы этого было достаточно для предотвращения воспламенения топлива.
102. Зажигалка по п.95, в которой корпус определяет продольную ось, а ствольный узел поворачивается вокруг оси поворота, проходящей в поперечном направлении, которая, по существу, перпендикулярна продольной оси.
103. Зажигалка по п.102, в которой корпус образует первую сторону и вторую сторону, при этом по меньшей мере часть ствольного узла расположена между первой стороной и второй стороной.
104. Зажигалка, содержащая корпус, имеющий источник подачи топлива, исполнительный элемент, выполненный с возможностью перемещения для избирательного воспламенения топлива, при этом исполнительный элемент соединен с корпусом, ствол, соединенный с корпусом и подвижный между первым положением и вторым положением, при этом, когда ствольный узел находится в первом положении, необходимо, чтобы к исполнительному элементу была приложена первая сила приведения в действие, а когда ствольный узел находится во втором положении, необходимо, чтобы к исполнительному элементу была приложена вторая сила приведения в действие, при этом первая сила приведения в действие больше второй силы.
105. Зажигалка по п.104, в которой ствольный узел выполнен с возможностью поворота между первым положением и вторым положением.
106. Зажигалка по п.104, дополнительно содержащая кулачковый следящий элемент, оперативно соединенный с корпусом и включающий в себя первую часть для взаимодействия со ствольным узлом и вторую часть для взаимодействия с исполнительным элементом.
107. Зажигалка, содержащая корпус, имеющий источник подачи топлива, зажигательный узел для воспламенения топлива, ствольный узел, соединенный с корпусом, сопло для выпуска топлива, исполнительный элемент, выполненный с возможностью избирательного приведения в действие зажигательного узла, канал, проходящий через ствольный узел и включающий в себя трубку, образующую проход для перемещения топлива от источника подачи к соплу, навитый по спирали провод, заходящий в канал и электрически соединенный с зажигательным узлом и соплом.
108. Зажигалка по п.107, в которой ствольный узел дополнительно включает в себя металлический ствол, при этом зажигалка дополнительно содержит изолированный провод, обеспечивающий электрическое соединение зажигательного узла с металлическим стволом.
109. Зажигалка по п.108, в которой изолированный провод по меньшей мере частично навит по спирали вокруг трубки.
110. Зажигалка, содержащая корпус, имеющий источник подачи топлива, зажигательный узел для воспламенения топлива, ствольный узел, соединенный с корпусом с возможностью поворота и имеющий сопло, исполнительный элемент, работающий с возможностью избирательного выпуска топлива из сопла и приведения в действие зажигательного узла, по меньшей мере один элемент, соединяющий источник подачи с соплом с возможностью прохождения текучей среды, причем по меньшей мере один элемент электрически подсоединен к зажигательному узлу и к соплу, при этом ствольный узел поворачивается вокруг оси поворота, а по меньшей мере один элемент отстоит от оси поворота и проходит по меньшей мере частично через ствольный узел.
111. Зажигалка по п.110, в которой ствольный узел образует отверстие, отстоящее от оси поворота, а по меньшей мере один элемент проходит через отверстие.
112. Зажигалка по п.111, в которой ствольный узел включает в себя ступицу, поворачивающуюся вокруг оси, причем в ступице образовано отверстие, которое отстоит от оси.
113. Зажигалка по п.110, дополнительно содержащая первый электрод, оперативно удерживаемый корпусом, электропроводный элемент, отстоящий от первого электрода и оперативно удерживаемый корпусом, провод, обеспечивающий электрическое соединение первого электрода с электропроводным элементом, второй электрод, образованный как часть зажигательного узла, электрический проводник, оперативно соединенный с исполнительным элементом таким образом, что перемещение исполнительного элемента приводит к перемещению электрического проводника, при этом электрический проводник электрически соединен с электропроводным элементом.
114. Зажигалка по п.113, в которой электрический проводник выполнен с возможностью скольжения вдоль электропроводного элемента.
115. Зажигалка по п.113, дополнительно включающая в себя ствольный узел, подсоединенный к корпусу с возможностью перемещения, при этом ствольный узел содержит первый электрод на свободном конце, а первым электродом является сопло.
РИСУНКИ
|
|