|
|
(21), (22) Заявка: 2004102370/06, 29.01.2004
(24) Дата начала отсчета срока действия патента:
29.01.2004
(43) Дата публикации заявки: 10.07.2005
(45) Опубликовано: 10.03.2006
(56) Список документов, цитированных в отчете о поиске:
GB 1438499 A, 09.06.1976. SU 1788395 A, 15.01.1993. RU 2156921 C1, 27.09.2000. SU 1665193 A1, 23.07.1991. SU 1112182 A, 07.09.1984.
Адрес для переписки:
105043, Москва, Измайловский б-р, 12, кв.20, А.П. Коршунову
|
(72) Автор(ы):
Коршунов Александр Петрович (RU)
(73) Патентообладатель(и):
Коршунов Александр Петрович (RU)
|
(54) ДЕФЛЕКТОР
(57) Реферат:
Изобретение относится к устройствам, применяемым прежде всего на дымоходных трубах. Дефлектор содержит перекрытие в виде конуса или пирамиды над дымоходной трубой. Задача изобретения заключается в обеспечении высокой эффективности устройства на основе использования скорости ветра при простой конструкции. Для этого перекрытие, закрепленное на вертикальных стержнях над дымоходной трубой внутреннего диаметра D, выполнено в виде полого конуса либо пирамиды с вершиной, имеющей направление вниз, и расположенное на высоте h 0,65 D над дымоходной трубой, а у верхнего сечения последней к стержням прикрепляется раструб, верхние кромки узкого сечения которого соприкасаются с верхними кромками дымоходной трубы. При этом стержни внизу соединены поясом, охватывающим трубу, с разъемом. 4 ил. 
Предлагаемый дефлектор относится к устройствам, применяемым, прежде всего, на дымоходных трубах для использования скорости ветра и увеличения тяги на различных тепловых объектах.
Известен дефлектор в соответствии с патентом РФ №2029910, кл. F 23 L 17/02, опубл. в 1995г. В нем используется скорость ветра для усиления тяги. Однако он настолько сложный и громоздкий, что не заслуживает детального внимания.
То же самое можно сказать о патенте США №4387629, кл. F 23 L 17/02, опубл. в 1983 г. бюл. №6.
Известно изобретение №2008564, кл.5 F 23 J 11/00, опубл. в 1994 г., бюлл. №4, предназначенное с помощью соответствующего устройства защищать кровлю от дождя. Устройство содержит элемент в виде конуса с вершиной, направленной вверх, расположенного над дымоходной трубой и напоминающего формально дефлектор. Однако по существу данный конус нельзя считать дефлектором, поскольку он ни в коей мере не увеличивает тяги в дымоходе, так как увеличивает сопротивление ветра в сравнении с вариантом без него.
Известен дефлектор (см. патент GB 1438499, публ. 09.06.1976, кл. F 28 F 19/00). Он содержит перекрытие в виде конуса, вершина которого направлена вниз. Конус опирается на вертикальные стержни, приваренные к внутренней стенке дымоходной трубы.
Недостатки данного дефлектора: 1) недостаточно эффективен, так как сужение потока воздуха от ветра происходит благодаря лишь конусу, 2) не указана высота расположения конуса дымохода, что очень важно, так как при недопустимо низкой высоте конус создает аэродинамическое сопротивление движению газов в дымоходе и тяга в последнем понижается, 3) приваренные к внутренней стенке трубы вертикальные стержни также отрицательно влияют на тягу в дымоходе, являясь дополнительным аэродинамическим сопротивлением, 4) перекрытие является неотъемным от трубы; стержни невозможно приварить к кирпичному дымоходу.
Задачей изобретения является повышение эффективности использования скорости ветра для усиления тяги в дымоходной трубе при простейшей конструкции дефлектора.
Задача решается тем, что над дымоходной трубой внутреннего диаметра D полый конус или полая пирамида крепится на высоте h 0,65D, а в непосредственной близости от верхних кромок дымоходной трубы крепится раструб, кромки узкого сечения которого соприкасаются с верхними внешними кромками дымоходной трубы; при этом стержни, на которых крепятся конус и раструб, внизу соединены поясом с разъемом.
«Дефлектор, содержащий закрепленное на вертикальных стержнях над дымоходной трубой внутреннего диаметра D перекрытие в виде направленного вершиной вниз конуса либо пирамиды, отличающийся тем, что конус (либо пирамида) расположен над дымоходной трубой на высоте h 0,65D, а у верхних кромок дымоходной трубы к стержням крепится раструб, верхние кромки узкого сечения которого соприкасаются с верхними внешними кромками дымоходной трубы; при этом стержни внизу соединены поясом в виде металлических полос с разъемом.».
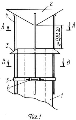
На фиг.1 представлен общий вид устройства, вид сбоку, на фиг.2 – то же в плане, на фиг.3 и фиг.4 – соответственно разрезы А-А и В-В на фиг.1.
На верхнем участке дымоходной трубы 1 монтируется устройство в виде конуса 2 с вершиной, направленной вниз. Конус закреплен на стержнях 4, которые проходят сквозь раструб 3. Верхние кромки узкого сечения последнего соприкасаются с верхними внешними кромками дымоходной трубы. Нижние концы стержней соединены поясом в виде металлических полос с разъемом.
Дефлектор работает следующим образом.
При ветре с любой стороны воздух движется над дымоходной трубой 1 между конусом 2 и раструбом 3, закрепленными на стержнях 4 и соединенными внизу поясом с разъемом 5. При этом в средней зоне скорость воздуха увеличивается не только благодаря конусу, но и раструбу, что обусловливает снижение давления в этой зоне, и, следовательно, увеличивается тяга в дымоходной трубе.
Следует иметь в виду, что сопротивление движению потока в дымоходной трубе от встречи его с конусом (или пирамидой) не изменяется при h 0,65D (см. “Справочник по гидравлическим сопротивлениям”, автор Идельчик И.Е., 1975 г. М., “Машиностроение”, стр.412).
Разъем 6 облегчает установку устройства на дымоходной трубе.
Применение предложенного дефлектора позволит увеличить тягу в дымоходных трубах, как в промышленности, так и в сельском хозяйстве, что имеет большое значение для более эффективной эксплуатации различных тепловых объектов (лучше сгорает топливо, меньшая высота дымоходных труб, дальше рассеиваются вредности).
Формула изобретения
Дефлектор, содержащий закрепленное на вертикальных стержнях над дымоходной трубой внутреннего диаметра D перекрытие в виде направленного вершиной вниз конуса либо пирамиды, отличающийся тем, что конус (либо пирамида) расположен над дымоходной трубой на высоте h 0,65D, а у верхних кромок дымоходной трубы к стержням крепится раструб, верхние кромки узкого сечения которого соприкасаются с верхними внешними кромками дымоходной трубы, при этом стержни внизу соединены поясом в виде металлических полос с разъемом.
РИСУНКИ
|
|