|
(21), (22) Заявка: 2003103453/11, 05.02.2003
(24) Дата начала отсчета срока действия патента:
05.02.2003
(43) Дата публикации заявки: 10.08.2004
(45) Опубликовано: 10.03.2006
(56) Список документов, цитированных в отчете о поиске:
SU 1402739 A1, 15.06.1988. SU 1587271 A1, 23.08.1990. SU 1364792 A1, 07.01.1988. SU 1728560 A1, 23.04.1994.
Адрес для переписки:
664074, г.Иркутск, ул. Чернышевского, 15, Иркутский государственный университет путей сообщения
|
(72) Автор(ы):
Тупицын Альберт Алексеевич (RU), Тупицын Алексей Альбертович (RU)
(73) Патентообладатель(и):
Иркутский государственный университет путей сообщения (ИрГУПС) (RU)
|
(54) ЗУБЧАТАЯ РОЛИКОВИНТОВАЯ ПЕРЕДАЧА
(57) Реферат:
Изобретение относится к машиностроению и может быть использовано для преобразования движения от быстроходных двигателей к рабочим органам машин, двигающимся с малыми угловыми скоростями. Передача содержит винт 1 с замкнутой винтовой канавкой, неподвижное колесо 4, ведомое колесо 6 и контактирующие с ними ролики. Ролики совершают возвратно-поступательное движение вдоль оси передачи. Внутренний ролик перемещается по замкнутой винтовой канавке. Наружный ролик 5 вращает ведомое колесо 6. Ось 3 между роликами обкатывается по зубьям неподвижного колеса 4, зубья которого нарезаны по торцу и имеют винтовой профиль. Технический результат – уменьшение износа деталей передачи за счет замены трения скольжения трением качения, повышение КПД. 5 ил. 
Предлагаемое изобретение касается конструкции механических передач и направлено на повышение их передаточного отношения и несущей способности при малых габаритах.
В настоящее время в различных приводах наибольшее распространение получили зубчатые передачи. Они используются для преобразования движения от быстроходных двигателей к рабочим органам машин, двигающимся с малыми угловыми скоростями.
Важнейшей характеристикой каждой передачи является передаточное отношение

где zк – число зубьев колеса;
zш – число зубьев шестерни.
Для одноступенчатой зубчатой передачи рекомендуется соотношение i 6, так как при i>6 возрастают габариты передачи. При больших значениях i применяются многоступенчатые варианты, а это приводит к увеличению металлоемкости приводов.
Червячные передачи позволяют в одной ступени добиться передаточных отношений от 8 до 32, но чем больше i, тем меньше коэффициент полезного действия (КПД) передачи.
Используемые в технике двухволновые зубчатые передачи дают возможность получить в одной ступени i=80…300, но они имеют существенный недостаток – недолговечность ведомого гибкого колеса. Это обусловлено неизбежно большими деформациями гибкого колеса при циклически меняющихся напряжениях, что заставляет использовать передачу в приводах кратковременного действия с минимальным передаточным отношением imin=80.
Планетарные передачи (имеющие хотя бы одну подвижную ось зубчатого колеса) при небольших передаточных отношениях (i10) имеют высокий КПД. Однако для получения больших значений i применяют двух-, трехступенчатые планетарные механизмы. В этом случае КПД значительно снижается. Кроме того, планетарные передачи требуют высокой точности изготовления колес, валов и опор, что повышает их стоимость.
В последнее время разрабатываются и исследуются нетрадиционные планетарные передачи, в которых сложное движение совершают не зубчатые колеса, а, например, тела качения.
Известна планетарная передача [1], состоящая из корпуса, ведущего диска с торцовым кулачком, ведомого диска с торцовыми зубьями, подвижного диска (сепаратора) с прорезями, в которых размещены ролики с возможностью перемещения вдоль оси передачи и неподвижного диска с торцовыми зубьями, связанного с корпусом.
При вращении ведомого диска его торцовый кулачок воздействует на ролики и перемещает их поочередно во впадины неподвижного диска, ролики совершают планетарное движение, вращая сепаратор. Одновременно ролики входят во впадины ведомого диска, заставляя его вращаться.
При соответствующем подборе числа зубьев дисков (колес) можно получить значительные передаточные отношения.
Однако эта передача имеет существенный недостаток, заключающийся в том, что каждый ролик находится в одновременном зацеплении с тремя зубчатыми колесами, имеющими разные скорости вращения (одно из них неподвижно). Таким образом, во время работы ролик не перекатывается, а скользит по рабочим поверхностям зубьев.
Предлагаемая конструкция исключает подобный недостаток заменой ролика на пару роликов, расположенных на одной оси.
Такое техническое решение позволит заменить трение скольжения трением качения, что приведет к уменьшению износа деталей передачи и повысит коэффициент полезного действия.
Рассмотрим принципы работы зубчатой роликовинтовой передачи.
На фиг.1 показана развертка ведущего звена 1, представляющего собой винт с замкнутой винтовой канавкой прямоугольного сечения, которая проецируется на плоскость в виде правильной ломаной линии, содержащей два отрезка с правым направлением и два с левым.
В винтовой канавке расположены тела качения 2, четыре ролика, которые свободно вращаются на осях 3. Ролики равномерно распределены по окружности винта.
Винт 1 помещен внутри неподвижного зубчатого колеса 4, зубья которого нарезаны по торцу и имеют винтовой профиль (фиг.2). Ось 3 роликов сопрягается с неподвижным колесом 4. Развертки винта 1 и неподвижного колеса 4 на схеме совмещены. При перемещении развертки винта 1 вправо (что соответствует его вращению по часовой стрелке) и при неподвижном колесе 4 ролики будут двигаться в том же направлении с траекторией движения, соответствующей профилю зубьев неподвижного колеса. Оси 3 будут перекатываться по зубьям колеса 4.
На фиг.3 показаны развертки поверхностей винта 7, неподвижного зубчатого колеса 4 и ведомого колеса 6, приведенных условно к одному диаметру.
При движении роликов по траектории, соответствующей профилю зубьев неподвижного колеса, ролики 5 входят в зацепление с зубьями ведомого колеса 6. При числе зубьев ведомого колеса z6, равном числу зубьев неподвижного колеса z4, ведомое колесо будет неподвижно. При z6>z4 направление движения ведомого колеса совпадает с круговым движением роликов. При z64 ведомое колесо будет двигаться в направлении, противоположном движению роликов. Большие передаточные отношения можно реализовать при условии z64.
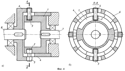
На фиг.4 приведена конструктивная схема зубчатой роликовинтовой передачи. На ведущем валу 7 закреплен винт 1, имеющий в винтовой канавке четыре ролика 2, помещенных на ось 3. При вращении винта 1 движение от внутренних роликов передается на оси 3, которые перекатываются по зубьям неподвижного колеса 4. Внешние ролики 5 входят в зацепление с зубьями ведомого колеса 6, помещенного на ведомом валу 8, и приводят его в движение.
Число зубьев неподвижного колеса z4=14, ведомого колеса z6=10.
В этом случае круговое вращение роликов заставляет двигаться ведомое колесо в том же направлении, а осевое перемещение роликов вращает ведомое колесо в обратном направлении.
Число оборотов ведомого колеса равно

где nр – число оборотов вращательного движения роликов относительно оси передачи;
– число оборотов ведомого колеса, вызванное осевым перемещением роликов.
Имеем
; ,
где n1 – число оборотов винта;
z1=2 для данной винтовой линии.
Тогда .
Передаточное отношение определится следующим образом

Для передачи, представленной на конструктивной схеме, передаточное отношение равно:

Знак “минус” говорит о том, что направления вращения ведущего и ведомого колес не совпадают.
Винт можно выполнить с z=1, но тогда нагрузка на звеньях будет несимметричной, при z=3 увеличатся габариты передачи.
Принцип работы передачи исследовался с помощью геометрических построений, разверток звеньев, а также на макете (фиг.5), изготовленном в соответствии с конструктивной схемой (фиг.4). Анализ результатов показал, что данная конструкция может реализовывать передаточные отношения
| при |
z6=10; |
z4=14 |
i=17,5; |
| |
z6=14; |
z4=18 |
i=31,5; |
| |
z6=18; |
z4=22 |
i=49,5; |
| |
z6=22; |
z4=26 |
i=71,5; |
и т.д.
Источники информации
1. SU 1587271 А1. Планетарная передача. 23.08.1990.
2. SU 1364792 А1. Планетарная зубчато-винтовая передача. 07.01.1988.
Формула изобретения
Механическая передача, содержащая винт с замкнутой винтовой канавкой, ведомое колесо и контактирующие с ними ролики, размещенные с возможностью возвратно-поступательного движения вдоль оси передачи и расположенные на оси так, что внутренний ролик перемещается по замкнутой винтовой канавке, наружный ролик вращает ведомое колесо, отличающаяся тем, что ось между роликами обкатывается по зубьям неподвижного колеса, зубья которого нарезаны по торцу и имеют винтовой профиль.
РИСУНКИ
|