|
(21), (22) Заявка: 2004122334/11, 20.07.2004
(24) Дата начала отсчета срока действия патента:
20.07.2004
(45) Опубликовано: 10.03.2006
(56) Список документов, цитированных в отчете о поиске:
US 4033646 А, 05.07.1977. SU 238291 А1, 01.01.1969. RU 2142078 С1, 27.11.1999. US 1941460 А, 02.01.1934.
Адрес для переписки:
220026, г.Минск, ул. Жилуновича, 2, ОАО “Минский подшипниковый завод”
|
(72) Автор(ы):
Гагасов Александр Матвеевич (BY), Павлович Анатолий Владимирович (BY), Козлов Анатолий Борисович (BY), Достанко Геннадий Александрович (BY)
(73) Патентообладатель(и):
Открытое акционерное общество “Минский подшипниковый завод” (BY)
|
(54) РОЛИКОВЫЙ СФЕРИЧЕСКИЙ ДВУХРЯДНЫЙ ПОДШИПНИК
(57) Реферат:
Изобретение относится к области машиностроения, в частности к подшипникам качения, работающим в условиях вибрации, и может быть использовано, например, в грохотах, молотковых мельницах, выбивных решетках. Роликовый сферический двухрядный подшипник содержит наружное кольцо со сферической дорожкой качения, внутреннее кольцо с двумя тороидальными дорожками качения, бочкообразные ролики и массивный сепаратор с фланцем, содержащим два противоположных плоских участка, параллельных друг другу. На наружной поверхности фланца сепаратора выполнены канавки. Сепаратор может быть выполнен цельным либо состоять из двух полусепараторов. Канавки могут быть выполнены продольными, спиральными, шевронными. Технический результат – повышение долговечности подшипника для работы в условиях вибрации как при жидкой, так и при консистентной смазке за счет улучшения смазывания наружной поверхности фланца сепаратора, контактирующей с дорожкой качения наружного кольца. 5 з.п. ф-лы, 6 ил. 
Настоящее изобретение относится к области машиностроения, в частности к подшипникам качения, работающим в условиях вибрации, и может быть использовано, например, в грохотах, молотковых мельницах, выбивных решетках.
Известен сферический роликовый подшипник по заявке на выдачу европейского патента ЕР 0651168 А1, опубл. 1995 г.
Подшипник содержит наружное кольцо со сферической дорожкой качения, внутреннее кольцо с двумя тороидальными дорожками качения, два ряда роликов, установленных между дорожками качения, сепаратор дли каждого ряда роликов и направляющее кольцо, расположенное между рядами роликов.
В данном подшипнике направляющее кольцо центрируется наружным кольцом, а сепараторы – направляющим кольцом. Для обеспечения этого существуют зазоры между внутренними фланцами сепараторов и внутренним кольцом, между наружными фланцами сепараторов и направляющим кольцом, между направляющим и наружным кольцами.
Для обеспечения нормальной работы подшипника зазор между внутренними фланцами сепараторов и внутренним кольцом должен быть больше, чем сумма зазоров между наружными фланцами сепараторов и направляющим кольцом и между направляющим и наружным кольцами.
Недостатком данной конструкции является сложность изготовления данного подшипника из-за необходимости точного подбора зазоров. В случае увеличения одного из зазоров, при работе подшипника, из-за износа направляющего кольца или фланцев работоспособность подшипника будет низкой.
Наиболее близким к заявляемому является роликовый подшипник с вращающимся направляющим сепаратором по патенту США № 4033646, опубл. 1977 г.
Подшипник содержит наружное кольцо со сферической дорожкой качения, внутреннее кольцо с двумя тороидальными дорожками качения, два массивных полусепаратора, центрируемых дорожкой качения наружного кольца. В наружном кольце имеются радиальные отверстия для подачи смазки, а сепаратор содержит открытую снаружи канавку, ширина которой больше диаметра указанных отверстий и которая служит резервуаром для накопления смазки.
Недостатком данной конструкции является то, что резервуар для смазки не предназначен для смазывания поверхности дорожки качения наружного кольца и фланцев полусепараторов, а только внутренних трущихся поверхностей полусепараторов. В результате недостаточного смазывания центрирующих поверхностей происходит местный разогрев данного участка наружного кольца и, как следствие, преждевременный выход подшипника из строя.
Технической задачей, на решение которой направлено предлагаемое изобретение, является повышение долговечности подшипника для работы в условиях вибрации как при жидкой, так и при консистентной смазке за счет улучшения смазывания наружной поверхности фланца сепаратора, контактирующей с дорожкой качения наружного кольца.
Поставленная задача решается тем, что в роликовом сферическом двухрядном подшипнике, содержащем наружное кольцо со сферической дорожкой качения, внутреннее кольцо с двумя тороидальными дорожками качения, два ряда бочкообразных роликов, установленных между дорожками качения, массивный сепаратор с фланцем, содержащим два противоположных плоских участка, параллельных друг другу, согласно изобретению, на наружной поверхности фланца сепаратора выполнены канавки. Канавки сепаратора могут быть выполнены продольными, спиральными, шевронными.
Изобретение поясняется чертежами.
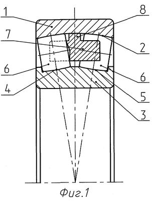
На фиг.1 изображен осевой разрез роликового сферического двухрядного подшипника с цельным сепаратором;
на фиг.2 – осевой разрез роликового сферического двухрядного подшипника с сепаратором, состоящим из двух полусепараторов;
на фиг.3 – сепаратор роликового сферического двухрядного подшипника, вид спереди;
на фиг.4 – сепаратор роликового сферического двухрядного подшипника с продольными канавками;
на фиг.5 – сепаратор роликового сферического двухрядного подшипника со спиральными канавками;
на фиг.6 – сепаратор роликового сферического двухрядного подшипника с шевронными канавками.
Роликовый сферический двухрядный подшипник содержит наружное кольцо 1 со сферической дорожкой качения 2, внутреннее кольцо 3 с двумя тороидальными дорожками качения 4 и 5, бочкообразные ролики 6, сепаратор 7. Сепаратор 7 имеет фланец 8 с канавками 9.
Фланец 8 сепаратора 7 содержит два противоположных плоских участка А, параллельных друг другу. Сферические поверхности Б фланца 8 сепаратора 7, выполненные радиусом R, и плоские участки А сопряжены между собой радиусом r.
Работа подшипника в условиях вибрации характеризуется наличием инерционных нагрузок, вызванных колебательным движением подшипника вместе с машиной. Усилия, развиваемые дебалансными массами, создают повышенную радиальную нагрузку. Для уменьшения воздействия нагрузок сепаратор в таких подшипниках центрируется по наружному кольцу. Однако и при таком центрировании возможны негативные эффекты. При вращении вала вместе с дебалансом возникают инерционные силы, которые вызывают круговую или эллиптическую вибрацию; также возможно возникновение резонансного эффекта при совпадении колебаний системы с собственными колебаниями сепаратора. При этом происходит периодическое увеличение контактного давления в зоне контакта фланца сепаратора и дорожки качения наружного кольца, что приводит к выдавливанию смазки из этих зон, появлению сухого трения.
Следовательно, для подшипников, работающих в условиях вибрации, особенно важно обеспечить надежное смазывание контактирующих поверхностей. В предлагаемом подшипнике это достигается следующим образом.
При применении жидкой смазки канавки 9 за счет того, что они выполнены по всей ширине фланца 8, облегчают истечение масла в зону контакта, позволяют улучшить условия смазывания контактирующих поверхностей фланца 8 сепаратора 7 и дорожки качения 2 наружного кольца 1 и уменьшить их трение.
Пари применении консистентной смазки канавки 9 служат дополнительным резервуаром для ее накопления. При работе подшипника смазка выделяется из канавок 9 и попадает на контактирующие поверхности фланца 8 сепаратора 7 и дорожки качения 2 наружного кольца 1.
Наличие канавок 9 гарантирует, что смазка не будет выдавлена из зоны контакта даже при увеличении контактного давления между фланцем 8 сепаратора 7 и дорожкой качения 2 наружного кольца 1.
За счет того, что сферические поверхности Б и плоские участки А фланца 8 сепаратора 7 сопряжены между собой по радиусу r, улучшается процесс образования масляной пленки в зоне контакта.
Таким образом, предлагаемый подшипник обладает улучшенными условиями смазывания контактарующих поверхностей фланца 8 сепаратора 7 и дорожки качения 2 наружного кольца 1, что ведет к уменьшению износа этих поверхностей и, как следствие, увеличению срока службы подшипника.
Формула изобретения
1. Роликовый сферический двухрядный подшипник, содержащий наружное кольцо со сферической дорожкой качения, внутреннее кольцо с двумя тороидальными дорожками качения, бочкообразные ролики и массивный сепаратор с фланцем, содержащим два противоположных плоских участка, параллельных друг другу, отличающийся тем, что на наружной поверхности фланца сепаратора выполнены канавки.
2. Роликовый сферический двухрядный подшипник по п.1, отличающийся тем, что сепаратор выполнен из двух полусепараторов.
3. Роликовый сферический двухрядный подшипник по п.1, отличающийся тем, что сферические поверхности фланца сепаратора и его плоские участки сопряжены между собой.
4. Роликовый сферический двухрядный подшипник по п.1, отличающийся тем, что канавки выполнены продольными.
5. Роликовый сферический двухрядный подшипник по п.1, отличающийся тем, что канавки выполнены спиральными.
6. Роликовый сферический двухрядный подшипник по п.1, отличающийся тем, что канавки выполнены шевронными.
РИСУНКИ
|