|
(21), (22) Заявка: 2003134197/06, 25.11.2003
(24) Дата начала отсчета срока действия патента:
25.11.2003
(43) Дата публикации заявки: 20.05.2005
(45) Опубликовано: 10.03.2006
(56) Список документов, цитированных в отчете о поиске:
SU 1325202 A1, 23.07.1987. SU 229958 А, 23.10.1968. SU 906212 А, 10.10.1980. EP 033571 A1, 12.08.1981. WO 89/03483 A1, 20.04.1989.
Адрес для переписки:
400005, г.Волгоград, ул. 7-я Гвардейская, 2, комн.324, ООО “Интов”
|
(72) Автор(ы):
Тетерин Вячеслав Николаевич (RU)
(73) Патентообладатель(и):
Общество с ограниченной ответственностью “Интов” (RU)
|
(54) ПНЕВМОГИДРАВЛИЧЕСКИЙ АККУМУЛЯТОР
(57) Реферат:
Изобретение относится к гидравлическим аккумуляторам энергии и может быть использовано в различных гидросистемах. Пневмогидравлический аккумулятор содержит цилиндрический корпус с газовой и жидкостной полостями, отделенными друг от друга разделителем сред поплавкового типа, а также отсечной клапан, снабженный затвором и седлом, которые выполнены в форме усеченных конусов и размещены соответственно на днище разделителя сред и на штуцере подвода жидкости, причем днище разделителя сред выполнено в виде затвора с внутренней конической поверхностью, а седло – с наружной ответной сопрягаемой поверхностью. Технический результат – уменьшение инерционности разделителя сред, снижение трудоемкости изготовления затвора, увеличение надежности и долговечности работы отсечного клапана. 3 ил. 
Изобретение относится к гидравлическим аккумуляторам энергии и может быть использовано в различных гидросистемах, например в системе гидроуправления противовыбросовым оборудованием.
В пневмогидравлических аккумуляторах аккумулирование и возврат энергии происходит вследствие сжатия и расширения газа, причем жидкость может находиться в непосредственном контакте с газом или отделяться от него с помощью мембраны, баллона, поршня, поплавка.
Баллонные и мембранные аккумуляторы менее инерционны и имеют меньшие размеры и массу, но у них ограниченный ресурс резинового разделителя сред. Поршневые и поплавковые аккумуляторы более долговечны, но и более инерционны, что снижает быстродействие системы гидроуправления.
Известен пневмогидравлический аккумулятор, наиболее близкий к предлагаемому. Он содержит корпус с газовой и жидкостной полостями, отделенными друг от друга разделителем сред поплавкового типа, а также отсечной клапан, снабженный массивным затвором и седлом, которые выполнены в форме усеченных конусов и размещены соответственно на днище разделителя сред и на штуцере подвода жидкости, (а.с. №1325202).
Недостатком такого аккумулятора является высокая инерционность разделителя сред из-за размещения на нем массивного затвора.
Помимо этого большая масса затвора снижает ресурс сопряжения затвор-седло.
Крепление затвора к днищу с помощью крепежного элемента ухудшает условия монтажа, удорожает процесс изготовления и снижает надежность узла затвор-днище и в конечном счете отсечного клапана.
Кроме того, при больших скоростях разрядки аккумулятора возможно возникновение гидроудара в линии разрядки из-за отсутствия плавного снижения скорости посадки разделителя сред на штуцер.
Цель изобретения – снижение инерционности аккумулятора, увеличение надежности и долговечности работы отсечного клапана и снижение трудоемкости его изготовления, устранение возможности возникновения гидроударов в линии разрядки пневмогидроаккумулятора.
Цель достигается тем, что днище разделителя сред выполнено в виде затвора с внутренней конической поверхностью, а седло – с наружной ответной сопрягаемой поверхностью.
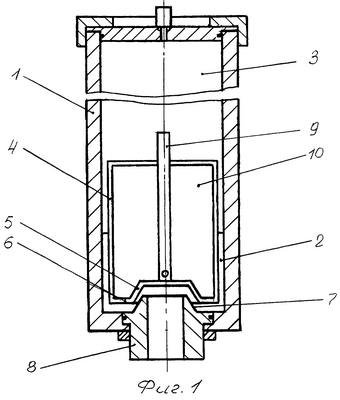
На фиг.1 изображен пневмогидравлический аккумулятор, продольный разрез.
Аккумулятор содержит цилиндрический корпус 1, в котором образованы газовая 2 и жидкостная 3 полости, отделенные между собой разделителем сред 4 поплавкового типа.
Отсечной клапан имеет затвор 5, выполненный в днище 6 разделителя сред 4, и седло 7, размещенное на штуцере 8 подвода жидкости. И затвор 5, и седло 7 имеют форму усеченного конуса, причем у затвора 5 внутренняя, а у седла 7 наружная конические поверхности. Полая трубка 9 сообщает внутреннюю полость 10 разделителя 4 с газовой полостью 2.
На фиг.2 и фиг.3 показаны варианты установки дополнительного уплотнения 11 на затворе 5.
Аккумулятор работает следующим образом.
При разрядке аккумулятора до запирания штуцера 8 разделитель сред 4 с затвором 5 в днище 6 удалены от штуцера 8 на расстояние, определяемое уровнем жидкости в аккумуляторе.
Под действием давления газа в газовой полости 2 разделитель сред 4 начинает перемещаться вниз в корпусе 1 и вытеснять жидкость в гидросистему через отверстие в штуцере 8. По окончании процесса опорожнения жидкостной полости 3 вытеснение жидкости происходит сначала через кольцевой зазор, образованный внутренней конусной поверхностью затвора 5 и наружной конусной поверхностью седла 7. При этом вытесняемый поток жидкости меняет направление, создавая гидродинамическую силу, направленную вертикально вверх в сторону днища 6. Это вызывает торможение разделителя сред 4 и, тем самым, снижение скорости его движения. Затем поток жидкости вновь меняет направление движения и плавно вытесняется разделителем сред 4 в отверстие штуцера 8.
Согласно закону классической механики кинетическая энергия тела (в данном случае разделителя сред 4) напрямую зависит от массы и скорости движения тела и выражается формулой
,
где
| Е – кинетическая энергия |
|
| m – масса |
разделителя сред 4 |
| V- скорость движения |
|
m – уменьшена за счет выполнения днища 6 в виде затвора 5;
V – снижена за счет выполнения затвора 5 с внутренней конической поверхностью, а седла 7 с наружной ответной сопрягаемой поверхностью, то можно сделать вывод о том, что кинетическая энергия Е разделителя сред 4 снижена, так как она напрямую зависит от величины его массы m и скорости движения V. Это позволяет плавно посадить затвор 5, перемещающийся с разделителем сред 4, на седло 7 и обеспечить безударную посадку разделителя 4 на штуцер 8.
Надежность герметизации соединения седло-затвор обеспечивается установкой дополнительного уплотнения 11, размещенного на затворе 5.
При зарядке аккумулятора рабочая жидкость под давлением, превышающим давление зарядки газа, воздействует на затвор 5 и открывает его, поступая в аккумулятор, при этом разделитель сред 4 всплывает.
Отсутствие деформации тонкостенного разделителя 4 под действием перепада давления обеспечивается сообщением его внутренней полости 10 с газовой полостью 2 через трубку 9.
Таким образом, предлагаемая конструкция пневмогидравлического аккумулятора за счет выполнения днища 6 в виде затвора 5 позволяет снизить кинетическую энергию разделителя сред 4, снизить трудоемкость изготовления затвора 5, увеличить надежность и долговечность работы отсечного клапана.
К тому же сочетание уменьшенной инерционности разделителя сред 4 с предлагаемой формой выполнения затвора 5 и седла 7 позволяют обеспечить плавную посадку затвора 5 на седло 7 и, тем самым, избежать гидроударов в системе.
Формула изобретения
Пневмогидравлический аккумулятор, содержащий цилиндрический корпус с газовой и жидкостной полостями, отделенными друг от друга разделителем сред поплавкового типа, а также отсечной клапан, снабженный затвором и седлом, которые выполнены в форме усеченных конусов и размещены соответственно на днище разделителя сред и на штуцере подвода жидкости, отличающийся тем, что днище разделителя сред выполнено в виде затвора с внутренней конической поверхностью, а седло – с наружной ответной сопрягаемой поверхностью.
РИСУНКИ
|