|
(21), (22) Заявка: 2004121023/06, 08.07.2004
(24) Дата начала отсчета срока действия патента:
08.07.2004
(45) Опубликовано: 10.03.2006
(56) Список документов, цитированных в отчете о поиске:
RU 2101571 C1, 10.01.1998. SU 714048 A, 05.02.1980. SU 278948 A, 18.11.1970. US 5738505 A, 14.04.1998. US 1475683 A, 27.11.1923.
Адрес для переписки:
394026, г.Воронеж, Московский пр-кт, 14, ВГТУ, патентный отдел
|
(72) Автор(ы):
Валюхов Сергей Георгиевич (RU), Скуфинский Александр Иванович (RU), Булыгин Юрий Александрович (RU)
(73) Патентообладатель(и):
Воронежский государственный технический университет (RU)
|
(54) МНОГОФАЗНЫЙ ВИНТОВОЙ НАСОС
(57) Реферат:
Изобретение относится к области машиностроения, в частности к конструкциям многофазных винтовых насосов для перекачки газосодержащих многокомпонентных смесей. Многофазный винтовой насос содержит корпус с установленным в нем одним или более рабочим ротором с винтовой нарезкой с образованием полости всасывания и полости нагнетания, сообщенных между собой перепускной линией для жидкой фазы с образованием циркуляционного контура. Перепускная линия выполнена в виде одной или более сплошной винтовой канавки на гребне нарезки ротора. Упрощается конструкция и снижаются габариты насоса, уменьшается расход циркулирующей жидкой фракции и обеспечивается работоспособность насоса при длительной работе в режиме сухого хода, а в целом обеспечивается значительное повышение КПД насоса. 1 з.п. ф-лы, 2 ил. 
Предлагаемое изобретение относится к области машиностроения, в частности к конструкциям многофазных винтовых насосов для перекачки газосодержащих многокомпонентных смесей.
При перекачке винтовым насосом многокомпонентных смесей с высоким содержанием газа или при сухом ходе жидкая фаза обычно выносится полностью. Рабочие роторы винтового насоса вращаются в таком случае без жидкости, уплотняющие зазоры и сам насос уже не обеспечивает полного давления, что ведет к снижению объемного КПД. Образующееся при сжатии газовой фазы тепло отводится недостаточно. Происходит перегрев рабочих роторов и корпуса насоса с неизбежным тепловым расширением последних, что влечет за собой выход из строя опор роторов насоса вследствие задевания последних друг за друга и за стенки корпуса.
Кроме того, при высоком содержании газовой фазы и сухом ходе наблюдается недостаточная смазка уплотнений валов роторов, что приводит к их перегреву и разрушению. Для решения этой проблемы используют, например, постоянную смазку и постоянное охлаждение с помощью внешней маслостанции [Патент Великобритании №227057, МПК7 F 04 С 2/16, 1999 г.]. Однако подобные маслостанции являются дорогостоящими и восприимчивыми к повреждениям, что ухудшает экономичность и снижает надежность многофазных насосов.
В качестве прототипа выбран многофазный винтовой насос, содержащий корпус с установленным в нем одним или более рабочим ротором с винтовой нарезкой с образованием полости всасывания и полости нагнетания, сообщенных между собой внешней перепускной линией для жидкой фазы с образованием циркуляционного контура [Патент РФ №2101571, МПК7 F 04 С 2/16, 1998 г.].
Недостатками известного винтового насоса являются сложность конструкции и большие габариты из-за внешнего (относительно корпуса) выполнения перепускной линии, недостаточное уплотнение зазоров циркулирующей жидкостью из-за того, что она подается не непосредственно в уплотняемые зазоры, а во всасывающую полость и впадины винтовых роторов, что требует повышенной подачи циркулирующей жидкой фракции и невозможно при длительной работе насоса в режиме сухого хода, так как его конструкция не обеспечивает удержания необходимого количества жидкой фракции в зоне нагнетания (она постепенно уносится в магистральный трубопровод).
Задачей, на решение которой направлено предлагаемое изобретение, является устранение указанных недостатков, а также обеспечение возможности смазки согласующих шестерен рабочих роторов жидкой фракцией перекачиваемой многофазной смеси.
Поставленная задача решается тем, что в многофазном винтовом насосе, содержащем корпус с установленным в нем одним или более рабочим ротором с винтовой нарезкой с образованием полости всасывания и полости нагнетания, сообщенных между собой перепускной линией для жидкой фазы с образованием циркуляционного контура, согласно изобретению перепускная линия выполнена в виде одной или более сплошной винтовой канавки на гребне нарезки ротора.
Для обеспечения возможности гравитационного отделения жидкой фазы и смазки ею согласующих шестерен роторы могут быть установлены вертикально, а их согласующие шестерни расположены внизу, при этом всасывающая полость выполнена в нижней, а нагнетательная полость в верхней части корпуса соответственно.
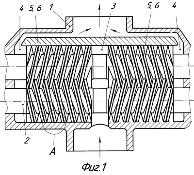
Предлагаемое изобретение иллюстрировано чертежом, на котором схематично представлен винтовой насос в разрезе.
Перечень обозначений на чертеже:
1 – корпус винтового насоса;
2 – рабочий ротор;
3 – полость всасывания;
4 – полость нагнетания;
5 – перепускная линия;
6 – винтовая канавка;
7 – гребень винтовой нарезки ротора.
Винтовой насос содержит корпус 1, внутри которого установлены винтовые рабочие роторы 2 с образованием полостей всасывания и нагнетания 3 и 4 соответственно, сообщенных между собой перепускной линией 5, выполненной в виде сплошной винтовой канавки 6 на гребне 7 винтовой нарезки каждого ротора 2.
Работа винтового насоса происходит следующим образом.
При включении электропривода насоса происходит синхронное вращение винтовых рабочих роторов 2. Винтовые нарезки синхронно вращающихся рабочих роторов 2, взаимно замыкаясь, отсекают некоторый объем многофазной смеси, перемещают ее поступательно из полости 3 в полость 4 вдоль оси рабочих роторов 2 и вытесняют затем в сторону напорного трубопровода (не показано). Под действием перепада давления в полостях 3 и 4 часть жидкой фракции постоянно циркулирует между вышеуказанными полостями насоса по винтовой канавке 6, что обеспечивает непрерывное жидкостное газоуплотнение зазоров между рабочими поверхностями роторов 2 и корпуса 1 насоса, сохраняя работоспособность последнего при прохождении смеси с высоким газосодержанием или газовой пробки.
Использование предлагаемого изобретения существенно упрощает конструкцию и снижает габариты многофазного винтового насоса, уменьшает расход циркулирующей жидкой фракции и обеспечивает работоспособность насоса при длительной работе в режиме сухого хода, а в целом обеспечивает значительное повышение КПД многофазного винтового насоса.
Формула изобретения
1. Многофазный винтовой насос, содержащий корпус с установленным в нем одним или более рабочим ротором с винтовой нарезкой с образованием полости всасывания и полости нагнетания, сообщенных между собой перепускной линией для жидкой фазы с образованием циркуляционного контура, отличающийся тем, что перепускная линия выполнена в виде одной или более сплошной винтовой канавки на гребне нарезки ротора.
2. Многофазный винтовой насос по п.1, отличающийся тем, что роторы установлены вертикально, а их согласующие шестерни расположены внизу, при этом всасывающая полость выполнена в нижней, а нагнетательная полость – в верхней части корпуса соответственно.
РИСУНКИ
MM4A – Досрочное прекращение действия патента СССР или патента Российской Федерации на изобретение из-за неуплаты в установленный срок пошлины за поддержание патента в силе
Дата прекращения действия патента: 09.07.2006
Извещение опубликовано: 10.04.2008 БИ: 10/2008
|