|
|
(21), (22) Заявка: 2003137086/06, 25.12.2003
(24) Дата начала отсчета срока действия патента:
25.12.2003
(45) Опубликовано: 10.03.2006
(56) Список документов, цитированных в отчете о поиске:
US 2463341 A, 01.03.1949. RU 2191294 C2, 20.10.2002. RU 2102583 C1, 20.01.1998. DE 543770 A, 21.01.1932. US 5562433 A, 08.10.1996. US 2497247 A, 14.02.1950.
Адрес для переписки:
614000, г.Пермь, ГСП, ул. Карпинского, 24, ООО “Буровой инструмент”
|
(72) Автор(ы):
Балденко Дмитрий Фёдорович (RU), Балденко Фёдор Дмитриевич (RU), Коротаев Юрий Арсеньевич (RU), Рожнов Иван Михайлович (RU)
(73) Патентообладатель(и):
Общество с Ограниченной Ответственностью “Буровой инструмент” (RU)
|
(54) РЕЗЕРВУАРНЫЙ НАСОС
(57) Реферат:
Изобретение относится к нефтепромысловой технике и может быть использовано в буровых установках в системах подачи раствора в очистные системы, а также в системах перекачки нефти и пластовой жидкости на промыслах. Резервуарный насос содержит рабочие погружные органы, состоящие из корпуса с входом, внутри которого расположены статор и ротор, соединенный через вал с двигателем, задающим движение ротору, боковой отвод для нагнетания жидкости в напорную систему, камеру для накопления оседающих механических примесей. Насос снабжен сальниковым уплотнением вала, стаканом, в котором размещены погружные рабочие органы, установленным с возможностью крепления его на крышке резервуара, и затвором, контактирующим с наружной поверхностью стакана посредством телескопического или резьбового соединения и воздействующим на вход насоса через радиальные отверстия, находящиеся в верхней части стакана, закрывая их при очистке насоса. Камера для накопления оседающих механических примесей выполнена в нижней части стакана. Обеспечивается периодическая очистка насоса от механических примесей без поднятия его из резервуара и демонтажа, что повышает долговечность насоса и эффективность его работы. 1 ил. 
Изобретение относится к нефтепромысловой технике и может быть использовано в буровых установках в системах подачи раствора в очистные системы, а также в системах перекачки нефти и пластовой жидкости на промыслах.
Известны шламовые центробежные насосы, например ВШН-150 – вертикальный шламовый насос блока очистки бурового раствора циркуляционной системы ВЗБТ (Справочник «Буровое оборудование», М.: Недра, 2000, стр.133), помещающиеся в резервуар и служащие для перекачки жидкости с большим содержанием механических примесей. Приводом этих насосов является электродвигатель, размещенный на поверхности.
Большим эксплуатационным недостатком компоновок шламовых насосов, принятых в качестве аналога, является необходимость периодического демонтажа насоса из резервуара для очистки проемной камеры насоса от осевшего шлама.
Известен погружной насос (RU, патент № 2157467, дата подачи 29. 06.1999), состоящий из корпуса с напорными и всасывающими патрубками, статора с ротором и приводного вала с узлом уплотнения, который дополнительно снабжён статором с эксцентрично расположенным ротором для перекачивания жидкости без прохождения ее наружу через уплотнительный узел. Благодаря такой компоновке расширяется область использования насоса. Однако в ней не решена задача по эффективной очистке насоса от осевшего шлама.
Известны другие технические решения для откачки жидкостей из емкостей – это погружные винтовые насосы серии NEMO, ВТ фирмы «Netzsch» (Католог фирмы «Netzsch», 1980-2000). Погружной насос содержит корпус, внутри которого расположен статор и ротор, приводной вал, наземный приводной двигатель, сальниковый узел приводного вала и боковой отвод для нагнетания жидкости в напорную систему. Насосы удобны в эксплуатации, благодаря вариантности исполнения решаются различные технические задачи, но компоновка таких насосов не предусматривает очистку входа насоса от осевших механических примесей, что является существенным недостатком.
Очистка жидкости от механических примесей предусмотрена в «Насосе двигателя с отделителем песка и заливочными механизмами» (US, 2463341 А, 01.03.1949, J.В.Wade). Насос содержит корпус, внутри которого расположен вал двигателя, соосно с валом расположен статор с внутренней резьбой и ротор с наружной резьбой, имеющий контакт со статором в любом поперечном сечении, заливочное отверстие, гибкое подвижное соединение, воздействующее на заливочное отверстие, уловитель песка, расположенный ниже заливочного отверстия и снабжённый пробкой, при открывании которой происходит очистка уловителя песка. Этот аналог является наиболее близким и взят за прототип заявленного изобретения.
Недостатком прототипа является неудобство очистки насоса от механических примесей.
Задачей заявленного изобретения является повышение эффективности работы насоса за счёт периодической очистки насоса от механических примесей без поднятия его из резервуара.
Поставленная задача в заявленном резервуарном насосе решается за счёт известного резервуарного насоса, содержащего погружные рабочие органы, состоящие из корпуса с входом, внутри которого расположены статор и ротор, соединённый через вал с двигателем, задающим движение ротору, боковой отвод для нагнетания жидкости в напорную систему, камеру для накопления оседающих механических примесей, согласно изобретению насос снабжен сальниковым уплотнителем вала, стаканом, в котором размещены погружные рабочие органы, установленным с возможностью крепления его на крышке резервуара, и затвором, контактирующим с наружной поверхностью стакана посредством телескопического или резьбового соединения и воздействующим на вход насоса через радиальные отверстия, находящиеся в верхней части стакана, закрывая их при очистке насоса, а камера для накопления оседающих механических примесей выполнена в нижней части стакана.
При эксплуатации заявленного резервуарного насоса очистка входа насоса осуществляется без подъёма его из резервуара и демонтажа.
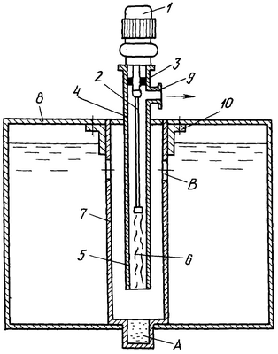
На чертеже изображен резервуарный насос.
Резервуарный насос состоит из двигателя 1, вала 2 с сальниковым уплотнением 3, корпуса насоса 4, внутри которого установлен статор 5 и ротор 6, стакана 7, закреплённого на крышке резервуара 8, бокового отвода 9 и затвора 10. Затвор 10 выполнен в виде телескопического устройства, скользящего по наружной цилиндрической поверхности стакана 7.
В нижней части стакана 7 расположена накопительная камера А для накопления оседающих механических примесей. В верхней части стакана выполнены радиальные отверстия В.
В заявленном резервуарном насосе жидкость подаётся на вход насоса через стакан 7, в котором имеется накопительная камера А, механические примеси оседают в этой камере и не попадают на вход насоса, благодаря чему отпадает проведение периодической чистки входа насоса с поднятием его из резервуара и демонтажа.
Резервуарный насос работает следующим образом. При включении насоса двигатель 1 через вал 2 с сальниковым уплотнителем 3 задаёт движение ротору 6, находящемуся внутри статора 5 корпуса насоса 4, закреплённого на крышке резервуара 8, при этом механическая энергия преобразуется в гидравлическую энергию перекачивания жидкости.
При включенном насосе ротор 6, вращаясь внутри статора 5, засасывает жидкость из резервуара 8 на вход насоса через радиальные отверстия В стакана 7, а далее через насос (ротор 6 – статор 5) в трубопровод (не показан) потребителю. Очистка от осевших механических примесей производится из накопительной камеры А стакана 7 вручную, или механическим, или гидравлическим способом.
При выключенном насосе закрываются радиальные отверстия В, расположенные на стакане, что обеспечивается регулировкой движения затвора 10 по наружной поверхности стакана 7. После чего в стакан 7 через шланг подаётся поток чистой промывочной жидкости. Насос включается, и под действием потока жидкости начинает очищаться внутренняя полость стакана 7 и камеры А. Сигналом для прекращения очистки является осветление потока жидкости, вытекающего из бокового отвода 9.
Далее насос останавливается и освобождаются отверстия В, что снова обеспечивается регулировкой затвора 10. Насос приобретает вид, показанный на чертеже, насос снова включается и продолжает работать в обычном режиме насоса и жидкость снова перекачивается из резервуара 8 потребителю.
Таким образом заявленный резервуарный насос обеспечивает новую технологическую операцию: периодическую очистку насоса от механических примесей без поднятия его из резервуара и демонтажа, что повышает долговечность насоса и эффективность его работы.
Формула изобретения
Резервуарный насос, содержащий рабочие погружные органы, состоящие из корпуса с входом, внутри которого расположены статор и ротор, соединенный через вал с двигателем, задающим движение ротору, боковой отвод для нагнетания жидкости в напорную систему, камеру для накопления оседающих механических примесей, отличающийся тем, что насос снабжен сальниковым уплотнением вала, стаканом, в котором размещены погружные рабочие органы, установленным с возможностью крепления его на крышке резервуара, и затвором, контактирующим с наружной поверхностью стакана посредством телескопического или резьбового соединения и воздействующим на вход насоса через радиальные отверстия, находящиеся в верхней части стакана, закрывая их при очистке насоса, а камера для накопления оседающих механических примесей выполнена в нижней части стакана.
РИСУНКИ
PD4A – Изменение наименования обладателя патента Российской Федерации на изобретение
(73) Новое наименование патентообладателя:
Общество с ограниченной ответственностью «ВНИИБТ-Буровой инструмент» (RU)
Адрес для переписки:
614000, г. Пермь, ГСП, ул. Карпинского, 24, ООО «ВНИИБТ-Буровой инструмент»
Извещение опубликовано: 10.05.2007 БИ: 13/2007
|
|