|
|
(21), (22) Заявка: 2004111086/06, 12.04.2004
(24) Дата начала отсчета срока действия патента:
12.04.2004
(30) Конвенционный приоритет:
15.08.2003 UA 2003087754
(43) Дата публикации заявки: 20.10.2005
(45) Опубликовано: 10.03.2006
(56) Список документов, цитированных в отчете о поиске:
UA 41969 C2, 15.10.2001. SU 926353 А, 07.05.1982. SU 1312250 A1, 23.05.1987. US 4909714 A, 20.03.1990. GB 2051241 A, 14.06.1981.
Адрес для переписки:
25006, г. Кировоград, ул. Братиславская, 5, ОАО “Гидросила”, Техническому директору А.З. Шамшур
|
(72) Автор(ы):
Корнев Александр Васильевич (UA), Морозов Вячеслав Михайлович (UA), Гаркуша Анатолий Григорьевич (UA)
(73) Патентообладатель(и):
Видкрытэ акционэрнэ товарыство “Гидросыла” (UA)
|
(54) ШЕСТЕРЕННАЯ ГИДРОМАШИНА
(57) Реферат:
Изобретение относится к области гидравлических машин, в частности к гидравлическим машинам, которые могут быть использованы в гидравлических системах тракторов, как общего, так и промышленного назначения, экскаваторов, сельскохозяйственных, дорожно-строительных и других машинах. Шестеренная гидромашина содержит ведущую и ведомую шестерни внешнего зацепления, цапфы которых расположены в радиально и аксиально подвижных корпусах подшипников. Шестерни и корпуса подшипников размещены во внутренней камере гидромашины, образованной пересекающимися цилиндрическими отверстиями. По крайней мере, с одной стороны шестерен, на тыльных поверхностях корпусов подшипников, примыкающих к ним, расположено уплотнение, а на их внешнем периметре, в канавках вблизи и параллельно боковым поверхностям шестерен, размещены уплотнения в форме цифры восемь. На поверхности дна канавок выполнены дополнительные канавки с образованием под внутренней поверхностью двух кругообразных частей уплотнения в форме цифры восемь кольцевых каналов, сообщенных с выходным каналом гидромашины. Достигается стабильная работа гидромашины. 6 ил. 
Изобретение относится к области гидравлических машин, в частности к гидравлическим машинам, которые могут быть использованы в гидравлических системах тракторов, как общего, так и промышленного назначения, экскаваторов, сельскохозяйственных, дорожно-строительных и других машинах.
Известна шестеренная гидромашина, которая может использоваться в вышеуказанных машинах, содержащая ведущую и ведомую шестерни внешнего зацепления, цапфы которых расположены в радиально и аксиально подвижных корпусах подшипников, а все вместе размещены во внутренней камере корпуса гидромашины, образованной двумя пересекающимися цилиндрическими отверстиями, см. патент Германии №3716605, кл. F 04 C 2/14, 1987 г. Корпуса подшипников поджимаются к боковым поверхностям шестерен аксиальными полями давления, определенными уплотнениями на их тыльных сторонах и сообщенными с зоной высокого давления гидромашины, а на внешнем периметре корпусов подшипников, вблизи и параллельно боковым поверхностям шестерен, размещены уплотнения, которые начинаются со стороны зоны высокого давления и заканчиваются перед областью низкого давления, и имеют форму цифры “3”. Исходя из этого, распространение зоны высокого давления по всей длине корпусов подшипников ограничивается этими уплотнениями, которые снижают нагрузки на корпус гидромашины.
Однако при работе гидромашины, вследствие изнашивания поверхностей, которыми корпуса подшипников контактируют друг с другом, и формы уплотнений на внешней периферии корпусов подшипников, открытых со стороны зоны низкого давления, нарушается уплотнение области по внешней периферии корпусов подшипников и гидравлическая нагрузка на корпус гидромашины значительно возрастает, что снижает долговечность работы гидромашины и приводит к разрушению корпуса.
В другой известной гидромашине, по крайней мере, с одной стороны шестерен, на тыльных поверхностях корпусов подшипников, примыкающих к ним, расположено уплотнение, а на их внешнем периметре, в канавках вблизи и параллельно боковым поверхностям шестерен, размещено уплотнение в форме цифры “8”, см. патент Украины №41969, кл. F 04 C 2/08, 25.06.1996 г., который выбран прототипом заявляемого технического решения.
Таким образом, из-за изменения формы уплотнения на внешнем периметре корпусов подшипников обеспечивается надежное уплотнение области по внешней периферии, расположенной между уплотнениями, вне зависимости от продолжительности работы гидромашины и изнашивания ее деталей.
Однако особенно в первоначальный период работы гидромашины при ее запуске затруднено распространение жидкости под высоким давлением, которое поступает под эти уплотнения, так как уплотнения целиком заполняют канавки, в которых они располагаются на внешнем периметре корпусов подшипников. К тому же, уплотнения сначала устанавливаются в канавки с натягом, который значительно затрудняет сборку гидромашины в части установки корпусов подшипников вместе с шестернями и уплотнениями во внутреннюю камеру корпуса гидромашины.
В основу изобретения положена задача создания шестеренной гидромашины, в которой при помощи образования под внутренними поверхностями двух кругообразных частей уплотнения в форме цифры “8” кольцевых каналов обеспечивалось бы свободное распространение рабочей жидкости под уплотнением, и таким образом достигалась бы стабильная работа гидромашины.
Эта задача решается тем, что в известной шестеренной гидромашине, содержащей ведущую и ведомую шестерни внешнего зацепления, цапфы которых расположены в радиально и аксиально подвижных корпусах подшипников, шестерни и корпуса подшипников размещены во внутренней камере гидромашины, образованной пересекающимися цилиндрическими отверстиями, по крайней мере, с одной стороны шестерен, на тыльных поверхностях корпусов подшипников, примыкающих к ним, расположено уплотнение, а на их внешнем периметре, в канавках вблизи и параллельно боковым поверхностям шестерен, размещены уплотнения в форме цифры восемь, согласно изобретению на поверхности дна канавок выполнены дополнительные канавки с образованием под внутренней поверхностью двух кругообразных частей уплотнения в форме цифры восемь кольцевых каналов, сообщенных с выходным каналом гидромашины.
Таким образом, обеспечивается свободный доступ жидкости по всему периметру уплотнения, которое, в свою очередь, обеспечивает стабильную работу гидромашины.
В дальнейшем изобретение разъясняется примером его конкретного выполнения и чертежами, где
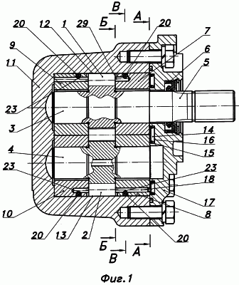
фиг.1 изображает продольный разрез гидромашины по осям шестерен;
фиг.2 изображает поперечный разрез гидромашины по А-А на фиг.1;
фиг.3 изображает поперечный разрез гидромашины по Б-Б на фиг.1;
фиг.4 изображает поперечный разрез гидромашины по В-В на фиг.1;
фиг.5 изображает отдельно уплотнение в свободном состоянии;
фиг.6 изображает в увеличенном масштабе выполнение канавки под уплотнение, как части сечения на фиг.1.
Шестеренная гидромашина содержит ведущую 1 и ведомую 2 шестерни, выполненные вместе с цапфами 3 и 4. Ведущая шестерня 1 также имеет приводной вал 5, уплотненный манжетой 6. Шестерни 1 и 2 своими цапфами 3 и 4 установлены в корпусах подшипников, выполненных в виде подшипниковых втулок 7, 8, 9, и 10, а все вместе расположены во внутренней камере корпуса 11 гидромашины, которая образована двумя пересекающимися цилиндрическими отверстиями 12 и 13, см. фиг.1.
С тыльных торцов подшипниковых втулок 7 и 8, подвижных в пределах зазоров в аксиальном и радиальном направлениях, имеется аксиальное поле давления 14, см. фиг.1 и 2, ограниченное уплотнением 15, которое расположено в гнезде 16, выполненном в крышке 17. Аксиальное поле давления соединено с зоной высокого давления гидромашины при помощи отверстия 18, выполненного в одной из втулок, см. фиг.1.
На внешнем периметре втулок 7, 8, 9, и 10 в канавках 19, вблизи и параллельно боковым поверхностям шестерен расположены уплотнения 20 с защитными элементами 21, которые имеют форму цифры восемь и простираются по всему внешнему периметру втулок, которыми они сопряжены со стенками внутренней камеры корпуса 11, см. фиг.1, 4, 5 и 6.
На поверхности дна 22 канавок 19 выполнены дополнительные канавки 23, которые образуют под внутренними поверхностями 24 двух кругообразных частей уплотнения 20 в форме цифры “8” кольцевых каналов 25, см. фиг.5 и 6.
Поступление рабочей жидкости из выходного канала 26 гидромашины, который, как и входной канал 27, условно изображен пунктирной линией на фиг.3, в кольцевые каналы 25 осуществляется при помощи дугообразных канавок 28 и отверстий 18 и 29, выполненных на торцах втулок со стороны боковых поверхностей шестерен.
Шестеренная машина, как насос, работает следующим образом.
При вращении шестерен 1 и 2, приведенных в движение приводным валом 5, в межзубовых впадинах, выходящих из зацепления шестерен, образуется вакуум, вследствие чего рабочая жидкость поступает во входной канал 27, заполняет межзубовые пространства, переносится в зону высокого давления и вытесняется входящими в зацепление зубьями шестерен в выходной канал 26 и дальше в гидросистему машины.
Рабочая жидкость под давлением по дугообразной канавке 28 и отверстию 18 поступает в аксиальное поле давления 14, определенное уплотнением 15, установленным в крышке 17.
Под действием давления рабочей жидкости в аксиальном поле 14 подшипниковые втулки 7 и 8 движутся в аксиальном направлении и своими торцами поджимаются к боковым поверхностям шестерен 1 и 2, а те, в свою очередь, поджимаются к подшипниковым втулкам 9 и 10, уплотняя их и рабочую камеру насоса.
Одновременно рабочая жидкость из отверстий 18 и 29 поступает в кольцевые каналы 25 и таким образом свободно распространяется под уплотнением 20, поджимает их к стенкам внутренней камеры корпуса 11, образованной двумя пересекающимися цилиндрическими отверстиями 12 и 13, не позволяя рабочей жидкости из зоны высокого давления распространиться по всей длине подшипниковых втулок, чем значительно снижает нагрузку на корпус 11 гидромашины и повышает долговечность ее работы.
Шестеренная машина, как гидромотор, работает следующим образом.
Рабочая жидкость, которая подается под высоким давлением в выходной канал 26, воздействует на зубья шестерен 1 и 2, вращает их и преодолевает нагрузку, приложенную к приводному валу 5.
В остальном работа гидромашины, как гидромотора, аналогична ее работе как насоса.
Формула изобретения
Шестеренная гидромашина, содержащая ведущую и ведомую шестерни внешнего зацепления, цапфы которых расположены в радиально и аксиально подвижных корпусах подшипников, шестерни и корпуса подшипников размещены во внутренней камере гидромашины, образованной пересекающимися цилиндрическими отверстиями, по крайней мере, с одной стороны шестерен, на тыльных поверхностях корпусов подшипников, примыкающих к ним, расположено уплотнение, а на их внешнем периметре в канавках вблизи и параллельно боковым поверхностям шестерен размещены уплотнения в форме цифры восемь, отличающаяся тем, что на поверхности дна канавок выполнены дополнительные канавки с образованием под внутренней поверхностью двух кругообразных частей уплотнения в форме цифры восемь кольцевых каналов, сообщенных с выходным каналом гидромашины.
РИСУНКИ
|
|