|
|
(21), (22) Заявка: 2004124615/06, 12.08.2004
(24) Дата начала отсчета срока действия патента:
12.08.2004
(45) Опубликовано: 10.03.2006
(56) Список документов, цитированных в отчете о поиске:
SU 1038569 A, 30.08.1983. RU 2237195 C1, 14.05.2003. RU 2090779 C1, 20.09.1997. SU 866273 A, 23.09.1981. SU 706566 A, 31.12.1979. WO 8600962 A1, 13.02.1986. US 4439113 A, 27.03.1984.
Адрес для переписки:
423300, Республика Татарстан, г. Азнакаево, ул. Нефтяников, 22, ОАО “Татнефть”, НГДУ “Азнакаевскнефть”, Технический отдел
|
(72) Автор(ы):
Файзуллин Расих Нафисович (RU), Страхов Дмитрий Витальевич (RU), Шакиров Талгат Хайруллович (RU), Мингазов Артур Илмасович (RU), Салахова Зульфия Рафагатовна (RU)
(73) Патентообладатель(и):
Открытое акционерное общество “Татнефть” им. В.Д. Шашина (RU)
|
(54) СКВАЖИННАЯ ГИДРОПРИВОДНАЯ НАСОСНАЯ УСТАНОВКА
(57) Реферат:
Изобретение предназначено для использования в различных отраслях промышленности для подъема жидкости из скважины. Установка включает корпус, который вместе с центральной трубой образует три рабочие ступени, которые связаны между собой гидравлически посредством подпружиненных обратных клапанов. Участки центральной трубы, расположенные в зонах рабочих ступеней, являются трубчатыми диафрагмами, изготовленными из тонкостенной легированной стали. На границах рабочих ступеней в центральной трубе установлены всасывающие клапаны. Установка спускается в скважину на подъемных трубах и соединяется с гидропульсатором. Содержит также дроссель, запорное устройство и накопительную емкость. Достигается упрощение монтажа и демонтажа оборудования в скважине и снижение металлоемкости. 1 з.п.ф-лы, 1 ил. 
Изобретение относится к насосостроению, касается скважинных гидроприводных диафрагменных насосов и может найти применение в различных отраслях промышленности для подъема жидкости из скважины.
Известна насосная установка (а.с. №1705610, МПК F 04 В 47/04, 1992), содержащая привод, верхний и нижний упругие элементы, выполненные в виде «гармошки», напорные и подъемные трубы, всасывающий и нагнетательный клапаны, причем нижний упругий элемент подпружинен.
Недостатки устройства:
– сложность конструкции;
– невозможность создания больших перепадов давления подпружиненным нижним упругим элементом;
– большие технологические трудности в части изготовления упругих элементов.
Наиболее близким по технической сущности к предлагаемой является насосная установка (а.с. №1038569, МПК F 04 В 43/06, 47/02, 1983), включающая корпус с установленной в нем центральной трубой, трубчатую диафрагму, образующих основную рабочую ступень, приводную и насосную камеры, всасывающий и нагнетательный клапаны, подъемные трубы и трубопровод, связывающие гидравлически основную рабочую ступень с гидропульсатором, установленным на поверхности.
Установка содержит два трубопровода, один – напорный, другой – для подачи рабочей жидкости с поверхности к насосу, что значительно усложняет монтаж и демонтаж оборудования в скважине и ведет к увеличению металлоемкости.
Задачей изобретения является создание насосной установки, обладающей упрощенной технологией монтажа и демонтажа и имеющей низкую металлоемкость.
Указанная задача решается предлагаемой скважинной гидроприводной насосной установкой, включающей корпус с установленной в нем центральной трубой, трубчатую диафрагму, образующих основную рабочую ступень и представляющую собой цилиндрическую полость ограниченного объема, приводную и насосную камеры, всасывающий и нагнетательный клапаны, подъемные трубы и трубопровод, связывающие гидравлически основную рабочую ступень с гидропульсатором, установленным на поверхности.
Новым является то, что насосная и приводная камеры совмещены; установка снабжена дополнительной рабочей ступенью, расположенной под основной, выполненной аналогично основной рабочей ступени и вспомогательной рабочей ступенью, расположенной под дополнительной и представляющей собой участок центральной трубы, заглушенной снизу; участки центральной трубы, конструктивно входящие в рабочие ступени, являются трубчатыми диафрагмами; цилиндрические полости основной и дополнительной ступеней в верхней части соединены через подпружиненные клапаны с внутрискважинным пространством, а в нижней части также через клапаны первая – соединена с внутренним пространством трубчатой диафрагмы дополнительной рабочей ступени, а вторая – с внутренним пространством трубчатой диафрагмы вспомогательной рабочей ступени; всасывающие клапаны расположены внутри центральной трубы на границах рабочих ступеней; снабжена дросселем и запорным устройством, установленными на автономных отводах трубопровода и соединенных с накопительной емкостью.
Новым также является то, что трубчатые диафрагмы изготовлены из тонкостенной листовой легированной стали.
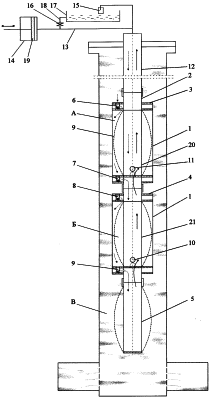
На чертеже изображена схема предлагаемой скважинной гидроприводной насосной установки.
Она состоит из корпуса 1, внутри которого концентрично установлена центральная труба 2, образующие между собой основную 3 и дополнительную 4 рабочие ступени и представляющие собой цилиндрические полости (А и Б). Вспомогательная рабочая ступень 5 расположена ниже дополнительной рабочей ступени 4 и представляет собой участок центральной трубы 2, заглушенный снизу. Участки центральной трубы, конструктивно входящие в рабочие ступени, являются трубчатыми диафрагмами и выполнены из тонколистовой легированной стали (толщина около 3 мм).
В верхних и нижних зонах цилиндрических полостей основной 3 и дополнительной 4 рабочих ступеней установлены подпружиненные обратные клапаны 6, 7, 8 и 9. Клапаны верхних зон 6 и 8 пропускают жидкость в упомянутые полости из внутрискважинного пространства, а клапаны нижних зон 7 и 9 пропускают жидкость соответственно из цилиндрической полости основной рабочей ступени 3 во внутреннее пространство трубчатой диафрагмы дополнительной рабочей ступени 4 и из цилиндрической полости дополнительной рабочей ступени 4 во внутреннее пространство трубчатой диафрагмы вспомогательной рабочей ступени 5.
Всасывающие клапаны 10 и 11 установлены на границах рабочих ступеней. Корпус 1 через подъемные трубы 12 и трубопровод 13 соединен с гидропульсатором 14. Установка содержит также дроссель 15 и задвижку 16, установленных на автономных отводах трубопровода 13 и соединенных с накопительной емкостью 17.
Дроссель 15 рассчитан на определенный перепад давления, увязанный с оптимальным объемом раздутия трубчатых диафрагм рабочих ступеней.
Работает установка следующим образом.
Перед работой установки всю гидросистему (трубопровод 13 и подъемные трубы 12) через отвод 18 из накопительной емкости 17 заполняют жидкостью при положении поршня 19 гидропульсатора в крайнем правом положении. Затем включают гидропульсатор, который в гидросистеме создает переменное поле давлений. При движении поршня 19 гидропульсатора справа налево происходит подача определенного объема (V1) жидкости в гидросистему, из которого одна часть пройдет через дроссель 15 в накопительную емкость 17, а другая – в центральную трубу 2 и трубчатую диафрагму 20 основной рабочей ступени. Под воздействием давления трубчатая диафрагма 20 раздувается и выталкивает жидкость в объеме из полости «А» через клапан 7 во внутреннее пространство трубчатой диафрагмы 21, которая также раздувается и выталкивает такой же объем из полости «Б» во внутреннее пространство трубчатой диафрагмы вспомогательной рабочей ступени 5, которая, в свою очередь, также раздувается на такой же объем . Клапаны 6, 8, 10 и 11 закрыты, т.к. на них воздействует давление, созданное в гидросистеме гидропульсатором.
При движении поршня 19 гидропульсатора слева направо в гидросистеме происходит разрежение (падение давления), клапаны 10 и 11 открываются, трубчатые диафрагмы 20, 21 и 5 возвращаются в исходное положение, причем каждая из них выталкивает в подъемные трубы 12 объем жидкости, равный . Одновременно с этим закрываются клапаны 7 и 9 и открываются клапаны 6 и 8, через которые жидкость из внутрискважинного пространства «В» поступает в цилиндрические полости «А» и «Б». Таким образом, при движении поршня 19 слева направо в гидросистему поступит объем жидкости, равный трем объемам , который больше, чем объем V1 на величину V ( V=3 -V1). Этот объем V и поступит через дроссель 15 в накопительную емкость 17 к моменту, когда поршень 19 займет крайнее правое положение (конец цикла). Далее поршень снова будет двигаться справа налево (следующий цикл), и весь процесс будет происходить так, как был описан выше. По мере накопления жидкость из емкости 17 будет откачиваться.
Система будет работать в нормальном и стабильном режиме, если общий объем, прошедший через дроссель , будет в пределах 50-67% от объема (V1), подаваемого гидропульсатором в гидросистему за один цикл. Цифры получены расчетным путем.
Благодаря тому, что приводная и насосная камеры в предлагаемой установке совмещены, достигнуто определенное упрощение конструкции, упростился монтаж и демонтаж установки, заметно снижена металлоемкость, что в конечном итоге позволит сэкономить значительные материальные средства.
Формула изобретения
1. Скважинная гидроприводная насосная установка, включающая корпус с установленной в нем центральной трубой, трубчатую диафрагму, образующие основную рабочую ступень, и представляющие собой цилиндрическую полость ограниченного объема приводную и насосную камеры, всасывающий и нагнетательный клапаны, подъемные трубы и трубопровод, связывающие гидравлически основную рабочую ступень с гидропульсатором, установленным на поверхности, отличающаяся тем, что насосная и приводная камеры совмещены, установка снабжена дополнительной рабочей ступенью, расположенной под основной, выполненной аналогично основной рабочей ступени, и вспомогательной рабочей ступенью, расположенной под дополнительной и представляющей собой участок центральной трубы, заглушенной снизу, участки центральной трубы, конструктивно входящие в рабочие ступени, являются трубчатыми диафрагмами, цилиндрические полости основной и дополнительных рабочих ступеней в верхней части соединены через подпружиненные клапаны с внутрискважинным пространством, а в нижней части первая соединена с внутренним пространством трубчатой диафрагмы дополнительной рабочей ступени, а вторая – с внутренним пространством трубчатой диафрагмы вспомогательной рабочей ступени, всасывающие клапаны расположены внутри центральной трубы на границах рабочих ступеней, при этом установка снабжена дросселем и запорным устройством, установленными на автономных отводах трубопровода и соединенными с накопительной емкостью.
2. Установка по п. 1, отличающаяся тем, что трубчатые диафрагмы изготовлены из тонкостенной листовой легированной стали.
РИСУНКИ
MM4A – Досрочное прекращение действия патента СССР или патента Российской Федерации на изобретение из-за неуплаты в установленный срок пошлины за поддержание патента в силе
Дата прекращения действия патента: 13.08.2008
Извещение опубликовано: 20.07.2010 БИ: 20/2010
|
|