|
|
(21), (22) Заявка: 2004105057/06, 19.02.2004
(24) Дата начала отсчета срока действия патента:
19.02.2004
(43) Дата публикации заявки: 20.07.2005
(45) Опубликовано: 10.03.2006
(56) Список документов, цитированных в отчете о поиске:
RU 2191925 C1, 27.10.2002. SU 989139 A, 15.01.1983. SU 870756 A, 07.10.1981. SU 1137242 A, 30.01.1985. WO 0020758 A, 13.04.2000.
Адрес для переписки:
630092, г.Новосибирск, пр. К. Маркса, 20, НГТУ
|
(72) Автор(ы):
Малахов Алексей Петрович (RU), Старцев Владимир Алексеевич (RU), Малахов Алексей Алексеевич (RU), Аносов Владимир Николаевич (RU)
(73) Патентообладатель(и):
Новосибирский государственный технический университет (RU)
|
(54) ЭЛЕКТРОГИДРАВЛИЧЕСКАЯ НЕФТЕКАЧАЛКА
(57) Реферат:
Устройство предназначено для использования в технике для добычи нефти в приводах скважинных штанговых глубинных насосных установок. В качестве рабочего органа в электрогидравлическую нефтекачалку введен штатный плунжерный насос с цилиндрическим корпусом, установленным своим днищем вверх. Плунжер насоса качалки ленточным тяговым органом связан с регулируемым электромеханическим приводом, установленным непосредственно на днище цилиндрического корпуса. Нижняя часть плунжера связана с колонной насосных штанг через уплотнение в нижней части цилиндрического корпуса. Нижняя часть этого корпуса между ограничителем хода плунжера и нижним торцом корпуса связана трубопроводом с гидрогазовым аккумулятором, подключенным также трубопроводом к регулируемому гидронасосу. Под и над соответствующими ограничителями верхнего и нижнего хода установлены датчики соответственно нижнего и верхнего положений плунжера. В верхнем ограничителе хода цилиндрического корпуса выполнено уплотнение, в котором помещен ленточный тяговый орган, который нижней своей частью связан с верхней крышкой плунжера. Верхний конец укреплен на барабане электропривода, подключенного к регулируемому преобразователю частоты. Нефтекачалка улучшает массогабаритные показатели и увеличивает надежность работы. 1 ил. 
Изобретение относится к технике для добычи нефти и предназначено для использования в приводах скважинных штанговых насосных установок, непосредственно сочлененных с обсадными трубами путем установки на устье скважины.
Электрогидравлическая нефтекачалка (ЭГН) представляет собой плунжерный вставной или невставной насос, установленный своей верхней частью непосредственно на фланец устья скважины, плунжер насоса связан с колонной насосных штанг в скважине, низ корпуса ЭГН заполнен жидкостью под давлением, которое создается гидрогазовым аккумулятором, питаемым от вспомогательной регулируемой насосной станции, плунжер ЭГН в верхней части связан с помощью ленточного тягового органа с электромеханической лебедкой, барабан которой включается специальной муфтой сцепления для подъема плунжера ЭГН вверх, при подходе плунжера ЭГН к верхнему датчику барабан лебедки отключается от ведущего вала привода и плунжер притормаживается муфтой сцепления и за счет созданного давления в верхней части корпуса идет вниз и, дойдя до нижнего датчика положения, муфта сцепления вновь включается и начинается новый цикл работы. Нижняя часть корпуса ЭГН заполнена жидкостью, которая свободно попадает через гибкий трубопровод от гидрогазового аккумулятора. Гидрогазовый аккумулятор запитан от регулируемой насосной установки. Лебедка подъемного механизма ЭГН также подключена к регулируемому электроприводу. Электрогидравлическая нефтекачалка обладает минимальными весогабаритными показателями, собирается из стандартных элементов, минимально ее энергопотребление, большой ресурс.
Известна нефтекачалка (а.с. СССР №989139, кл. F 04 В 47/02, “Привод скважинной штанговой насосной установки”), являющаяся аналогом предлагаемого изобретения, содержащая фундамент с рельсовыми путями, корпус, электродвигатель, жестко соединенный с корпусом, блок управления с датчиками реверса, винтовой преобразователь вращательного движения в поступательное, состоящий из гайки, жестко сочлененной с ротором электродвигателя, и ходового винта, механический рекуператор энергии, включающий в себя два вращающихся элемента с размещенными на них гибкими звеньями, концы которых шарнирно соединены с одной стороны с противовесом, а с другой – с траверсой, связанной с колонной насосных штанг.
Достоинством известной нефтекачалки является наличие механического рекуператора энергии в виде противовеса, компенсирующего вес штанговой колонны с плунжерным насосом, благодаря которому снижается мощность электродвигателя и, как результат, уменьшается энергопотребление привода.
Недостатки этой известной нефтекачалки являются пониженный ресурс, обусловленный консольностью закрепления винта преобразователя вращательного движения в поступательное и негерметйчностью корпуса привода за счет наличия в нем прорезей для пропуска гибких элементов, соединяющих через шкив противовес и траверсу, связанную с колонной насосных штанг, что предопределяет возможность заноса посредством гибких элементов загрязнений из атмосферы на винт преобразователя вращательного движения в поступательное. Недостатком известной нефтекачалки является также значительная собственная масса, обусловленная наличием противовеса. Кроме того, известная нефтекачалка характеризуется недостаточным вентиляционным обдувом электродвигателя вследствие низкой частоты вращения управляемого реверсивного электродвигателя при непосредственном сочленении ротора с винтовым преобразователем вращательного движения в поступательное. Вращение вентилятора, сочлененного с валом электродвигателя, с частотой, значительно меньшей по сравнению с номинальной, обуславливает неэффективность работы встроенного вентилятора. Это обстоятельство предопределяет необходимость использования в известной нефтекачалке электродвигателя заведомо большей мощности, что неизбежно приведет к возрастанию ее массы и большему электропотреблению.
Известна нефтекачалка (Патент РФ №2191925, кл. 7 F 04 В 47/02 “Мехатронная нефтекачалка”), являющаяся прототипом предлагаемого изобретения, содержащая цилиндрический корпус, электропривод, двигатель которого сочленен с корпусом, блок управления с датчиками положения, винтовой преобразователь вращательного движения в поступательное, состоящий из ходовой гайки и винта, сочлененного посредством передаточного звена с валом электродвигателя, снабжена минимум одним пневмоцилиндром, сочлененным с корпусом нефтекачалки, который, в свою очередь, снабжен подшипниковым щитом с минимум двумя сквозными отверстиями, винт преобразователя установлен в подшипнике указанного щита, ходовая гайка снабжена минимум одним штоком, расположенным в одном из сквозных отверстий щита и своим концом сочлененным с элементом передачи осевого усилителя, поршневой шток пневмоцилиндра расположен в другом сквозном отверстии подшипникового щита и сочленен с элементом передачи осевого усилителя, электродвигатель электропривода известной нефтекачалки снабжен защитным кожухом с минимум одним отверстием, пневмоцилиндр снабжен выхлопными патрубком, конец которого расположен в указанном отверстии.
Недостатками известной нефтекачалки являются:
1. Большое количество конструктивно сложных элементов.
2. Пневматический рекуператор имеет низкий к.п.д. и нелинейность в работе.
3. Движитель, преобразующий вращательное движение в возвратно-поступательное, являющийся одним из главных конструктивных элементов известной нефтекачалки, имеет также малый ресурс работы.
4. Габариты известной нефтекачалки, как минимум, составляют двойной максимальный ход нефтенасоса.
5. Из-за большого количества новых конструктивных элементов известная нефтекачалка имеет большой вес.
6. Из-за большого количества движущихся элементов известная нефтекачалка имеет большое энергопотребление.
Задачей изобретения является улучшение массогабаритных показателей нефтекачалки, и увеличение надежности ее работы.
Поставленная задача достигается тем, что в качалку, содержащую цилиндрический корпус, регулируемый электромеханический привод с барабаном, датчики положения плунжера введены штатный плунжерный насос с цилиндрическим корпусом, установленным своим днищем вверх, плунжер насоса электрогидравлической качалки ленточным тяговым органом связан с регулируемым электромеханическим приводом, установленным непосредственно на днище цилиндрического корпуса, нижняя часть плунжера связана с колонной насосных штанг через уплотнение в нижней части цилиндрического корпуса, нижняя часть этого корпуса между ограничителем хода плунжера и нижним торцом корпуса связана трубопроводом с гидрогазовым аккумулятором, подключенным также трубопроводом к регулируемому гидронасосу, под ограничителями верхнего и нижнего хода плунжера установлены датчики, соответственно, нижнего и верхнего положений плунжера, а в верхней крышке днища цилиндрического корпуса выполнено уплотнение, в котором помещен ленточный тяговый орган, который нижней своей частью связан с верхней крышкой плунжера нефтекачалки, а верхний конец укреплен на барабане электропривода, подключенном к регулируемому преобразователю частоты.
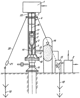
На чертеже изображена предложенная электрогидравлическая нефтекачалка.
Электрогидравлическая нефтекачалка (ЭГН) содержит электромеханический привод 1 с регулируемым и питающем его преобразователем 2, датчиков нижнего 3 и верхнего 4 положений плунжера 5, цилиндрического корпуса 6 с ограничителями хода плунжера 7, 8, фланца корпуса 9, устанавливаемого на устье 10 скважины 11 с уплотнением (на чертеже не показанном), нижняя часть 12 корпуса связана гибким трубопроводом 13 с гидрогазовым аккумулятором 14, который в свою очередь связан с регулируемой гидронасосной установкой 15, внутри корпуса ЭГН перемещается уплотненный плунжер 5, связанный нижней частью с колонной насосных штанг 16, а верхней частью (днищем) 17 ленточным тяговым органом 18 – с электромеханическим приводом 1, кроме того, ЭГН снабжена, как минимум, тремя анкерными сваями 19 (на чертеже показаны 2 шт. анкерных свай), с расчалками 20 со струбцинными натяжителями (талрепами) 21.
Электрогидравлическая нефтекачалка работает следующим образом. Вначале электропитание подается на регулируемый преобразователь 2, затем с его помощью включившийся насосный агрегат 15 создает необходимое давление в гидрогазовом аккумуляторе 14 и соответственно в нижней полости корпуса 6 нефтекачалки. Давление в нижней полости корпуса 6 выбирается таким, чтобы полностью подвесить колонну насосных штанг 16, связанную с нижним торцом плунжера 5, затем преобразователь 2 переключается на электромеханический привод 1, на который задается необходимая частота питания приводного двигателя и необходимый (заданный) ход плунжера 5. Причем максимальный ход плунжера определяется датчиком 4 верхнего положения плунжера 5. Включившийся привод 1 с включенной муфтой сцепления ленточным тяговым органом 18 плунжер 5 перемещает вверх, воздух в верхней части корпуса сжимается, а плунжер при подходе к датчику положения 4 его сигналом отключает муфту сцепления привода 1 (на чертеже не показано) и колонна штанг под действием нескомпенсированного веса столба жидкости и небольшим избыточным давлением в верхней полости цилиндра 6, притормаживаясь муфтой сцепления привода 1 опускается вниз и при подходе плунжера 5 к датчику нижнего положения 3 вновь включается муфта сцепления электромеханического привода 1, плунжер 5 вновь начинает, после торможения, движение вверх и цикл работы повторяется.
Скважина выходит на заданный режим работы, а в гидроаккумуляторе 14 повышается давление на величину, создаваемую весом столба жидкости в насосной колонне. Объем жидкости в гидрогазовом аккумуляторе 14 выбирается таким, чтобы давление в газовой камере аккумулятора 14 не повышалось более, чем на 5% от среднего при заданном режиме работы, что составляет всего 3-5 литров. Скорость подъема в установке обеспечивается регулируемым преобразователем 2, а величина хода, от максимального, регулируется выбором скорости подъема и временем включенного состояния муфты сцепления привода 1.
Все оборудование набирается из серийно выпускаемых комплектующих блоков и элементов. В качестве электропривода 1 используются серийно выпускаемые мотор-редукторные электроприводы с муфтой сцепления на стороне тихоходного вала. В качестве муфты сцепления тоже используются серийные электромагнитные или электрогидравлические муфты сцепления. В связи с минимальной мощностью электродвигателя в предлагаемой ЭГН потери на трения в муфте при торможениях будут минимальными и дают возможность ее работы в длительном режиме. Электронасосный агрегат с гидрогазовым аккумулятором также является серийный и с большим ресурсом работающих конструктивных элементов. В качестве преобразовательного агрегата 2 используются современные частотно-регулируемые станции с микропроцессорным управлением. Эти станции например, типа “ИРБИ 840” мощностью до 125 кВт, выпускаемые НПФ “ИРБИС” (г.Новосибирск) с 1995 г. для климатического исполнения УХЛ1 по ГОСТ 1550-69 при установке на открытом воздухе при температурах от минус 40°С до плюс 40°С. В станциях предусмотрена защита от всех атмосферных воздействий, а для ограничения доступа посторонних лиц предусмотрены прочные корпуса необходимой степени защиты, а также надежные механические замки. Выбрав из предлагаемого набора нужную станцию управления, в зависимости от условий добычи нефти и мощности насосной установки можно получить минимальную стоимость наземного оборудования и достаточный набор функциональных возможностей для автоматизации работы насосных установок.
Таким образом, выполнение ЭГН по предлагаемой конструктивной схеме обеспечивает более чем двукратное уменьшение вертикального габарита и значительное уменьшение веса по сравнению с прототипом. При самой большой производительности корпус ЭГН вместе с приводом по массе не превышает 500 кг, а габариты ненамного превышают максимальный ход поршня ЭГН, крепление такой низкой ЭГН к грунту с помощью предварительно забиваемых на глубину до твердого грунта (обычно не более 25 м) абсолютно надежно при любой ветровой нагрузке. В качестве свай могут быть использованы серийно выпускаемые анкерные сваи АР-25, допускающие усилия до 25 тс и забиваемые на глубины до 25 м.
В качестве основных конструктивных элементов в ЭГН могут быть использованы серийно выпускаемые для нефтяной промышленности вставные, например, типа НГВ 1 или невставные, например, типа НГН 2РБ даже без направляющих труб. В насосах делаются только операции по подвеске ленточного тягового органа к нижней части плунжера и перевороту насоса на 180°С при установке на устье скважины, устанавливается уплотнение в ограничителе хода 7, монтируются датчики положения, забиваются анкера и крепятся растяжки 20.
ЭГН по предлагаемой конструктивной схеме будет легче самой мощной балансирной нефтекачалки, например, типа СКДР12-3 (ОАО “Редуктор”, г.Ижевск) в 10-15 раз, в 2 раза меньше габаритом, энергопотребление также будет снижено в 2-2,5 раза, т.к. приводу не надо будет каждый раз поднимать и опускать колонны штанг весом до 10-12 тонн. Соответственно и стоимость предлагаемой ЭГН будет в 2-3 раза меньше стоимости выпускаемых в настоящее время балансирных нефтекачалок. Кроме того, при монтаже предлагаемой качалки нет необходимости возводить мощный фундамент с рельсовой дорогой, что составляет зачастую до 0,5 млн. руб. и более, т.е. поставленная задача в предлагаемом решении полностью выполняется.
Таким образом, поставленная задача улучшения массогабаритных показателей и увеличения надежности работы решается.
Формула изобретения
Электрогидравлическая нефтекачалка, содержащая цилиндрический корпус, регулируемый электромеханический привод с барабаном, датчики положения плунжера, отличающаяся тем, что в качалку введены штатный плунжерный насос с цилиндрическим корпусом, ленточный тяговый орган, ограничители хода и датчики положения плунжера, трубопровод с гидрогазовым аккумулятором и регулируемым гидронасосом, при этом цилиндрический корпус штатного плунжерного насоса установлен своим днищем вверх, плунжер насоса электрогидравлической качалки ленточным тяговым органом связан с регулируемым электромеханическим приводом, установленным непосредственно на днище цилиндрического корпуса, нижняя часть плунжера связана с колонной насосных штанг через уплотнение в нижней части цилиндрического корпуса, нижняя часть этого корпуса между ограничителем хода плунжера и нижним торцом корпуса связана трубопроводом с гидрогазовым аккумулятором, подключенным также трубопроводом к регулируемому гидронасосу, под и над соответствующими ограничителями верхнего и нижнего хода плунжера установлены датчики соответственно нижнего и верхнего положений плунжера, а в верхней крышке днища цилиндрического корпуса выполнено уплотнение, в котором помещен ленточный тяговый орган, который нижней своей частью связан с верхней крышкой плунжера нефтекачалки, а верхний конец укреплен на барабане электропривода.
РИСУНКИ
|
|